Изобретение относится к электронной технике и может быть использовано при изготовлении гибридных СВЧ интегральных схем повышенной надежности, герметизируемых шовно-роликовой или лазерной сваркой. Техническим результатом является исключение возможности нахождения резонансной частоты корпуса интегральной схемы в ее рабочем диапазоне частот. Указанный технический результат обеспечивает корпус СВЧ интегральной схемы, состоящий из керамической платы, на одной стороне которой расположены внешние выводные площадки металлизации, первого слоя керамики с полосковыми линиями металлизации, электрически соединенными с внешними выводными площадками через металлизированные отверстия в плате и первом слое керамики, площадки металлизации на плате для размещения кристалла микросхемы, второго слоя керамики, к металлизации которого припаян металлический ободок для герметизации корпуса металлической крышкой, металлизации, электрически соединяющей ободок с площадкой металлизации на плате. При этом ободок соединен с площадкой металлизации на плате металлизированными отверстиями, количество и размеры которых выбраны таким образом, чтобы собственный резонанс корпуса находился за пределами рабочего диапазона частот микросхемы. 3 ил., 2 табл.
Корпус СВЧ интегральной схемы, состоящий из керамической платы, на одной стороне которой расположены внешние выводные площадки металлизации, первого слоя керамики с полосковыми линиями металлизации, электрически соединенными с внешними выводными площадками через металлизированные отверстия в плате и первом слое керамики, площадки металлизации на плате для размещения кристалла микросхемы, второго слоя керамики, к металлизации которого припаян металлический ободок для герметизации корпуса металлической крышкой, металлизации, электрически соединяющей ободок с площадкой металлизации на плате, отличающийся тем, что ободок соединен с площадкой металлизации на плате металлизированными отверстиями, количество и размеры которых выбраны таким образом, чтобы собственный резонанс корпуса находился за пределами рабочего диапазона частот микросхемы.
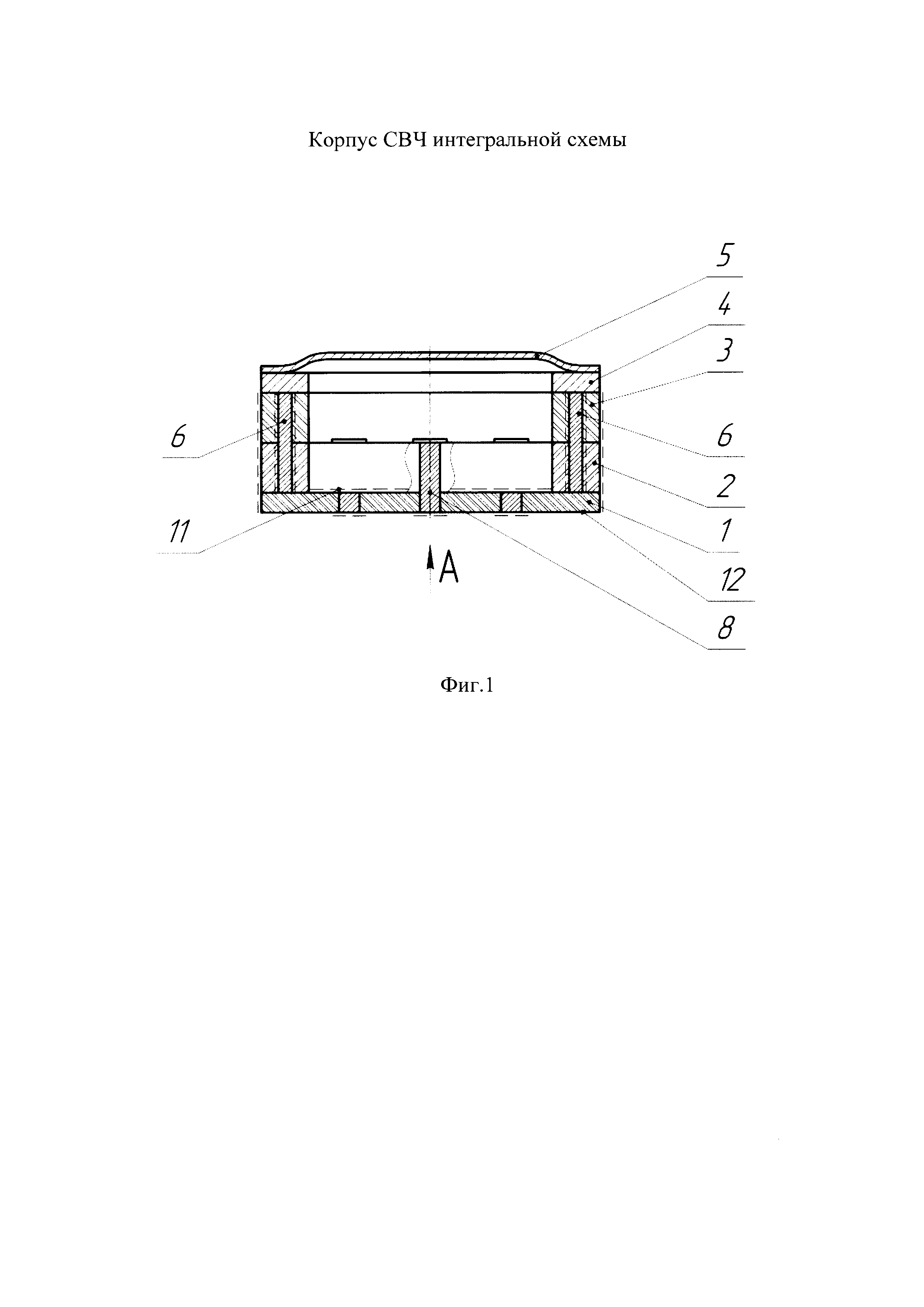
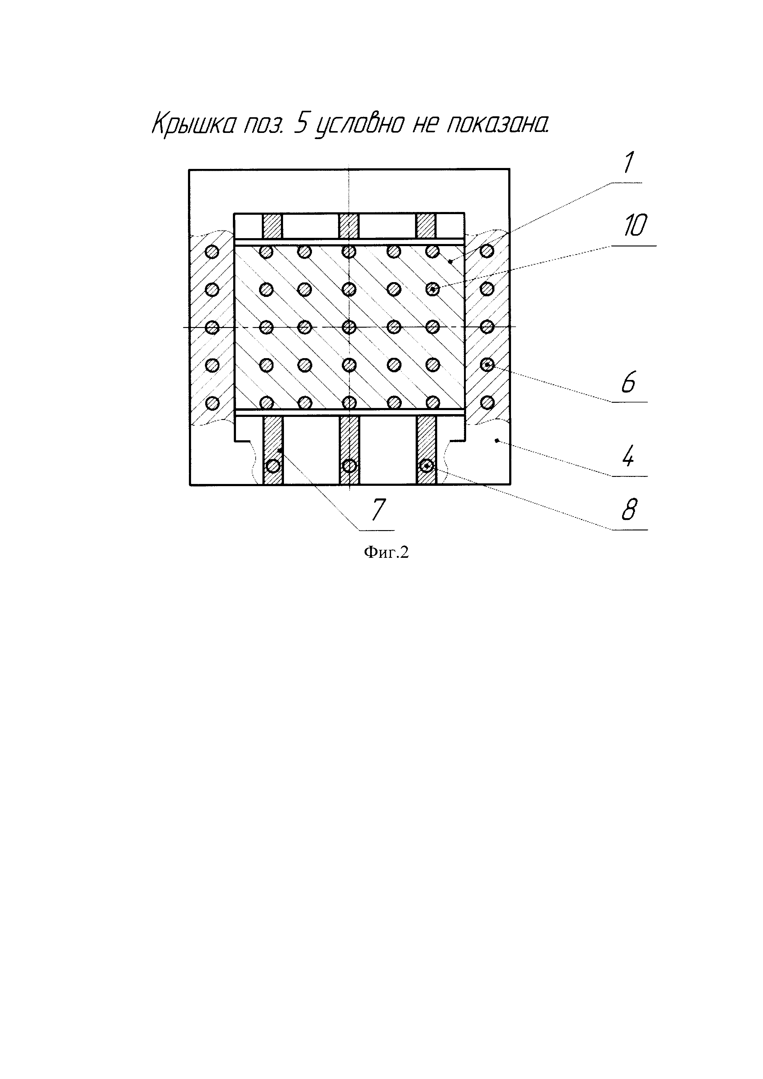
Изобретение относится к электронной технике и может быть использовано при изготовлении гибридных СВЧ интегральных схем повышенной надежности, герметизируемых шовно-роликовой или лазерной сваркой. К важным требованиям, предъявляемым к корпусу мощной СВЧ интегральной схемы относятся: - герметичность и надежность с точки зрения защиты от воздействия окружающей среды, отрицательно влияющей на параметры прибора; - эффективный отвод тепла от тепловыделяющих элементов схемы, с целью получения максимально допустимой выходной СВЧ мощности; - обеспечение работы полупроводникового СВЧ прибора в требуемом диапазоне частот; - минимальные массогабаритные характеристики. Известен металлокерамический корпус для установки кристаллов микросхем, содержащий основание из керамического материала, коваровые рамку и крышку, контактные площадки, выведенные на боковые и нижнюю поверхности основания, проводники, соединяющие внутренние контактные площадки с внешними, отличающийся тем, что основания корпусов изготовлены по технологии с низкой температурой обжига, проводники продублированы проводящими столбиками в слоях керамики [1]. Данное техническое решение направлено на уменьшение габаритных размеров корпуса и шага внешних выводов, но не направлено на обеспечение работы СВЧ микросхемы в требуемом диапазоне частот. Известен металлокерамический корпус микросхемы, содержащий металлизированную керамическую плату с углублением для кристалла, металлический ободок, соединенный пайкой с платой, и металлическую крышку, приваренную к ободку, в котором соединение крышки с корпусом осуществляется через две рамки, соединенных твердым припоем. Одна из рамок имеет на наружной поверхности фаску, ограничивающую ширину паяного шва между рамками [2]. Данное техническое решение направлено на повышение качества и надежности герметизации микросхем методом односторонней контактной шовной сварки, но не направлено на обеспечение работы СВЧ микросхемы в требуемом диапазоне частот. Ближайшим аналогом является корпус интегральной схемы СВЧ диапазона, содержащий металлическое основание, расположенную на нем одной своей стороной с внешними выводами диэлектрическую пластину с микрополосковыми линиями на ее противоположной стороне по периферии для электрического соединения с интегральной схемой СВЧ-диапазона, которые электрически соединены с внешними выводами посредством сквозных металлических проводников в диэлектрической пластине, и крышку, герметично соединенную по периметру с диэлектрической пластиной, в центре диэлектрической пластины выполнено отверстие для размещения в нем интегральной схемы СВЧ-диапазона с возможностью теплового контакта интегральной схемы СВЧ-диапазона с основанием. Крышка с металлическим основанием электрически соединена металлизацией с металлическим основанием [3]. Основным недостатком данного корпуса является отсутствие возможности вывода резонансной частоты корпуса за пределы диапазона рабочих частот микросхемы. Совпадение резонансной частоты корпуса с диапазоном рабочих частот микросхемы может спровоцировать возбуждение генерации микросхемы. Известно, что паразитные реактивности корпусов существенно влияют на электрические характеристики СВЧ микросхем, в частности, на рабочий диапазон частот. В данном техническом решении корпус позволяет улучшить электрические характеристики только за счет коротких соединительных проводников и согласования микрополосковых линий и внешних выводов, но, в то же время, исключена возможность вывода резонансной частоты корпуса за пределы диапазона рабочих частот микросхемы. Техническим результатом изобретения является возможность вывода резонансной частоты корпуса за пределы диапазона рабочих частот микросхемы. Указанный технический результат обеспечивает конструкция корпуса СВЧ микросхемы, содержащая керамическую плату, на одной стороне которой расположены внешние выводные площадки и заземляющая металлизация, а на противоположной стороне по периферии выполнены полосковые линии, электрически соединенные с внешними выводными площадками через отверстия в плате, в центре платы выполнено отверстие для размещения на заземляющей площадке которой кристалла микросхемы, по периферии платы со стороны полосковых линий расположена керамическая рамка с металлизированной поверхностью, к которой припаян металлический ободок, к которому присоединена герметизирующая металлическая крышка электрически соединенная с заземляющей металлизацией, отличающийся тем, что ободок соединен с заземляющей металлизацией группой металлизированных отверстий, количество и размеры которых выбраны таким образом, что бы собственный резонанс корпуса находился за пределами диапазона частот, предназначенном для эксплуатации корпуса. Техническим результатом, обеспечиваемым предполагаемым изобретением является исключение возможности нахождения резонансной частоты корпуса интегральной схемы в ее рабочем диапазоне частот. Указанный технический результат обеспечивает корпус СВЧ интегральной схемы, состоящий из керамической платы, на одной стороне которой расположены внешние выводные площадки металлизации, первого слоя керамики, полосковые линии металлизации, электрически соединенные с внешними выводными площадками через металлизированные отверстия в плате и первом слое керамики, площадки металлизации на плате для размещения кристалла микросхемы, второго слоя керамики к металлизации которого припаян металлический ободок для герметизации корпуса металлической крышкой, металлизации, электрически соединяющей ободок с площадкой металлизации на плате, отличающийся тем, что ободок соединен с площадкой металлизации на плате металлизированными отверстиями, количество и размеры которых выбраны таким образом, чтобы собственный резонанс корпуса находился за пределами рабочего диапазона частот микросхемы. Технических решений, содержащих признаки, сходные с отличительными, не выявлено, что позволяет сделать выводы о соответствии заявленных технических решений критерию новизны. Металлический ободок с металлической крышкой, электрически соединенные с площадкой металлизации, являются паразитными реактивными элементами корпуса и оказывают влияние на величину резонансной частоты корпуса, которая может находиться в пределах диапазона рабочих частот СВЧ микросхемы, что может спровоцировать возбуждение микросхемы. В случае отсутствия заземляющей металлизации, из-за обратной связи между входом и выходом микросхемы через проходную емкость, образованную ободком с крышкой, как правило, микросхема возбуждается. Параметры колебательного контура, образованного ободком с крышкой, можно изменять посредством уменьшения индуктивности данного контура, которая состоит из индуктивности крышки с металлическим ободком и индуктивности заземляющей металлизации. Как правило, заземляющей металлизацией в корпусах СВЧ микросхем является металлизация боковых стенок керамического изолятора. Толщина такой металлизации составляет 10-20 мкм, что ограничивает возможность уменьшения индуктивности контура. Соединение ободка с площадкой металлизации, предназначенной для монтажа микросхемы, отверстиями с металлизацией может существенно снизить индуктивность заземляющей металлизации и, следовательно, вывести резонансную частоту корпуса из диапазона рабочих частот СВЧ микросхемы. Сущность заявленного технического решения поясняется чертежами, где: На фиг. 1 представлено сечение корпуса сбоку. На фиг. 2 изображен вид сверху. На фиг. 3 изображен вид снизу. Металлокерамический корпус, предназначенный для сборки микросхемы широкополосного усилителя с выходной мощностью до 2 Вт, работающей в диапазоне частот 12,5-17 ГГц с размерами 5×5×1,8 мм3. Корпус состоит из керамической платы 1, на одной стороне которой расположены внешние выводные площадки 9, а на керамическом слое 2 выполнены полосковые линии 7, электрически соединенные с внешними выводными площадками 9 через металлизированные отверстия 8 в плате 1 и слое 2. На плате 1 выполнена металлизированная площадка 11 для размещения кристалла микросхемы. К металлизации керамического слоя 3 припаян металлический ободок 4 для герметизации корпуса металлической крышкой 5. Ободок 4 электрически соединен с металлизированной площадкой 11 металлизированными отверстиями 6. Со стороны внешних выводных площадок 9 на плате 1 под металлизированной площадкой 11 сформирована металлизированная площадка 12, предназначенная для поверхностного монтажа собранной в корпусе микросхемы. Площадка 11 электрически соединена с площадкой 12 металлизированными отверстиями 10. Резонансная частота корпуса подбирается размерами и количеством металлизированных отверстий 6, электрически соединяющих металлический ободок с металлизированной площадкой 11. Изменение размеров и количества металлизированных отверстий 6 приводит к изменению частоты резонанса эквивалентного колебательного контура, формируемого паразитной индуктивностью металлизированных отверстий 6 и паразитной емкостью ободка 4 и металлической крышки 5 на металлизированную площадку 11. Технический эффект предлагаемого технического решения подтверждается результатами измерения резонансной частоты на изготовленных металлокерамических корпусах с металлизацией боковых стенок керамического изолятора и с металлизированными отверстиями электрически соединяющими металлический ободок с металлизированной площадкой для размещения кристалла микросхемы и на корпусах только с металлизированными отверстиями электрически соединяющими ободок с металлизированной площадкой для размещения кристалла микросхемы. Определение резонансной частоты проводилось с помощью анализатора цепей Agilent Е8362 В, позволяющим проводить измерения на частотах от 10МГц до 26 ГГц. Результаты испытаний приведены в таблицах 1 и 2. Резонансная частота корпуса с металлизацией только боковых стенок керамического изолятора равнялась 13,4 ГГц и находилась в диапазоне рабочих частот микросхемы. В металлокерамических корпусах с металлизацией боковых стенок керамического изолятора и с дополнительными металлизированными отверстиями (таблица 1) диаметром 0,2 мм и длиной 1,2 мм резонансную частоту корпуса выводят за пределы диапазона рабочих частот микросхемы 8 отверстий. Резонансную частоту корпуса с металлизированными отверстиями диаметром 0,3 мм и длиной 1,2 мм выводят за пределы диапазона рабочих частот микросхемы 6 отверстий. Резонансную частоту корпуса с металлизированными отверстиями диаметром 0,4 мм и длиной 1,2 мм выводят за пределы диапазона рабочих частот микросхемы 3 отверстия. В металлокерамических корпусах только с металлизированными отверстиями (таблица 2) диаметром 0,2 мм и длиной 1,2 мм резонансную частоту корпуса выводят за пределы диапазона рабочих частот микросхемы 10 отверстий. Резонансную частоту корпуса с металлизированными отверстиями диаметром 0,3 мм и длиной 1,2 мм выводят за пределы диапазона рабочих частот микросхемы 7 отверстий. Резонансную частоту корпуса с металлизированными отверстиями диаметром 0,4 мм и длиной 1,2 мм выводят за пределы диапазона рабочих частот микросхемы 5 отверстий. Источники информации: 1. Патент на полезную модель №: 129297, 2013 г. 2. А.С. СССР №1457744, 1986 г. 3. Патент РФ 2079931, 1997 г. 


