патент
№ RU 2617142
МПК G12B13/00

СТЕНД ТАРИРОВКИ ТЕЛЕСИСТЕМ

Авторы:
Осипов Евгений Владимирович Мелихов Алексей Александрович Ивашин Александр Федорович
Все (4)
Номер заявки
2015149839
Дата подачи заявки
19.11.2015
Опубликовано
21.04.2017
Страна
RU
Как управлять
интеллектуальной собственностью
Чертежи 
4
Реферат

Изобретение относится к области добывающей нефтяной и газовой промышленности, в частности к бурению наклонно направленных и горизонтальных скважин, и предназначено для проведения метрологической аттестации датчиков телеметрических систем для выявления погрешности угла наклона при бурении в трехмерном пространстве в проекциях к осям X, Y, Z. Стенд тарировки телесистем выполнен из немагнитных материалов с применением надежных приборов ориентации повышенной точности относительно магнитного силового поля Земли и плоскости вращения поворотной платформы 1. Устройство фиксации и центрирования телесистемы в поворотной трубе 10 выполнено из двух цилиндров 18, 19, вставленных один в другой, концентрично выставленных посредством клиновых втулок 20, 21. Телесистема установлена во внутреннем цилиндре 18 поворотной трубы, при этом точность ее установки в поворотной трубе 18 достигается при помощи сменных зажимных цанг 24 и кольцевых клиньев 25, оппозитно установленных с каждого торца трубы. Техническим результатом является повышение точности тарировки телесистем, что обеспечивает минимальное отклонение траектории бурения от расчетной; унификация применения стенда для ряда телесистем цилиндрической формы. 4 ил.

Формула изобретения

Стенд тарировки телесистем, состоящий из опорной поворотной в горизонтальной плоскости платформы, содержащей средства регулирования и контроля по горизонту и азимуту, поворотной трубы с вращением в вертикальной плоскости, установленной на стойках, закрепленных на опорной поворотной платформе, содержащей средства регулирования и контроля по горизонту и углам поворота, а также устройство фиксации и центрирования телесистемы в поворотной трубе, отличающийся тем, что устройство фиксации и центрирования телесистемы в поворотной трубе выполнено из двух цилиндров, вставленных один в другой, концентрично выставленных посредством клиновых втулок, телесистема установлена во внутреннем цилиндре поворотной трубы, при этом точность ее установки обеспечивается при помощи сменных цанг и кольцевых клиньев, оппозитно установленных с каждого торца трубы.

Описание

[1]

Изобретение относится к области добывающей нефтяной и газовой промышленности, в частности к бурению наклонно направленных и горизонтальных скважин по заданной траектории, и предназначено для проведения метрологической аттестации инклинометрических датчиков телеметрических систем по их показаниям со вспомогательными устройствами для выявления погрешности угла наклона при бурении в трехмерном пространстве в проекциях к каждой оси X, Y, Z. Может найти применение и в других объектах, где есть необходимость контроля угла отклонения.

[2]

Известны различные стенды тарировки телесистем индивидуального применения в зависимости от модели и принятой точности систем объекта.

[3]

1. Установка калибровочная инклинометрическая. УКИП-2 [1. Установка калибровочная инклинометрическая. УКИП-2. - Уфа: ООО ИПЦ «ГеоИнком», [2008]. - 1 л. - Режим доступа: http://www.npf-geofizika.ru].

[4]

2. Установка калибровочная инклинометрическая. УКИ-4 [2. Установка калибровочная инклинометрическая. УКИ-4. - Уфа: ОАО ИМЦ НПФ «Геофизика», [2008]. - 2 л. - Режим доступа: http://www.npf-geofizika.ru].

[5]

3. Пат. №2439493 RU [3. Пат. №2439493 RU, МПК (2006) G01C 9/02. Комплекс для проверки и калибровки скважинных инклинометров / Гормаков А.Н., Ульянов И.А., Ткачев В.Г. - Опубл. 10.01.2012].

[6]

4. Установки фирмы Shlumberger (Франция) [4. Установки фирмы Shlumberger (Франция). - [1998]. - Режим доступа: http://www.slb.com].

[7]

Аналоги обладают следующими недостатками.

[8]

Установка УКИП-2 [1] предназначена только для узкого диапазона по размерам и массе проверяемых приборов; переустановка системы по призмам с прижимами по углам и плоскостям не способствует высокой точности калибровки.

[9]

Установка УКИ-4 [2] имеет узкий диапазон применения по массе и размерам проверяемых приборов; поворотная платформа по цапфе в треноге не обеспечивает устойчивой базы, балансировка грузами на плечах рычагов труднодостижима и при повороте платформы приводит к ее знакопеременному отклонению в пределах люфтов в соединениях конструкции, что сказывается на точности калибровки.

[10]

Комплекс по Патенту на изобретение 2439493 RU [3] не мобилен, невероятно сохранить стабильными обеспечение отклонений от параллельности к плоскости горизонта осей призм и крепления платформы к стене при эксплуатации установки, а юстировка поворотной платформы и призм при этом вызовет много технических и организационных проблем. Комплекс имеет также недостатки установки УКИП-2 [1].

[11]

Устройства фиксации и центрирования телесистемы фирмы Shlumberger (Франция) [4] сертифицированы и применяются в ООО «Центр горизонтального бурения», РФ, г. Оренбург, ул. Донгузская, 62. Они состоят из опорных втулок, выполненных из материала типа «фторопласт-4» с базовыми центрирующими кромками, по которым с некоторым натягом по корпусу устанавливается телесистема. Указанная конструкция не способствует высокой точности исходного положения телесистемы в поворотной трубе ни по соосности, ни по начально полученному отклонению угла в связи с деформацией материала центрирующих опор под весом телесистемы, смещении ее центра масс и сбою точности при стопорении от продольного перемещения.

[12]

Принятые за аналоги установки недолговечны по элементной базе, требуют внепланового ремонта, для чего приходится заказывать у инопартнера дорогостоящие запасные части и инструменты, что вызывает перебои в производстве. Кроме того, при импортных поставках приходится учитывать прикладную индивидуальность каждой установки: на каждую телесистему приписан свой стенд.

[13]

В предлагаемом изобретении за прототип принята установка для градуировки и калибровки инклинометров [5. Пат. 2364718 RU, МПК (2006) E21B 47/02, G01C 9/00. Установка для градуировки и калибровки инклинометров / Филимонов О.В., Фаттахов Р.А., Кудряшов А.А., Будаев Д.А. - Опубл. 20.08.2009], состоящая из опорной поворотной в горизонтальной плоскости платформы, содержащей средства регулирования и контроля по горизонту и азимуту, поворотной трубы с вращением в вертикальной плоскости и лимбом фиксации вокруг горизонтальной оси, установленной на стойках, закрепленных на опорной поворотной платформе. Поворотная труба содержит также узел (и способ) центрирования и фиксации телесистемы в трубе, лимб контроля и фиксации при повороте телесистемы вокруг собственной оси. Поворотная труба содержит опоры в виде консольных полуосей, расположенных в подшипниках скольжения на опорах вращения. Консольные полуоси снабжены противовесами с регулируемыми грузами. Все детали установки выполнены из немагнитных материалов.

[14]

Прототип обладает следующими недостатками. Узел центрирования и фиксации корпуса телесистемы выполнен в виде удлиненного цилиндра с цанговыми зажимами на концах, установленного на опорах в виде подшипников скольжения в коробке, расположенной между вертикальными стойками; цилиндрическая поверхность и резьбовой привод цанговых зажимов конструктивно выполнены в едином корпусе, вследствие чего несоосность и перекосы резьб относительно поверхности центрирования приходится исключать предварительной настройкой по технологической платформе (имитатора телесистемы) с помощью точных приборов. Замена имитатора на штатную телесистему очевидно приведет к сбою параметров инклинометра. Противовесы также не способствуют точному замеру параметров, как и на УКИ-4: в этом нет необходимости, если предусмотрено совмещение центров масс установки и инклинометра при загрузке. Кроме указанного, есть и другие недостатки, усложнившие установку, создающие неудобства при эксплуатации: например, отбрасываемый тихоходный червячный привод основания-платформы, к тому же с пружинным демпфированием червяка. Он может быть заменен на простую зубчатую передачу; переизбыток шкал и нониусов еще не означает обеспечения точности настройки, так как она во многом зависит от человеческого фактора. Эту зависимость можно исключить с помощью высокоточного изготовления фиксации платформы-основания и лимбов по коническим фиксаторам, что и применяется на большинстве известных устройств, в том числе в аналогах.

[15]

Целью разработки изобретения является создание надежного простого универсального устройства телесистемы повышенной точности исходного положения и измерения ее параметров при тарировке.

[16]

Поставленная цель достигается разработкой и внедрением стенда тарировки с применением простых, надежных приборов ориентации относительно магнитного меридиана и плоскости вращения поворотной платформы: компаса и уровней высокой точности (до 4 секунд угловых). Устройство фиксации и центрирования телесистемы в поворотной трубе выполнено из двух цилиндров, вставленных один в другой, концентрично выставленных посредством клиновых втулок. Телесистема установлена во внутреннем цилиндре поворотной трубы, при этом точность ее установки обеспечивается при помощи сменных зажимных цанг и кольцевых клиньев для надежной установки телесистемы в стенде без перемещений. Сменные зажимные цанги приводятся в действие кольцевыми клиньями, которые перемещаются воротком-гайкой. Сменные зажимные цанги и кольцевые клинья оппозитно установлены во внутреннем цилиндре с каждого торца. В предлагаемом стенде обеспечена прямая схема замера положения системы в цилиндре, исключающая промежуточные настройки стенда посредством имитаторов.

[17]

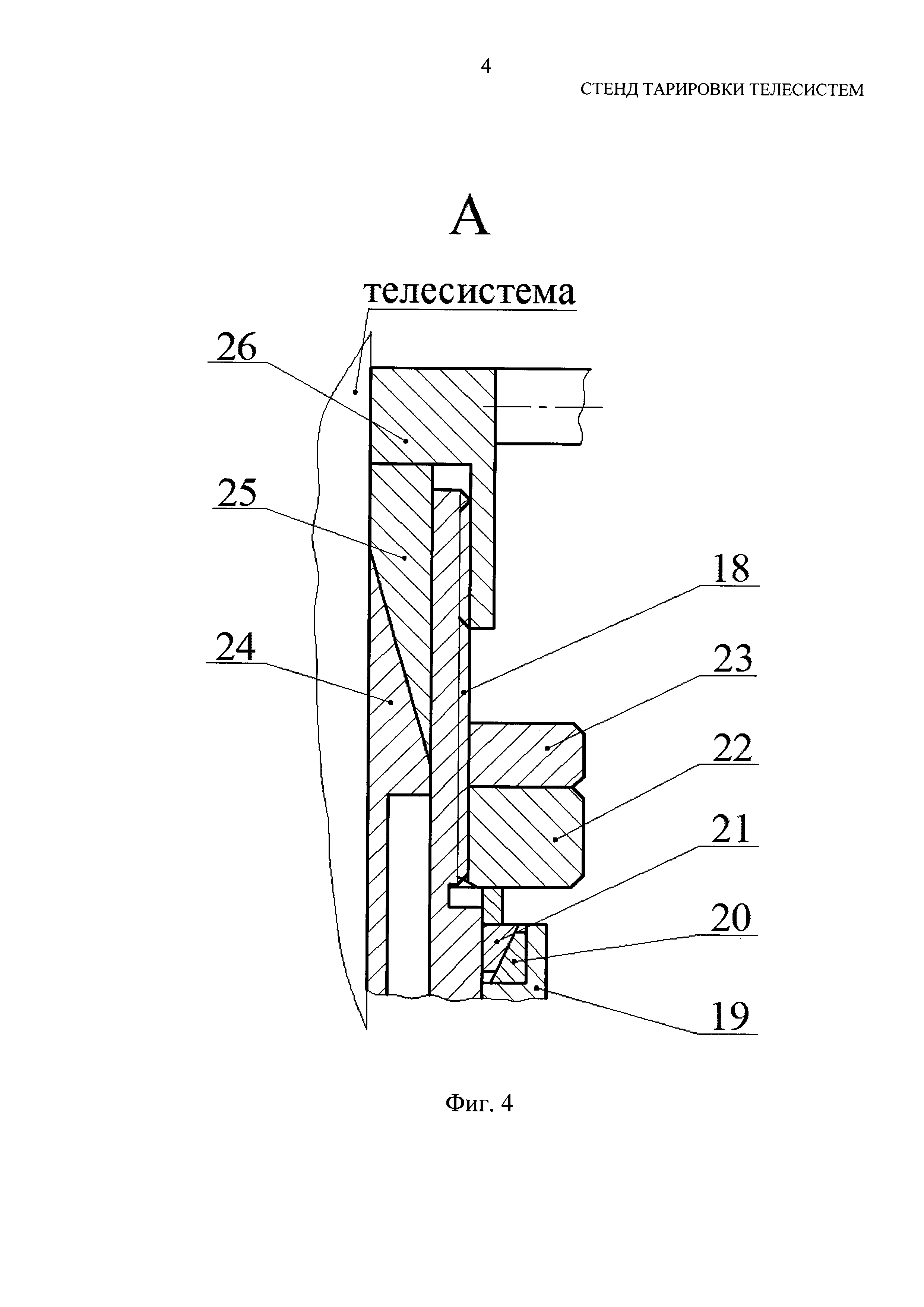
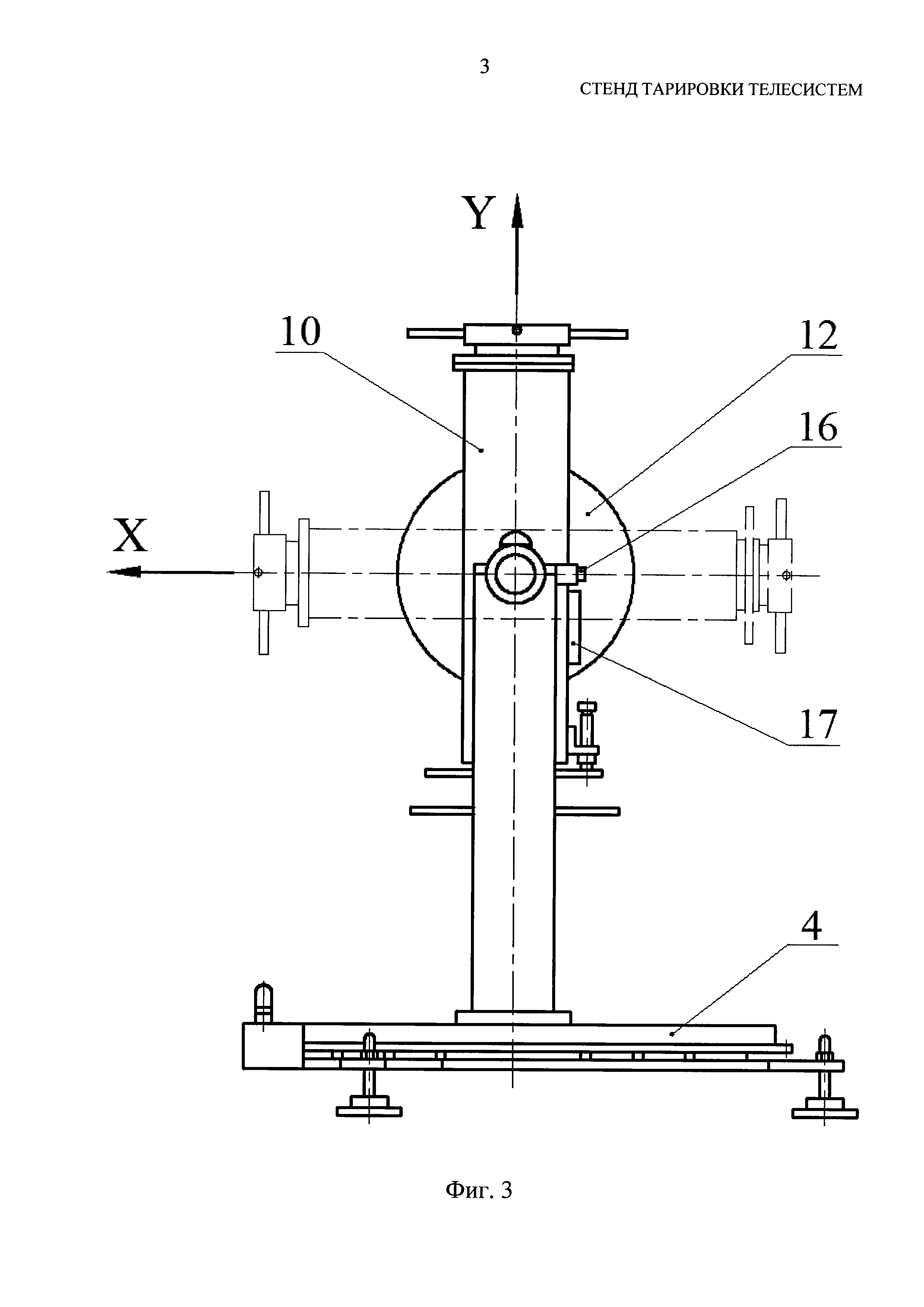
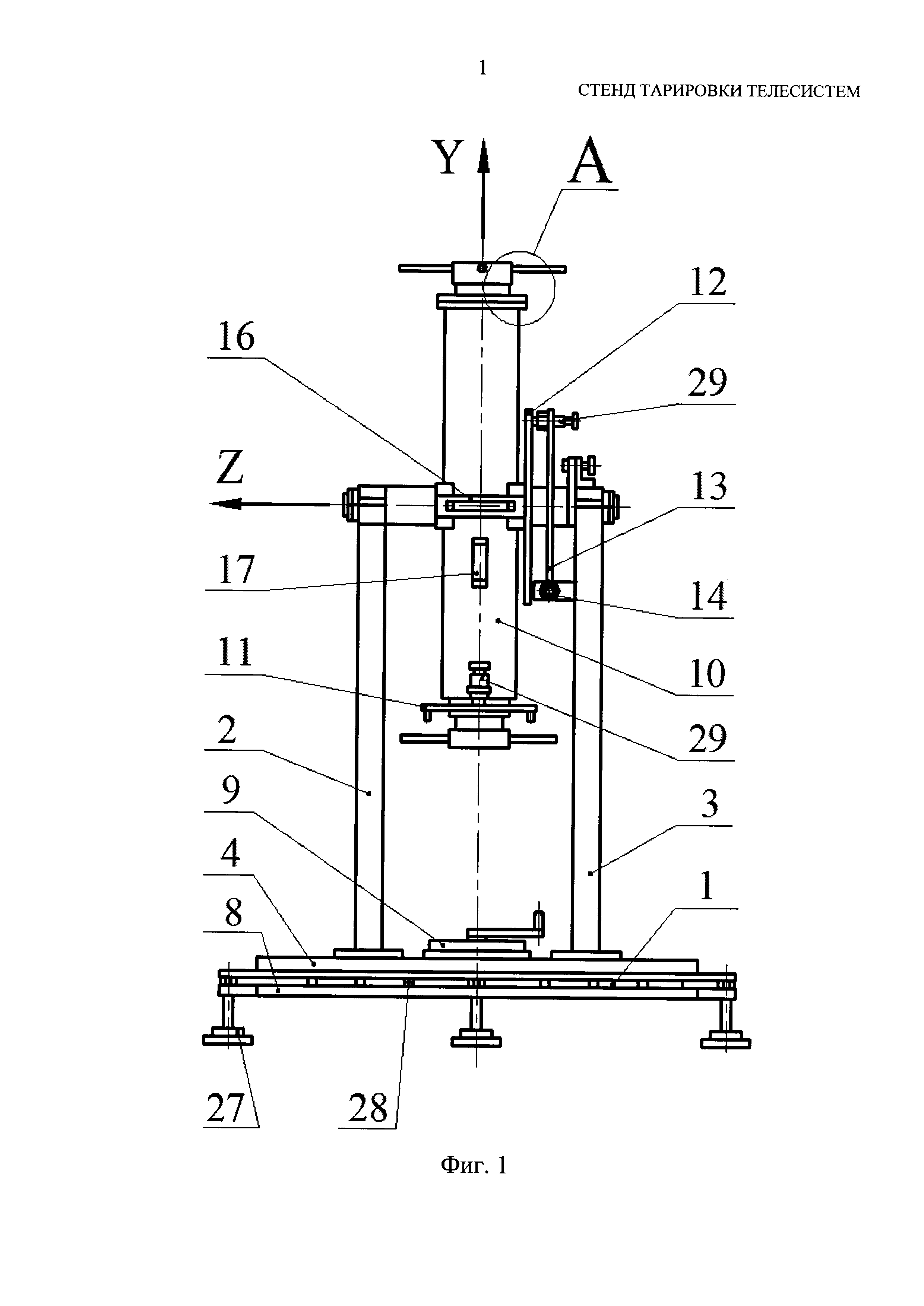
Устройство изобретения поясняется чертежами (фиг. 1-4), где на фиг. 1 представлен стенд тарировки телесистем, главный вид; на фиг. 2 - вид сверху; на фиг. 3 - вид слева; на фиг. 4 показано устройство центрирования и фиксации цилиндров поворотной трубы и телесистемы во внутреннем цилиндре.

[18]

Стенд тарировки телесистем выполнен полностью из немагнитных материалов и состоит: из платформы 1, содержащей стойки 2, 3, платформу поворотную 4 с зубчатым венцом 5, уровнями 6 и компасом 7, платформу опорную 8 с приводом-шестерней 9; из поворотной трубы 10, содержащей лимб 11 и лимб 12 с зубчатым сектором 13, червяк 14 и ручку привода червяка 15, расположенные на стойке 3, и уровни 16, 17. Поворотная труба 10 состоит из двух цилиндров, вставленных один в другой: внутренний 18 и наружный 19, концентрично выставленных посредством клиновых втулок 20 и 21, поджимаемых гайкой 22 с контргайкой 23. Точность установки телесистемы обеспечивается и фиксируется в цилиндре 18 с помощью сменных зажимных цанг 24 и кольцевых клиньев 25, поджимаемых воротком-гайкой 26. Базовая горизонтальная плоскость платформы 1 обеспечивается вращением винтов регулируемых опор 27. Сохранение горизонтального положения при вращении платформы поворотной 4 обеспечено высокоточной обработкой опор скольжения 28 и контактирующей с ними поверхности платформы опорной 8. Платформа поворотная 4, лимб поворотной трубы 12 и лимб внутреннего цилиндра 11 фиксируются по углам поворота коническими фиксаторами 29.

[19]

Особенности предлагаемого стенда тарировки телесистемы следующие:

[20]

- поворотная труба 10 состоит из двух цилиндров 18, 19, вставленных один в другой, концентрично выставленных посредством поджатых клиновых втулок 20, 21. Точность установки телесистемы обеспечивается ее фиксацией во внутреннем цилиндре 18 с помощью сменных зажимных цанг 24 и кольцевых клиньев 25. Сменные зажимные цанги 24 и кольцевые клинья 25 оппозитно установлены во внутреннем цилиндре 18 с каждого торца трубы;

[21]

- в стенде применены высокоточные простые элементы ориентации по магнитному меридиану Земли и горизонтированию в плоскости вращения платформы поворотной 4 (компас 7 и уровни 6), а также уровни 16 и 17 на поворотной трубе.

[22]

Стенд обеспечивает:

[23]

- начальную ориентацию на северный магнитный полюс Земли;

[24]

- поворот вокруг оси X плавно на 360° через фиксированные значения 15° с точностью 0,2°;

[25]

- поворот вокруг оси Y на 360° через фиксированные значения 45° с точностью 0,2°;

[26]

- поворот вокруг оси Z на 360° через фиксированные значения 10° с точностью 0,01°;

[27]

- фиксацию цилиндрических тел (датчиков угла наклона с телесистемой, аналогичных датчику, описанному в Патенте 2506540 RU [6]. Пат. 2506540 RU, МПК (2006) G01C. Датчик угла наклона / Ивашин А.Ф., Осипов Е.В., Мелихов А.А. - Опубл. 10.02.2014), диаметрами от 36 до 110 мм, длиной от 1 до 2,5 м и массой до 50 кг; могут быть другие параметры по конкретному заказу.

[28]

Принцип работы на стенде тарировки телесистем. Стенд установить в рабочее положение, для чего:

[29]

- с помощью регулируемых опор 27 выставить стенд в горизонт по показаниям уровней 6 на поворотной плите;

[30]

- установить поворотную трубу 10 в горизонт, зафиксировав лимб 12 в положении 90°; подкорректировать положение трубы с помощью червячной пары (позиции 13, 14, 15) по показанию уровней 16 и 17;

[31]

- проверить свободное, без люфта вращение внутреннего цилиндра 18 относительно оси X, поворотной трубы 10 относительно оси Z и поворотной плиты 4 относительно оси Y.

[32]

При необходимости переустановки цанг 24 снять торцевые воротки-гайки 26 на внутреннем цилиндре 18, после чего установить парные зажимные цанги 24 требуемого размера. Все дальнейшие работы со стендом проводятся по технологической документации заказчика.

[33]

Технический результат - по сравнению с известными устройствами значительно повышена точность тарировки телесистем, что обеспечивает:

[34]

- минимальное отклонение траектории бурения от расчетной;

[35]

- унификацию применения стенда для ряда телесистем цилиндрической формы;

[36]

- решение проблемы импортозамещения по оборудованию тарировки инклинометров.

[37]

Стенд тарировки телесистем может быть выполнен с помощью стандартного оборудования и материалов отечественного производства. Таким образом, заявленное устройство соответствует критерию «промышленная применимость».

[38]

Одновременно с повышением точности тарировки телесистем в бурении наклонно направленных и горизонтальных скважин по заданной траектории обеспечивается унификация применения стенда для ряда телесистем, решается задача замещения импортного оборудования отечественным. Эффективность и надежность разработанного и введенного в эксплуатацию стенда тарировки телесистем по предлагаемому изобретению подтверждена эксплуатацией устройства, не требующего ремонта, в связи с его безотказной работой при тарировке полного ряда телеметрических систем в ООО «Центр горизонтального бурения», г. Оренбург.

[39]

Источники информации

[40]

1. Установка калибровочная инклинометрическая. УКИП-2. - Уфа: ООО ИПЦ «ГеоИнком», [2008]. - 1 л. - [Листок-кат.] - Режим доступа: http://www.npf-geofizika.ru.

[41]

2. Установка калибровочная инклинометрическая. УКИ-4. - Уфа: ООО ИМЦ НПФ «Геофизика», [2008]. - 2 л. - [Листок-кат.] - Режим доступа: http://www.npf.-geofizika.ru.

[42]

3. Пат. 2439493 RU, МПК (2006) G01C 9/02. Комплекс для проверки и калибровки скважинных инклинометров. / Гормаков А.Н., Ульянов И.А., Ткачев В.Г. - Опубл. 10.01.2012.

[43]

4. Установки фирмы Shlumberger (Франция). - [1998]. - Режим доступа: http://www.slb.com сертифицированы и применяются в ООО «Центр горизонтального бурения», РФ, г. Оренбург, ул. Донгузская, 62.

[44]

5. Пат. 2364718 RU, МПК (2006) E21B 47/02, G01C 9/00. Установка для градуировки и калибровки инклинометров / Филимонов О.В., Фаттахов Р.А., Кудряшов А.А., Будаев Д.А. - Опубл. 20.08.2009.

[45]

6. Пат. 2506540 RU, МПК (2006) G01C 9/36. Датчик угла наклона / Ивашин А.Ф., Осипов Е.В., Мелихов А.А. - Опубл. 10.02.2014.

Как компенсировать расходы
на инновационную разработку
Похожие патенты