патент
№ RU 2546731
МПК A61K51/00

ГЕНЕРАТОР РУБИДИЯ-82 И СПОСОБ ЕГО ПРИГОТОВЛЕНИЯ

Авторы:
Чудаков Валерий Михайлович
Номер заявки
2013156953/05
Дата подачи заявки
23.12.2013
Опубликовано
10.04.2015
Страна
RU
Как управлять
интеллектуальной собственностью
Чертежи 
3
Реферат

Изобретение относится к технике для ядерной медицины, в частности к изготовлению изотопных генераторов. Генератор рубидия-82 включает защитный от ионизирующего излучения корпус, внутри полости которого размещена емкость с разъемным защитным вкладышем из вольфрама или вольфрамового сплава, генераторной колонкой и подводящей и отводящей трубками, размещенными во внутренних пазах разъемного вкладыша, при этом крышка корпуса снабжена предохранительной полостью для сбора утерянной жидкости. Способ приготовления генератора рубидия-82 включает заполнение генераторной колонки ионообменным материалом, состоящим из неорганического сорбента из гидратированного оксида олова (IV) в виде взвеси в водном растворе гидроксида аммония с концентрацией в диапазоне от 0.02 М до 0.2 М и содержанием гидроксида олова во взвеси в пределах от 15 до 50 весовых %. Перед пропусканием через колонку раствора, содержащего радионуклид стронция-82, генераторную колонку термически стерилизуют нагреванием в автоклаве при температуре 110-130 °C в течение 30-120 мин, причем содержимое генераторной колонки предварительно герметически изолируют от внешней среды. Изобретение обеспечивает упрощение процесса приготовления генератора рубидия-82, повышение эффективности и надежности его функционирования и стерилизации, а также повышение защиты от ионизирующего облучения. 2 н. и 2 з.п. ф-лы, 3 ил., 1 табл.

Формула изобретения

1. Генератор рубидия-82, включающий генераторную колонку в виде цилиндрического контейнера, заполненного ионообменным материалом, состоящим из неорганического сорбента из гидратированного оксида олова (IV), и закрытого с обеих сторон герметичными крышками с фильтрами, к одной из которых герметично подсоединены подводящая жидкость трубка, а к другой - отводящая трубка, защитный от ионизирующего излучения корпус, выполненный с полостью и заключенный в оболочку из нержавеющей стали, герметичную крышку защитного корпуса, выполненную с герметичными входным и выходным вводами, соответственно для подвода и отвода жидкости, причем генераторная колонка размещена в полости защитного корпуса, а концы подводящей и отводящей трубок колонки герметично подсоединены к соответствующим вводам крышки защитного корпуса, сама отводящая трубка размещена параллельно оси колонки, а подводящая трубка смещена относительно оси колонки на расстояние, большее, чем радиус контейнера колонки, отличающийся тем, что сорбент представляет собой порошок гидратированного оксида олова (IV) с размером зерен в интервале 60-160 мкм, внутри полости защитного корпуса размещена вставная защитная герметичная емкость, выполненная из водонепроницаемого материала и прикрепленная герметично к внутренней стороне крышки защитного корпуса, в верхней части емкости размещены разъемный защитный вкладыш, выполненный из вольфрама или вольфрамового сплава толщиной, достаточной для снижения воздействия ионизирующего излучения от генераторной колонки до допустимого уровня на внешней поверхности крышки защитного корпуса, в нижней - генераторная колонка с подводящей и отводящей трубками, причем с внутренней стороны разъемных частей защитного вкладыша выполнены пазы, в которые вложены подводящая и отводящая трубки генераторной колонки, а крышка защитного корпуса снабжена предохранительной полостью выполненной на внешней стороне крышки, причем глубина предохранительной полости составляет не более половины наименьшей высоты внешней части входного или выходного ввода крышки защитного корпуса, соотношение диаметра предохранительной полости к наибольшему из диаметров входного или выходного вводов составляет не менее 5:1 и отношение глубины полости к ее диаметру составляет не менее 1:10, но не более 1:3.

2. Генератор рубидия-82 по п.1, отличающийся тем, что вставная защитная герметичная емкость выполнена в виде двух соосных вертикальных цилиндров разного диаметра, причем цилиндр с меньшим диаметром установлен на нижнем основании цилиндра с большим диаметром, а диаметры меньшего и большего цилиндров выбирают достаточными для размещения в них с зазором соответственно генераторной колонки с подводящей и отводящей трубками и защитного вкладыша.

3. Способ приготовления генератора рубидия-82, включающий заполнение генераторной колонки ионообменным материалом, состоящим из неорганического сорбента из гидратированного оксида олова (IV), пропускание через колонку стерильного раствора, содержащего радионуклид стронций-82, и сорбирование радионуклида стронций-82 ионообменным материалом, отличающийся тем, что сорбент вносят внутрь генераторной колонки в виде взвеси в водном растворе гидроксида аммония с концентрацией в диапазоне от 0.02 М до 0.2 М и содержанием оксида олова во взвеси в пределах от 15 до 50 весовых %, взвесь приготавливают из порошка сорбента с размером зерен в интервале 60-160 мкм, причем предварительно крупную (более 160 мкм) фракцию порошка удаляют просеиванием сорбента в сухом состоянии, а мелкую (до 60 мкм) фракцию порошка сорбента удаляют сначала просеиванием в сухом состоянии, а часть оставшихся мелких частиц удаляют непосредственно перед внесением взвеси в колонку из взвеси в водном растворе гидроксида аммония указанной концентрации путем отмучивания взвеси не менее пяти раз.

4. Способ по п.3, отличающийся тем, что перед пропусканием через колонку раствора, содержащего радионуклид стронций-82, генераторную колонку с ионообменным материалом, состоящим из неорганического сорбента из гидратированного оксида олова (IV), стерилизуют термически при температуре в интервале от 110 до 130°C в течение 30-120 мин, причем содержимое генераторной колонки предварительно герметически изолируют от внешней среды.

Описание

[1]

Настоящее изобретение относится к технике для ядерной медицины и, в частности, к изготовлению изотопных генераторов, предназначенных для многократного получения стерильных и апирогенных радиофармпрепаратов (РФП) на основе дочерних короткоживущих радионуклидов при диагностике ряда кардиологических и онкологических заболеваний методом позитронной эмиссионной томографии (ПЭТ).

[2]

Из существующего уровня техники известны различные изотопные генераторы медицинского назначения и способы их приготовления [Radionuclide Generators. New Systems for Nuclear Medicine Applications. Knapp, F., el al. ACS Symposium Series; American Chemical Society: Washington, DC, 1984]. Такие генераторы, как правило, являются генераторами сорбционного типа. Они включают в себя колонку, наполненную сорбентом, снабженную жидкостными коммуникациями и заключенную в массивный контейнер, служащий для радиационной защиты. На сорбент наносят относительно долгоживущий «материнский» радионуклид, который при распаде генерирует более короткоживущий радионуклид. Этот короткоживущий радионуклид вымывают с сорбента раствором определенного состава и с помощью инжекционной системы (которая сама не является частью генератора) или шприца вводят внутрь пациента для осуществления диагностических или терапевтических процедур.

[3]

К недостаткам таких устройств следует отнести сложность заполнения колонки генератора сорбентом, что приводит к недостаточной воспроизводимости процесса зарядки. Также не всегда достигаемая полная герметичность колонки приводит к появлению радиоактивного раствора на ее поверхности и утрате стерильности внутри системы. Массивная защита предохраняет обслуживающий персонал только при транспортировке и эксплуатации, но она недостаточна во время приготовления генератора.

[4]

Недостатками известных способов приготовления генератора являются трудности, связанные с использованием материнских радионуклидов, их сорбированием, заполнением колонки генератора сорбентом и стерилизацией, а также вымыванием с сорбента дочерних радионуклидов.

[5]

Одним из используемых типов генератора является генератор на основе «материнского» радионуклида стронций-82 (период полураспада 25,5 дн.) и образующегося при его распаде «дочернего» короткоживущего радионуклида рубидий-82 (период полураспада 1,3 мин).

[6]

Наиболее близким техническим решением является генератор рубидия-82 [Robert A. deKemp. Rubidium generator for cardiac perfusion imaging and method of making and maintaining same. US Patent 8071959 B2 (Dec. 21, 2005)], включающий генераторную колонку в виде цилиндрического контейнера, заполненного ионообменным материалом, состоящим из неорганического сорбента из гидратированного оксида олова (IV), и закрытого с обеих сторон герметичными крышками с фильтрами, к одной из которых герметично подсоединены подводящая жидкость трубка, а к другой - отводящая трубка, защитный от ионизирующего излучения корпус, выполненный с полостью и заключенный в оболочку из нержавеющей стали, герметичную крышку защитного корпуса, выполненную с герметичными входным и выходным вводами, соответственно для подвода и отвода жидкости. Причем генераторная колонка размещена в полости защитного корпуса, а концы подводящей и отводящей трубок колонки герметично подсоединены к соответствующим вводам крышки защитного корпуса. Сама отводящая трубка размещена параллельно оси колонки, а подводящая трубка смещена относительно оси колонки на расстояние, большее, чем радиус контейнера колонки, чтобы избежать прямого «прострела» ионизирующего излучения из колонки.

[7]

Недостатком данного технического решения является сложность заполнения колонки генератора, что приводит к недостаточной воспроизводимости процесса зарядки при заполнении колонки сухим сорбентом, а также трудность в обеспечении полной герметичности колонки в результате попадания порошка сорбента на уплотнения, что может приводить к появлению радиоактивного раствора на поверхности колонки, утрате стерильности внутри системы и неполному заполнению колонки. Массивная защита также предохраняет обслуживающий персонал только при транспортировке и эксплуатации, но не во время приготовления генератора.

[8]

Наиболее близким техническим решением также является способ приготовления генератора рубидия-82 [Robert A. deKemp. Rubidium generator for cardiac perfusion imaging and method of making and maintaining same. US Patent 8071959 B2 (Dec. 21, 2005)], включающий заполнение генераторной колонки ионообменным материалом, состоящим из неорганического сорбента из гидратированного оксида олова (IV), пропускании через колонку стерильного раствора, содержащего радионуклид стронций-82, и сорбирование радионуклида стронций-82 ионообменным материалом.

[9]

Недостатком данного технического решения является то, что сорбент гидратированного оксида олова засыпают в трубку колонки в сухом виде, а затем подвергают вибрации или «постукиванию» определенное число раз (50-100) с определенной силой удара (0,1 Дж). Это приводит к недостаточной воспроизводимости процесса зарядки сорбентом, генераторы значительно отличаются один от другого, и их функционирование требует постоянной проверки перед вводом элюата пациенту из-за возможного «проскока» материнского стронция-82 и содержащегося в качестве примеси стронция-85. Также попадание избыточного материала сорбента на уплотняющие соединения приводит к неполной герметичности колонки, а разгерметизация зачастую приводит к появлению радиоактивного раствора на поверхности и утрате стерильности внутри системы. Кроме того, стерильность вводимого пациенту радиофармпрепарата достигалась тем, что применяемый для его получения радионуклидный генератор изготавливался из стерильных деталей в асептических условиях, а перед введением пациенту элюат дополнительно стерилизуют пропусканием через стерилизующий фильтр. Однако стерилизация фильтрованием не является достаточно надежной гарантией предотвращения внесения инфекции в пациента, поэтому по современным требованиям необходимо обеспечить стерилизацию самого изделия. Стерилизация целиком генератора (генераторная колонка в защитном контейнере) термическим или радиационным способом неэффективна из-за большой массы объекта. Термически стерилизовать уже полученный из генератора РФП невозможно из-за его малого времени жизни.

[10]

Техническим результатом предлагаемого изобретения является упрощение процесса приготовления генератора рубидия-82, повышение эффективности и надежности его функционирования и стерилизации, повышение защиты от ионизирующего облучения, в том числе при неточно выполненных операциях в процессе приготовления генератора и в нештатных ситуациях.

[11]

Технический результат достигается тем, что сорбент представляет собой порошок гидратированного оксида олова (IV) с размером зерен в интервале 60-160 мкм внутри полости защитного корпуса размещена вставная защитная герметичная емкость, выполненная из водонепроницаемого материала и прикрепленная герметично на внутренней стороне крышки защитного корпуса, в верхней части емкости размещены разъемный защитный вкладыш, выполненный из вольфрама или вольфрамового сплава толщиной, достаточной для снижения воздействия ионизирующего излучения от генераторной колонки до допустимого уровня на внешней поверхности крышки защитного корпуса, в нижней - генераторная колонка с подводящей и отводящей трубками. Причем с внутренней стороны разъемных частей защитного вкладыша выполнены пазы, в которые вложены подводящая и отводящая трубки генераторной колонки. Крышка защитного корпуса снабжена предохранительной полостью, выполненной на внешней стороне крышки. При этом глубина предохранительной полости составляет не более половины наименьшей высоты внешней части входного или выходного ввода крышки защитного корпуса, соотношение диаметра предохранительной полости к наибольшему из диаметров входного или выходного вводов составляет не менее 5:1 и отношение глубины полости к ее диаметру составляет не менее 1:10, но не более 1:3. При этом вставная защитная герметичная емкость выполнена в виде двух соосных вертикальных цилиндров разного диаметра, причем цилиндр с меньшим диаметром установлен на нижнем основании цилиндра с большим диаметром, а диаметры меньшего и большего цилиндров выбирают достаточными для размещения в них с зазором, соответственно, генераторной колонки с подводящей и отводящей трубками и защитного вкладыша.

[12]

Технический результат достигается также тем, что в способе приготовления генератора рубидия-82 сорбент вносят внутрь генераторной колонки в виде взвеси в водном растворе гидроксида аммония с концентрацией в диапазоне от 0.02 М до 0.2 М и содержанием оксида олова во взвеси в пределах от 15 до 50 весовых %, взвесь приготавливают из порошка сорбента с размером зерен в интервале 60 - 160 мкм, причем предварительно крупную (более 160 мкм) фракцию порошка удаляют просеиванием сорбента в сухом состоянии, а мелкую (до 60 мкм) фракцию порошка сорбента удаляют сначала просеиванием в сухом состоянии, а часть оставшихся мелких частиц удаляют непосредственно перед внесением взвеси в колонку из взвеси в водном растворе гидроксида аммония указанной концентрации путем отмучивания взвеси не менее пяти раз. При этом перед пропусканием через колонку раствора, содержащего радионуклид стронций-82, генераторную колонку с ионообменным материалом, состоящим из неорганического сорбента из гидратированного оксида олова (IV), стерилизуют термически при температуре в интервале от 110 до 130°C в течение 30-120 мин, причем содержимое генераторной колонки предварительно герметически изолируют от внешней среды.

[13]

При этом перед пропусканием через колонку раствора, содержащего радионуклид стронций-82, генераторную колонку термически стерилизуют нагреванием в автоклаве при температуре в интервале от 110 до 130°C в течение 30-120 мин, причем содержимое генераторной колонки предварительно герметически изолируют от внешней среды.

[14]

Сущность изобретения поясняется прилагаемыми чертежами.

[15]

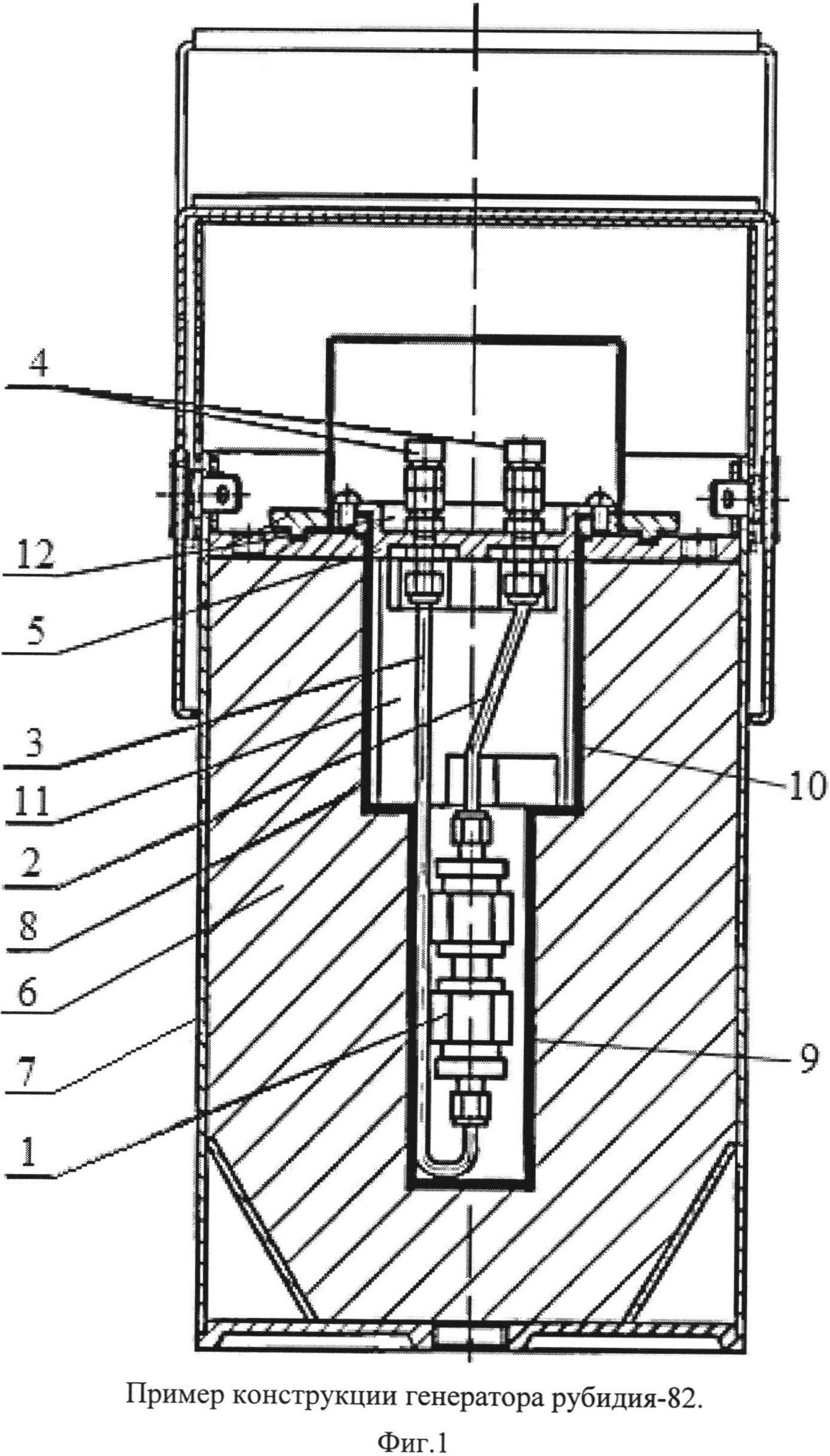
На Фиг.1 показан пример конструкции генератора рубидия-82, где:

[16]

1 - генераторная колонка,

[17]

2 - трубка для подвода жидкости,

[18]

3 - трубка для отвода жидкости,

[19]

4 - входной и выходной вводы крышки защитного корпуса с пробками-заглушками (металлические или из специального термостойкого пластика) для стерилизации,

[20]

5 - крышка защитного корпуса,

[21]

6 - защитный корпус,

[22]

7 - оболочка защитного корпуса,

[23]

8 - вставная защитная герметичная металлическая емкость,

[24]

9 - цилиндр защитной емкости с меньшим диаметром,

[25]

10 - цилиндр защитной емкости с большим диаметром,

[26]

11 - разъемный защитный вкладыш,

[27]

12 - предохранительная полость в крышке защитного корпуса.

[28]

На Фиг.2 показан пример конструкции генераторной колонки, установленной на крышке защитного корпуса, где:

[29]

1 - генераторная колонка,

[30]

2 - трубка для подвода жидкости,

[31]

3 - трубка для отвода жидкости,

[32]

4 - входной и выходной вводы крышки защитного корпуса с пробками-заглушками (металлические или из специального термостойкого пластика) для стерилизации,

[33]

5 - крышка защитного корпуса,

[34]

12 - предохранительная полость в крышке защитного корпуса.

[35]

На Фиг.3 показано фото разъемного защитного вкладыша со вставленной колонкой и крышки защитного корпуса, где:

[36]

1 - генераторная колонка,

[37]

2 - трубка для подвода жидкости,

[38]

3 - трубка для отвода жидкости,

[39]

5 - крышка защитного корпуса,

[40]

11 - разъемный защитный вкладыш,

[41]

12 - предохранительная полость в крышке защитного корпуса,

[42]

13 - пазы разъемного вкладыша для размещения подводящей и отводящей трубок генераторной колонки.

[43]

Осуществление заявленного генератора рубидия-82 и способа его приготовления подтверждается следующими пояснениями и примерами.

[44]

Генератор рубидия-82 (см. Фиг.1 и 2) включает генераторную колонку 1 в виде цилиндрического контейнера-трубки из непроницаемого для жидкости материала, заполненного ионообменным материалом и закрытого с обеих сторон герметичными крышками (уплотнительными соединениями на Фиг.1 и 2) с металлическими фильтрами (фриттами), к одной из которых герметично подсоединена подводящая жидкость трубка 2, а к другой герметично подсоединена отводящая трубка 3. При этом другие концы подводящей и отводящей трубок колонки герметично подсоединены к соответствующим вводам 4 крышки 5 защитного корпуса 6. Сама отводящая трубка 3 размещена параллельно оси колонки 1, а подводящая трубка 2 смещена относительно оси колонки на расстояние, большее чем радиус контейнера колонки. Защитный от ионизирующего излучения корпус 6 выполнен из материала высокой плотности, например свинца или вольфрама, имеет герметичную крышку 5 с герметичными вводами 4 для подвода и отвода жидкости и заключен в оболочку 7 из нержавеющей стали. В корпусе 6 выполнена полость, внутри которой размещена вставная защитная герметичная металлическая емкость 8, прикрепленная герметично к внутренней стороне крышки 5 защитного корпуса 6. Эта емкость не дает генераторной колонке 1 смещаться по горизонтали и предохраняет внутреннюю полость защитного корпуса 6 от радиоактивного загрязнения при протечке по каким-либо причинам из соединений крышек генераторной колонки с трубками 2, 3 (все внутри емкости 8). Емкость герметично прикреплена к внутренней стороне крышки 5, благодаря чему у колонки нет возможности перемещаться по вертикали. При этом вставная защитная герметичная металлическая емкость 8 выполнена в виде двух соосных вертикальных цилиндров разного диаметра, причем цилиндр 9 с меньшим диаметром установлен на нижнем основании цилиндра 10 с большим диаметром, а диаметры меньшего и большего цилиндров выбирают достаточными для размещения в них с зазором, соответственно, генераторной колонки 1 с подводящей и отводящей трубками 2, 3 и разъемного защитного вкладыша 11, выполненного из вольфрама или вольфрамового сплава толщиной, достаточной для снижения воздействия ионизирующего излучения от генераторной колонки до допустимого уровня на внешней поверхности крышки 5 защитного корпуса 6. Основная функция защитного вкладыша 11 - снижение мощности дозы излучения, воздействующего на руки оператора во время смены трубок, подводящих к генератору элюент (изотонический раствор) и отводящий элюат (радиофармпрепарат, РФП) в пациента. Наибольшая активность находится как раз под сплошным участком защитного вкладыша 11. Вольфрам или вольфрамовый сплав выбран потому, что вольфрам имеет высокую плотность (19,3 г/см3) и эффективно защищает от ионизирующего излучения, детали, выполненные из него или его сплавов, можно отмывать от радиоактивного загрязнения, если оно попадет на его поверхность, с помощью неорганических кислот и нет необходимости заключать вкладыш в специальный защитный кожух (например, из нержавеющей стали). Вольфрам ослабляет излучение гораздо сильнее, чем сталь (железо): для достижения равного защитного эффекта вкладыш из стали (железа) должен быть гораздо крупнее, чем из вольфрама, что привело бы к слишком объемной конструкции. Свинец, часто используемый для защиты от ионизирующего излучения, имеет меньшую плотность и поэтому хуже защищает, чем вольфрам, кроме того, он требует предохраняющей оболочки, так как он менее стоек к коррозии, его труднее отмыть от радиоактивного загрязнения и он обладает высокой токсичностью. Без защитного вкладыша мощность дозы на руки оператора (а также на глаза) увеличится на три порядка. Достоинство разъемного защитного вкладыша - в защите от воздействия ионизирующего излучения и упрощении технологии сборки и зарядки генератора. При этом разъемная конструкция вкладыша обеспечивает возможность стерилизации генераторной колонки отдельно от этой достаточно массивной детали - вкладыша.

[45]

С внутренней стороны разъемных частей защитного вкладыша 11 выполнены пазы 13 (см. Фиг.3), в которых размещены подводящая и отводящая трубки 2, 3 генераторной колонки 1 и входное уплотнительное соединение колонки. Крышка 5 защитного корпуса 6 снабжена предохранительной полостью 12, выполненной на внешней стороне крышки 5, причем глубина предохранительной полости составляет не более половины наименьшей высоты внешней части вводов 4 крышки 5 защитного корпуса 6, соотношение диаметра предохранительной полости 12 к наибольшему из диаметров вводов 4 составляет не менее 5:1 и отношение глубины полости к ее диаметру составляет не менее 1:10, но не более 1:3. Данные значения определяются как удобством и безопасностью эксплуатации при присоединении и отсоединении коммуникаций к входному и выходному вводам 4, так и необходимым объемом полости 12 в случае потери неактивной и радиоактивной жидкостей при отсоединении коммуникаций. Опыт эксплуатации показал, что глубина предохранительной полости 12 не может быть слишком большой при определенном диаметре и высоте внешней части вводов, так как это затруднит быстрое присоединение и отсоединение коммуникаций к вводам 4, что приведет к большему облучению персонала. Если же глубина полости будет недостаточна, то это приведет к тому, что объем полости будет слишком мал для сбора максимально возможного объема потерянной жидкости.

[46]

Входной и выходной вводы 4 крышки 5 защитного корпуса 6 оснащены пробками-заглушками 14, которые используются в процессе стерилизации и транспортировки генератора. Пробки могут быть изготовлены из металла или специального термостойкого пластика (Фиг.2).

[47]

Ионообменным материалом является неорганический сорбент на основе гидратированного оксида олова (IV), который представляет собой порошок гидратированного оксида олова (IV) с размером зерен в интервале 60-160 мкм, которым заполняют корпус колонки определенным образом.

[48]

Пример 1.

[49]

Генератор рубидия-82 приготавливают следующим образом.

[50]

Приготавливают взвесь из предварительно просеянного порошка сорбента с размером зерен в интервале 60-160 мкм. Наличие слишком больших зерен снижает площадь поверхности сорбента при заданном объеме и, следовательно, его эффективность. Поэтому крупную (более 160 мкм) фракцию порошка сорбента удаляют путем просеивания в сухом состоянии. Наличие же слишком малых зерен приводит к быстрой закупорке спечного металлического фильтра (фритта) в нижней, выходной части колонки, что может привести к возрастанию гидродинамического давления в системе, прорыву фильтра, появлению частиц сорбента в растворе, вводимом в пациента, и преждевременному прекращению эксплуатации генератора. В процессе просеивания порошка сорбента в сухом виде через сито с большими ячейками достаточно эффективно удаляются крупные частицы, но при просеивании от мелких частиц (менее 60 мкм) через сито с малыми ячейками мелкие частицы данного вещества удаляются не полностью, так как часть из них слипается в результате электростатического притяжения. Поэтому непосредственно перед внесением взвеси в колонку взвесь предварительно «отмучивают» для удаления оставшихся мелких (до 60 мкм) фракций сорбента. Для этого сорбент смешивают в нужной пропорции (от 15 до 50 весовых %) с раствором гидроксида аммония концентрации от 0.02 М до 0.2 М, взбалтывают и ожидают около 5 с. За это время оседают самые крупные фракции сорбента, а самые мелкие не успевают осесть на дно. Водную фракцию с мелкодисперсной фракцией сорбента сливают. Эту операцию повторяют не менее 5 раз, в результате чего достигается требуемое отделение частиц гидратированного оксида олова.

[51]

При приготовлении генератора рубидия-82 объем между фильтрами крышек цилиндрического контейнера генераторной колонки 1 заполняют сверху ионообменным материалом, состоящим из неорганического сорбента из гидратированного оксида олова (IV) при присоединенной нижней крышке (уплотнительном соединении) колонки 1 с отводящей трубкой 3 для жидкости. Причем сорбент вносят внутрь контейнера-трубки генераторной колонки в виде предварительно отмученной взвеси в водном растворе гидроксида аммония с концентрацией в диапазоне от 0.02 М до 0.2 М и содержанием гидроксида олова во взвеси в пределах от 15 до 50 весовых %. В диапазоне от 0.02 М до 0.2 М сорбент наиболее легко достигает заданных ионообменных характеристик при последующей подготовке колонки к работе, так как при выходе за этот диапазон изменяется степень гидратирования оксида олова и частично разрушаются активные адсорбционные центры (это приводит в дальнейшем к ухудшению характеристик генератора). Как показал эксперимент, взвеси с содержанием оксида олова выше 50% - недостаточно жидкие, чтобы надежно заполнять колонку без пустот (наличие пустот ухудшает эффективность функционирования колонки - увеличивается возможность «проскока» элюента с содержанием изотопов стронция) и фиксировать полное заполнение колонки. Содержание ниже 15% приводит к заполнению колонки со слишком высоким содержанием жидкой фазы и уменьшению объема сорбента с соответствующим ухудшением эффективности функционирования колонки. Наполнение колонки взвесью данного состава позволяет легко определить, когда трубка колонки наполнена полностью, и при этом избежать попадания избытка вещества на другие детали, в первую очередь, на уплотняющие соединения. После этого колонку 1 закрывают верхней крышкой (уплотнительным соединением) с подводящей трубкой 2, а концы подводящей и отводящей трубок 2, 3 колонки герметично подсоединяют к соответствующим вводам 4 крышки 5.

[52]

Препараты, которые вводятся человеку внутривенно, должны соответствовать требованиям страны, где они применяются (в России это требования Государственной фармакопеи РФ). Производство таких РФП подчиняется требованиям ГОСТ Р 52249-2004 «Правила производства и контроля качества лекарственных средств». К производству лекарственных средств, в том числе и РФП, предназначенных для внутривенного введения, предъявляются особые требования, направленные на сведение к минимуму риска загрязнения микроорганизмами, пирогенными и другими частицами. Такие же строгие требования предъявляются к процессу стерилизации оборудования и материалов для производства соответствующих РФП.

[53]

РФП из генератора рубидия-82 должен быть стерилен, так как он вводится пациенту непосредственно после получения. Ранее предполагалось, что стерильность вводимого пациенту радиофармпрепарата достигается тем, что применяемый для его получения радионуклидный генератор изготавливается из стерильных деталей в асептических условиях, а перед введением пациенту дополнительно стерилизуется пропусканием через стерилизующий фильтр. Однако стерилизация фильтрованием не является надежной гарантией предотвращения внесения инфекции в пациента, поэтому по современным требованиям необходимо обеспечить стерилизацию конечного изделия. Стерилизация целиком генератора (генераторная колонка в защитном корпусе) термическим или радиационным способом неэффективна из-за большой массы объекта. Термически стерилизовать уже полученный из генератора РФП невозможно из-за его малого времени жизни. Поэтому создать асептические условия внутри генераторной колонки можно, только стерилизуя ее непосредственно перед нанесением материнского радионуклида стронций-82 на сорбент. Поддержание асептических условий в процессе приготовления генератора обеспечивается тем, что в нанесение активности на сорбент осуществляется в стерильных условиях со стерильными веществами. В процессе эксплуатации генератора стерильность поддерживается наличием внутреннего источника ионизирующего излучения и соблюдением условий эксплуатации генератора при клиническом применении.

[54]

Для осуществления процесса стерилизации генераторной колонки 1 вводы 4 герметически изолируют от внешней среды пробками-заглушками (металлические или из специального термостойкого пластика) и колонку 1 на крышке 5 термически стерилизуют, например, нагреванием в автоклаве при температуре в интервале от 110 до 130°C в течение 30-120 мин. Согласно фармацевтическим требованиям достаточно полная стерилизация от различных видов микроорганизмов достигается, если она проводится при температуре выше 110°C в течение не менее 30 мин. Как показали эксперименты, при стерилизации данного сорбента выше 130°C и в течение времени более 120 мин его сорбционные свойства по отношению к стронцию начинают ухудшаться. Опыт показал, что радиационная самостерилизация не сразу обеспечивает нужный результат, и время самостерилизация занимает не менее 3 дней. Стерилизация же полученных растворов путем пропускания их через стерилизующие фильтры не вполне надежна. Поэтому требуется стерилизация самого устройства. В процессе термической стерилизации пробки-заглушки вводов 4 должны герметично закрывать колонку 1, чтобы сорбент при нагревании не терял кристаллизационную воду, иначе резко ухудшаются его ионно-обменные свойства (см. Пример 2).

[55]

Далее колонку 1 устанавливают в защитной металлической емкости 8 в цилиндре 9 с меньшим диаметром, а в цилиндре 10 с большим диаметром устанавливают защитный вкладыш 11, в пазах 13 которого размещают подводящую и отводящую трубки 2, 3 генераторной колонки 1. Защитную металлическую емкость 8 прикрепляют герметично к внутренней стороне крышки 5 защитного корпуса 6, саму емкость 8 размещают внутри полости защитного корпуса, а крышку 5 герметично закрепляют на корпусе 6. После этого через колонку 1 пропускают при расходе от 0,5 до 2 мл/ч, стерильный буферный раствор (например, TRIZMA-HCl, pH=7), содержащий стронций-82 (с примесью стронция-85), который сорбируется ионообменным материалом.

[56]

Пример 2.

[57]

Приготовление генератора рубидия-82 проводят, как описано в Примере 1, когда во время стерилизации генераторная колонка изолирована от окружающей среды и когда сорбент в генераторной колонке контактирует с окружающим воздухом. Измеряют содержание радионуклидов стронций-82 и стронций-85 в элюате в обоих случаях. Результаты приведены в Табл.1, где сравниваются допустимые значения содержания радионуклидов стронций-82 и стронций-85 в элюате с их содержанием, полученным при различных условиях стерилизации.

[58]

Этот пример показывает, что при термической стерилизации сорбента в условиях контакта с воздухом происходит потеря кристаллизационной воды сорбентом (изменяется его гидратное число) и, как следствие, уменьшение его ионообменной емкости относительно стронция.

[59]

Таким образом, использование настоящего технического решения упрощает процесс приготовления генератора рубидия-82, повышает эффективность и надежность его функционирования и стерилизации, повышает защиту от ионизирующего облучения в процессе приготовления генератора и в нештатных ситуациях.

[60]

Таблица 1
Объем элюента, лСодержание изотопов стронций-82 и 85 в элюате, %
Стерилизованная негерметизированная колонкаСтерилизованная герметизированная колонка
Стронций-82Стронций-85Стронций-82Стронций-85
10000
50,000010,0000300
100,00850,02700
130,020,05800,000020,00006
150,571,960,000300,00085
Допустимое значение0,0020,020,0020,02

Как компенсировать расходы
на инновационную разработку
Похожие патенты