Использование: в области электроэнергетики. Технический результат - упрощение способа и повышение чувствительности защиты. Полукомплекты микропроцессорной защиты синхронно фиксируют токи и напряжения на обеих сторонах линии, а оптоволоконный канал связи передает информацию от одного комплекта к другому. Наблюдаемые отсчеты токов и напряжений преобразуют в комплексы и далее в замеры, которые воспринимаются распознающими модулями двух типов - блокирующего и разрешающего. Модули располагают комплексными плоскостями для отображения замеров как в ходе обучения, так и последующего функционирования релейной защиты на реальном объекте. Формирование замеров выполняется с участием передающей модели неповрежденной линии, такая модель представляет собой многополюсник в режиме обратной передачи. Входные величины передающей модели - токи и напряжения начала линии, выходные - модельные токи и напряжения, оценивающие соответствующие величины на втором конце предположительно неповрежденной линии. Реализован принцип многомерности релейной защиты. Основной замер токовый, дополнительный - напряженческий. Имитационная модель сети обучает блокирующие модули сигналами тех режимов, в которых линия не повреждена, а разрешающие модули, наоборот, режимов короткого замыкания в линии. Результатом обучения становятся области блокирования и срабатывания. 1 з.п. ф-лы, 7 ил.
1. Способ релейной защиты линии электропередачи при двухстороннем наблюдении путем синхронизации отсчетов токов и напряжений на обеих сторонах, преобразования отсчетов в комплексы токов и напряжений, которые в свою очередь преобразуют в комплексные сигналы в виде фазных токовых замеров, подачи каждого комплексного сигнала на соответствующие блокирующий и разрешающий распознающие модули и отображения подаваемого сигнала на комплексных плоскостях распознающих модулей, обучения распознающих модулей с использованием имитационной модели линии электропередачи в составе электрической сети, отличающийся тем, что наблюдаемые токи и напряжения первой стороны линии электропередачи преобразуют в передающей модели неповрежденной линии в модельные токи и напряжения второй стороны линии, формируют каждый фазный токовый замер из соответствующих фазных наблюдаемого и модельного тока, дополнительно определяют фазные напряженческие замеры, формируют дополнительные замеры из соответствующих фазных наблюдаемого имодельного напряжения, подают каждый дополнительный замер на соответствующие дополнительные блокирующий и разрешающий модули, основной и дополнительный блокирующие модули одной и той же фазы электропередачи соединяют по схеме И, а основной и дополнительный разрешающие модули одной и той же фазы соединяют по схеме ИЛИ, признают фазу неповрежденной при появлении сигнала на выходе соответствующей схемы И, в противном случае реагируют на сигнал схемы ИЛИ, и производят срабатывание защиты при поступлении указанного сигнала. 2. Способ релейной защиты по п. 1, отличающийся тем, что основной и дополнительный фазные замеры определяют в виде отношения комплексов токов и, соответственно, напряжений где s и r - символы первой и второй сторон линии, ν=А, В, С - обозначение произвольной фазы, 

- токи, наблюдаемые на первой стороне,
и
- токи и напряжения, наблюдаемые на второй стороне,
и
- модельные токи напряжения.
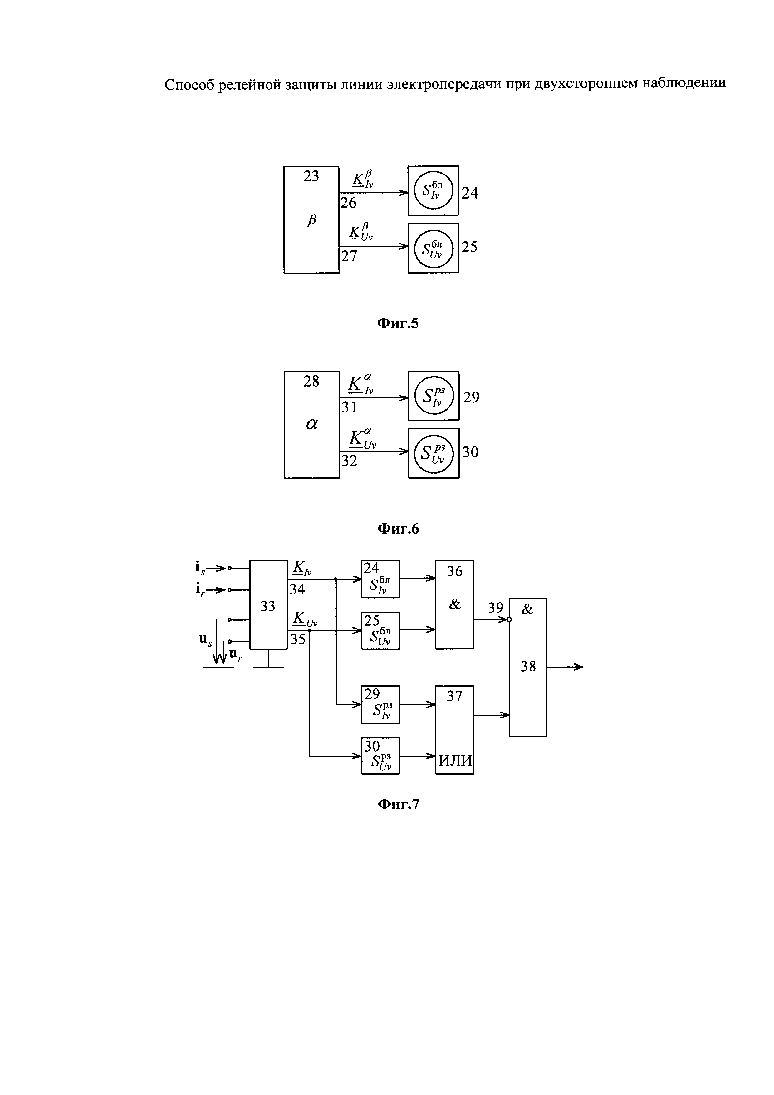
Изобретение относится к электроэнергетике и предназначено для реализации в микропроцессорной защите линий электропередачи, в том числе многопроводных, как воздушных, так и кабельных, а также комбинированных воздушно-кабельных. Основано на применении современных средств обмена информацией между удаленными электроэнергетическими объектами: оптоволоконная линия связи, синхронизация отсчетов электрических величин на разных сторонах электропередачи. В энергосистемах находит широкое применение дифференциальная защита линий (ДЗЛ) [1, 2]. Дифференциальный принцип релейной защиты предполагает наблюдение и сравнение токов на разных сторонах объекта. Вместе с тем дифференциальная защита должна быть отстроена от всех токов, протекающих в линии в поперечном направлении: емкостные токи, а также токи ненаблюдаемых ответвлений (ответвительные подстанции). Для отстройки от поперечных токов требуется дополнительная информация - нужны напряжения линии. В микропроцессорных терминалах релейной защиты осуществляется запись отсчетов токов и напряжений всех фаз электропередачи. Встает задача оптимального распоряжения всей имеющейся информации о защищаемой линии электропередачи. К настоящему времени созданы теоретические предпосылки решения поставленной задачи [3-5]. Известен общий способ релейной защиты произвольного энергообъекта, реализующий концепцию объединения всей доступной информации о состоянии защищаемого объекта [6]. Его ключевые признаки - присутствие обучаемых модулей двух типов, блокирующего и разрешающего, обучение с учителем, в качестве которого выступает имитационная модель защищаемого объекта, воспроизводящая его режимы. Этот способ содержал мало конкретики, необходимой для реализации. Заданную тему продолжил следующий способ релейной защиты энергообъекта, содержащий большее число ключевых признаков [7]. Помимо операций обучения модулей двух типов, применения имитационных моделей, к таким признакам относится детализация операции обучения, разграничение обучающих режимов на отслеживаемые и альтернативные. Стремление придать обсуждаемому способу максимальную общность привело к его отдаленности от приложений к конкретным энергообъектам, в том числе и линиям электропередачи. В перечне операций имеются усложнения, не востребованные в данном случае. Способ оказывается излишне сложным из-за присутствия операций разделения множества альтернативных режимов по признаку, возникающему в процессе обучения релейной защиты. Ставится цель упростить реализацию данного способа в приложении к защите линии электропередачи, синхронно наблюдаемой с обеих сторон. Упрощение должно касаться структуры защиты, а также процедуры ее обучения, с тем чтобы реализация каждой операции получила конкретное содержание. Сопутствующая цель - повышение чувствительности защиты к повреждению линии. Предлагаемый способ предлагает выполнение релейной защиты в базисе комплексных величин. Отсчеты мгновенных значений электрических величин преобразуют в комплексы. Такую операцию выполняют фильтры ортогональных составляющих, время их действия может быть доведено до нескольких интервалов дискретизации [5]. В свою очередь комплексы наблюдаемых токов и напряжений преобразуют в комплексные сигналы, играющие в дальнейшем роль фазных токовых замеров. Замеры подают на распознающие модули, блокирующие и разрешающие, и отображают на комплексных плоскостях, являющихся принадлежностью этих модулей. Области действия всех моделей определяют путем обучения от имитационной модели в составе электрической сети. Перечисленные технические признаки - общие для прототипа и предлагаемого способа. Новые признаки обусловлены появившимися лишь в последнее время представлениями о самонастраивающейся релейной защите. Защита такого типа использует с максимальной полнотой не только текущую информацию, поступающую в виде цифровых осциллограмм наблюдаемых величин, но также и априорную информацию о структуре и параметрах модели защищаемого объекта, и более того еще и апостериорную информацию об объекте, используемую для корректировки модели. Принципиально важный технический признак заключается в том, как выполняют преобразование наблюдаемых величин с целью получения замеров, играющих роль комплексных сигналов. Токи и напряжения одной из сторон линии преобразуют в ее передающей (алгоритмической) модели в модельные токи и напряжения другой стороны. Передающая модель многопроводной системы представляет собой многополюсник в режиме обратной передачи. Число проводов произвольное, в одноцепной передаче равно трем, в двухцепной - шести. Для каждой фазы или же для каждого наблюдаемого провода электропередачи формируют своеобразный токовый замер. Его оригинальность состоит в том, что в нем сочетается ток, наблюдаемый в данном месте, с модельным током того же самого места. Следующий существенный технический признак – формирование, наряду с основными токовыми замерами, еще и дополнительных напряженческих. Соответственно, вводят дополнительные блокирующие и распознающие модули. Блокирующие модули одной и той же фазы, основной и дополнительный, соединяют по схеме И, и этому объединению придают наивысший приоритет. Сигналом от этой схемы блокируют действие защиты. Разрешающие модули соответствующего типа соединяют по схеме ИЛИ, которая приводит к срабатыванию защиты лишь при отсутствии блокировки. В дополнительном пункте формулы изобретения конкретизируются операции определения замеров из комплексов тока и напряжения, наблюдаемых на второй стороне линии и моделируемых в том же месте. На фиг. 1 показана схема защищаемой электропередачи как части электрической сети, на фиг. 2 - передающая модель электропередачи. Фиг. 3 иллюстрирует процедуру формирования и задействования токового замера, фиг. 4 - то же, для напряженческого замера. Фиг. 5 и 6 демонстрируют процесс обучения распознающих модулей - блокирующих (фиг. 5) и разрешающих (фиг. 6). Наконец, на фиг. 7 приведена структурная схема релейной защиты, реализующей предлагаемый способ. Защищаемая линия электропередачи 1 входит в состав электрической сети 2. Линия наблюдается на обеих сторонах 3 и 4 - шинах подстанций 5 и 6. Полукомплекты защиты 7 и 8 соединены каналом связи 9. Центральным структурным элементом релейной защиты, действующей по предлагаемому способу, является передающая модель 10 неповрежденной линии 1, входные зажимы которой 11, 12 воспринимают токи и напряжения, наблюдаемые на одной из сторон линии, в данном случае на стороне 3, и преобразуют их в токи и напряжения на выходных зажимах 13, 14, которые служат оценками электрических величин на другой стороне линии 4, но лишь при условии, что линия не повреждена. Следующими после передающей модели 10 структурными элементами защиты являются формирователи замеров в соединении с отображающими эти замеры на своих комплексных плоскостях распознающими модулями (фиг. 3, 4). Формирователь токового замера 15 соединен с модулем 16. На входы 17, 18 формирователя 15 подают ток, наблюдаемый на выходе 4 линии электропередачи, и модельный ток от передающей модели 10. Формирователь напряженческого замера 19 соединен с модулем 20 и воспринимает на своих входах 21, 22 два напряжения - реальное и модельное. Распознающие модули представляют собой интеллектуальную часть релейной защиты, реализующей предлагаемый способ. Будучи до обучения однотипными, после обучения они приобретают оригинальные черты, становясь блокирующими либо разрешающими. Обучение проводят с помощью имитационных моделей электрической сети 2. В состав обучающих блоков вводят также входные структурные элементы защиты - передающую модель 10 и формирователи 15, 19. Имитационная модель сети воспроизводит режимы двух типов. Режимы первого типа (внешние) - те, в которых линия 1 не повреждена (β-режимы). Это замыкания в подсистемах 5 и 6 вне линии, нагрузочные режимы. Во всех β-режимах замеры генерирует обучающий блок 23. Множество замеров отображают модули 24 и 25, замеры подают на них с выходов 26 и 27 блока 23. В результате обучения элементы 24 и 25 становятся блокирующими модулями - токовым и напряженческим. Режимы второго типа (внутренние) - короткие замыкание в самой линии (α-режимы). Замеры в α-режимах генерируют обучающий блок 28, сигналы которого отображаются распознающими модулями 29, 30 по каналам 31, 32. По завершении процедуры обучения модули 29, 30 становятся разрешающими в том смысле, что они получают право давать от себя сигнал на срабатывание защиты. Разумеется, этот сигнал всегда может быть заблокирован модулями 24, 25, которым принадлежит более высокий приоритет в принятии решения о действии релейной защиты. В структурной схеме защиты, реализующей излагаемый способ, все входные блоки объединены в общий модуль 33, куда входят входные цепи защиты, фильтры ортогональных составляющих, передающая модель 10 и формирователи замеров 15, 19. Выходные зажимы 34, 35 входного модуля 33 воздействуют как на блокирующие распознающие модули 24, 25, так и на разрешающие модули 29, 30. Получается, что входы модулей 24 и 29, 25 и 30 соединены параллельно. Блокирующие и разрешающие модули получают идентичную информацию, но распоряжаются ею по-разному, так как в процессе обучения приобретают разные характеристики. Логическая часть защиты представлена элементом И 36, объединяющим блокирующие модули 24, 25, элементом ИЛИ 37 для разрешающих модулей 29, 30 и выходным элементом И 38 с инверсным входом 39, реализующим функцию запрета срабатывания. Передающая модель 10 реализует функцию обратной передачи сигнала через многополюсник где Us, Is - комплексные векторы наблюдаемых величин, где γ и Zc - коэффициент распространения и характеристическое сопротивление линии. В случае трехфазной несимметричной электропередачи передающая модель 10 оперирует трехмерными векторами электрических величин В данном способе передающая модель 10 играет особо важную роль благодаря следующему своему свойству: в β-режимах, когда линия 1 не повреждена, модель адекватна реальному объекту, а в α-режимах, когда в линии имеет место короткое замыкание, адекватность нарушается. Таким образом, модель 10 по своей физической природе преобразует α- и β-режимы по-разному, что и требуется для их эффективного разграничения. Формирование замеров из фазных токов и напряжений, наблюдаемых Irν, Urν и модельных Поясним физический смысл токового замера (3). Он построен по типу дифференциально-фазного замера где Iдиф и Iторм - дифференциальный и тормозной токи. В неповрежденной линии дифференциальный ток создается распределенной емкостью. Это ток β-режима, на который должен быть настроен блокирующий модуль 24, выполняющий тем самым функцию компенсации емкостного тока. Суммарный емкостный ток линии определяется как разность между током, наблюдаемым в начале линии, и током, предполагаемым в конце неповрежденной линии Вместе с тем, дифференциальный ток линии с компенсацией тока IC и с учетом (6) Таким образом, замер (3) построен как и отношение (5), но с противоположным знаком. Тормозной ток определен как сумма наблюдаемых токов Что же касается напряженческого замера (4), то он построен по аналогии с токовым, за тем лишь исключением, что знаменатель, не связанный с функцией торможения, скомпонован только из величин конца линии. В структуре защиты предусматривают по четыре распознающих модуля 24, 25; 29, 30 на каждую фазу электропередачи. На этапе обучения модули 24, 25 и 29, 30 получают характеристики, окаймляющие области отображения β- и α-режимов: Необходимо разграничивать этап обучения релейной защиты и ее работу на объекте. На этапе обучения защита фиксирует замеры, выдаваемые обучающими блоками 23 и 28. Имитационная модель электропередачи, инициирующая формирование замеров, варьирует свои параметры в заданных диапазонах их изменения. Применительно к описанию (2) это означает вариацию параметров γ и Zc. Между тем, в передающей модели 10, принципиально отличающейся от имитационной модели той же электропередачи, эти параметры фиксированы. Как следствие, в процессе обучения β-режимами величины Irν и На реальном объекте релейная защита решает задачу разграничения α- и β-режимов. В структуре защиты по фиг. 7 элементы 24, 25 и 36 проверяют, возможна ли принадлежность наблюдаемой ситуации к β-режимам. Проверяемое условие имеет вид где δбл - логическая функция, принимающая единичное значение, если срабатывают оба модуля 24 и 25, или нулевое, если не сработает хотя бы один из них. Значение δбл=1 означает срабатывание элемента И 36 и блокирование защиты. Заметим, что тем самым всего лишь предполагается, что наблюдаемая ситуация может быть отнесена к категории β-режимов. Защита будет заблокирована и в том случае, если на самом деле имело место замыкание в линии через большое переходное сопротивление, но чувствительности защиты оказалось недостаточно, чтобы распознать этот α-режим, отделив его от множества β-режимов. Лишь в том случае, если δбл=0, срабатывание становится возможным, но только в том случае, если при проверке другого условия окажется, что δcp=1. Аналогично тому, как выполнение условия (10) проверялось элементами 24, 25, 36, так выполнение условия (11) проверяется элементами 29, 30, 37. Все элементы структурной схемы, построенной по данному способу, имеют конкретную, апробированную реализацию в наиболее простом и обычном для релейной защиты базисе комплексных величин. Характеристики блокирования и срабатывания задают на комплексных плоскостях, что также типично для релейной защиты. Вместе с тем в этой структуре присутствуют и такие новые решения, как применение передающей модели объекта, адекватной в β-режимах и неадекватной в α-режимах, принцип многомерности в подходе и распознавании режимов, выражающийся в формировании не одного комплексного замера, как обычно, а двух - отдельно по току и по напряжению. Источники информации 1. Патент КНР, publ. number CN 103296647 В, appl. number CN 201310185011, 2013. 2. Патент КНР, publ. number CN 104037742 А, appl. number CN 201410325741, 2014. 3. Лямец Ю.Я., Нудельман Г.С., Зиновьев Д.В и др. Многомерная релейная защита. Ч. 1, 2, 3. - Электричество, 2009, №10, с. 17-25; №11, с. 9-15; 2010; №1, с. 9-15. 4. Лямец Ю.Я., Мартынов М.В., Нудельман Г.С. и др. Обучаемая релейная защита. Ч. 1, 2. - Электричество, 2012, №2, с. 15-19; №3, с. 12-18. 5. Лямец Ю.Я., Романов Ю.В., Широкий М.Ю. Быстрое оценивание периодической составляющей тока короткого замыкания. - Электричество, 2012, №4, с. 9-13. 6. Патент РФ №2316872, Н02Н 3/40, 2006. 7. Патент РФ №2404499, Н02Н 3/40, 2009 (прототип).
,
- комплексные векторы модельных величин, В - матрица обратной передачи. В частном случае двухпроводной модели для скалярных величин
.
,
, где ν=А, В, С - произвольная фаза, многовариантная процедура. Здесь рассматривается простейшая - формирование замеров как относительных величин






и
- области, фиксируемые блокирующими модулями 24 и 25, сосредотачивают в себе отображения β-режимов;
и
- области, фиксируемые разрешающими модулями 29 и 30, хранят в своей памяти границы отображения α-режимов.
, Urν и
не будут совпадать, а замеры в этих режимах
,
(фиг. 5) не будут нулевыми.
