патент
№ RU 2648567
МПК H03K7/06
Номер заявки
2017117905
Дата подачи заявки
24.05.2017
Опубликовано
26.03.2018
Страна
RU
Как управлять
интеллектуальной собственностью
Чертежи 
2
Реферат

Изобретение относится к технологиям сетевой связи. Технический результат заключается в повышении надежности эксплуатации оборудования. Двухкристальный акустооптический сдвигатель частоты оптического излучения с двукратным сдвигом по частоте и стабильностью углового положения выходного пучка, отличающийся тем, что стабильность углового положения выходного пучка света обеспечивается последовательной дифракцией светового пучка в двух симметрично расположенных акустооптических ячейках с одинаковой геометрией акустооптического взаимодействия, при этом между ячейками устанавливается устройство подавления непродифрагировавшей в первой ячейке части пучка света с поляризацией аналогичной поляризации входного пучка. 3 з.п. ф-лы, 3 ил.

Формула изобретения

1. Двухкристальный акустооптический сдвигатель частоты оптического излучения с двукратным сдвигом по частоте и стабильностью углового положения выходного пучка, отличающийся тем, что стабильность углового положения выходного пучка света обеспечивается последовательной дифракцией светового пучка в двух, симметрично расположенных акустооптических ячейках с одинаковой геометрией акустооптического взаимодействия, при этом между ячейками устанавливается устройство подавления непродифрагировавшей в первой ячейке части пучка света с поляризацией, аналогичной поляризации входного пучка.

2. Устройство по п. 1, отличающийся тем, что в качестве устройства подавления непродифрагировавшей в первой ячейке части пучка света используется поляризатор.

3. Устройство по п. 1, отличающийся тем, что в качестве материала акустооптической ячейки используется кристалл парателлурита.

4. Устройство по п. 1, отличающийся тем, что роль устройства подавления непродифрагировавшего пучка выполняет акустооптическая ячейка, выполненная таким образом, что последовательное отражение от одной грани и прохождение света через другую грань из первой акустооптической ячейки во вторую акустооптическую ячейку обеспечивает подавление не продифрагировавшего излучения в первой акустооптической ячейке.

Описание

[1]

Изобретение относится к прикладной оптике и может быть использовано в системах стабилизации частоты оптического излучения, создания реперов частоты оптического излучения, измерения частоты оптического излучения, в системах типа «Фонтан» эталонов частоты.

[2]

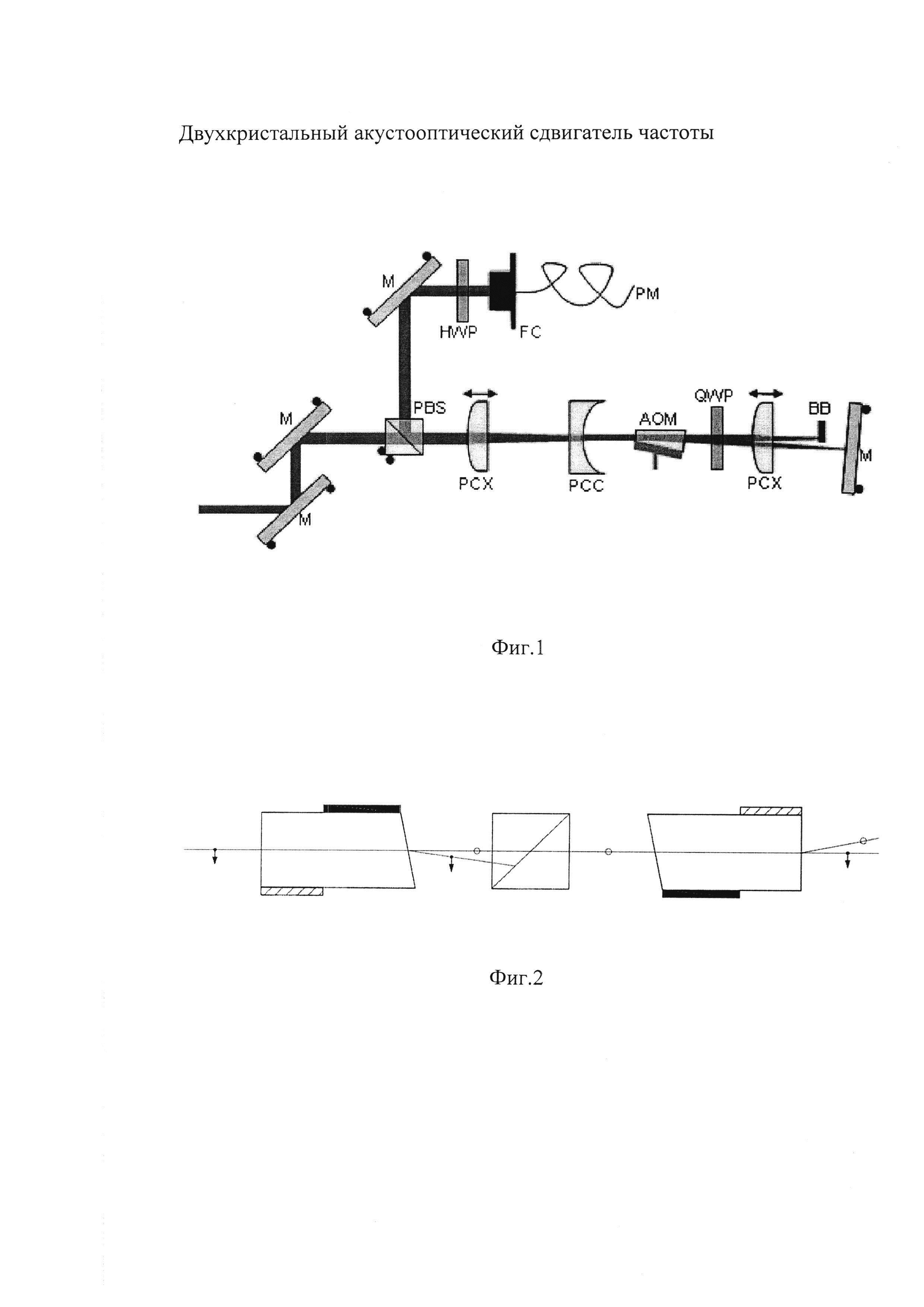
Известны различные конструкции с двигателей частоты, например, представленный на Фиг. 1 (Review of scientific instrument 76,063112 (2005) Double-pass acousto-optic modulator system. E.A. Donley, T.P. Heavner, F. Levi, M.O. Tataw and S.R. Jefferts) и выбранный за прототип.

[3]

Двухкристальный акустооптический сдвигатель частоты (ДАОСЧ), в котором происходит последовательная дифракция светового излучения, в отличие от одинарных, обладает таким важным достоинством: как простота юстировки ДАОСЧ. В ДАОСЧ нет необходимости использовать фазовую пластину, объектив типа «кошачий глаз» и отражающее зеркало. Объектив типа «кошачий глаз» и отражающее зеркало необходимо очень точно юстировать. Кроме того, в отличие от АО ячеек СЧ, использующих объектив «кошачий глаз», в ДАОСЧ используются АО ячейки с анизотропной дифракцией. Эффективность анизотропной акустооптической дифракции на кристаллах парателлурита в десятки раз выше, чем эффективность изотропной акустооптической дифракции. Соответствующим образом снижается и управляющая мощность.

[4]

Недостатком такого устройства является существенно большая управляющая мощность, использование дополнительных оптических элементов (фазовой пластины, объектива типа «кошачий глаз» и зеркала, требующих точной юстировки).

[5]

Также известен АОСЧ, использующий анизотропную дифракцию, но направление распространения продифрагировавшего излучения в нем зависит от частоты сдвига. Таким образом, необходимо механически подстраивать приемный тракт для каждой частоты сдвига.

[6]

Недостатком такого устройства является то, что при изменении значения сдвига частоты необходима механическая юстировка положения приемного объектива.

[7]

Решаемая настоящим изобретением задача - создание АОСЧ, лишенного недостатков ранее разработанных устройств. Разработанный ДАОСЧ не изменяет направление распространения оптического луча при изменении величины сдвига частоты оптического излучения, требует меньшей управляющей мощности, нет необходимости в использовании дополнительных оптических элементов, требующих прецизионной юстировки.

[8]

Технический результат достигается за счет того, что устройство двухкристального акустооптического сдвигателя частоты оптического излучения с двукратным сдвигом по частоте и стабильность углового положения выходного пучка обеспечивается за счет последовательной дифракции светового пучка в двух симметрично расположенных акустооптических ячейках с одинаковой геометрией акустооптического взаимодействия, при этом между ячейками устанавливается устройство подавления непродифрагировавшей в первой ячейке части пучка света с поляризацией, аналогичной поляризации входного пучка. В двухкристальном АОСЧ в качестве материала АОЯ используется кристалл парателлурита. В качестве устройства подавления не продифрагировавшей в первой ячейке части пучка света может быть использован поляризатор.

[9]

Роль устройства подавления непродифрагировавшего пучка может выполнять АОЯ, изготовленная таким образом, что последовательное отражение от одной грани и прохождение света через другую грань из первой АОЯ во вторую АОЯ обеспечивает подавление не продифрагировавшего излучения в первой АОЯ.

[10]

Изобретение поясняется чертежами.

[11]

На фиг 1 представлена оптическая схема устройства-прототипа.

[12]

На фиг. 2 представлена схема двухкристального акустооптического сдвигателя частоты, где 1 - АОЯ, 2 - поляризатор, Tr - ультразвуковой преобразователь, знаки ↑ и ο указывают состояния поляризации светового пучка.

[13]

На фиг. 3 представлена схема двухкристального акустооптического сдвигателя частоты, в котором селекция поляризаций обеспечивается конструкцией АОЯ.

[14]

Устройство работает следующим образом. Оптическое излучение (лазерный луч) последовательно проходит через первую АОЯ, испытывает акустооптическую дифракцию затем селективным элементом отсекается непродифрагировавшая часть излучения, затем попадает во вторую АОЯ, где происходит еще раз процесс АО дифракции. При этом в первую АОЯ входит луч необыкновенной поляризации (для оптически положительного кристалла) и в результате акустооптической дифракции переходит в обыкновенную поляризацию. В случае оптически отрицательного кристалла, входное излучение обыкновенной поляризации, продифрагировавшее необыкновенной. Частота излучения при этом сдвигается относительно частоты падающего излучения на частоту ультразвуковой волны, возбуждаемой в АОЯ. Выбором направления распространения света можно получить как положительное, так и отрицательное значение сдвига частоты оптического излучения (Используется АОЯ с геометрией взаимодействия, соответствующей геометрии акустооптического дефлектора). При этом продифрагировавший луч изменит направление распространения относительно направления падающего луча. Угол отклонения продифрагировавшего луча зависит от частоты оптического излучения и частоты ультразвуковой волны. В линейном приближении угол отклонения пропорционален частоте ультразвуковой волны. Затем продифрагировавшее излучение попадает во вторую АОЯ, идентичную первой, но развернутой на 180° относительно оси, перпендикулярной плоскости АО взаимодействия. Во второй АОЯ происходит обратная АО дифракция, и продифрагировавший оптический луч снова меняет поляризацию. При этом частота оптического излучения еще раз сдвигается на частоту ультразвуковой волны. Таким образом, частота оптического излучения оказывается сдвинутой на удвоенную частоту ультразвуковой волны. Так как геометрия АО взаимодействия во второй АОЯ такая же, как и в первой АОЯ, то второй раз продифрагировавшее излучение обладает тем же направлением распространения, что и излучение, падающее на первую АОЯ. Так как используются АОЯ с геометрией АО взаимодействия, соответствующей геометрии АО дефлектора, то для заданной длины волны лазерного излучения можно осуществлять эффективное АО взаимодействие в широкой полосе звуковых частот. В результате частоту излучения лазерного луча, без изменения его направления можно изменять на удвоенную частоту ультразвуковой волны, возбуждаемой в АО ячейках. В случае использования для АО ячеек оптически положительных кристаллов, поляризация падающего на ДАОСЧ излучения и поляризация, выходящая с ДАОСЧ, необыкновенная, для АО ячеек оптически отрицательных кристаллов поляризация входного и выходного излучения обыкновенная. Так как нельзя гарантировать 100% эффективность АО дифракции на выходе из первой АОЯ, возможно наличие непродифрагировшего излучения. Для того чтобы в дальнейшем оно не смешивалось с дважды продифрагировашим излучением, его следует подавить. Это можно сделать или пространственной (например, диафрагма) или поляризационной селекцией прямого и продифрагировшего излучения. При подавлении прямого луча между двумя АОЯ, на выходе из второй АОЯ также есть излучение, дважды продифрагировшее (полезная часть излучения), излучение, которое продифрагировала только один раз. Но на выходе ДАОСЧ достаточно применить пространственную селекцию, так как между направлением распространения этих лучей достаточно большой угол (угол АО дифракции). Эту же процедуру - последовательной дифракции - можно выполнить и на одной АОЯ, пространственно разделив первый и второй проход АОЯ, например, с помощью призменного отражателя. Неудобство такой конструкции заключается в том, что необходимо использовать призменный отражатель и затруднительно добиться одинаково высокой эффективности дифракции на разных пространственно разделенных участках АОЯ, тем более в полосе частот.

[15]

Возможна схема двухкристального акустооптического сдвигателя частоты, в котором роль поляризатора выполняет последовательное полное внутреннее отражение с угловым разведением пучков различных поляризации в первой АОЯ и прохождение света с обыкновенной поляризацией через скошенные грани первой и второй АОЯ.

[16]

В случае двухкристального АОСЧ, корректировкой эффективности дифракции в каждой точке спектрального диапазона можно на каждой АОЯ управлять независимо. При использовании в качестве материала АОЯ кристаллического парателлурита (являющегося оптически положительным кристаллом) входная и выходная поляризации - необыкновенные, один раз продифрагировавшее излучение обладает обыкновенной поляризацией. В случае, если направления распространения падающего и дифрагированного излучения близки к оптической оси кристалла, собственные поляризации уже не линейные, а обладают эллиптичностью, что необходимо учитывать при построении ДАОСЧ. Трудности при значительной эллиптичности могут превалировать над положительным эффектом такой схемы. Эти проблемы существуют в любом анизотропном сдвигателе частоты и могут возникнуть при малых значениях сдвига частоты.

Как компенсировать расходы
на инновационную разработку
Похожие патенты