патент
№ RU 2620588
МПК H04B10/25

Способ восстановления электрического сигнала по оптическому аналогу при передаче по ВОЛС с использованием внешней модуляции излучения

Авторы:
Писков Сергей Сергеевич Игнатьев Николай Георгиевич Коротков Кирилл Евгеньевич
Все (5)
Номер заявки
2016107962
Дата подачи заявки
04.03.2016
Опубликовано
29.05.2017
Страна
RU
Как управлять
интеллектуальной собственностью
Чертежи 
2
Реферат

Изобретение относится к технике связи и может использоваться в системах передачи аналоговых сигналов микро-наносекундного временного диапазона по волоконно-оптическим линиям связи (ВОЛС) с использованием внешней модуляции излучения. Технический результат состоит в повышении точности восстановления формы электрического сигнала по зарегистрированному аналоговому сигналу, передающемуся по ВОЛС с внешней модуляцией. Для этого в способе в каждом из N≥1 каналов системы передачи по ВОЛС производится внешняя модуляция излучения лазерного модуля, которое передается по входному одномодовому волокну, с помощью электрооптического модулятора интенсивности по схеме интерферометра Маха-Цандера, в каждом из N каналов системы передачи предварительно выставляют рабочую точку модулятора путем подачи постоянного напряжения на электроды сдвига модулятора от источника питания для подачи постоянного напряжения на электроды сдвига модулятора, далее функцию пропускания и рабочую точку каждого модулятора точно определяют непосредственно перед подачей на электрический сигнальный вход каждого модулятора передаваемого информационного электрического сигнала, а затем в процессе обработки оптического сигнала определяют функцию пропускания и рабочую точку каждого модулятора, после этого по известному изменению оптического сигнала на выходе каждого модулятора, вызванному приходом передаваемого информационного электрического сигнала, и полученной ранее функции пропускания каждого модулятора восстанавливают форму передаваемого информационного электрического сигнала. 3 ил.

Формула изобретения

Способ восстановления электрического сигнала по оптическому аналогу при передаче по ВОЛС с использованием внешней модуляции излучения, заключающийся в том, что в каждом из N≥1 каналов системы передачи по ВОЛС производится внешняя модуляция излучения лазерного модуля, которое передается по входному одномодовому волокну, с помощью электрооптического модулятора интенсивности по схеме интерферометра Маха-Цандера, отличающийся тем, что в каждом из N каналов системы передачи предварительно выставляют рабочую точку модулятора путем подачи постоянного напряжения на электроды сдвига модулятора от источника питания для подачи постоянного напряжения на электроды сдвига модулятора, далее функцию пропускания и рабочую точку каждого модулятора точно определяют непосредственно перед подачей на электрический сигнальный вход каждого модулятора передаваемого информационного электрического сигнала путем подачи на электрический сигнальный вход каждого модулятора калибровочного электрического сигнала заранее известной формы, амплитуда которого больше или равна предполагаемой амплитуде передаваемого информационного электрического сигнала, а затем в процессе обработки оптического сигнала, поступающего по выходному одномодовому волокну с оптического выхода модулятора, зарегистрированного приемником оптического излучения и оцифровщиком, по известной форме калибровочного электрического сигнала и по изменению оптического сигнала на выходе каждого модулятора, вызванному калибровочным электрическим сигналом, однозначно определяют функцию пропускания и рабочую точку каждого модулятора, после этого по известному изменению оптического сигнала на выходе каждого модулятора, вызванному приходом передаваемого информационного электрического сигнала, и полученной ранее функции пропускания каждого модулятора восстанавливают форму передаваемого информационного электрического сигнала.

Описание

[1]

Изобретение относится к системам передачи аналоговых сигналов микро-, наносекундного временного диапазона по волоконно-оптическим линиям связи (ВОЛС) с использованием внешней модуляции излучения и может быть использовано для восстановления формы передаваемого электрического сигнала по оптическому аналогу.

[2]

Функция пропускания электрооптического модулятора интенсивности по схеме интерферометра Маха-Цандера (далее по тексту модулятор) (зависимость пропускания модулятора от приложенного к электрическому сигнальному входу напряжения) по форме близка к синусоидальной. Поэтому при передаче аналоговых сигналов с использованием таких модуляторов для точного восстановления формы передаваемого сигнала необходимо знать как функцию пропускания (заранее определенную), так и рабочую точку модулятора (пропускание модулятора при отсутствии напряжения на электрическом сигнальном входе). Изменение интенсивности на выходе модулятора при подаче сигнала на электрический сигнальный вход модулятора зависит от положения рабочей точки модулятора. Дрейф рабочей точки (изменение пропускания модулятора с течением времени при отсутствии напряжения на электрическом сигнальном входе модулятора) вызван тепловыми процессами в модуляторе (поглощение лазерного излучения в модуляторе, изменение температуры модулятора и т.д.), поэтому требуется постоянный контроль и стабилизация рабочей точки. В качестве рабочей точки чаще всего выбирают минимум, максимум или середину склона функции пропускания модулятора, так как эти точки наиболее просто поддаются настройке и контролю при помощи специализированных устройств (контроллеров рабочей точки).

[3]

Определение рабочей точки и функции пропускания для одного модулятора основано на подаче калибровочного электрического сигнала заранее известной (например, пилообразной) формы на электрический сигнальный вход модулятора непосредственно перед подачей на тот же вход передаваемого информационного электрического сигнала, при этом амплитуда калибровочного электрического сигнала должна быть равна или превышать амплитуду передаваемого информационного электрического сигнала. По изменению оптического сигнала после модулятора, вызванному воздействием калибровочного электрического сигнала, точно определяются рабочая точка и функция пропускания модулятора, а по полученным значениям рабочей точки и функции пропускания производится точное восстановление передаваемого информационного электрического сигнала. Метод также применим при многоканальной (N>1) (многоранговой) передаче сигнала, при этом определение рабочей точки и функции пропускания модулятора для каждого канала передачи производится аналогичным способом.

[4]

Известен способ задания и контроля рабочей точки при помощи специализированного устройства - контроллера рабочей точки и дополнительного источника оптического излучения, описанный в работе Limin Ji «A Novel Electro-Optic Measurement System using Multiple Wavelengths» Submitted in Partial Fulfillment of the Requirement for the Degree Doctor of Philosophy, University of Rochester Rochester, New York 2011 (www.oruturescholar.com//paperpage?docid=574429), где для настройки и стабилизации рабочей точки модулятора используется излучение одного лазерного диода и контроллер рабочей точки, а для передачи информационного сигнала используется излучение лазерного диода с другой длиной волны. Для разделения излучений диодов используются WDM-разветвители. Для восстановления сигнала используется заранее определенная функция пропускания модулятора.

[5]

Недостатком этого способа является необходимость использования двух источников оптического излучения (лазерных диодов), WDM-разветвителей и контроллера рабочей точки, что увеличивает стоимость системы передачи.

[6]

Известен способ задания и контроля рабочей точки модулятора при помощи контроллера рабочей точки без использования дополнительного источника оптического излучения, описанный в работе W.R. Donaldson et al., «A single-shot, multiwavelength electro-optic data-acquisition system for inertial confinement fusion applications (invited)», Rev. Sci. Instrum. 83, 10D726 (2012), где для настройки и стабилизации рабочей точки модулятора и передачи информационного сигнала используется излучение одного и того же лазерного диода. Из непрерывного излучения лазерного диода при помощи акустооптического модулятора вырезаются три прямоугольных импульса, первый используется для настройки рабочей точки модулятора интенсивности, далее напряжение на электродах смещения фиксируется, затем подается второй оптический импульс, на котором производится передача информационного сигнала, затем подается третий оптический импульс, на котором производится проверка положения рабочей точки. Для восстановления сигнала также используется заранее определенная функция пропускания модулятора интенсивности.

[7]

Недостатками данного способа являются необходимость внесения изменений в схему контроллера рабочей точки для фиксации напряжения на электродах сдвига модулятора во время передачи информационного сигнала, необходимость формирования трех прямоугольных оптических импульсов для проведения процедур настройки рабочей точки модулятора и передачи информационного сигнала длительное время подготовки к передаче информационного сигнала, следствием чего являются усложнение процедуры передачи сигнала и увеличение стоимости системы передачи.

[8]

Наиболее близким техническим решением к предлагаемому (прототип) является способ, описанный в работе В.V. Beeman, et al., «Mach-Zehnder Detector System Issues and Enhancements for use on the NIF DANTE X-Ray Diagnostic», LLNL-CONF-657917, SPIE Optics + Photonics 2014 San Diego, CA, United States August 17, 2014 through August 20, 2014, где для настройки и контроля положения рабочей точки модулятора используется контроллер рабочей точки, подающий на электроды сдвига модулятора биполярное пилообразное напряжение и по оптическому отклику на выходе модулятора настраивающий положение рабочей точки модулятора и производящий периодический контроль положения рабочей точки.

[9]

При использовании контроллеров рабочей точки с использованием вспомогательной частоты (принцип dither) для настройки рабочей точки модулятора требуется продолжительное время. В прототипе для сокращения времени настройки на электроды сдвига модулятора подают пилообразный биполярный сигнал с амплитудой ~18 В для определения минимума и максимума пропускания модулятора (значение минимума и максимума оптической мощности на выходе модулятора). Далее происходит настройка рабочей точки модулятора и ее точная настройка. Подача пилообразного напряжения на электроды сдвига и последующая настройка рабочей точки модулятора занимают время порядка 3,5 с, после чего производится настройка регулируемого оптического ослабителя, который задает необходимый уровень оптической мощности после модулятора, но уже не влияет на напряжение смещения подаваемого на электроды сдвига. Циклы настройки модулятора повторяются каждые 5 с. По заданному положению рабочей точки и предварительно определенной функции пропускания модулятора производится восстановление информационного электрического сигнала по зарегистрированному оптическому сигналу после модулятора.

[10]

Недостатками этого прототипа является невозможность точного восстановления формы электрического сигнала по зарегистрированному аналоговому сигналу, передающемуся во ВОЛС с внешней модуляцией, без проведения процедур настройки и периодического контроля рабочей точки модулятора, а следовательно, без использования специализированных устройств (контроллеров рабочей точки) и без необходимости подачи постоянного оптического излучения на вход модулятора.

[11]

Техническим результатом, обеспечиваемым заявляемым изобретением, является возможность точного восстановления формы электрического сигнала по зарегистрированному аналоговому сигналу, передающемуся по ВОЛС с внешней модуляцией, без проведения процедур настройки и периодического контроля рабочей точки модулятора, а следовательно, без использования специализированных устройств (контроллеров рабочей точки) и без необходимости подачи постоянного оптического излучения на вход модулятора.

[12]

Технический результат достигается тем, что в способе восстановления электрического сигнала по оптическому аналогу при передаче по ВОЛС с использованием внешней модуляции излучения, заключающемся в том, что в каждом из N≥1 каналов системы передачи по ВОЛС производится внешняя модуляция излучения лазерного модуля, которое передается по входному одномодовому волокну, с помощью электрооптического модулятора интенсивности по схеме интерферометра Маха-Цандера, в каждом из N каналов системы передачи предварительно выставляют рабочую точку модулятора путем подачи постоянного напряжения на электроды сдвига модулятора от источника питания для подачи постоянного напряжения на электроды сдвига модулятора, далее функцию пропускания и рабочую точку каждого модулятора точно определяют непосредственно перед подачей на электрический сигнальный вход каждого модулятора передаваемого информационного электрического сигнала путем подачи на электрический сигнальный вход каждого модулятора калибровочного электрического сигнала заранее известной формы, амплитуда которого больше или равна предполагаемой амплитуде передаваемого информационного электрического сигнала, а затем в процессе обработки оптического сигнала, поступающего по выходному одномодовому волокну с оптического выхода модулятора, зарегистрированного приемником оптического излучения и оцифровщиком, по известной форме калибровочного электрического сигнала и по изменению оптического сигнала на выходе каждого модулятора, вызванному калибровочным электрическим сигналом, однозначно определяют функцию пропускания и рабочую точку каждого модулятора, после этого по известному изменению оптического сигнала на выходе каждого модулятора, вызванному приходом передаваемого информационного электрического сигнала, и полученной ранее функции пропускания каждого модулятора восстанавливают форму передаваемого информационного электрического сигнала.

[13]

Поскольку подача на электрический сигнальный вход модулятора калибровочного электрического сигнала, а значит определение рабочей точки и функции пропускания модулятора происходит непосредственно перед моментом прихода передаваемого информационного электрического сигнала, это в свою очередь позволяет пренебречь дрейфом рабочей точки модулятора за время между приходом калибровочного и передаваемого информационного электрических сигналов, а следовательно, дает возможность отказаться от использования специализированных устройств для постоянного контроля рабочей точки модулятора.

[14]

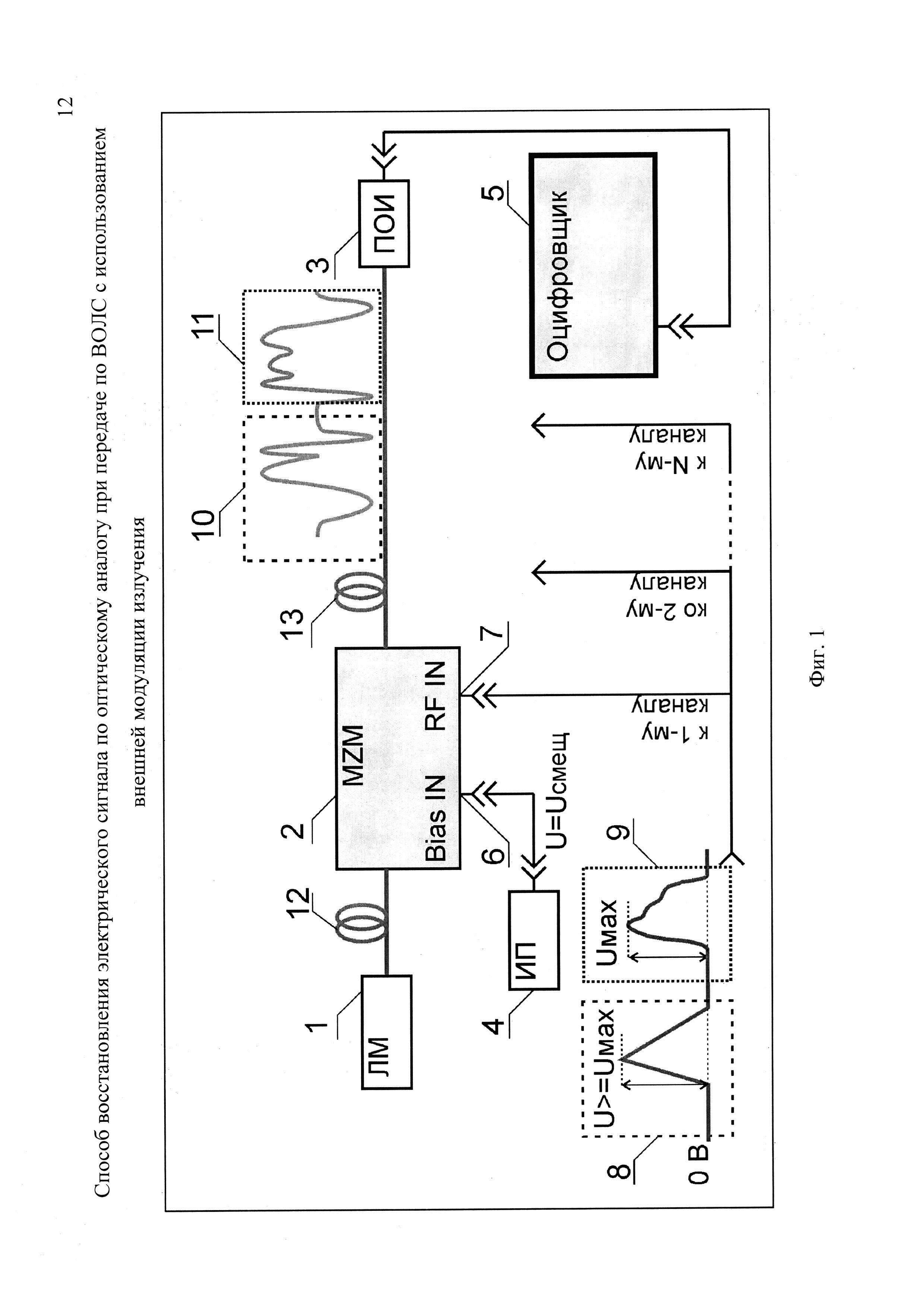
На фиг. 1 приведена схема одного канала ВОЛС с использованием электрооптических модуляторов интенсивности по схеме интерферометра Маха-Цандера, для реализации способа передачи и восстановления электрического сигнала по оптическому аналогу.

[15]

На фиг. 2 представлен пример осциллограммы электрического сигнала, поступающего на электрический сигнальный вход модулятора интенсивности по схеме интерферометра Маха-Цандера.

[16]

На фиг. 3 приведена осциллограмма оптического сигнала на выходе модулятора интенсивности по схеме интерферометра Маха-Цандера.

[17]

На представленных фиг. 1-3:

[18]

1 - лазерный модуль (источник излучения); 2 - электрооптический модулятор интенсивности по схеме интерферометра Маха-Цандера; 3 - приемник оптического излучения; 4 - источник питания для подачи постоянного напряжения на электроды сдвига модулятора; 5 - оцифровщик (например, цифровой осциллограф, при использовании в качестве приемника оптического излучения быстродействующего фотодиода, или ПЗС-регистратор при использовании в качестве приемника оптического излучения хронографического электронно-оптического преобразователя); 6 - электроды сдвига модулятора; 7 - электрический сигнальный вход модулятора; 8 - калибровочный электрический сигнал (например, пилообразной формы); 9 - передаваемый информационный электрический сигнал, 10 - изменение оптического сигнала на выходе модулятора, вызванное калибровочным электрическим сигналом, 11 - изменение оптического сигнала на выходе модулятора, вызванное приходом передаваемого информационного электрического сигнала, 12 - входное одномодовое волокно (например, волокно с сохранением поляризации); 13 - выходное одномодовое волокно.

[19]

Способ реализуется при помощи следующего устройства: лазерный модуль 1, оптический выход которого соединен через входное одномодовое волокно 12 с оптическим входом электрооптического модулятора 2 интенсивности по схеме интерферометра Маха-Цандера, оптический информационный выход модулятора 2 соединен через выходное одномодовое волокно 13 с оптическим входом приемника 3 оптического излучения, аналоговый выход которого соединен с аналоговым входом оцифровщика 5, источник питания 4 для подачи постоянного напряжения на электроды сдвига модулятора соединен с электродами сдвига 6 модулятора 2, калибровочный электрический сигнал 8 и передаваемый информационный электрический сигнал 9 поступают на электрический сигнальный вход 7 модулятора 2.

[20]

Излучение лазерного модуля 1 подают по входному одномодовому волокну 12 на оптический вход модулятора 2. Предварительно на модуляторе 2 выставляют рабочую точку путем подачи постоянного напряжения от источника питания 4 на электроды сдвига 6 модулятора 2. Электрический сигнал, состоящий из последовательности калибровочного 8 и передаваемого информационного 9 электрических сигналов, подают на электрический сигнальный вход 7 модулятора 2, после чего модулированный оптический сигнал с выхода модулятора 2 по выходному одномодовому волокну 13 передают на вход приемника 3 оптического излучения, сигнал приемника 3 оптического излучения регистрируют оцифровщиком 5. В оптическом излучении после модулятора 2 приемником 3 оптического излучения регистрируют последовательные изменения 10 и 11 оптического сигнала, вызванные калибровочным электрическим сигналом 8 и передаваемым информационным электрическим сигналом 9 соответственно.

[21]

По заранее известной форме калибровочного электрического сигнала 8 и изменению 10 оптического сигнала на выходе модулятора 2, вызванному подачей на электрический сигнальный вход 7 модулятора калибровочного электрического сигнала 8 в диапазоне от 0 до U В (под значением U В понимается амплитуда калибровочного электрического сигнала 8), определяют зависимость оптического сигнала на выходе модулятора 2 от величины напряжения, приложенного к электрическому сигнальному входу 7 в диапазоне от 0 до U В, а также рабочую точку, в которой находится модулятор 2 в данный момент времени. Амплитуда напряжения передаваемого информационного электрического сигнала 9 не должна превышать амплитуду калибровочного электрического сигнала 8. Время задержки прихода передаваемого информационного электрического сигнала 9 по отношению к калибровочному электрическому сигналу 8 не превышает длительности передаваемого информационного электрического сигнала 9, благодаря чему можно считать, что положение рабочей точки модулятора 2 не изменяется, а следовательно, модулятор 2 находится в том же рабочем состоянии. Таким образом, зная изменение 11 оптического сигнала после модулятора 2, вызванное приходом передаваемого информационного электрического сигнала 9, а также определив рабочую точку и функцию пропускания модулятора 2 при помощи калибровочного электрического сигнала 8, можно однозначно восстановить форму передаваемого информационного электрического сигнала 9.

[22]

Таким образом, достигается заявленный технический результат, а именно, возможность точного восстановления формы электрического сигнала по зарегистрированному аналоговому сигналу, передающемуся по ВОЛС с внешней модуляцией, без проведения процедур настройки и периодического контроля рабочей точки модулятора, а следовательно, без использования специализированных устройств (контроллеров рабочей точки) и без необходимости подачи постоянного оптического излучения на вход модулятора.

[23]

При регистрации на фотоприемник в качестве лазерного модуля 1 может быть использован лазерный диод типа WDM8-C-16A-20-NM фирмы Thorlabs, установленный в шасси PRO800 фирмы Thorlabs, в качестве электрооптического модулятора 2 интенсивности по схеме интерферометра Маха-Цандера может быть использован электрооптический модулятор интенсивности по схеме интерферометра Маха-Цандера LN56S фирмы Thorlabs, в качестве приемника 3 оптического излучения - фотодиод DET01CFC фирмы Thorlabs, в качестве источника питания 4 для подачи постоянного напряжения на электроды сдвига модулятора может быть использован источник питания ΑΤΗ-1023 фирмы Aktakom, в качестве оцифровщика 5 может быть использован цифровой осциллограф LeCroy Waverunner 640 Zi, в качестве входного одномодового волокна 12 и выходного одномодового волокна 13 могут быть использованы оптические волокна РМ1550-ХР фирмы Thorlabs (входное одномодовое волокно 12 может быть с сохранением поляризации и без сохранения поляризации, выходное одномодовое волокно 13 может быть с сохранением поляризации и без сохранения поляризации).

[24]

При регистрации на хронографический ЭОР в качестве лазерного модуля 1 может быть использован лазерный диод типа PH852DBR120BF фирмы Photodigm, установленный в контроллер температуры и тока ЕМ595 фирмы Gooch&Housego, в качестве электрооптического модулятора 2 интенсивности по схеме интерферометра Маха-Цандера может быть использован электрооптический модулятор интенсивности по схеме интерферометра Маха-Цандера NIR-MX800 фирмы Photline, в качестве приемника 3 оптического излучения - регистратор хронографический электронно-оптический СФЭР6 производства ФГУП НИИИТ, в качестве источника питания 4 для подачи постоянного напряжения на электроды сдвига модулятора может быть использован источник питания ΑΤΗ-1023 фирмы Aktakom, в качестве оцифровщика 5 может быть использован регистратор СПМ20 производства ФГУП НИИИТ, в качестве входного одномодового волокна 12 и выходного одномодового волокна 13 могут быть использованы оптические волокна РМ780-НР фирмы Thorlabs (входное одномодовое волокно 12 может быть с сохранением поляризации и без сохранения поляризации, выходное одномодовое волокно 13 может быть с сохранением поляризации и без сохранения поляризации).

Как компенсировать расходы
на инновационную разработку
Похожие патенты