патент
№ RU 2409709
МПК C30B28/14

ПОДВЕСКА-ТОКОПОДВОД ДЛЯ СТЕРЖНЕВЫХ ПОДЛОЖЕК

Авторы:
Кутаков Виктор Васильевич
Номер заявки
2008147493/05
Дата подачи заявки
01.12.2008
Опубликовано
20.01.2011
Страна
RU
Как управлять
интеллектуальной собственностью
Чертежи 
6
Реферат

Изобретение относится к получению полупроводниковых материалов, преимущественно поликристаллического кремния, путем осаждения из газовой фазы на подогреваемые подложки и может быть использовано в реакторах с резистивным подогревом стержневых подложек и с верхним токоподводом. Подвеска-токоподвод для стержневых подложек включает обойму 1 с гнездом 2 в виде сужающегося книзу канала с вертикальной стенкой 4 и вкладыш 3 с вертикальной стенкой 6, противолежащей стенке 4 гнезда, пространство между которыми является рабочим зевом клинового зажимного механизма, образованного обоймой и вкладышем. Жесткость конструкции подвески и возможность в клиновом зажимном механизме получить большое удерживающее усилие при равномерном прижиме по всей поверхности контакта зажимаемой стержневой подложки с подвеской позволяет увеличить грузоподъемность подвески. Кроме того, ввиду того что канал гнезда суживается книзу, под действием увеличивающегося веса наращиваемого стержня в клиновом зажимном механизме пропорционально увеличивается удерживающее усилие. Равномерное поджатие по всей длине контактных поверхностей обеспечивает надежный электрический контакт. 12 з.п. ф-лы, 7 ил.

Формула изобретения

1. Подвеска-токоподвод для стержневых подложек, состоящая из обоймы с гнездом и хотя бы одного зажимного элемента, входящего в гнездо обоймы с образованием зажимного механизма, и содержащая вертикальные поверхности, приспособленные для контактирования с закрепляемой стержневой подложкой, отличающаяся тем, что гнездо выполнено в виде сужающегося книзу канала, а зажимной элемент выполнен в виде вкладыша, образующего с гнездом клиновой зажимной механизм.

2. Подвеска-токоподвод по п.1, отличающаяся тем, что вертикальные поверхности вкладыша и/или гнезда выполнены в виде проточек по форме закрепляемой стержневой подложки.

3. Подвеска-токоподвод по п.1, отличающаяся тем, что вкладыш выполнен выступающим за нижний край гнезда, а обойма снабжена выступом, симметричным выступающей части вкладыша.

4. Подвеска-токоподвод по п.1, отличающаяся тем, что гнездо ее обоймы выполнено симметричным относительно его срединной плоскости, и она снабжена вторым вкладышем, симметричным первому относительно этой плоскости.

5. Подвеска-токоподвод по п.4, отличающаяся тем, что вкладыши выполнены выступающими за нижний край гнезда.

6. Подвеска-токоподвод по п.5, отличающаяся тем, что она снабжена экраном, установленным на выступающих частях вкладышей у торца обоймы посредством отверстия, выполненного по форме этих частей.

7. Подвеска-токоподвод по п.5, отличающаяся тем, что в обойме выполнена прорезь с возможностью вхождения в нее вкладышей с установленной между ними стержневой подложкой.

8. Подвеска-токоподвод по п.1 или 4, отличающаяся тем, что гнездо и контактирующие с ним поверхности вкладыша оформлены боковыми гранями пирамиды.

9. Подвеска-токоподвод по п.8, отличающаяся тем, что контактирующие с гнездом поверхности вкладыша оформлены двумя боковыми гранями пирамиды.

10. Подвеска-токоподвод по п.4, отличающаяся тем, что гнездо и контактирующие с ним поверхности вкладыша выполнены коническими.

11. Подвеска-токоподвод по п.8, отличающаяся тем, что стенки гнезда наклонены к вертикали под углом, не превышающим угол трения пары обойма - вкладыш.

12. Подвеска-токоподвод по п.10, отличающаяся тем, что стенки гнезда наклонены к вертикали под углом, не превышающим угол трения пары обойма - вкладыш.

13. Подвеска-токоподвод по п.11 или 12, отличающаяся тем, что в обойме выполнено отверстие с возможностью доступа к верхним торцам вкладышей.

Описание

[1]

Изобретение относится к получению полупроводниковых материалов, преимущественно поликристаллического кремния, путем осаждения из газовой фазы на подогреваемые стержневые подложки и может быть использовано в реакторах с резистивным подогревом стержневых подложек и с верхним токоподводом.

[2]

Известна подвеска-токоподвод, используемая при изготовлении плат микросборок, содержащая два Г-образных токоподвода, соединенных между собой фиксатором в виде кольца из вакуумной резины, SU 1770462 А1, 23/10/1992. Данная конструкция предназначена для удержания плоских плат небольшого веса. Такое конструктивное решение не пригодно для выращивания стержней, например поликристаллического кремния, особенно стержней большой массы.

[3]

Известна используемая в реакторах с верхним токоподводом подвеска-токоподвод, состоящая из обоймы с гнездом, зажимного элемента, входящего в гнездо обоймы с образованием зажимного механизма, и содержащая вертикальные поверхности, приспособленные для контактирования с закрепляемой стержневой подложкой. В обойме выполнен фигурный паз, образующий ложе для установки стержневой подложки. Зажим осуществляется посредством резьбового соединения (JP 2007261855 (А), дата публикации 2007-10-11, М.кл. C30B 15/32). Это конструктивное решение наиболее близко к предлагаемому.

[4]

Такая подвеска-токоподвод недостаточно надежна, особенно для выращивания стержней большого веса, т.к. удерживающее усилие зависит только от усилия поджатия закрепляемой стержневой подложки зажимным механизмом, точности изготовления закрепляемого конца стержневой подложки и не зависит от веса выращиваемого стержня поликристаллического кремния.

[5]

Другим недостатком этой подвески-токоподвода является невозможность обеспечить надежный электрический контакт между зажимным элементом и обоймой и между зажимным элементом и закрепляемой стержневой подложкой, что при пропускании больших токов, необходимых при получении стержней большого диаметра, влечет за собой перегрев контактных поверхностей, искрение и, как результат, загрязнение реакционной зоны.

[6]

Техническим результатом, на достижение которого направлено предлагаемое изобретение, является увеличение грузоподъемности подвески-токоподвода при обеспечении пропорциональности удерживающего усилия весу растущего стержня.

[7]

Другим техническим результатом, достигаемым изобретением, является обеспечение надежного электрического контакта большой площади как между обоймой и зажимным элементом, так и между зажимным элементом и закрепляемой стержневой подложкой.

[8]

Эти результаты достигаются за счет того, что в подвеске-токоподводе для стержневых подложек, состоящей из обоймы с гнездом и хотя бы одного зажимного элемента, входящего в гнездо обоймы с образованием зажимного механизма, и содержащей вертикальные поверхности, приспособленные для контактирования с закрепляемой стержневой подложкой, в отличие от известной, гнездо выполнено в виде сужающегося книзу канала, а зажимной элемент выполнен в виде вкладыша, образующего с гнездом клиновой зажимной механизм.

[9]

Жесткость конструкции подвески и возможность в клиновом зажимном механизме получить большое удерживающее усилие при равномерном прижиме по всей поверхности контакта зажимаемой стержневой подложки с подвеской позволяет увеличить грузоподъемность подвески. Кроме того, ввиду того что канал гнезда суживается книзу, под действием увеличивающегося веса наращиваемого стержня в клиновом зажимном механизме пропорционально увеличивается удерживающее усилие.

[10]

Равномерное поджатие по всей длине контактных поверхностей обеспечивает надежный электрический контакт. Кроме того, возрастающее под действием увеличивающегося веса наращиваемого стержня поджатие контактных поверхностей снижает переходные сопротивления, что, учитывая возрастание тока подогрева по мере увеличения поперечного сечения наращиваемого стержня, существенно снижает потери.

[11]

При закреплении стержневой подложки прямоугольного профиля контактные поверхности подвески-токоподвода из соображения технологичности могут быть выполнены плоскими. Для увеличения площади контакта они могут быть выполнены в виде проточек по форме закрепляемой стержневой подложки. При этом в зависимости от профиля сечения закрепляемой стержневой подложки и необходимой площади контакта они могут быть выполнены во вкладыше, в стенке гнезда или там и там.

[12]

Подвеска-токоподвод может быть выполнена с одним вкладышем. Такая конструкция удобна при введении закрепляемой стержневой подложки снизу.

[13]

Для обеспечения большей симметрии температурного поля и из других соображений, приведенных ниже, гнездо обоймы подвески-токоподвода может быть выполнено симметричным относительно его срединной плоскости, и она снабжена вторым вкладышем, симметричным первому относительно этой плоскости.

[14]

Для обеспечения большей надежности связи наращиваемого стержня с подвеской-токоподводом за счет осаждения кремния на нижнюю часть подвески вкладыши могут быть выполнены выступающими за нижний край гнезда, а в конструктивном исполнении с одним вкладышем для обеспечения симметрии температурного поля и обойма должна быть снабжена выступом, симметричным выступающей части вкладыша. Из-за удаленности от охлаждаемого токоподвода реактора, на котором установлена подвеска-токоподвод, меньшего сечения и, следовательно, большей плотности проходящего тока подогрева, концы выступающих частей разогреваются до температуры, обеспечивающей осаждение на них кремния, и растущий стержень надежно связывается с подвеской, причем прочность этой связи увеличивается по мере наращивания. Кроме создания зоны с повышенной температурой, что достигается и при небольшой длине выступающих частей, удлинением последних можно отодвинуть эту зону от торца обоймы для исключения возможности осаждения кремния на торец обоймы и ее сращивания с вкладышами осаждающимся кремнием. В этом случае предпочтительно конструктивное исполнение с двумя вкладышами, т.к. позволяет многократное использование обоймы, в то время как конструкция с одним вкладышем одноразовая. Оптимальная длина выступающих частей определяется конструктивными особенностями подвески-токоподвода и режимами проведения процесса. Очевидно, что при большей длине легче получить температурное поле, исключающее возможность осаждения кремния на торец обоймы и затруднений при отделении выращенного стержня от подвески-токоподвода, но нельзя без увеличения габаритов обеспечить достаточную прочность и надежный равномерный прижим по всей длине контактной зоны, кроме того, увеличиваются отходы кремния.

[15]

При конструктивном исполнении с двумя вкладышами для гарантированного предотвращения осаждения кремния на торец обоймы подвеска-токоподвод может быть снабжена экраном, установленным на выступающих частях вкладышей у торца обоймы. В простейшем случае это пластина с отверстием по форме этих частей.

[16]

Для обеспечения возможности закрепления стержневой подложки с боковым введением, в обойме может быть на глубину гнезда выполнена прорезь с возможностью вхождения в нее вкладышей с установленной между ними закрепляемой стержневой подложкой.

[17]

Сужающееся книзу гнездо и контактирующие с ним поверхности вкладыша могут быть оформлены любыми подходящими поверхностями, обеспечивающими надежный электрический контакт достаточной площади и образование клинового зажимного механизма. Например, они могут быть оформлены гранями трехгранной прямоугольной призмы с вертикальными основаниями, но при этом надежный контакт обеспечивался бы только по одной плоскости вкладыша. Надежный контакт по всем контактным поверхностям обеспечивается, когда гнездо и контактирующие с ним поверхности вкладыша оформлены боковыми гранями пирамиды. При оформлении контактирующих с гнездом поверхностей вкладыша двумя боковыми гранями пирамиды и достаточной точности соответствия углов между гранями вкладыша и гнезда надежность контакта не зависит от вертикальных смещений вкладыша и не требуется высокой точности других размеров деталей подвески и точной обработки закрепляемого конца стержневой подложки.

[18]

Более технологична конструкция подвески-токоподвода, гнездо и контактирующие с гнездом поверхности вкладышей которой выполнены коническими, но для обеспечения надежного электрического контакта она требует высокой точности изготовления деталей подвески-токоподвода и точной обработки закрепляемого конца стержневой подложки.

[19]

Увеличение удерживающего усилия в клиновом зажимном механизме под действием увеличивающегося веса наращиваемого стержня обеспечивается, если обеспечить достаточно надежное сцепление закрепляемого конца стержневой подложки с вкладышем, например за счет нарезки на нем зубьев выполнения поднутрения на длину вкладыша или формования шляпки на конце стержневой подложки его оплавлением, при наклоне стенок гнезда под углом к горизонтали, превышающим угол трения пары обойма-вкладыш.

[20]

Более надежным будет закрепление при наклоне стенок гнезда к вертикали под углом, не превышающим угол трения пары обойма-вкладыш, когда клиновой зажимной механизм становится самотормозящимся. Это позволяет путем поджатия вкладышей задать начальное удерживающее усилие и обеспечить надежный контакт до сращивания растущего стержня с подвеской.

[21]

Для доступа к верхним торцам вкладышей в обойме напротив донной части гнезда может быть выполнено горизонтальное отверстие. Такой доступ удобен для предварительного поджатия вкладышей.

[22]

Описание предлагаемой подвески-токоподвода иллюстрируется чертежами, где:

[23]

на фиг.1 - вариант подвески-токоподвода с одним вкладышем в разрезе по оси закрепляемой стержневой подложки;

[24]

на фиг.2 - разрез по А-А фиг.1 (вариант с призматическим вкладышем);

[25]

на фиг.3 - разрез по Б-Б фиг.1 (вариант с призматическим вкладышем);

[26]

на фиг.4 - вариант подвески-токоподвода с двумя вкладышами в разрезе по оси закрепляемой стержневой подложки;

[27]

на фиг.5 - разрез по В-В фиг.3 (варианты);

[28]

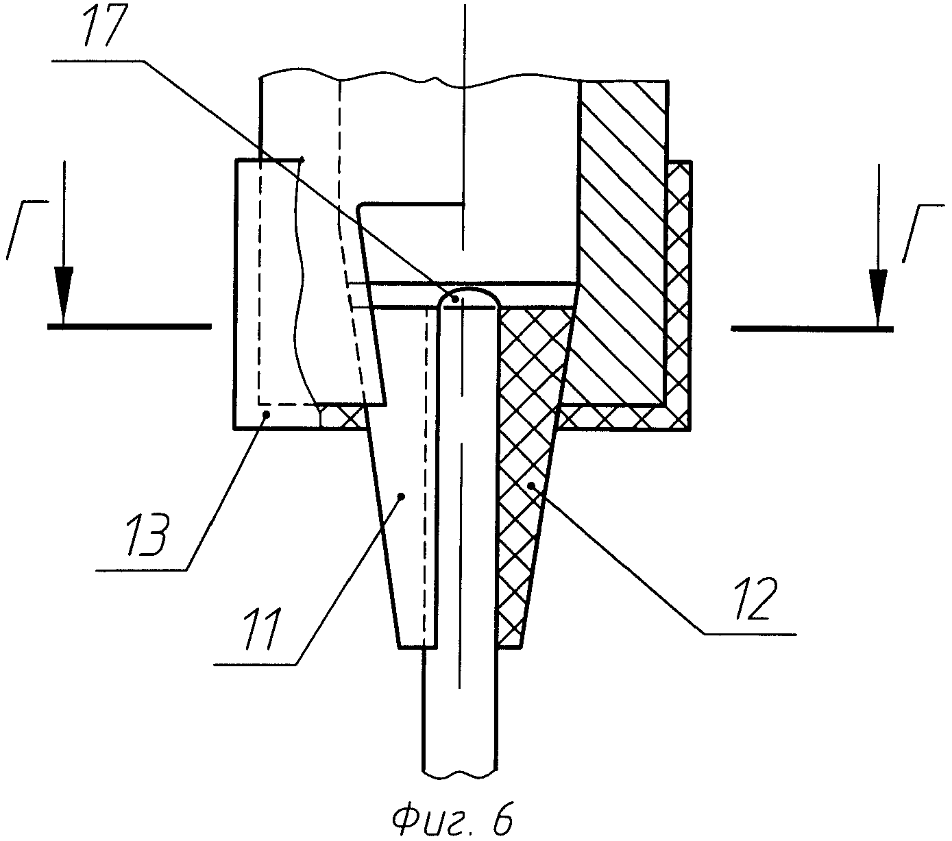
на фиг.6 - вариант подвески-токоподвода с боковой прорезью в обойме;

[29]

на фиг.7 - разрез по Г-Г фиг.6.

[30]

Подвеска-токоподвод содержит обойму 1 с гнездом 2 в виде сужающегося книзу канала. Обойма может быть выполнена как оконечная часть охлаждаемого токоподвода реактора или прикрепляться к нему посредством резьбового гнезда или накидной гайки (не показаны). В конструктивном исполнении с входящим в гнездо одним вкладышем 3 (фиг.1) гнездо асимметрично, хотя бы одна его стенка 4 вертикальна, а противолежащая стенка (или противолежащие стенки) 5 наклонена к вертикали. Вертикальна также стенка 6 вкладыша, противолежащая стенке 4 гнезда, и пространство между ними является рабочим зевом клинового зажимного механизма, образованного обоймой и вкладышем. Остальные стенки вкладыша наклонены под углами, равными углам наклона контактирующих с ними стенок гнезда. Форма гнезда и вкладыша определяется в основном формой закрепляемой стержневой подложки. Так для стержневой подложки прямоугольной (пластинчатой) формы, когда можно обеспечить достаточную площадь электрического контакта по двум граням, гнездо и вкладыш могут быть оформлены гранями трехгранной прямоугольной призмы с вертикальными основаниями (фиг.3б). Для наиболее часто применяемых стержневых подложек круглого или квадратного сечения, вертикальные поверхности вкладыша и гнезда, контактирующие с закрепляемой стержневой подложкой, для обеспечения достаточной площади электрического контакта и устойчивого положения стержневой подложки, целесообразно выполнить в виде проточек 7 и 8 по форме закрепляемой стержневой подложки в стенках 4 и 6 гнезда и вкладыша соответственно (или хотя бы в одной из них), а гнездо и контактирующие с ним поверхности вкладыша оформить боковыми гранями пирамиды (фиг.3а, в), предпочтительно двумя, т.к. при этом обеспечивается надежность контакта независимо от вертикальных смещений вкладыша. Для формирования нужного температурного поля вкладыш выполнен выступающим за нижний край гнезда, а обойма снабжена выступом 9, симметричным выступающей части вкладыша. Для обеспечения возможности создания начального удерживающего усилия при подвешивании стержневой подложки с гладкими концами сдвигом вкладыша вниз в подвеске контактирующие грани гнезда и вкладыша наклонены к вертикали под углом, не превышающим угол трения этой пары, что обеспечивает самоторможение в ней, а для доступа к верхнему торцу вкладыша в обойме выполнено отверстие 10.

[31]

В конструктивном исполнении с двумя вкладышами (фиг.4) гнездо обоймы выполнено симметричным относительно его срединной плоскости о-о. Вкладыши 11 и 12 также выполнены симметричными относительно этой плоскости. Контактные поверхности деталей подвески оформляются подобно описанному выше варианту (фиг.5). Вкладыши так же выполнены выступающими за нижний край гнезда. На выступающих частях вкладышей, для гарантированного предотвращения осаждения кремния на торец обоймы, может быть установлен экран 13 с отверстием 14 по форме сечения вкладышей в месте установки.

[32]

В конструктивном варианте, приспособленном для введения закрепляемой стержневой подложки снизу, в обойме выполнено отверстие 15 для доступа к верхним торцам вкладышей.

[33]

В конструктивном варианте, приспособленном для закрепления стержневой подложки с боковым введением, в обойме на глубину гнезда выполнена прорезь 16 (фиг.6 и 7). Стенки прорези целесообразно выполнить параллельными стенкам гнезда в его наиболее широкой части. Ширина прорези и глубина гнезда должны обеспечивать свободное вхождение вкладышей с установленной между ними закрепляемой стержневой подложкой в положении, приподнятом относительно рабочего.

[34]

Подвеска-токоподвод используется и работает следующим образом.

[35]

При конструктивном исполнении с одним вкладышем конец закрепляемой стержневой подложки, сдвигая вкладыш 3 вверх, вводят в зев клинового зажимного механизма между стенками 4 и 6, а при наличии проточек 7 и 8 - в образованное ими ложе, сдвигая вкладыш вниз, фиксируют положение стержневой подложки. Через отверстие 10 подходящим инструментом поджимают вкладыш, создавая начальное удерживающее усилие клинового зажимного механизма.

[36]

При конструктивном исполнении с двумя вкладышами, приспособленном для введения закрепляемой стержневой подложки снизу, конец закрепляемой стержневой подложки вводят в отверстие 14 экрана 13 (если он устанавливается), сдвигая вкладыши 11 и 12 вверх, вводят в зев клинового зажимного механизма между вкладышами, сдвигая вкладыши вниз, фиксируют положение стержневой подложки. Через отверстие 15 поджимают вкладыши для создания начального удерживающего усилия и устанавливают экран на выступающие концы вкладышей.

[37]

При конструктивном исполнении с двумя вкладышами, приспособленном для закрепления стержневой подложки с боковым введением, конец стержневой подложки охватывают вкладышами, удерживая рукой или специальным зажимом, вводят сборку через прорезь 16 в гнездо и, осаживая вниз, фиксируют положение стержневой подложки. Через прорезь поджимают вкладыши для создания начального удерживающего усилия.

[38]

При прохождении через подвеску тока подогрева она нагревается и одновременно охлаждается со стороны охлаждаемого токоподвода реактора, создается градиент температуры. Из-за удаленности от зоны охлаждения, меньшего сечения и большей плотности проходящего тока подогрева концы выступающих частей подвески-токоподвода разогреваются до температуры, обеспечивающей осаждение на них кремния, и растущий стержень надежно связывается с подвеской-токоподводом, причем прочность этой связи увеличивается по мере наращивания. Под действием возрастающего веса растущего стержня увеличивается удерживающее усилие клинового зажимного механизма.

[39]

Экран 13 препятствует конвективному переносу свежей реагирующей газовой смеси из рабочей зоны реактора к нижнему торцу обоймы, способствует дополнительному теплоотводу, поэтому надежно предотвращается сращивание вкладышей с обоймой осаждающимся кремнием.

[40]

По окончании процесса выращенные стержни поликристаллического кремния отламывают вместе со срощенными с ними частями подвески. При этом в конструктивном исполнении с двумя вкладышами обойма остается ненарушенной и может использоваться повторно.

Как компенсировать расходы
на инновационную разработку
Похожие патенты