Устройство относится к радиоприемной технике и может быть использовано в области радиопеленгации, радионавигации и радиомониторинга. Устройство дополнительно к известному решению содержит четвертый симметрирующий трансформатор, четвертый разъем, четвертые экранированные линии связи, приемную рамочную магнитную антенну, состоящую из четырех плоских идентичных секций многовитковой экранированной катушки с кольцевой щелью в экране каждой плоской секции. Плоские идентичные секции многовитковой экранированной катушки расположены аксиально симметрично в одной плоскости вокруг центральной оси устройства. Каждая плоская секция многовитковой экранированной катушки расположена над соответствующим плоским сегментом верхнего металлического электрода приемной электрической антенны. Витки каждой секции и все плоские секции многовитковой экранированной катушки последовательно электрически соединены между собой, образуя обмотку приемной рамочной магнитной антенны. Приемная рамочная магнитная антенна отделена от верхнего металлического электрода приемной электрической антенны плоской диэлектрической прокладкой с центральным отверстием. К обмотке приемной рамочной магнитной антенны подключены жилы четвертых экранированных линий, электрически связывающих эту обмотку с дифференциальным входом четвертого симметрирующего трансформатора, выход которого электрически соединен с четвертым разъемом. Четвертые экранированные линии связи проложены вдоль поверхности электрического экрана нижней приемной магнитной антенны на стержневом ферритовом сердечнике, торцевых элементов антенного снижения и металлического основания симметрично относительно центрального сечения сердечника нижней приемной магнитной антенны, и экранирующие оболочки четвертых экранированных линий связи электрически соединены с электрическим экраном многовитковой экранированной катушки приемной рамочной магнитной антенны, электрическим экраном нижней приемной магнитной антенны на стержневом ферритовом сердечнике, торцевыми элементами антенного снижения и металлическим основанием. Технический результат заключается в возможности осуществления пеленга по углу места совместно с пеленгом по азимутальному углу для определения местоположения приподнятых источников электромагнитно излучения. 3 ил.
Компактное широкополосное четырехкомпонентное приемное антенное устройство, содержащее металлическое основание, на котором размещены две взаимно ортогональные приемные магнитные антенны на стержневых ферритовых сердечниках, расположенные крестообразно, с обмотками на каждом из сердечников, расположенными симметрично относительно центральных сечений сердечников, первый и второй симметрирующие трансформаторы, первый и второй разъемы, дифференциальные выводы обмоток электрически соединены с дифференциальными входами соответствующих симметрирующих трансформаторов, а выходы первого и второго симметрирующих трансформаторов электрически соединены с соответствующими разъемами, электрические экраны приемных магнитных антенн с продольными щелями, первые и вторые экранированные линии связи, торцевые элементы антенного снижения, приемные магнитные антенны смещены относительно друг друга по вертикали, расположены над металлическим основанием, плоскость которого параллельна продольным осям приемных магнитных антенн, обмотки каждой из приемных магнитных антенн помещены в собственный электрический экран с продольной щелью, в месте пересечения антенн электрические экраны верхней и нижней приемных магнитных антенн электрически соединяются между собой, при этом продольная щель экрана верхней приемной магнитной антенны обращена вверх, продольная щель экрана нижней приемной магнитной антенны обращена вниз, к торцевым краям экрана нижней приемной магнитной антенны симметрично электрически подсоединены электропроводящие конструктивно идентичные торцевые элементы антенного снижения, замыкающие электрические экраны на металлическое основание, а первые и вторые экранированные линии связи между дифференциальными выходами приемных магнитных антенн и дифференциальными входами симметрирующих трансформаторов проложены вдоль поверхностей экрана нижней приемной магнитной антенны, торцевых элементов антенного снижения и металлического основания симметрично относительно центрального сечения сердечника нижней приемной магнитной антенны, и экранирующие оболочки первых и вторых экранированных линий связи электрически соединены с экраном нижней приемной магнитной антенны, торцевыми элементами антенного снижения и металлическим основанием, третий симметрирующий трансформатор, третий разъем, третьи экранированные линии связи, верхний и нижний металлические электроды, состоящие из четырех плоских сегментов, проекции четырех плоских сегментов на металлическое основание не выходят за его пределы, четыре плоских сегмента аксиально симметрично расположены в одной плоскости вокруг центральной оси устройства и электрически соединены между собой в общей точке, лежащей на центральной оси устройства, причем плоскость верхнего электрода расположена над верхней приемной магнитной антенной, а плоскость нижнего электрода расположена под нижней приемной магнитной антенной, и оба электрода образуют приемную электрическую антенну конденсаторного типа, к общим точкам каждого электрода которой подключены жилы третьих экранированных линий связи, электрически связывающих электроды с дифференциальным входом третьего симметрирующего трансформатора, выход которого электрически соединен с третьим разъемом, проложенных вдоль поверхности экрана нижней приемной магнитной антенны, торцевых элементов антенного снижения и металлического основания симметрично относительно центрального сечения сердечника нижней приемной магнитной антенны, и экранирующие оболочки третьих экранированных линий приемной электрической антенны электрически соединены с экраном нижней приемной магнитной антенны, торцевыми элементами снижения и металлическим основанием, отличающееся тем, что дополнительно содержит четвертый симметрирующий трансформатор, четвертый разъем, четвертые экранированные линии связи, приемную рамочную магнитную антенну, состоящую из четырех плоских идентичных секций многовитковой экранированной катушки с кольцевой щелью в экране каждой плоской секции, плоские идентичные секции многовитковой экранированной катушки расположены аксиально симметрично в одной плоскости вокруг центральной оси устройства, причем каждая плоская секция многовитковой экранированной катушки расположена над соответствующим плоским сегментом верхнего металлического электрода приемной электрической антенны, витки каждой секции и все плоские секции многовитковой экранированной катушки последовательно электрически соединены между собой, образуя обмотку приемной рамочной магнитной антенны, приемная рамочная магнитная антенна отделена от верхнего металлического электрода приемной электрической антенны плоской диэлектрической прокладкой с центральным отверстием, к обмотке приемной рамочной магнитной антенны подключены жилы четвертых экранированных линий, электрически связывающих эту обмотку с дифференциальным входом четвертого симметрирующего трансформатора, выход которого электрически соединен с четвертым разъемом, четвертые экранированные линии связи проложены вдоль поверхности электрического экрана нижней приемной магнитной антенны на стержневом ферритовом сердечнике, торцевых элементов антенного снижения и металлического основания симметрично относительно центрального сечения сердечника нижней приемной магнитной антенны, и экранирующие оболочки четвертых экранированных линий связи электрически соединены с электрическим экраном многовитковой экранированной катушки приемной рамочной магнитной антенны, электрическим экраном нижней приемной магнитной антенны на стержневом ферритовом сердечнике, торцевыми элементами антенного снижения и металлическим основанием.
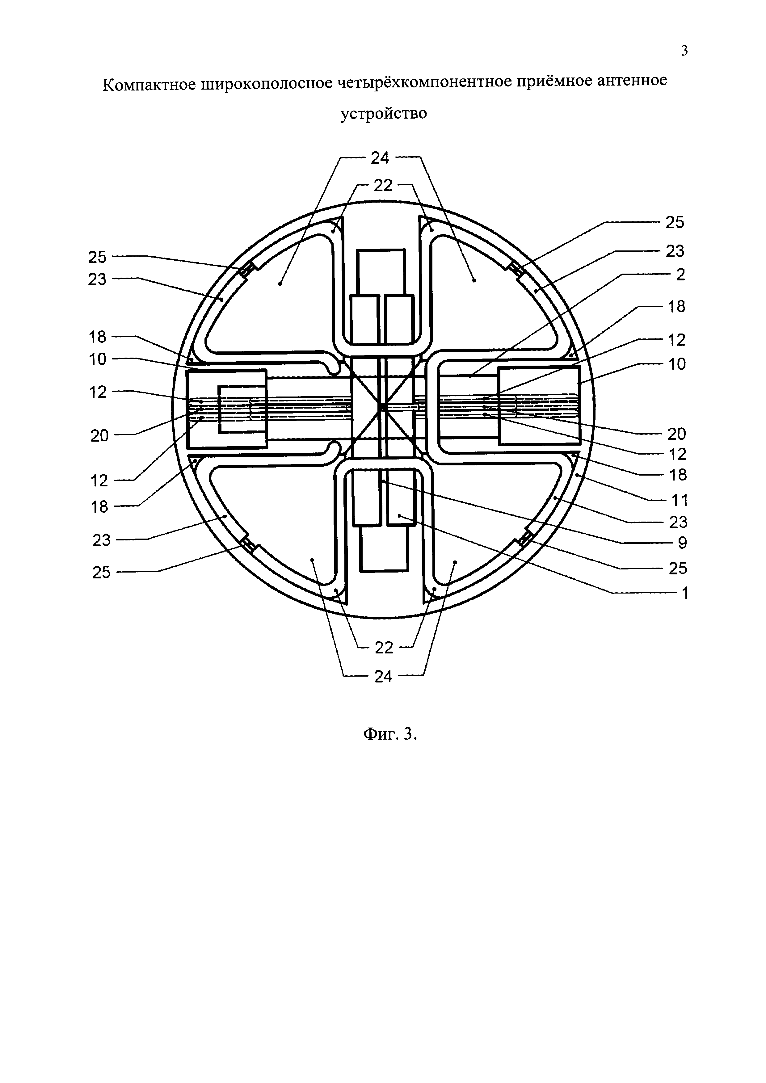
Устройство относится к радиоприемной технике и может быть использовано в области радиопеленгации, радионавигации и радиомониторинга. Выявление и анализ радиоизлучений для идентификации источников сигналов и помех, измерение параметров сигналов и помех, определение положения источников на местности являются важнейшими задачами современной радиотехники. При решении этих задач особенно высокие требования по чувствительности, широкополосности, погрешности пеленга и помехозащищенности предъявляют к антенным устройствам - первичным преобразователям электромагнитного поля. Известна сопряженная пеленгационная антенна диапазона 0,5-30 МГц [1], содержащая две взаимно ортогональные приемные магнитные антенны на стержневых ферритовых сердечниках, которые имеют профиль с углами, уменьшающими отражение радиолокационного излучения, и расположенных крестообразно, с обмотками на каждом из них, расположенными симметрично относительно центральных сечений сердечников, дифференциальные выходы которых соединены с дифференциальными входами симметрирующих трансформаторов, выходы которых соединены с разъемами, все указанные элементы защищены кожухом и размещены на металлическом основании, и с выхода разъемов с помощью кабелей принимаемые радиосигналы передаются на вход приемного электронного устройства. Симметрирование элементов устройства позволяет достаточно эффективно подавлять синфазную составляющую помехового сигнала от электрической составляющей электромагнитного поля. Недостатком этого аналога является слабая поляризационная развязка между взаимно ортогональными приемными антеннами и, как следствие, значительная ошибка определения пеленга. Реально достижимая поляризационная развязка в антенных устройствах с взаимно ортогональным крестообразным расположением приемных магнитных антенн, сочетающих в себе широкополосность и взаимную симметрию их элементов, не превышает 40 дБ на частотах около 100 кГц, 30 дБ - на частотах около 1 МГц и 21 дБ - на частотах около 10 МГц и выше. При требовании к точности пеленга в 1÷2 необходимо иметь развязку не менее 40 дБ. Известно также широкополосное двухкомпонентное приемное антенное устройство [2], содержащее металлическое основание, на котором размещены две взаимно ортогональные приемные антенны на стержневых ферритовых сердечниках, расположенных крестообразно, с обмотками на каждом из сечений сердечников, расположенными симметрично относительно центральных сечений сердечников, симметрирующие трансформаторы и разъемы, дифференциальные выходы обмоток соединены с дифференциальными входами трансформаторов, а выходы симметрирующих трансформаторов - с разъемами, с выходов которых принимаемые радиосигналы с помощью кабелей передаются на вход приемного электронного устройства, электрические экраны приемных антенн с продольными щелями, экранированные линии связи, торцевые элементы антенного снижения, приемные магнитные антенны смещены друг относительно друга по вертикали, расположены над металлическим основанием, плоскость которого параллельна продольным осям магнитных антенн, обмотки каждой из приемных магнитных антенн помещены в собственный электрический экран с продольной щелью, в месте пересечения антенн экраны верхней и нижней приемных магнитных антенн электрически соединяются между собой, при этом продольная щель экрана верхней приемной магнитной антенны обращена вверх, продольная щель экрана нижней приемной магнитной антенны обращена вниз, к торцевым краям экрана нижней приемной магнитной антенны симметрично подсоединены электропроводящие конструктивно идентичные торцевые элементы антенного снижения, замыкающие электрические экраны на металлическое основание, а экранированные линии связи между дифференциальными выходами приемных антенн и дифференциальными входами симметрирующих трансформаторов проложены вдоль поверхностей экрана нижней приемной магнитной антенны, торцевых элементов снижения и металлического основания симметрично относительно центрального сечения сердечника нижней приемной магнитной антенны, и экранирующие оболочки линий связи электрически соединены с экраном нижней приемной магнитной антенны, торцевыми элементами снижения и металлическим основанием. Использование предложенных в этом устройстве конструктивного и технического решений позволяет снизить влияние помехи на полезный сигнал, а также улучшить поляризационную развязку до значения не менее 40 дБ в диапазоне частот до 10 МГц. Недостатком этого устройства является двузначность определения пеленга (истинный пеленг и пеленг, отличающийся от истинного на 180°), связанная с отсутствием возможности привязки поляризаций взаимно ортогональных электрической и магнитной составляющих принимаемых электромагнитных сигналов. Наиболее близким по своей технической сущности (прототипом) является компактное широкополосное трехкомпонентное приемное антенное устройство [3], содержащее металлическое основание, на котором размещены две взаимно ортогональные приемные магнитные антенны на стержневых ферритовых сердечниках, расположенные крестообразно, с обмотками на каждом из сердечников, расположенными симметрично относительно центральных сечений сердечников, первый и второй симметрирующие трансформаторы, первый и второй разъемы, дифференциальные выводы обмоток электрически соединены с дифференциальными входами соответствующих симметрирующих трансформаторов, а выходы первого и второго симметрирующих трансформаторов электрически соединены с соответствующими разъемами, электрические экраны приемных магнитных антенн с продольными щелями, первые и вторые экранированные линии связи, торцевые элементы антенного снижения, приемные магнитные антенны смещены относительно друг друга по вертикали, расположены над металлическим основанием, плоскость которого параллельна продольным осям приемных магнитных антенн, обмотки каждой из приемных магнитных антенн помещены в собственный электрический экран с продольной щелью, в месте пересечения антенн экраны верхней и нижней приемных магнитных антенн электрически соединяются между собой, при этом продольная щель экрана верхней приемной магнитной антенны обращена вверх, продольная щель экрана нижней приемной магнитной антенны обращена вниз, к торцевым краям экрана нижней приемной магнитной антенны симметрично электрически подсоединены электропроводящие конструктивно идентичные торцевые элементы антенного снижения, замыкающие электрические экраны на металлическое основание, а первые и вторые экранированные линии связи между дифференциальными выходами приемных магнитных антенн и дифференциальными входами симметрирующих трансформаторов проложены вдоль поверхностей экрана нижней приемной магнитной антенны, торцевых элементов снижения и металлического основания симметрично относительно центрального сечения сердечника нижней приемной магнитной антенны, и экранирующие оболочки первых и вторых экранированных линий связи электрически соединены с экраном нижней приемной магнитной антенны, торцевыми элементами снижения и металлическим основанием, третий симметрирующий трансформатор, третий разъем, третьи экранированные линии связи, верхний и нижний металлические электроды, состоящие каждый из четырех плоских сегментов, проекции четырех плоских сегментов на металлическое основание не выходят за его пределы, четыре плоских сегмента аксиально симметрично расположены в одной плоскости вокруг центральной оси устройства и электрически соединены между собой в общей точке, лежащей на центральной оси устройства, причем плоскость верхнего электрода расположена над верхней приемной магнитной антенной, а плоскость нижнего электрода расположена под нижней приемной магнитной антенной, и оба электрода образуют приемную электрическую антенну конденсаторного типа, к общим точкам каждого электрода которой подключены жилы третьих экранированных линий, электрически связывающих электроды с дифференциальным входом третьего симметрирующего трансформатора, выход которого электрически соединен с третьим разъемом, проложенные вдоль поверхностей экрана нижней приемной магнитной антенны, торцевых элементов снижения и металлического основания симметрично относительно центрального сечения сердечника нижней приемной магнитной антенны, и экранирующие оболочки третьих экранированных линий связи приемной электрической антенны электрически соединены с экраном нижней приемной магнитной антенны, торцевыми элементами снижения и металлическим основанием. Недостатком прототипа является отсутствие возможности осуществлять пеленг по углу места совместно с пеленгом по азимутальному углу для определения местоположения приподнятых источников электромагнитного излучения. Техническим результатом изобретения является возможность осуществлять пеленг по углу места совместно с пеленгом по азимутальному углу для определения местоположения приподнятых источников электромагнитно излучения. Технический результат достигается тем, что компактное широкополосное четырехкомпонентное приемное антенное устройство, содержащее металлическое основание, на котором размещены две взаимно ортогональные приемные магнитные антенны на стержневых ферритовых сердечниках, расположенные крестообразно, с обмотками на каждом из сердечников, расположенными симметрично относительно центральных сечений сердечников, первый и второй симметрирующие трансформаторы, первый и второй разъемы, дифференциальные выводы обмоток электрически соединены с дифференциальными входами соответствующих симметрирующих трансформаторов, а выходы первого и второго симметрирующих трансформаторов электрически соединены с соответствующими разъемами, электрические экраны приемных магнитных антенн с продольными щелями, первые и вторые экранированные линии связи, торцевые элементы антенного снижения, приемные магнитные антенны смещены относительно друг друга по вертикали, расположены над металлическим основанием, плоскость которого параллельна продольным осям приемных магнитных антенн, обмотки каждой из приемных магнитных антенн помещены в собственный электрический экран с продольной щелью, в месте пересечения антенн электрические экраны верхней и нижней приемных магнитных антенн электрически соединяются между собой, при этом продольная щель экрана верхней приемной магнитной антенны обращена вверх, продольная щель экрана нижней приемной магнитной антенны обращена вниз, к торцевым краям экрана нижней приемной магнитной антенны симметрично электрически подсоединены электропроводящие конструктивно идентичные торцевые элементы антенного снижения, замыкающие электрические экраны на металлическое основание, а первые и вторые экранированные линии связи между дифференциальными выходами приемных магнитных антенн и дифференциальными входами симметрирующих трансформаторов проложены вдоль поверхностей экрана нижней приемной магнитной антенны, торцевых элементов антенного снижения и металлического основания симметрично относительно центрального сечения сердечника нижней приемной магнитной антенны, и экранирующие оболочки первых и вторых экранированных линий связи электрически соединены с экраном нижней приемной магнитной антенны, торцевыми элементами антенного снижения и металлическим основанием, третий симметрирующий трансформатор, третий разъем, третьи экранированные линии связи, верхний и нижний металлические электроды, состоящие из четырех плоских сегментов, проекции четырех плоских сегментов на металлическое основание не выходят за его пределы, четыре плоских сегмента аксиально симметрично расположены в одной плоскости вокруг центральной оси устройства и электрически соединены между собой в общей точке, лежащей на центральной оси устройства, причем плоскость верхнего электрода расположена над верхней приемной магнитной антенной, а плоскость нижнего электрода расположена под нижней приемной магнитной антенной, и оба электрода образуют приемную электрическую антенну конденсаторного типа, к общим точкам каждого электрода которой подключены жилы третьих экранированных линий связи, электрически связывающих электроды с дифференциальным входом третьего симметрирующего трансформатора, выход которого электрически соединен с третьим разъемом, проложенных вдоль поверхности экрана нижней приемной магнитной антенны, торцевых элементов антенного снижения и металлического основания симметрично относительно центрального сечения сердечника нижней приемной магнитной антенны, и экранирующие оболочки третьих экранированных линий приемной электрической антенны электрически соединены с экраном нижней приемной магнитной антенны, торцевыми элементами снижения и металлическим основанием, дополнительно содержит четвертый симметрирующий трансформатор, четвертый разъем, четвертые экранированные линии связи, приемную рамочную магнитную антенну, состоящую из четырех плоских идентичных секций многовитковой экранированной катушки с кольцевой щелью в экране каждой плоской секции, плоские идентичные секции многовитковой экранированной катушки расположены аксиально симметрично в одной плоскости вокруг центральной оси устройства, причем каждая плоская секция многовитковой экранированной катушки расположена над соответствующим плоским сегментом верхнего металлического электрода приемной электрической антенны, витки каждой секции и все плоские секции многовитковой экранированной катушки последовательно электрически соединены между собой, образуя обмотку приемной рамочной магнитной антенны, приемная рамочная магнитная антенна отделена от верхнего металлического электрода приемной электрической антенны плоской диэлектрической прокладкой с центральным отверстием, к обмотке приемной рамочной магнитной антенны подключены жилы четвертых экранированных линий, электрически связывающих эту обмотку с дифференциальным входом четвертого симметрирующего трансформатора, выход которого электрически соединен с четвертым разъемом, четвертые экранированные линии связи проложены вдоль поверхности электрического экрана нижней приемной магнитной антенны на стержневом ферритовом сердечнике, торцевых элементов антенного снижения и металлического основания симметрично относительно центрального сечения сердечника нижней приемной магнитной антенны, и экранирующие оболочки четвертых экранированных линий связи электрически соединены с электрическим экраном многовитковой экранированной катушки приемной рамочной магнитной антенны, электрическим экраном нижней приемной магнитной антенны на стержневом ферритовом сердечнике, торцевыми элементами антенного снижения и металлическим основанием. На фиг. 1-3 представлены три проекции общего вида на антенное устройство: вид спереди, вид сбоку и вид сверху соответственно. На чертежах приняты следующие обозначения: 1 - верхняя приемная магнитная антенна; 2 - нижняя приемная магнитная антенна; 3 - стержневой ферритовый сердечник верхней приемной магнитной антенны; 4 - стержневой ферритовый сердечник нижней приемной магнитной антенны; 5 - обмотка верхней приемной магнитной антенны; 6 - обмотка нижней приемной магнитной антенны; 7 - электрический экран верхней приемной магнитной антенны; 8 - электрический экран нижней приемной магнитной антенны; 9 - продольные щели в электрических экранах верхней и нижней приемных магнитных антенн; 10 - торцевые элементы антенного снижения; 11 - металлическое основание; 12 - первые и вторые экранированные линии связи; 13 - экранированный корпус симметрирующих трансформаторов; 14 - разъемы приемных магнитных антенн; 15 - приемная электрическая антенна; 16 - верхний металлический электрод приемной электрической антенны; 17 - нижний металлический электрод приемной электрической антенны; 18 - плоские сегменты верхнего металлического электрода приемной электрической антенны; 19 - плоские сегменты нижнего металлического электрода приемной электрической антенны; 20 - третьи экранированные линии связи; 21 - разъем приемной электрической антенны; 22 - приемная рамочная магнитная антенна; 23 - многовитковая экранированная катушка приемной рамочной магнитной антенны; 24 - плоские секции многовитковой экранированной катушки; 25 - кольцевые щели в экране плоских секций многовитковой экранированной катушки; 26 - плоская диэлектрическая прокладка с центральным отверстием; 27 - четвертые экранированные линии связи; 28 - разъем приемной рамочной магнитной антенны. Компактное широкополосное четырехкомпонентное приемное антенное устройство содержит две крестообразно расположенные одна под другой верхнюю и нижнюю приемные магнитные антенны 1 и 2, в состав которых входят стержневые ферритовые сердечники 3 и 4, обмотки 5 и 6 и электрические экраны 7 и 8 верхней и нижней приемных магнитных антенн 1 и 2 соответственно. Электрические экраны 7 и 8 имеют продольные щели 9, причем продольная щель 9 электрического экрана 7 расположена над верхней гранью стержневого ферритового сердечника 3, т.е. обращена вверх, а продольная щель 9 электрического экрана 8 - под нижней гранью стержневого ферритового сердечника 4, т.е. обращена вниз. Электрический экран 8 нижней приемной магнитной антенны 2 имеет торцевые элементы 10 антенного снижения на металлическое основание 11. Электрические экраны 7, 8 нижней и верхней приемных магнитных антенн 1 и 2 и металлическое основание 11 соединены электрически между собой. Первые и вторые экранированные линии связи 12, состоящие из двух равных отрезков однотипных коаксиальных кабелей, верхней и нижней приемных магнитных антенн 1 и 2 одним своим концом подключены к дифференциальным выходам обмоток 5 и 6, другим - к дифференциальным входам первого и второго симметрирующих трансформаторов (на фиг. 1-3 не показаны), размещенных в экранированном корпусе 13, выходы которых электрически соединены с первым и вторым разъемами 14 верхней и нижней приемных магнитных антенн 1 и 2. Первые и вторые экранированные линии связи 12 верхней и нижней приемных магнитных антенн 1 и 2 разведены попарно, симметрично относительно места пересечения электрических экранов 7 и 8 и проложены по верхней плоскости электрического экрана 8, торцевым элементам 10 антенного снижения и поверхности металлического основания 11 вдоль осевой линии проекции нижней приемной магнитной антенны 2 до точки проекции центра пересечения верхней и нижней приемных магнитных антенн 1 и 2 на металлическое основание 11, при этом экранирующие оболочки первых и вторых экранированных линий связи 12 вдоль линии их прокладки электрически соединены с электрическим экраном 8 и металлическим основанием 11. Над верхней приемной магнитной антенной 1 размещен верхний металлический электрод 16 приемной электрической антенны 15 конденсаторного типа, состоящей из четырех плоских сегментов 18, аксиально симметрично расположенных в одной плоскости вокруг центральной оси устройства, а под нижней приемной магнитной антенной 2 размещен нижний металлический электрод 17 приемной электрической антенны 15 конденсаторного типа, состоящей из четырех плоских сегментов 19, проекции которых на металлическое основание 11 не выходят за его пределы, аксиально симметрично расположенных в одной плоскости вокруг центральной оси устройства. Плоские сегменты 18 верхнего металлического электрода 16 и плоские сегменты 19 нижнего металлического электрода 17 поэлектродно электрически соединены между собой в общих точках, лежащих на центральной оси устройства. К общим точкам верхнего и нижнего металлических электродов 16 и 17 подключены жилы третьих экранированных линий связи 20, состоящие из двух равных отрезков однотипных коаксиальных кабелей, электрически связывающих приемную электрическую антенну 15 с дифференциальным входом третьего симметрирующего трансформатора (на фиг. 1-3 не показан), размещенного в экранированном корпусе 13, выход которого электрически соединен с третьим разъемом 21 приемной электрической антенны 15. Третьи экранированные линии связи 20 приемной электрической антенны 15 разведены симметрично относительно места пересечения электрических экранов 7 и 8 верхней и нижней приемных магнитных антенн 1 и 2 и проложены по верхней плоскости электрического экрана 8, торцевым элементам 10 антенного снижения и поверхности металлического основания 11 вдоль осевой линии нижней приемной магнитной антенны 2 до точки проекции центра пересечения верхней и нижней приемных магнитных антенн 1 и 2 на металлическое основание 11, при этом экранирующие оболочки третьих экранированных линий связи 20 приемной электрической антенны 15 вдоль трассы их прокладки электрически соединены с электрическим экраном 8 и металлическим основанием 11. Над верхним металлическим электродом 16 приемной электрической антенны 15 размещена приемная рамочная магнитная антенна 22, состоящая из четырех плоских идентичных секций 24 многовитковой экранированной катушки 23 с кольцевой щелью 25 в экране каждой плоской секции 24, плоские идентичные секции 24 многовитковой экранированной катушки 23 расположены аксиально симметрично в одной плоскости вокруг центральной оси устройства, причем каждая плоская секция 24 многовитковой экранированной катушки 23 расположена над соответствующим плоским сегментом 18 верхнего металлического электрода 16 приемной электрической антенны 15, витки каждой плоской секции 24 и все плоские секции многовитковой катушки 23 последовательно электрически соединены между собой, образуя обмотку приемной рамочной магнитной антенны 22, пространственно приемная рамочная магнитная антенна 22 отделена от верхнего металлического электрода 16 приемной электрической антенны 15 плоской диэлектрической прокладкой 26 с центральным отверстием, к обмотке приемной рамочной магнитной антенны 22 подключены жилы четырех экранированных линий связи 27, электрически связывающих эту обмотку с дифференциальным входом четвертого симметрирующего трансформатора, размещаемого в экранированном корпусе 13, выход которого электрически соединен с четвертым разъемом 28, четвертые экранированные линии связи 27 проложены вдоль поверхности электрического экрана 8 нижней приемной магнитной антенны 2 на стержневом ферритовом сердечнике 4, торцевых элементов 10 антенного снижения и металлического основания 11 симметрично относительно центрального сечения сердечника 4 нижней приемной магнитной антенны 2, и экранирующие оболочки четвертых экранированных линий связи 27 электрически соединены с электрическим экраном многовитковой экранированной катушки 23 приемной рамочной магнитной антенны 22, электрическим экраном 8 нижней приемной магнитной антенны 2 на стержневом ферритовом сердечнике 4, торцевыми элементами 10 антенного снижения и металлическим основанием 11. Устройство работает следующим образом. Магнитная составляющая падающего на верхнюю и нижнюю приемные магнитные антенна 1, 2 электромагнитного поля концентрируется стержневыми ферритовыми сердечниками 3, 4 соответственно, и наводит в обмотках 5, 6 э.д.с., зависящие от азимутального угла прихода электромагнитной волны и характеризующие горизонтальную компоненту магнитного поля. Эти э.д.с. в виде соответствующих напряжений на симметричных выходах обмоток 5, 6 по первым и вторым экранированным линиям связи 12 передаются на входы первого и второго симметрирующих трансформаторов, расположенных в экранированном корпусе 13, где освобождаются от синфазных помеховых сигналов, и далее с первого и второго разъемов 14 приемных магнитных антенн 1 и 2 пара полезных сигналов по кабелям транслируется к входу приемного электронного устройства (регистратору). Для защиты обмоток 5, 6 от воздействия электрической составляющей электромагнитного поля, являющейся помеховым фактором для верхней и нижней приемных магнитных антенн 1 и 2, они помещены в электрические экраны 7 и 8 соответственно. Электрическое поле, взаимодействуя с электрическими экранами 7 и 8, формирует натекающий на них из окружающего пространства ток смещения, который переходит в ток антенного снижения, стекающий с электрических экранов 7, 8 от места их электрического соединения по двум симметричным ветвям снижения, сформированным с помощью двух электрически и конструктивно идентичных торцевых элементов 10 антенного снижения, на металлическое основание 11. С металлического основания 11 ток снижения растекается по находящейся с ним в электрофизическом контакте подстилающей поверхности земли. При этом сформированные торцевыми элементами 10 антенного снижения симметричные ветви стекания на металлическое основание 11 тока снижения расположены в вертикальной плоскости пространственной фиксации нижней приемной магнитной антенны 2 симметрично по отношению к ортогональной вертикальной плоскости, в которой фиксирована верхняя приемная антенна 1. Такая пространственная структура размещения элементов антенного устройства выводит нижнюю приемную магнитную антенну 2 из области воздействия магнитного поля тока снижения, а для верхней приемной магнитной антенны 1 влияние противоположно направленных магнитных полей симметричных ветвей тока снижения компенсируется. Продольные щели 9 в электрических экранах 7 и 8, располагаясь у верхней приемной магнитной антенны 1 сверху, а у нижней приемной магнитной антенны 2 снизу, находятся вне путей стекания тока снижения и, тем самым, не создают асимметрии в его распределении. Продольные оси верхней и нижней приемных магнитных антенн 1 и 2 параллельны металлическому основанию 11. Параллельность плоскостей, в которых лежат оси верхней и нижней приемных магнитных антенн 1 и 2, исключает возможность ассиметричного натекания на антенное устройство тока смещения из окружающего пространства. Электрическая составляющая падающего на приемную электрическую антенну 15 конденсаторного типа электромагнитного поля создает между верхним металлическим электродом 16 приемной электрической антенны 15 конденсаторного типа и нижним металлическим электродом 17 приемной электрической антенны 15 конденсаторного типа э.д.с., которая в виде соответствующего ей напряжения между жилами третьих экранированных линий связи 20 передается по ним на дифференциальный вход третьего симметрирующего трансформатора, расположенного в экранированном корпусе 13, где освобождается от синфазного помехового сигнала, и в виде полезного сигнала с третьего разъема 21 приемной электрической антенны 15 по кабелю транслируется к входу приемного электронного устройства. Расстояние между верхним 16 и нижним 17 металлическими электродами задано положением плоских сегментов 18 относительно плоских сегментов 19 и определяет чувствительность приемной электрической антенны 15 конденсаторного типа и соответственно величину полезного сигнала, снимаемого с третьего разъема 21 приемной электрической антенны 15. Сегментирование верхнего и нижнего металлических плоских электродов 16 и 17 позволяет функционировать приемной электрической антенне 15 конденсаторного типа, не изменяя характеристик верхней и нижней приемных магнитных антенн 1 и 2. Форма плоских сегментов 18 и 19 практически не влияет на характеристики приемной электрической антенны 15 конденсаторного типа, имеет значение лишь их площадь, так чтобы состоящие из плоских сегментов 18 и 19 верхний 16 и нижний 17 металлические электроды образовывали плоский конденсатор, вписывающийся в поперечные габариты металлического основания 11. В приемном электронном устройстве полезные сигналы с верхней и нижней приемных магнитных антенн 1, 2 и приемной электрической антенны 15 конденсаторного типа анализируются по соотношению полярностей их, например, первого квазиполупериода, после чего дается однозначное азимутальное направление на источник электромагнитного излучения. Вертикальная компонента магнитной составляющей падающего на приемную рамочную магнитную антенну 22 электромагнитно поля от приподнятого над подстилающей поверхностью источника наводит в обмотке антенны 22 э.д.с., зависящую от угла места направления прихода электромагнитной волны. Эта э.д.с. в виде соответствующего напряжения на симметричных выводах обмотки, образованной последовательным электрическим соединением витков в четырех плоских секциях 24 и самих секций 24 экранированной катушки 23, по четвертым экранированным линиям связи 27 передается на вход четвертого симметрирующего трансформатора, расположенного в экранированном корпусе 13, где освобождаются от синфазных помеховых сигналов, и далее с разъема 28 приемной рамочной магнитной антенны 22 полезный сигнал по кабелю транслируется к входу приемного электронного устройства. Плоская диэлектрическая прокладка 26 с центральным отверстием для проводки четвертых экранированных линий связи 27 предназначена для гальванического разделения плоскостей, в которых расположены приемная электрическая антенна 15 и приемная рамочная антенна 22. Для защиты обмотки приемной рамочной магнитной антенны 22 от воздействия электрической составляющей электромагнитного поля все четыре плоских секции многовитковой катушки 23 помещены в электрический экран с кольцевой щелью 25 в экране каждой из этих секций для исключения помехового влияния локальных градиентов электрического поля. В приемном электронном устройстве полезный сигнал с приемной рамочной магнитной антенны 22, отвечающий вертикальной компоненте магнитной составляющей электромагнитного поля, сравнивается, например по величине первого квазиполупериода, с рассчитанной величиной сигнала, отвечающего горизонтальной компоненте магнитной составляющей электромагнитного поля, полученного с использованием полезных сигналов приемных магнитных антенн 1, 2, после чего по величине сигналов вертикальной и горизонтальной компонент магнитного поля вычисляется значение угла места в направлении на источник электромагнитного излучения. Количественная оценка полученного технического результата может быть выполнена следующим образом. В случае приподнятого источника электромагнитного излучения внешнее изменяющееся во времени магнитное поле Н=H(t) наводит в обмотках взаимно ортогонально расположенных «горизонтальных» приемных магнитных антенн 1 и 2 и обмотке «вертикальной» приемной магнитной антенны 22 в апериодическом режиме (широкополосный прием) токи, которые создают на дифференциальных входах соответствующих симметрирующих трансформаторов напряжения U1, U2 и U3 соответственно где Kпр1, Kпр2 и Kпр3 - коэффициенты преобразования напряженности магнитного поля в напряжение на нагрузках приемных магнитных антенн 1, 2 и 22 соответственно; θ, ϕ - углы места и азимутальный направления вектора магнитной составляющей электромагнитного излучения от приподнятого над подстилающей поверхностью источника. Из (1), (2) для «горизонтальных» приемных магнитных антенн 1 и 2 следует, что при векторном сложении суммарное напряжение, соотносимое с модулем горизонтальной компоненты и не зависит от азимутального угла ϕ при равенстве Kпр1 и Kпр2, т.е. теоретически предлагаемое устройство, как и прототип [3], обладает на подстилающей поверхности строго круговой диаграммой направленности и может независимо от других подобных устройств использоваться в малобазовых (однопунктовых) радиопеленгаторах. При этом азимутальное направление вектора магнитной составляющей электромагнитного поля по результатам регистрации напряжений U1 и U2 с взаимно ортогональных приемных магнитных антенн 1, 2 определяется с помощью соотношения Угол ϕ, найденный из соотношения (5), соответствующий положению вектора Для устранения этой двузначности пеленга необходимо найти направление горизонтальной компоненты вектора, указывающего направление прихода потока электромагнитной энергии (вектора Пойтинга) и определить пеленг, как направление ему противоположенное Как следует из (6), пеленг определяется однозначно, если кроме направления горизонтальной компоненты вектора магнитного поля где Kпр4 - коэффициент преобразования напряженности электрического поля в напряжение на нагрузке приемной электрической антенны 15. Из (7) видно, что напряжение U4 пропорционально вертикальной на местности компоненте вектора электрического поля Пеленг по углу места θпел с учетом того, что все источники электромагнитного излучения находятся в верхнем полупространстве относительно поверхности земли, определяется однозначно, исходя из соотношения (1), (2), (3), характеризующих три компоненты вектора напряженности магнитного поля, и (4) Для уменьшения погрешности определения пеленга по углу места, как видно из выражения (8), необходимо приравнять коэффициенты преобразования всех трех приемных магнитных антенн 1, 2 и 22 предлагаемого устройства. В отношении магнитных антенн 1, 2 это уже сделано в прототипе [3], поэтому необходимо обеспечить максимальное приближение коэффициента преобразования магнитной антенны 22 к коэффициентам преобразования магнитных антенн 1 и 2. Условием выполнения поставленной цели является поддержание равенства потокосцеплений Ψ в индукционных магнитных антеннах различного конструкционного исполнения при некоторой опорной напряженности Ноп внешнего магнитного поля, т.е. где W1,2, W3 - количество витков в обмотках магнитных антенн 1, 2 и 22, соответственно; S1,2=μэф⋅Sэф - эффективная площадь поперечного сечения антенн 1, 2, в которых локализуется магнитный поток, связанный с этими антеннами; μэф - эффективная относительная магнитная проницаемость стержневых ферритовых сердечников 3 и 4 приемных магнитных антенн 1 и 2, соответственно; Sэф - площадь поперечного сечения стержневых ферритовых сердечников 3 и 4; S3 - суммарная площадь четырех плоских секций 24 многовитковой экранированной катушки 23, образующей обмотку приемной магнитной антенны 22. Теперь, чтобы обеспечить равенство указанных коэффициентов преобразования, достаточно из соотношения (9) найти функциональный параметр W3, не влияющий на конструктивно-техническое решение предлагаемого устройства Приемная рамочная магнитная антенна 22 вписана в конструкцию прототипа [3] практически без увеличения его габаритных размеров, поэтому габариты предлагаемого четырехкомпонентного устройства минимальные из возможных для фиксированных чувствительности, широкополосности и функциональности устройства - любое конструктивное выделение приемной рамочной магнитной антенны 22 в самостоятельный антенный элемент увеличивает габариты приемной антенной системы. Компактность предлагаемого устройства придает ему законченный вид, делает его более удобным в эксплуатации и значительно расширяет область его применения. Таким образом, достигается заявленный технический результат, а именно компактное широкополосное четырехкомпонентное приемное антенное устройство позволяет осуществлять пеленг по углу места совместно с пеленгом по азимутальному углу для определения местоположения приподнятых источников электромагнитного излучения. Это происходит без заметного увеличения его габаритов в сравнении с прототипом. Литература 1. Патент США US 6570543 В1, МПК H01Q 7/04, 27.05.2003. 2. Ахмедзянов И.Ш., Молочков В.Ф. Широкополосное двухкомпонентное антенное устройство, Патент РФ №2474014, МПК H01Q 7/04, 06, 27.01.2013. 3. Герасимчук О.А., Кулик М.Г., Молочков В.Ф., Неуструев В.В. Компактное широкополосное трехкомпонентное приемное антенное устройство, патент РФ №2573180, МПК H01Q 7/00, 20.01.2016.
вектора напряженности магнитного поля
, равно

в горизонтальной плоскости оставляет неопределенность в направлении на источник излучения (пеленг) ϕпел, допуская два диаметрально противоположенных его значения, т.е.


в азимутальной плоскости найдено направление вертикальной компоненты вектора электрического поля
, нормальной к азимутальной плоскости. Поскольку продольные оси взаимно ортогональных верхней и нижней приемных магнитных антенн 1 и 2 компланарны металлическому основанию 11, устанавливаемому в азимутальной плоскости, то соответственно приемная электрическая антенна 15 должна обладать избирательной чувствительностью к компоненте электрического поля, нормальной к металлическому основанию 11. Это требование выполняется, благодаря параллельному расположению плоских сегментов 18 и 19, составляющих верхний 16 и нижний 17 металлические электроды приемной электрической антенны 15, и металлического основания 11. В результате плоские верхний 16 и нижний 17 металлические электроды образуют приемную электрическую антенны 15 конденсаторного типа с действующей высотой, равной приблизительно расстоянию между верхней и нижней плоскостями электродов 16 и 17. Внешнее изменяющееся во времени электрическое поле Е=E(t) наводит между металлическими электродами 16 и 17 приемной электрической антенны 15 э.д.с., которая создает на дифференциальном входе соответствующего симметрирующего трансформатора напряжение U4
, и поэтому полярность напряжения U4 по отношению к сочетанию полярностей напряжений U1 и U2 дает направление горизонтальной компоненты вектора Пойтинга, снимает двузначность и позволяет однозначно определить пеленг по азимутальному углу.


