патент
№ RU 2687159
МПК E02B7/06
Номер заявки
2018140543
Дата подачи заявки
16.11.2018
Опубликовано
07.05.2019
Страна
RU
Как управлять
интеллектуальной собственностью
Чертежи 
1
Реферат

Изобретение относится к гидротехнике, а именно к гидроузлам с грунтовыми плотинами и водосбросами. Целью изобретения является увеличение пропускной способности фильтрующего водосброса и уменьшение объема грунтовой плотины путем увеличения площади водоприемника фильтрующего водосброса с использованием железобетонных уголковых подпорных стен на гребне и в основании низового откоса грунтовой плотины. Грунтовая плотина включает тело из водопроницаемого материала и противофильтрационный экран. На плотине на отметке гребня экрана установлена железобетонная уголковая подпорная стена с прорезями как в фундаментной, так и в вертикальной плитах. В основании плотины у низового откоса установлена железобетонная уголковая подпорная стена с прорезями в вертикальной плите. Изобретение позволяет уменьшить стоимость гидроузла за счет уменьшения объема тела грунтовой плотины, а также за счет отказа от берегового водосброса или его уменьшения. 2 з.п. ф-лы, 1 ил.

Формула изобретения

1. Грунтовая плотина, включающая тело из водопроницаемого материала и противофильтрационный экран, отличающаяся тем, что на плотине на отметке гребня экрана установлена железобетонная уголковая подпорная стена с прорезями как в фундаментной, так и в вертикальной плитах, а в основании плотины у низового откоса установлена железобетонная уголковая подпорная стена с прорезями в вертикальной плите.

2. Грунтовая плотина по п.1, отличающаяся тем, что железобетонная уголковая подпорная стена, установленная на плотине на отметке гребня экрана, имеет прорези в фундаментной и вертикальной плитах общей площадью не менее 40% от общей площади плиты.

3. Грунтовая плотина по п.1, отличающаяся тем, что железобетонная уголковая подпорная стена, установленная в основании плотины у низового откоса, имеет прорези в вертикальной плите общей площадью не менее 40% от общей площади плиты.

Описание

[1]

Изобретение относится к гидротехнике, а именно к гидроузлам с грунтовыми плотинами и водосбросами.

[2]

Наиболее близкой по существующим признакам и достигаемому результату является грунтовая плотина с фильтрующим водосбросом, включающая противофильтрационный экран с гребнем и участком верхового откоса из водопроницаемого материала (камня, гальки и т.п.) за экраном в виде канала (патент на изобретение №2011735).

[3]

Недостатком этой конструкции является увеличение объема грунтовой плотины из-за необходимости устройства за экраном трапецеидального канала, что приводит к удорожанию плотины.

[4]

Целью изобретения является увеличение пропускной способности фильтрующего водосброса и уменьшение объема грунтовой плотины путем увеличения площади водоприемника фильтрующего водосброса с использованием железобетонных уголковых подпорных стен на гребне и в основании низового откоса грунтовой плотины.

[5]

Цель достигается тем, что грунтовая плотина, включающая тело из водопроницаемого материала (камня, галечника, щебня) и противофильтрационный экран, непосредственно за гребнем экрана имеет железобетонную уголковую подпорную стену с прорезями, как в фундаментной, так и в вертикальной плитах, общей площадью не менее 40% от общей площади плиты. Эта уголковая стена с прорезями является водоприемником фильтрующего водосброса. В основании плотины у низового откоса устанавливается железобетонная уголковая подпорная стена с прорезями в вертикальной плите, общей площадью не менее 40% от общей площади плиты, для прохода фильтрационного потока из плотины в нижний бьеф. Площадь прорезей не менее 40% обусловлена тем, что водопроницаемый материал тела плотины имеет пористость не менее 40%. Таким образом, обеспечивается проницаемость стены не менее проницаемости грунта.

[6]

Размещенная за гребнем экрана железобетонная уголковая подпорная стена с прорезями, как в фундаментной, так и в вертикальной плитах, обеспечивает при повышении воды в водохранилище выше гребня экрана, во-первых, поступление воды в тело плотины через прорези в фундаментной и в вертикальной плитах, т.е. выполняет функцию водоприемника фильтрующего водосброса, а во-вторых, защищает тело плотины от воздействия волн. Отметка гребня плотины за уголковой подпорной стеной назначается не выше максимального уровня воды УВВ, что приводит к снижению отметки гребня плотины и соответственно к уменьшению ее объема. Длина железобетонной уголковой подпорной стены с прорезями, как в фундаментной, так и в вертикальной плитах, назначается исходя из необходимой пропускной способности фильтрующего водосброса. На участках гребня плотины без фильтрующего водосброса устанавливаются такие же железобетонные уголковые подпорные стены, только без прорезей.

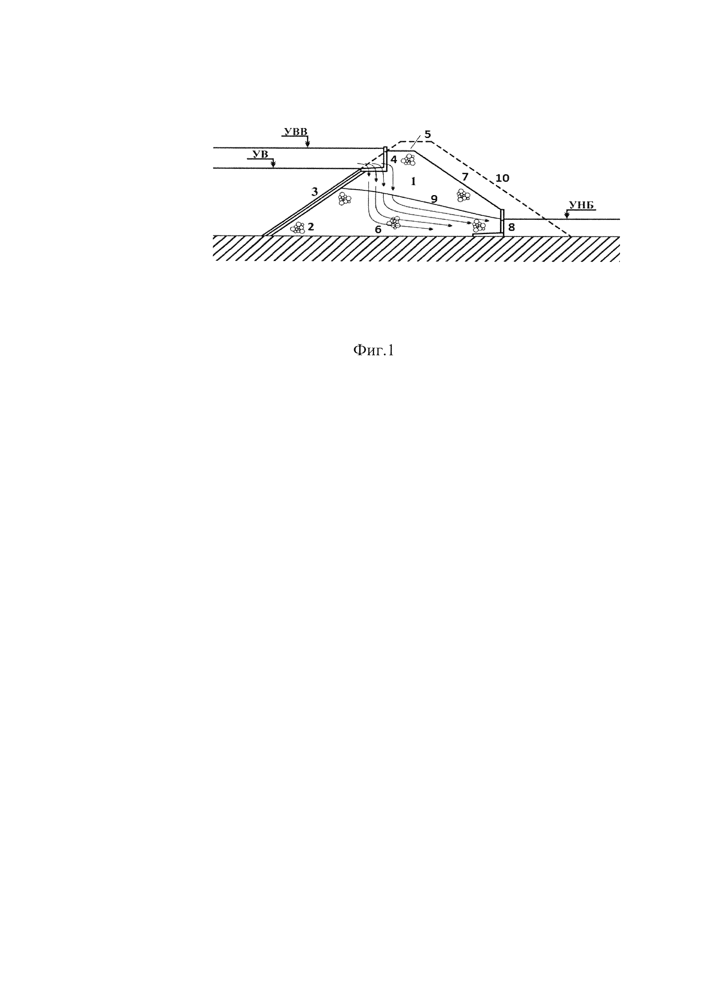
[7]

На Фиг. 1 изображен поперечный разрез грунтовой плотины 1 из водопроницаемого материала 2 (камня, галечника, щебня) с экраном 3. На плотине на отметке гребня экрана, совпадающей с расчетным уровнем воды УВ в водохранилище, установлена железобетонная уголковая подпорная стена 4 с прорезями, как в фундаментной, так и в вертикальной плитах, с общей площадью не менее 40% от общей площади каждой плиты. Отметка гребня плотины 5 за уголковой подпорной стеной назначается не выше отметки максимального уровня воды УВВ в водохранилище. В основании плотины 6 в пределах нижней части низового откоса 7 установлена железобетонная уголковая подпорная стена 8 с прорезями в вертикальной плите. Стрелками показано направление фильтрации воды через железобетонную уголковую подпорную стену 4 с прорезями в фундаментной и в вертикальной плитах, в теле плотины с кривой депрессии 9 и через железобетонную уголковую подпорную стену 8 с прорезями в вертикальной стене. Позиция 10 представляет контур традиционной конструкции грунтовой плотины с экраном. Объем предлагаемой конструкции грунтовой плотины с экраном и с фильтрующим водосбросом (на рисунке показан сплошной линией) меньше объема традиционной конструкции грунтовой плотины с экраном без фильтрующего водосброса (на рисунке показан пунктирной линией).

[8]

Плотина с фильтрующим водосбросом по рисунку работает следующим образом. При паводке уровень воды в водохранилище поднимается выше расчетного уровня УВ до максимального уровня УВВ и вода начинает фильтровать через сквозные отверстия в фундаментной и вертикальной плитах железобетонной уголковой подпорной стены 4 вниз в тело плотины 1, где устанавливается кривая депрессии 9, а затем через сквозные отверстия в вертикальной плите железобетонной уголковой подпорной стены 8 выходит в русло реки с уровнем УНБ.

[9]

В прототипе канал за экраном образуется за счет смещения плоскости верхового откоса - водоприемника фильтрующего водосброса на величину ширины канала, что приводит к необходимости соответствующего увеличения профиля грунтовой плотины (и соответственно ее объема и стоимости).

[10]

Применение предлагаемой конструкции грунтовой плотины с экраном и с фильтрующим водосбросом в виде железобетонной уголковой подпорной стены с прорезями в фундаментной и в вертикальной плитах, а также с использованием у основания низового откоса плотины железобетонной уголковой подпорной стены с прорезями в вертикальной плите позволяет уменьшить стоимость гидроузла за счет уменьшения объема тела грунтовой плотины, а также за счет отказа от берегового водосброса или его уменьшения.

Как компенсировать расходы
на инновационную разработку
Похожие патенты