патент
№ RU 2549048
МПК B60R25/02

ЗАМКОВЫЙ МЕХАНИЗМ

Авторы:
Шлеппер Григорий Яковлевич
Номер заявки
2014114852/11
Дата подачи заявки
15.04.2014
Опубликовано
20.04.2015
Страна
RU
Как управлять
интеллектуальной собственностью
Чертежи 
11
Реферат

Изобретение относится к замковым механизмам. Замковый механизм снабжен ключом для его отпирания и состоит из корпуса, барабана и захвата. Корпус и барабан снабжены штифтами, расположенными соосно по окружности вдоль оси с образованием самого механизма. Барабан установлен в корпус с возможностью поворота вокруг своей оси. Захват жестко установлен в корпусе. В захвате и барабане выполнены вырезы или выступы под блокируемую деталь. Каждый штифт состоит не менее чем из трех частей. Последняя часть штифтов выполнена составной - из ступенчатого вала и цилиндра, в который входит ступенчатый вал. Длина части ступенчатого вала, входящая в цилиндр, меньше последнего. Последняя часть штифтов снабжена пружинами разной жесткости или подпружинены не все части. В корпусе и барабане замка выполнены соосные отверстия - в корпусе большей длины, чем в барабане. В отверстия в корпусе установлены дополнительные штифты, взаимодействующие с барабаном при вибрации. Длина дополнительных штифтов равна длине выполненных в корпусе отверстий. Достигается повышение надежности работы замкового механизма. 12 ил.

Формула изобретения

Замковый механизм, снабженный ключом для его отпирания и состоящий из корпуса, барабана и захвата, корпус и барабан снабжены штифтами, расположенными соосно по окружности вдоль оси с образованием самого механизма, причем барабан установлен в корпус с возможностью поворота вокруг своей оси, захват жестко установлен в корпусе, в захвате и в барабане выполнены вырезы или выступы под блокируемую деталь, каждый штифт состоит не менее чем из трех частей, отличающийся тем, что последняя часть штифтов выполнена составной - из ступенчатого вала и цилиндра, в который входит ступенчатый вал, причем длина части ступенчатого вала, входящая в цилиндр, меньше последнего, эта последняя часть штифтов снабжена пружинами разной жесткости или подпружинены не все части, а в корпусе и в барабане замка выполнены соосные отверстия, причем в корпусе большей длины, чем в барабане, и в эти отверстия в корпусе установлены дополнительные штифты, взаимодействующие с барабаном при вибрации, при этом длина дополнительных штифтов равна длине выполненных в корпусе отверстий.

Описание

[1]

Изобретение относится к замковым механизмам и может быть использовано в транспортных средствах как стопор вала в противоугонном устройстве и в качестве замка для защиты помещений.

[2]

Известен стопор вала с замковым механизмом к патенту РФ №2324610 (опубл. 20.05.2008 г.). Стопор вала снабжен ключом для отпирания секретного механизма и состоит из корпуса, барабана и захвата. Корпус и барабан снабжены штифтами, расположенными соосно по окружности вдоль оси с образованием замкового механизма. Барабан установлен в корпусе с возможностью поворота вокруг своей оси. Захват жестко установлен в корпусе. В захвате и в барабане выполнены вырезы под блокируемый вал. В барабане выполнено центральное цилиндрическое отверстие, в которое установлен подпружиненный ступенчатый поршень, взаимодействующий со штифтами торцевой и цилиндрической частей. Каждый штифт состоит не менее чем из трех частей. Одна часть - ступенчатая, взаимодействующая с ключом, другая - составная из цилиндра и стержня с возможностью фиксированного изменения длины, а последняя - цилиндрическая, взаимодействующая с поршнем. Последняя часть штифтов выполнена ступенчатой, кроме одного штифта, который выполнен цилиндрическим. Ступенчатые штифты установлены меньшим диаметром в барабан, а большим в корпус. При этом часть ступенчатого штифта с меньшим диаметром штифтов находится и в корпусе, и в барабане.

[3]

Вскрыть такой замок отмычками, как показала сертификация, крайне сложно или почти невозможно. В большинстве случаев происходит заклинивание замкового механизма, а при грубом воздействии на штифты приводит к полной блокировке.

[4]

Недостатком данной конструкции является высокая сложность изготовления, а именно высокая точность изготовления деталей замкового механизма в частности поршня и взаимодействующих с ним задних ступенчатых штифтов, и барабана. При невыполнении этих условий как показала практика эксплуатации, возможно заклинивание замкового механизма или полная его блокировка. В рабочем состоянии вывести из клина секретный механизм невозможно. Установка такого стопора на автомобиль в виде противоугонного устройства приводит к крайне нежелательным последствиям и неудобствам, так как разблокировка замкового механизма возможна только при помощи его срезания.

[5]

Наиболее близким по техническому содержанию является замок к патенту РФ №2393100 (опубл. 27.06.2010 г.). Замок снабжен ключом для отпирания этого механизма и состоит из корпуса, барабана и захвата. Корпус и барабан снабжены штифтами, расположенными соосно по окружности вдоль оси с образованием секретного механизма, причем барабан установлен в корпус с возможностью поворота вокруг своей оси, захват жестко установлен в корпусе, в захвате и в барабане выполнены вырезы под блокируемый вал, каждый штифт состоит не менее чем из трех частей: одна часть ступенчатая, взаимодействующая с ключом, другая - составная из цилиндра и стержня с возможностью фиксированного изменения длины для настройки кода по ключу замка, третья подпружиненная. В отверстиях корпуса замка и в отверстиях барабана нарезана резьба, на средних и задних штифтах также выполнена резьба для взаимодействия с резьбовыми поверхностями в отверстиях корпуса и барабана, причем диаметр резьбы отверстий, выполненных в корпусе замка и в барабане больше диаметров резьбы, выполненной на средних и задних штифтах.

[6]

Такая конструкция замкового механизма наиболее стойкая к криминальному вскрытию и наиболее работоспособна по сравнению с приведенным выше аналогом. Это связано с наличием резьбовых отверстий в корпусе и в барабане, которые, взаимодействуя с резьбовыми поверхностями средних и задних штифтов, блокируют последние при несанкционированном воздействии на замок.

[7]

Недостатками данного замкового механизма является возможность его вскрытия при вибрации. Это происходит потому, что задние штифты при таком воздействии начинают синхронно разлетаться в сторону барабана, а средние штифты - в сторону корпуса. При определенной частоте и времени воздействия на замковый механизм, все задние штифты одновременно перемещаются в сторону барабана и не находятся в теле корпуса, на который, кроме вибрации, воздействуют крутящим моментом. Происходит вскрытие замкового механизма.

[8]

Предлагаемым изобретением решается задача повышения охранных свойств замкового механизма и его надежной работы, а именно эффективное противостояние бампингу: воздействию на штифты замкового механизма путем ударов, толчков и вибрации, при которой происходит сепарация штифтов замкового механизма и его разблокировка.

[9]

Для достижения этого технического результата в замковом механизме, снабженном ключом для его отпирания и состоящим из корпуса, барабана и захвата, корпус и барабан снабжены штифтами, расположенными соосно по окружности вдоль оси с образованием самого механизма, причем барабан установлен в корпус с возможностью поворота вокруг своей оси, захват жестко установлен в корпусе, в захвате и в барабане выполнены вырезы или выступы под блокируемую деталь, каждый штифт состоит не менее чем из трех частей, последняя часть штифтов выполнена составной: из ступенчатого вала и цилиндра, в который входит ступенчатый вал, причем длина части ступенчатого вала входящая в цилиндр меньше последнего, эта последняя часть штифтов снабжена пружинами разной жесткости или подпружинены не все части, а в корпусе и в барабане замка выполнены соосные отверстия, причем в корпусе большей длины, чем в барабане, и в эти отверстия в корпусе установлены дополнительные штифты, взаимодействующие с барабаном при вибрации, при этом длина дополнительных штифтов равна длине выполненных в корпусе отверстий.

[10]

Отличительными признаками предлагаемого замкового механизма является то, что последняя часть штифтов выполнена составной: из ступенчатого вала и цилиндра, в который входит ступенчатый вал, причем длина части ступенчатого вала, входящая в цилиндр, меньше последнего, эта последняя часть штифтов снабжена пружинами разной жесткости или подпружинены не все части, а в корпусе и в барабане замка выполнены соосные отверстия, причем в корпусе большей длины, чем в барабане, и в эти отверстия в корпусе установлены дополнительные штифты, взаимодействующие с барабаном при вибрации, при этом длина дополнительных штифтов равна длине выполненных в корпусе отверстий.

[11]

Такая конструкция замкового механизма позволяет надежно противостоять вибрационным воздействиям на него - бампингу.

[12]

Рассмотрим это подробнее:

[13]

1. При вибрации или периодическом силовом воздействии на корпус замкового механизма происходит передача импульса на переднюю часть штифтов, которые, в свою очередь, передают это воздействие на среднюю часть, а средняя - на последнюю. В предлагаемой конструкции последняя часть штифтов является составной: из ступенчатого вала и цилиндра, причем длина части ступенчатого вала, входящая в цилиндр, меньше последнего.

[14]

При получении импульса от передней части штифта средняя часть передает его на цилиндр, а цилиндр - на торцевую часть ступенчатого вала большего диаметра. При таком воздействии ступенчатый вал перемещается в сторону барабана, а цилиндр остается в контакте со средней частью штифта. Таким образом, в целом составной последний штифт всегда находится в контакте со средним штифтом. Не происходит их разделения. Периодически перемещается ступенчатый вал последней части штифта, который по третьему закону Ньютона, воздействуя на цилиндр, прижимает его к торцу средней части.

[15]

2. Штифт, который установлен в дополнительные соосные отверстия, выполненные в корпусе и в барабане, при импульсе, получаемом от корпуса, также перемещается в сторону барабана, а так как длина штифта равна длине отверстия, выполненного в корпусе, то при таких воздействиях штифт одновременно находится и в корпусе, и в барабане, блокируя замковый механизм. Длина отверстия, выполненного в барабане, меньше длины штифта, поэтому он всегда будет блокировать механизм при вибрационном воздействии на него.

[16]

3. Не все штифты подпружинены, а если все, то имеют пружины разной жесткости. Это исключает синхронность импульсов при воздействии на замковый механизм, а значит и одновременное разделение последних.

[17]

4. Рабочее положение замкового механизма - штифтами вниз.

[18]

5. При открывании замкового механизма ключом не происходит вышеописанного воздействия, так как все штифты перемещаются равномерно вдоль оси своих отверстий, а дополнительный штифт под действием силы тяжести находится полностью в отверстии корпуса, так как его длина и длина отверстия, выполненного под него, равны.

[19]

Предлагаемый замковый механизм иллюстрируется чертежами, представленными на фиг. 1-12.

[20]

На фиг. 1 показан вид спереди;

[21]

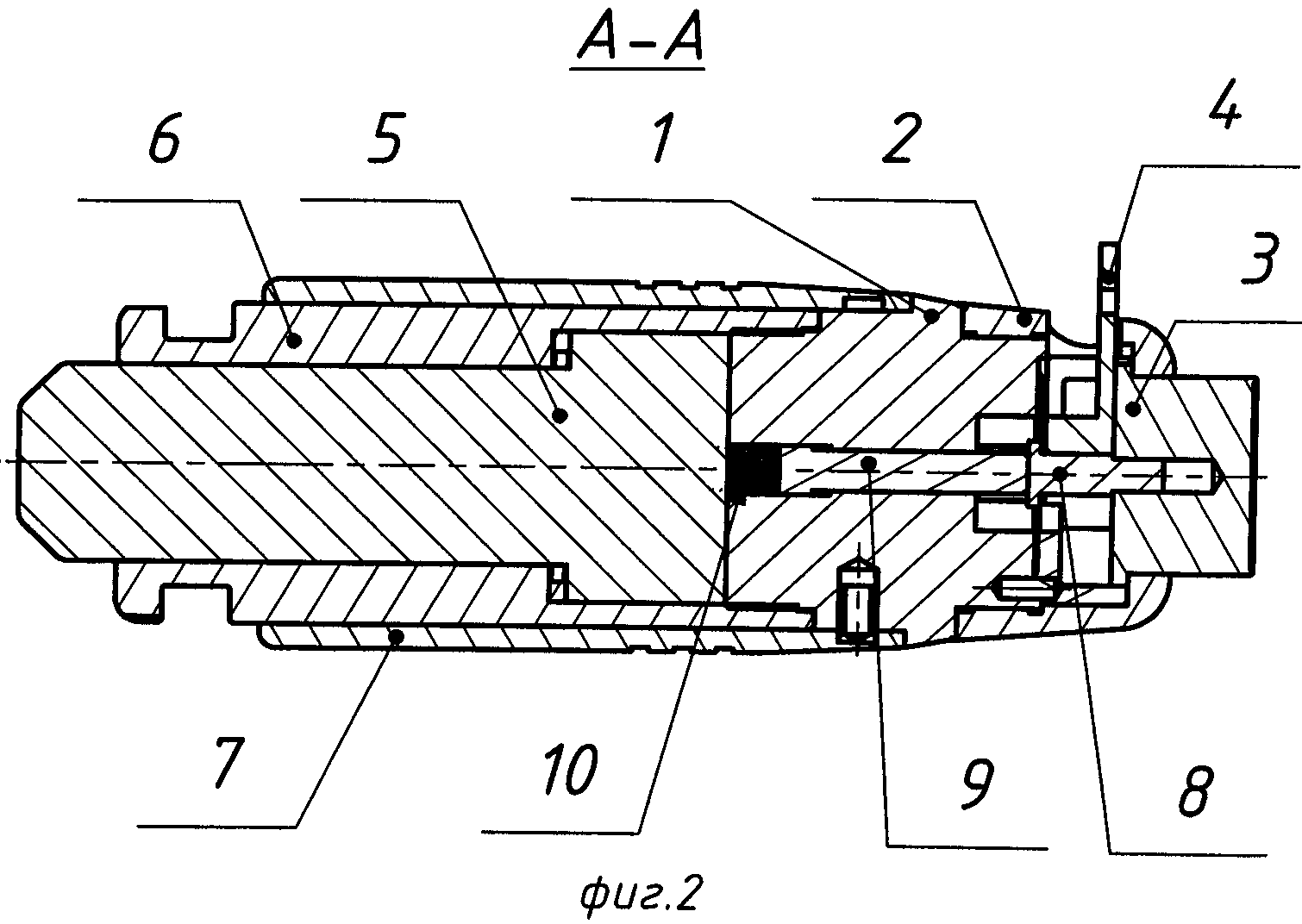
на фиг. 2 - общий вид в разрезе А-А;

[22]

на фиг. 3 - ключ в изометрии;

[23]

на фиг. 4 - вид в изометрии;

[24]

на фиг. 5 - вид спереди, повернуто;

[25]

на фиг. 6 - общий вид в разрезе Б-Б;

[26]

на фиг. 7 - вид в изометрии по разрезу Б-Б;

[27]

на фиг. 8 - вид спереди, повернуто;

[28]

на фиг. 9 - общий вид в разрезе В-В;

[29]

на фиг. 10 - вид в изометрии по разрезу В-В;

[30]

на фиг. 11 - вид сбоку (установлен в сборном основании);

[31]

на фиг. 12 - вид сбоку (разблокирован и извлечен из сборного основания).

[32]

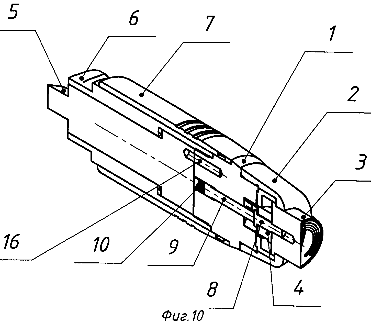
Замковый механизм состоит из корпуса 1, крышки корпуса 2, кнопки 3, ключа 4, барабана 5, захвата 6, короны 7, седла под ключ 8, толкателя кнопки 9, пружины толкателя кнопки 10, передних штифтов 11, средних регулируемых штифтов 12, последней части составных штифтов цилиндра 13 и ступенчатого вала 14, пружины этой части штифтов 15, дополнительного контролирующего штифта 16.

[33]

Замковый механизм работает следующим образом: при установке ключа 4 в отверстие крышки корпуса 2, выполненное для него, фиг. 2, ключ 4 своим вырезом (фиг. 3) заходит на седло 8 и садится на него. Затем он подается в тело корпуса 2 кнопкой 3 до упора в торец корпуса 2. В результате этого перемещения ключ 4 взаимодействует своими углублениями с торцевой частью передних штифтов 11, перемещая последние на определенные кодовые расстояния. Передняя часть штифтов 11 перемещает средние регулируемые части штифтов 12, а те соответственно сдвигают последние составные части штифтов 13 - цилиндр, который взаимодействует со ступенчатым штифтом 14. В результате этих перемещений при полном вводе ключа 4 происходит набор кода, средняя часть штифтов 12 и последняя часть 13-14 устанавливаются в плоскость контакта корпуса и барабана - происходит разблокировка замкового механизма. После этого корпус 1, жестко связанный с крышкой корпуса 2 и с захватом 6, могут поворачиваться вокруг своей оси, относительно барабана 5.

[34]

В таком состоянии замковый механизм может быть извлечен из сборного основания, в которое он был установлен. Это частный случай применения замкового механизма 17, в данном примере - противоугонного устройства, состоящего из сборного основания - двух полумуфт 18 и 19, охватывающих вал 20 рулевого управления и жестко закрепленных на нем.

Как компенсировать расходы
на инновационную разработку
Похожие патенты