патент
№ RU 2655679
МПК H02G7/14

ДЕМПФИРУЮЩАЯ ДИСТАНЦИОННАЯ РАСПОРКА ДЛЯ ПРОВОДОВ ВОЗДУШНОЙ ЛИНИИ ЭЛЕКТРОПЕРЕДАЧИ

Авторы:
Юданов Владимир Евгеньевич
Номер заявки
2016135731
Дата подачи заявки
05.09.2016
Опубликовано
29.05.2018
Страна
RU
Как управлять
интеллектуальной собственностью
Чертежи 
3
Реферат

Изобретение относится к электроэнергетике, а именно к демпфирующим дистанционным распоркам для проводов фазы, расщепленной на две и более составляющих воздушных линий электропередачи различных классов напряжения. Распорка состоит из корпуса 1, изготовленного из алюминиевого сплава, представляющего объемную раму, сформированную вертикальными и горизонтальными ребрами 2, 3. В раму 1 интегрированы стаканы 4 числом в зависимости от числа проводов 5 в расщепленной фазе. В стаканах 4 размещаются демпфирующие узлы, состоящие из резиновых демпфирующих элементов 6 тороидальной формы. Демпфирующие элементы 6 соединяются двумя плашками 7 на каждый демпфирующий узел посредством специальных крепежных элементов. В набор специальных крепежных элементов входят болты 8 с мелкой резьбой, шайбы 9 и цельнометаллические самостопорящиеся гайки 10. На плашках 7 выполняются насечки 11, которые проходят относительно продольной оси 12 провода 5 под углом. Изобретение обеспечивает создание распорки с высокими вибрационными характеристиками, обеспечивая эффективное гашение колебаний от низких до высоких частот, и приемлемой надежностью в течение длительной эксплуатации. 5 з.п. ф-лы, 3 ил.

Формула изобретения

1. Демпфирующая дистанционная распорка для проводов воздушной линии электропередачи, состоящая из корпуса, демпфирующих узлов, соединенных, с, по меньшей мере, двумя снабженными насечками плашками на каждый демпфирующий узел посредством крепежа, отличающаяся тем, что корпус представляет из себя объемную раму, сформированную вертикальными и горизонтальными ребрами, демпфирующие узлы расположены в интегрированных в раму корпуса стаканах, выбранных в количестве в зависимости от числа проводов в расщепленной фазе, каждый демпфирующий узел состоит из, по меньшей мере, двух демпфирующих элементов тороидальной формы, причем насечки в плашках расположены относительно продольной оси провода под углом.

2. Распорка по п. 1, отличающаяся тем, что корпус изготовлен из алюминиевого сплава.

3. Распорка по п. 1, отличающаяся тем, что угол расположения насечек на плашках относительно продольной оси провода выбирается в пределах от 0 до 15 градусов.

4. Распорка по п. 1, отличающаяся тем, что крепеж демпфирующих узлов состоит из набора болтов, шайб и самостопорящихся приспособлений.

5. Распорка по п. 4, отличающаяся тем, что в качестве самостопорящихся приспособлений использованы цельнометаллические самостопорящиеся гайки.

6. Распорка по п. 4, отличающаяся тем, что болты крепежа выполнены с мелкой резьбой.

Описание

[1]

Изобретение относится к области электроэнергетики, в частности к демпфирующим дистанционным распоркам для проводов фазы, расщепленной на две и более составляющих воздушных линий электропередачи различных классов напряжения.

[2]

Известна распорка-гаситель для проводов расщепленной фазы воздушной линии электропередачи, содержащая тяги, выполненные в виде упругого элемента по числу проводов расщепленной фазы и закрепленные одним концом в зажимах, установленных на проводах расщепленной фазы, отличающаяся тем, что распорка снабжена втулками, установленными на упругих элементах по направлению их продольных осей, жестко скрепленными друг с другом на одном конце в центре распорки, являющимся центром расщепленной фазы линии, и опрессованными в нескольких точках на упругих элементах, при этом диаметр каждого упругого элемента выбирается меньшим диаметра втулок на величину 1÷3 мм, а каждая упомянутая втулка устанавливается на упругом элементе с зазором от зажима распорки, равным 1÷3 мм, для обеспечения изгибных деформаций упругих элементов при колебаниях расщепленных проводов фазы линии [1].

[3]

В этой распорке-гасителе, как показала практика ее применения, не достигается эффективное гашение колебаний проводов расщепленной фазы воздушной линии электропередачи за счет демпфирующих свойств упругих элементов, расположенных с некоторой свободой вдоль втулок.

[4]

Известна также распорка-демпфер для проводов расщепленной фазы воздушной линии электропередачи, содержащая корпус, лучи по числу проводов расщепленной фазы с плашками-зажимами на одном конце для крепления распорки к проводам и демпферными узлами на другом конце, расположенными в пазах корпуса, при этом каждый демпферный узел состоит из эластомерных дисков, скрепленных вертикальной осью, на которую насажены крышки с крепежом [2].

[5]

Данная распорка-демпфер для проводов расщепленной фазы воздушной линии электропередачи хорошо приспособлена для работы на воздушных линиях электропередачи невысокого напряжения, например, ниже напряжения 750 кВ с расщеплением не более трех-четырех составляющих в расщепленной фазе. Кроме того, конструкция крепежных элементов демпфирующих узлов и плашек-зажимов не обеспечивает надежной фиксации распорки на проводах линии, из-за возможности прокручивания провода в плашках-зажимах и отсутствия средств против воздействия изгибающих моментов на демпфирующие элементы демпфирующих узлов.

[6]

Заявитель ставил перед собой конкретную цель - разработать демпфирующую дистанционную распорку для проводов воздушных линий электропередачи различных классов напряжения, характеризующуюся высокой эффективностью гашения колебаний, эксплуатационной надежностью, простотой изготовления и монтажа. Данный положительный технический результат был достигнут за счет новой совокупности существенных конструктивных признаков демпфирующей дистанционной распорки для проводов воздушной линии электропередачи, представленной в нижеследующей формуле изобретения: «демпфирующая дистанционная распорка для проводов воздушной линии электропередачи, состоящая из корпуса, изготовленного из алюминиевого сплава и представляющего из себя объемную раму, сформированную вертикальными и горизонтальными ребрами, интегрированных в вышеуказанную раму стаканов в количестве двух, трех, четырех, пяти или восьми, выбранных в зависимости от числа проводов в расщепленной фазе, и предназначенных для размещения в них демпфирующих узлов, состоящих из, по меньшей мере, двух резиновых демпфирующих элементов тороидальной формы, соединенных с, по меньшей мере, двумя плашками на каждый демпфирующий узел посредством специальных крепежных элементов, включающих набор болтов, шайб и самостопорящих приспособлений, при этом на плашках выполнена, по крайней мере, одна насечка, расположенная относительно продольной оси провода под углом, значение которого выбирается в пределах от 0 до 15 градусов; болты специальных крепежных элементов выполнены с мелкой резьбой; в качестве вышеупомянутых самостопорящих приспособлений использованы цельнометаллические самостопорящиеся гайки».

[7]

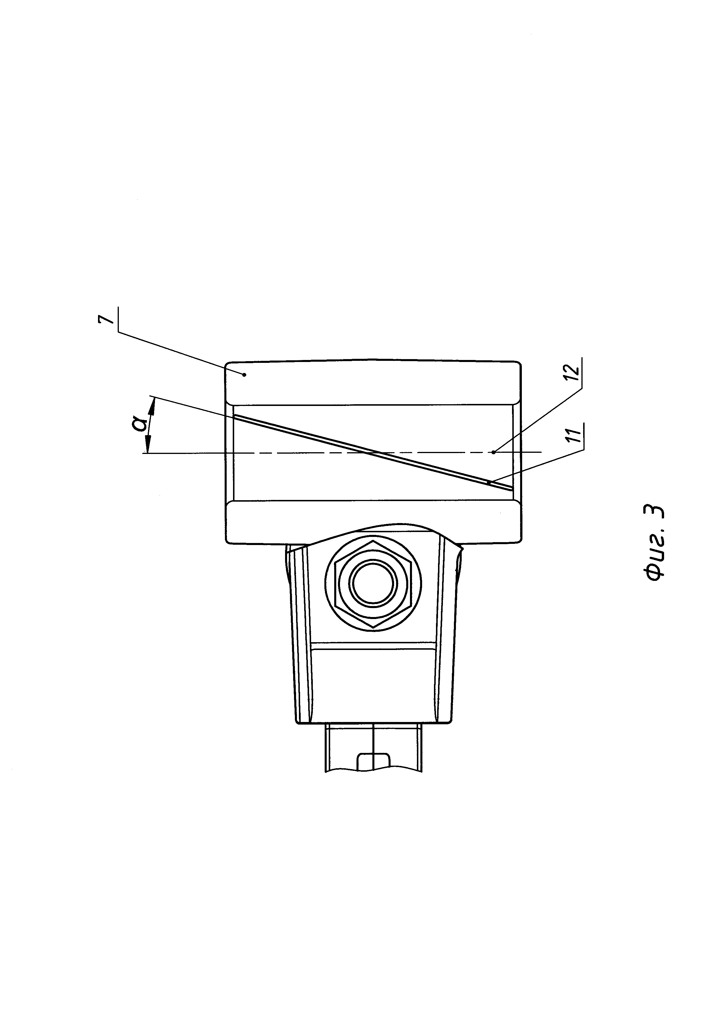
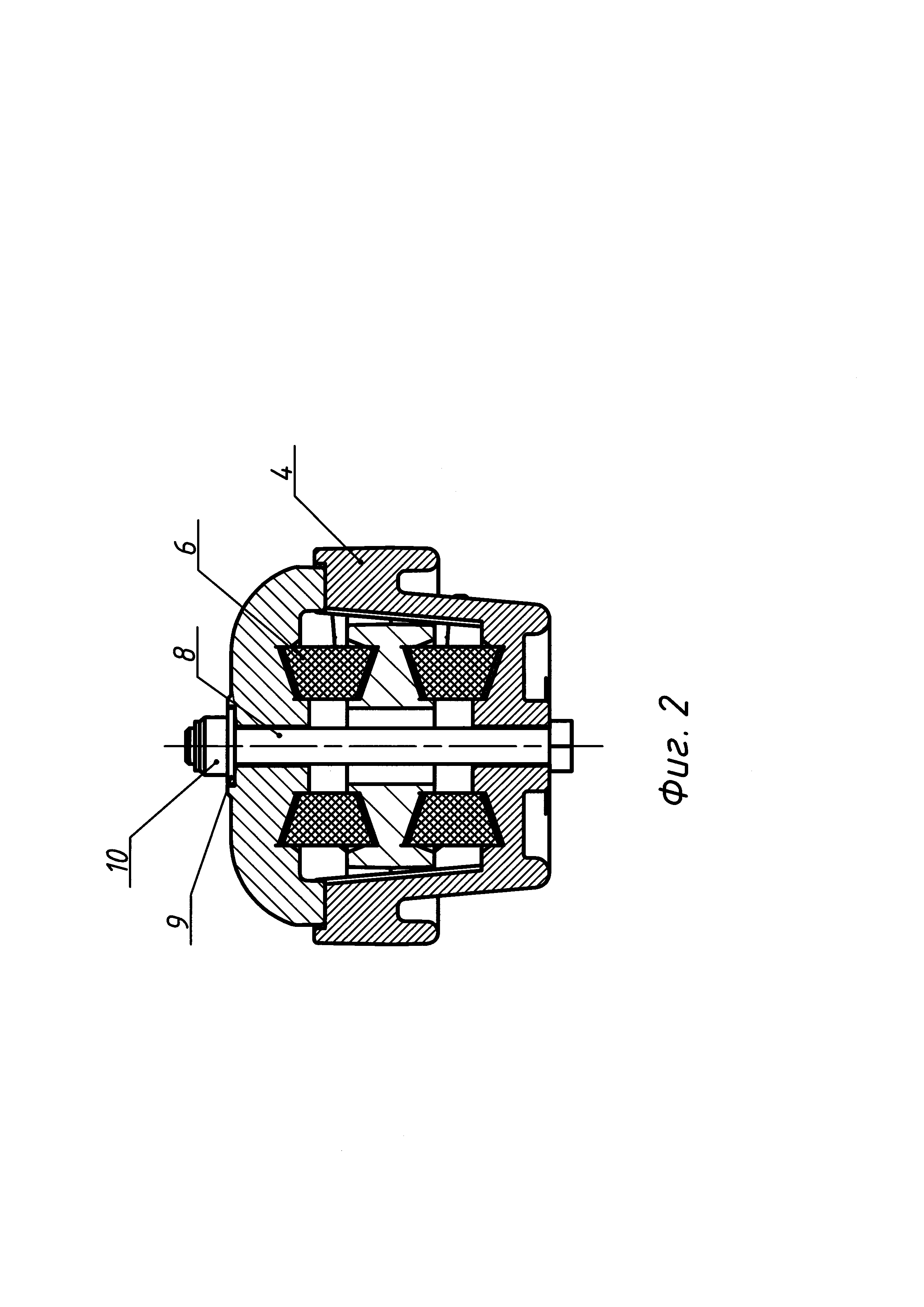
Сущность изобретения поясняется чертежами, где на фиг. 1 показан общий вид демпфирующей дистанционной распорки для проводов воздушной линии электропередачи, выполненной согласно настоящему изобретению, вариант расщепления фазы на три составляющие; на фиг. 2 то же, что на фиг. 1, разрез распорки по демпфирующему узлу; на фиг. 3 то же, что на фиг. 1, разрез распорки по плашке.

[8]

Заявляемая демпфирующая дистанционная распорка для проводов воздушной линии электропередачи состоит из корпуса 1, изготовленного из алюминиевого сплава. Корпус 1 представляет из себя объемную раму, сформированную вертикальными и горизонтальными ребрами 2, 3. В раму 1 интегрированы (то есть, выполнены как единая конструкция) стаканы 4, количество которых выбирается в зависимости от числа составляющих (проводов) 5 в расщепленной фазе, например, два, три, четыре, пять или восемь стаканов 4, смотря на какое напряжение рассчитана воздушная линия электропередачи. В стаканах 4 размещаются демпфирующие узлы, состоящие, из двух или более резиновых демпфирующих элементов 6 тороидальной формы. Демпфирующие элементы 6 соединяются минимум (может быть больше) двумя плашками 7 на каждый демпфирующий узел посредством специальных крепежных элементов. В набор специальных крепежных элементов входят болты 8 с мелкой резьбой, шайбы 9 и цельнометаллические самостопорящиеся гайки 10. На плашках 7 выполняются насечки 11, которые проходят относительно продольной оси 12 провода 5 под углом, значение которого выбирается в пределах от 0 до 15 градусов.

[9]

Изобретение работает следующим образом:

[10]

Перед монтажом распорки на воздушной линии электропередачи ослабляют болты 13 плашек 7, вводят ее в расщепленную фазу, разворачивая плоскость распорки перпендикулярно оси расщепленной фазы, и фиксируют корпус 1 на каждом проводе 1, затягивая болты 13 плашек 7 гайками 14 до момента затяжки, исключающего расцепление.

[11]

При возникновении колебаний (субколебаний) происходит деформация резиновых демпфирующих элементов 6 и энергия колебаний проводов 5 тратится на преодоление (компенсацию) внутренних деформаций материала, например, специальной резины демпфирующих элементов 6 демпферных узлов, что позволяет эффективно гасить колебания проводов расщепленной фазы, возникающих на воздушных линиях электропередачи.

[12]

Заявляемая демпфирующая дистанционная распорка для проводов воздушной линии электропередачи в основном высокого и сверхвысокого напряжения отличается высокими вибрационными характеристиками, обеспечивая эффективное гашение колебаний от низких до высоких частот, и приемлемой надежностью в течение длительной эксплуатации, так как достигается надежная фиксация распорки на проводах линии, из-за исключения прокручивания провода в плашках (за счет специальной насечки в них) и уменьшения воздействия изгибающих моментов на демпфирующие элементы демпфирующих узлов за счет использования болтов специальных крепежных элементов с мелкой резьбой, а также самостопорящих приспособлений, а именно цельнометаллических самостопорящихся гаек.

[13]

Источники информации

[14]

1]. Описание изобретения к патенту «Распорка-гаситель для проводов расщепленной фазы воздушной линии электропередачи» №2331147, Н02G 7/12, заявлено 06.04.2007, опубликовано 10.08.2008 Бюл. №22.

[15]

[2]. Описание изобретения к патенту «Распорка-демпфер для проводов воздушной линии электропередачи» №2375800, Н02G 7/12, заявлено 14.11.2008, опубликовано 10.12.2009.

[16]

[3]. Описание изобретения к патенту «Распорка-гаситель для двух проводов расщепленной фазы воздушной линии электропередачи» №2334327, Н02G 7/00, заявлено 21.05.2007, опубликовано 20.09.2008 Бюл. №26.

[17]

[4]. Патент на полезную модель «Внутрифазная изолирующая распорка» №136930, Н02G 7/12, заявлен 17.07.2013, опубликован 20.01.2014.

[18]

[5]. Описание изобретения к авторскому свидетельству «Дистанционная распорка-гаситель колебаний проводов расщепленной фазы воздушной линии электропередачи» №1823057, Н02G 7/12, 7/14, заявлено 17.05.1990, опубликовано 23.06.19938 Бюл. №23.

[19]

[6]. Европейский патент «Демпфирующая распорка для проводов расщепленной фазы высоковольтных воздушных линий электропередачи с волоконно-оптическим кабелем внутри расщепленной фазы» №0308692, Н02G 7/12, опубликован 29.09.1989.

[20]

[7]. Описание изобретения к авторскому свидетельству «Дистанционная распорка-гаситель колебаний» №1381636, Н02G 7/12, 7/14, заявлено 31.03.1986, опубликовано 15.03.1988.

Как компенсировать расходы
на инновационную разработку
Похожие патенты