Изобретение относится к системам мониторинга сети устройств самообслуживания (УС). Технический результат заключается в автоматизации устранения технических нарушений в работе УС. Система содержит УС, связанное с сервером, причем УС содержит вычислительное устройство, запоминающее устройство и средство сетевой передачи данных, причем запоминающее устройство содержит модуль агента и модуль диспетчера, сервер содержит вычислительное устройство, запоминающее устройство и средство сетевой передачи данных, причем сервер содержит модуль агента, модуль диспетчера и модуль хранения данных технического состояния УС, причем модуль агента сервера обеспечивает выявление типа данных, соответствующих сбою УС для функции УС, осуществление классификации полученных данных по типу нарушений функционирования УС, формирование отчета на основании выполненной классификации по техническому состоянию УС и на основании сформированного отчета инициацию процедуры устранения технических нарушений в работе УС, включающую в себя идентификацию требуемого действия на основании классификации параметров технического состояния УС, при этом осуществляется удаленное соединение с УС для устранения программной ошибки и/или формирование заявки на технические работы для обслуживающего персонала. 9 з.п. ф-лы, 1 табл., 4 ил.
1. Система мониторинга сети устройств самообслуживания (УС), содержащая: по меньшей мере одно УС, связанное с по меньшей мере одним сервером, причем УС содержит по меньшей мере вычислительное устройство, по меньшей мере одно запоминающее устройство и средство сетевой передачи данных, причем по меньшей мере одно запоминающее устройство содержит функционирующие посредством обработки вычислительным устройством: модуль агента, выполненный с возможностью мониторинга и сбора данных о техническом состоянии УС, фиксации наступления критических событий в работе УС и уведомлении сервера о наступлении данных событий, модуль диспетчера, выполненный с возможностью запроса у модуля агента данных о состоянии УС и передачи упомянутых данных на по меньшей мере один сервер с помощью средства сетевой передачи данных; сервер содержит по меньшей мере вычислительное устройство, по меньшей одно запоминающее устройство и средство сетевой передачи данных, причем сервер содержит модуль агента, модуль диспетчера и модуль хранения данных технического состояния УС, причем модуль агента выполнен с возможностью запроса через модуль диспетчера сервера данных о техническом состоянии УС, модуль диспетчера сервера выполнен с возможностью обмена данными с модулем диспетчера УС, и модуль хранения данных о техническом состоянии УС выполнен с возможностью записи получаемой информации о техническом состоянии УС, причем модуль агента сервера также обеспечивает на основании полученных данных технического состояния от УС: - выявление по меньшей мере одного типа данных, соответствующих сбою УС для по меньшей мере одной функции УС; - осуществление классификации полученных данных по типу нарушений функционирования УС; - формировании отчета на основании выполненной классификации по техническому состоянию УС; и - на основании сформированного отчета инициировать процедуру устранения технических нарушений в работе УС, которая включает в себя идентификацию требуемого действия на основании классификации параметров технического состояния УС, при этом упомянутая процедура включает в себя удаленное соединение с УС для устранения программной ошибки и/или формирование заявки на технические работы для обслуживающего персонала. 2. Система по п. 1, характеризующаяся тем, что с помощью модуля агента УС техническое отклонение фиксируется для работы УС и/или его функциональной части. 3. Система по п. 2, характеризующаяся тем, что каждое техническое отклонение работы УС содержит уникальный идентификатор (УИД) и время его фиксации. 4. Система по п. 2, характеризующаяся тем, что с помощью модуля агента УС дополнительно фиксируется работа УС и/или его функциональной части на каждом стейте осуществления процедуры транзакции. 5. Система по п. 1, характеризующаяся тем, что с помощью модуля агента УС для каждого технического сбоя в работе УС фиксируется цепочка событий технического состояния работы УС, предшествующего данному событию. 6. Система по п. 4, характеризующаяся тем, что также фиксируют данные пользователя УС в момент выполнения транзакции. 7. Система по п. 6, характеризующаяся тем, что данные пользователя УС дополнительно включают в себя фотоизображение пользователя и/или видеозапись пользователя. 8. Система по п. 1, характеризующаяся тем, что модуль агента сервера осуществляет классификацию данных по каждому УС на основании по меньшей мере типа выполненных УС операций. 9. Система по п. 1, характеризующаяся тем, что процедура устранения технической неисправности, инициированная модулем агента сервера, включает в себя автоматизированное удаленное соединение с УС для устранения программной ошибки и/или формирование заявки на технические работы для обслуживающего персонала. 10. Система по п. 9, характеризующаяся тем, что заявка содержит по меньшей мере информацию об отклонении работы УС и идентификационную информацию УС.
ОБЛАСТЬ ТЕХНИКИ [0001] Данное техническое решение, в общем, относится к области вычислительной техники, а в частности к системам и способам управления работоспособностью сети устройств самообслуживания (УС). УРОВЕНЬ ТЕХНИКИ [0002] Банковские автоматы или устройства самообслуживания быстро сыграли ключевую роль в осуществлении финансовых транзакций. Поэтому важность эффективного мониторинга устройств самообслуживания продолжает расти. Устройства самообслуживания позволяют клиентам осуществлять различные финансовые операции, включая депозиты, переводы средств между счетами, платежи по счетам, запросы сальдо, снятие наличных денег ит.п. [0003] Устройства самообслуживания обычно размещаются в местах, где клиенты устройств самообслуживания могут быстро и удобно выполнять транзакции, включая перевод денежных средств. В некоторых случаях устройства самообслуживания принадлежат юридическому лицу (например, финансовому учреждению), а управляются другим субъектом, таким как поставщик услуг, который заключил контракт с финансовым учреждением по обслуживанию. В этом случае поставщик услуг является оператором устройства самообслуживания. [0004] Операторы размещают устройства самообслуживания в местах, где клиенты могут быстро и удобно выполнять транзакции, по ряду причин. Например, владелец ресторана может приобрести устройство самообслуживания для размещения в ресторане, чтобы увеличить прибыль в баре ресторана. Финансовые учреждения обычно осуществляют мониторинг крупных сетей устройств самообслуживания, которые позволяют клиентам финансовых учреждений иметь больше свободы при совершении финансовых транзакций. [0005] Операторы устройств самообслуживания (иногда ATM от англ. Automated teller machine), которыми могут быть банкоматы, должны эффективно осуществлять мониторинг каждого банкомата, а также всей сети банкоматов для контроля работы всей сети на основании анализа данных, поступающих от агента мониторинга, размещенного на банкомате, а также данных центральной фронтальной системы финансового учреждения. Эксплуатируемый банкомат должен правильно функционировать (т.е. без механических или электрических сбоев) и содержать достаточную сумму денежных средств для обработки каждой транзакции, запрашиваемой клиентом банкомата. Если банкомат не работает, клиент обычно находит банкомат другого финансового учреждения и использует этот банкомат для выполнения транзакции. Оператор нерабочего банкомата может потерять доход, связанный с будущими транзакциями, если клиент не вернется к этому оператору банкомата из-за негативного опыта эксплуатации, в связи с чем мониторинг работоспособности сети устройств самообслуживания является очень важной задачей в уровне техники. [0006] Современные системы мониторинга сети устройств самообслуживания являются затратными для реализации и ограничены по функциональности. Дополнительно данные системы часто реализуются сторонними поставщиками услуг, что усложняет работу по обработке претензий пользователей. [0007] Из уровня техники известен патент US 5984178 A «Fault monitoring and notification system for automated banking machines», патентообладатель: Diebold Nixdorf Inc, дата публикации: 16.11.1999. В данном техническом решении система получает сообщения о состоянии от банковских машин, работающих в сети. Сообщения принимаются системой управления событиями, работающей по меньшей мере на одном компьютере, который находится в оперативном соединении с хранилищем данных. Система управления событиями принимает сообщения и помещает их в единый стандартный формат сообщения для дальнейшей обработки. Компьютер создает записи о проблемах в хранилище данных в ответ на сообщения банковских машин. Система дополнительно предоставляет данные в виде отчета пользователю, который позволяет пользователю анализировать работу банковских машин и финансовых учреждений в целом. Также в системе реализованы возможности тестирования для проверки правильной работы системы. [0008] Таким образом, в уровне техники существует потребность в увеличении оперативности реагирования на технические неисправности, возникающие в канале УС при мониторинге большого парка устройств, с обеспечением классификации ошибок для более точного определения требуемых действий по их устранению и нормализации работы УС. СУЩНОСТЬ ИЗОБРЕТЕНИЯ [0009] Техническое решение направлено на устранение недостатков, присущих существующим решениям из известного уровня техники. [0010] Технической проблемой, решаемой с помощью заявленного решения, является автоматизация мониторинга финансового и технического состояния устройств самообслуживания. [0011] Техническим результатом является повышение оперативного реагирования на нарушение работоспособности устройств самообслуживания для восстановления его нормальной работоспособности в случае технического сбоя. [0012] Дополнительным техническим результатом является оперативное устранение проблем в предоставлении услуг пользователям. [0013] Данный технический результат достигается с помощью реализации системы мониторинга сети УС, которая содержит: по меньшей мере одно УС, связанное с по меньшей мере одним сервером, причем по меньшей мере одно УС, связанное с по меньшей мере одним сервером, причем УС содержит по меньшей мере вычислительное устройство, по меньшей мере одно запоминающее устройство и средство сетевой передачи данных, причем по меньшей мере одно запоминающее устройство содержит функционирующие посредством обработки вычислительным устройством: модуль агента, выполненный с возможностью мониторинга и сбора данных о техническом состоянии УС, фиксации наступления критических событий в работе УС и уведомлении серверной части о наступлении данных событий, модуль диспетчера, выполненный с возможностью запроса у модуля агента данных о состоянии УС и передачи упомянутых данных на по меньшей мере один сервер с помощью средства сетевой передачи данных; сервер содержит по меньшей мере вычислительное устройство, по меньшей одно запоминающее устройство и средство сетевой передачи данных, причем сервер содержит модуль агента, модуль диспетчера и модуль хранения данных технического состояния УС, причем модуль агента выполнен с возможностью запроса через модуль диспетчера сервера данных о техническом состоянии УС, модуль диспетчера сервера выполнен с возможностью обмена данными с модулем диспетчера УС, и модуль хранения данных о техническом состоянии УС выполнен с возможностью записи получаемой информации о техническом состоянии УС, причем модуль агента сервера также обеспечивает на основании полученных данных технического состояния от УС: - выявление по меньшей мере одного типа данных, соответствующих сбою УС для по меньшей мере одной функции УС; - осуществление классификации полученных данных по типу нарушений функционирования УС; - формировании отчета на основании выполненной классификации по техническому состоянию УС; и - на основании сформированного отчета инициировать процедуру устранения технических нарушений в работе УС. [0014] В некоторых вариантах осуществления с помощью модуля агента УС техническое отклонение фиксируется для алгоритма работы УС и/или его функциональной части. [0015] В некоторых вариантах осуществления каждое техническое отклонение работы УС содержит уникальный идентификатор (УИД) и время его фиксации. [0016] В некоторых вариантах осуществления с помощью модуля агента УС дополнительно фиксируется работа УС и/или его функциональной части на каждом стейте осуществления процедуры транзакции. [0017] В некоторых вариантах осуществления с помощью модуля агента УС для каждого технического сбоя в работе УС фиксируется цепочка событий техническом состоянии работы УС, предшествующего данному событию. [0018] В некоторых вариантах осуществления фиксируют данные пользователя УС в момент выполнения транзакции. [0019] В некоторых вариантах осуществления данные пользователя УС дополнительно включают в себя фотоизображение пользователя и/или видеозапись пользователя. [0020] В некоторых вариантах осуществления модуль агента сервера осуществляет классификацию данных по каждому УС на основании по меньшей мере типа выполненных УС операций. [0021] В некоторых вариантах осуществления процедура устранения технической неисправности, инициированная модулем агента сервера, включает в себя автоматизированное удаленное соединение с УС для устранения программной ошибки и/или формирование заявки на технические работы для обслуживающего персонала. [0022] В некоторых вариантах осуществления заявка содержит по меньшей мере информацию об отклонении работы УС и идентификационную информацию УС. КРАТКОЕ ОПИСАНИЕ ЧЕРТЕЖЕЙ [0023] На Фиг. 1 приведена схема общего процесса взаимодействия элементов системы. [0024] На Фиг. 2 приведена общая схема УС. [0025] На Фиг. 3 приведена общая схема сервера. [0026] На Фиг. 4 приведена блок-схема процесса мониторинга и обработки технического состояния УС. ПОДРОБНОЕ ОПИСАНИЕ ИЗОБРЕТЕНИЯ [0027] Признаки и преимущества настоящего технического решения станут очевидными из приводимого ниже подробного описания изобретения. [0028] Ниже будут описаны понятия и термины, необходимые для понимания данного технического решения. [0029] В данном техническом решении под системой подразумевается, в том числе компьютерная система, ЭВМ (электронно-вычислительная машина), ЧПУ (числовое программное управление), ПЛК (программируемый логический контроллер), компьютеризированные системы управления и любые другие устройства, способные выполнять заданную, четко определенную последовательность операций (действий, инструкций). [0030] Под устройством обработки команд подразумевается электронный блок либо интегральная схема (микропроцессор), исполняющая машинные инструкции (программы). [0031] Устройство обработки команд считывает и выполняет машинные инструкции (программы) с одного или более устройств хранения данных. В роли устройства хранения данных могут выступать, но не ограничиваясь, жесткие диски (HDD), флеш-память, ПЗУ (постоянное запоминающее устройство), твердотельные накопители (SSD), оптические приводы. [0032] Программа - последовательность инструкций, предназначенных для исполнения устройством управления вычислительной машины или устройством обработки команд. [0033] ATM (Automated Teller Machine) или банкомат программно-технический комплекс, представляющий собой УС и предназначенный для автоматизированной выдачи и/или приема наличных денежных средств как с использованием платежных карт, так и без, а также выполнения других операций, в том числе оплаты товаров и услуг, составления документов, подтверждающих соответствующие операции. [0034] Журнал событий (англ. log) - стандартный способ для приложений и операционной системы записи и централизованного хранения информации о важных программных и аппаратных событиях. Служба журналов событий сохраняет события от различных источников в едином журнале событий, которая позволяет пользователю наблюдать за журналом событий, программный интерфейс (API) позволяет приложениям записывать в журнал информацию и просматривать существующие записи. [0035] Как представлено на Фиг. 1 основными компонентами системы являются одно или более УС (100), объединенное посредством сети передачи данных с сервером (200), выполняющим функцию по контролю технического состояния УС. Сервер (200) в свою очередь также может быть соединен с одним или более устройством пользователей (300), которое может получать от сервера (200) уведомления о наступлении тех или иных событий, связанных с техническим состоянием УС (100). Система также включает в себя сервер обработки транзакций (400), выполняющий обработку транзакционных процессов в УС (100). [0036] Как правило, сетевой обмен между УС (100) и сервером (200) осуществляется с использованием протокола TCP/IP, но при необходимости могут применяться различные протоколы связи, обеспечивающие необходимый уровень информационного обмена, например, WAN, GSM, GPRS, Wi-Fi, LTE, Интернет, Интранет, LAN и т.п. [0037] На Фиг. 2 представлена общая схема УС (100). В общем случае УС (100) включает в себя вычислительное устройство (101), которое представляет собой по меньшей мере один процессор, предназначенное для обработки информации при выполнении УС (100) своих функций по осуществлению финансовых транзакций. [0038] УС (100) содержит как минимум одно запоминающее устройство (102), которое представляет собой ОЗУ для хранения информации, подлежащей оперативной обработке. [0039] Дополнительно запоминающее устройство (102) может также представлять собой совокупность нескольких средств для хранения информации, в частности, жесткий диск (HDD), твердотельный накопитель (SSD), флэш-память, оптические накопители информации и т.п. Совокупность необходимых устройств (102) определяется исходя из требований архитектурного аппаратного воплощения УС (100). [0040] Средство сетевой передачи данных (103) может представлять собой одно или более устройств, предназначенных для обеспечения передачи информации посредством вычислительной сети проводного и/или беспроводного типа, например, LAN (Ethernet), Wi-Fi, WAN, PAN, GSM-модем (GPRS, LTE, 5G), модуль спутниковой связи и т.п. [0041] Дисплей УС (104) может выполняться в виде ЖК-экрана. Дисплей (104) может выполняться сенсорным и дополнительно содержать защитное стекло и/или антивандальное покрытие. [0042] Средства ввода/вывода информации (105) могут выбираться из широкого спектра средств для организации взаимодействия с УС (100). Такими средствами могут выступать: клавиатура (ПИН-пад), дисплей или сенсорный дисплей, сенсорная панель, джойстик, тач-пад, модуль голосового управления, динамики, вибродатчики и т.п. [0043] Средство выдачи денежных средств (ДС) (106) представляет собой, как правило, диспенсер банкомата или терминала для выдачи банкнот. [0044] Средство приема ДС (107) выполняется в виде отсека для внесения банкнот для осуществления транзакции. [0045] Также основным элементом УС (100) предусматривается картридер для обработки платежных карт, и принтер для печати чеков по статусу обработки транзакций. Данные элементы на схеме не представлены. [0046] УС (100) также может содержать камеру (108), предназначенную для наблюдения за пользователем банкомата, окружающей обстановкой, причем изображения, получаемые камерой (108), могут применяться для идентификации лица, выполняющего взаимодействие с УС (100). [0047] Средство биометрической идентификации (109) может выполняться в виде программного модуля, работающего в паре с камерой (108), при обработке изображений пользователя УС (100). Также, устройство (109) может представлять собой дактилоскопический сканер, сканер сетчатки глаза или модуль голосовой идентификации пользователя. [0048] Программно-аппаратные элементы УС (100) объединяются между собой посредством информационной и/или универсальной шины (110). [0049] На Фиг. 3 представлена общая архитектура сервера мониторинга УС (200). Сервер (200) выполняется на базе вычислительной машины, например, компьютера типа 1MB PC, Apple Macintosh, Эльбрус и т.п. [0050] Сервер (200) содержит вычислительное устройство (201), представляющее собой процессор или несколько процессоров. Запоминающее устройство (202), которое представляет собой ОЗУ и содержит исполняемую программную логику, реализующую необходимые функции по обработке данных. [0051] Сервер (200), как правило, дополнительно содержит запоминающее устройство (202) в виде средство хранения данных, представляющее собой ПЗУ, например, жесткий диск (HDD), твердотельный накопитель (SSD), флэш-память и т.п. [0052] Средство хранения данных предназначено для долгосрочного хранения информации и связано с модулем хранения данных технического состояния УС (203). Работа модуля будет описана ниже. [0053] Интерфейсы ввода/вывода (204) представляют собой стандартные решения для обеспечения взаимодействия с внутренними и внешними (подключаемыми) компонентами сервера (200). Интерфейсы (205) выбираются из группы: COM, LPT, VGA, PCI, PCI-E, USB, RJ-45, RS-232, Lightning, HDMI, DVI, FireWire, аудиовыход и т.п. [0054] Средства ввода/вывода информации (205) могут выбираться из широкого спектра средств для организации взаимодействия с сервером (200). Такими средствами могут выступать: клавиатура, дисплей или сенсорный дисплей, сенсорная панель, джойстик, тач-пад, модуль голосового управления, динамики, вибродатчики, проектор, средство виртуальной или дополненной реальности и т.п. [0055] Средство сетевой передачи данных (206) может представлять собой одно или более устройств, предназначенных для обеспечения передачи информации посредством вычислительной сети проводного и/или беспроводного типа, например, LAN (Ethernet), Wi-Fi, WAN, PAN, GSM-модем (GPRS, LTE, 5G), модуль спутниковой связи и т.п. [0056] Программно-аппаратные элементы сервера (200) объединяются между собой посредством информационной и/или универсальной шины (210). [0057] Далее будет детально представлен принцип работы заявленной системы. [0058] Архитектурно, заявленная система состоит из взаимодействующих между собой серверной (200) и клиентской частей в виде УС (100). Организация работы системы обусловлена информационным обменом необходимой информацией между агентами мониторинга, расположенными на серверной части и УС (1021, 2021). [0059] Модуль агента мониторинга, расположенный на серверной части (2021) представляют из себя ядро (коммуникационный сервис) и набор функциональных библиотек, непосредственно обеспечивающих выполнение прикладных задач по отслеживанию и диагностике наступления событий, отражающих техническое состояние УС (100). [0060] На стороне УС (100) модуль агента мониторинга (1021) с помощью функциональных библиотек взаимодействуют с программным обеспечением УС (100) и операционной системой, содержащейся на запоминающем устройстве (102). [0061] На стороне сервера мониторинга (200) модуль агента (2021) взаимодействует с соответствующей операционной системой (2022) и базой данных системы, содержащейся в модуле хранения данных (203). [0062] Модуль агента УС (1021) выполняет мониторинг и сбор данных о техническом состоянии УС (100). При обнаружении отклонений в работе УС (100) модуль (1021) фиксирует наступление данного события и записывает его в лог или журнал событий. [0063] Модуль (1021) также осуществляет распознавание типа выявленных событий оп степени их важности, в частности, осуществляет определение критических событий в работе УС (100), которые приведут к полной потери работоспособности УС (100) или затруднению последующей его работы на требуемом уровне в части осуществления транзакций. При выявлении такого рода событий, модуль (1021) формирует незамедлительное уведомлении серверной части модуля агента (2021) о наступлении данных событий для оперативного реагирования. [0064] Модуль диспетчера УС (1022) предназначен для запроса у модуля агента (1021) данных о состоянии УС и передачи упомянутых данных в серверный модуль агента (1022) посредством средства сетевой передачи данных (103) и коммуникации с серверным модулем диспетчера (2022). Модуль диспетчера выполняется как функциональная библиотека, реализующая прикладной протокол взаимодействия агентов сервер и УС (1021, 2021). [0065] Информация, получаемая от УС (100) и характеризующая его техническое состояние, может загружаться в виде пакетов данных. Данную информацию можно запросить у УС (100) как в ручном, так и в автоматизированном режиме, например, через заданные промежутки времени. [0066] Каждый сеанс соединения между модулями агента мониторинга УС (1021) и сервера (200) начинается с выполнения процедуры аутентификации, что исключает возможность взаимодействия агента УС (1021) с сервером, не обладающим должными идентификационными параметрами. Для обеспечения аутентификации используется механизм цифровой подписи, например, на базе алгоритма RSA. [0067] При установке соединения между УС (100) и сервером мониторинга (200), стороны в первую очередь обмениваются аутентифицирующей информацией: [0068] При запуске или непосредственной работе УС (100), модуль агента (1021) на основании xml-файла описания осуществляет сбор статусной и конфигурационной информации о текущем состоянии УС (100) и формирует выходной xml-файл для отправки на серверную часть агента (2021). Упомянутый xml-файл содержит параметры работы УС (100) и/или его узлов, часть параметров имеет критическую идентификацию их отклонения. Мониторинг данных параметров является наиболее приоритетным при генерировании сигнализации о нарушении работы УС (100). [0069] При отправке информации на серверную часть агента (2021), с помощью модуля агента УС (1021) формируется xml-файл, содержащий необходимую информацию о техническом состоянии УС (100). [0070] После инициирования процедуры обмена данными технического состоянии УС (100) и отправки их на сервер (200), диспетчер серверной части (2 022) осуществляет получение данных от модуля диспетчера УС (1022) и передает их в модуль хранения (203). [0071] Как указывалось выше, информация, получаемая от УС (100), отображающая статус его технического состояния, может характеризовать состояние УС (100) в конкретный момент времени или содержать данные о его работе за прошедший промежуток времени. Информация может передаваться в виде журналов, логов или иного вида, отображающего отклонение в его работе или функциональной части. [0072] Передаваемая информация от УС (100) содержит идентификационные данные самого устройства, например, уникальный идентификатор (УИД) банкомата, УИД технического отклонения работы или УИД ошибки, возникшей при работе УС (100), время фиксации отклонения и т.п. [0073] УИД также присваивается функциональным частям УС (100) для идентификации выхода из строя или нарушению их работы, например, диспенсер, принтер, пин-пад, кардридер, дисплей, сейфовый отсек и т.п.Функциональные части УС (100) могут также содержать идентификаторы их составных частей. Информация о состоянии УС (100) может также включать общий показатель состояния как всего УС (100), так и его отдельных функциональных частей и/или их составных частей. [0074] Помимо технического состояния работы УС (100) или его частей, модуль агента УС (1021) осуществляет мониторинг работы программного исполнения необходимых функций. При работе клиента с УС (100) при осуществлении транзакции важным аспектом является контроль работы стейтов на каждом шаге транзакции. [0075] Каждая транзакция, исходя из своих особенностей, имеет различное количество стейтов (состояний) необходимых для выполнения транзакции. Нарушение работы при выполнении стейтов фиксируется и передается в модуль агента серверной части (2021). [0076] Такими нарушениями могут быть, например, нарушение сетевого соединения между УС (100) и сервером обработки транзакций (400), программный сбой при выдаче банкнот, ошибка идентификации пользователя и т.п. [0077] Каждый стейт выполнения транзакции содержит свой УИД и нарушение его исполнение оперативно классифицируется с помощью модуля агента серверной части (2021). [0078] При получении данных о возникновении технического отклонения в УС (100), может осуществляться формирование предшествующей данному событию цепочке работы УС (100), в частности, его аппаратной и программной частей. Данная детализация позволяет более точно выявить причину возникновения технического сбоя при нарушениях работы УС (100). [0079] По анализу цепочки событий до момента наступления технического сбоя можно определить конкретный функциональный элемент или программный стейт УС (100), приводящий к нарушению его нормального технического функционирования. [0080] Модуль агента серверной части (2021) фиксирует наступление события, отражающего технический сбой, посредством сравнения заложенных показателей эталонной работы УС (100) или его элементов с параметрами (откликами) работы УС (100) при выполнении транзакций с учетом эталонных параметров для каждого типа УС (100). Для критических событий, например, исчерпание банкнот для выдачи, в xml-файле, хранящемся на УС (100), при генерировании данного УИД события и временной отметки, модуль мониторинга УС (1021) инициирует автоматически процедуру оповещения модуля мониторинга сервера (2021) для осуществления процедуры восстановления технического состояния УС (100). [0081] Упомянутая процедура может представлять собой формирование заявки на выполнение технического обслуживания, которая автоматически формируется и передается на требуемое устройство пользователя (300). Устройство пользователя (300) связано посредством соответствующих идентификаторов с тем или иным событием, возникающем в канале УС (100), для осуществления необходимого реагирования в каждом конкретном случае. [0082] Исправление работы УС (100) может также осуществляться непосредственно дистанционно с помощью модуля агента сервера (2021). В частности, при возникновении программных сбоев в работе УС (100), модуль (2021) при классификации данного типа сбоя осуществляет проверку на возможность дистанционного внесения изменений в программную часть программной логики УС (100) для исправления его технического состояния. [0083] При выполнении транзакционных стейтов, как правило, могут возникать ошибки программного обеспечения, которые могут быть решены с помощью обновления программного обеспечения УС (100). Данная процедура может осуществляться автоматически с помощью передачи необходимой информации с помощью диспетчера серверной части (2022), генерируемой непосредственно модулем мониторинга сервера (2021), или при получении внешней команды от устройства (300). Распознавание отклонений в работе, которые могут быть исправлены в автоматизированном режиме, также осуществляется с помощью анализа соответствующих УИД сбоев для частей УС (100). [0084] Модуль агента УС (1021) может также осуществлять сбор информации, идентифицирующей клиента, выполняющего операции по выполнении транзакционных операций с помощью УС (100). Данная информация также передается на сервер (200) для ее учета и использования для решения конфликтных ситуаций. [0085] Таким типами ситуаций может быть частичная выдача ДС клиенту, сбой в выполнении операции, противоправные действия со стороны клиента и т.п. [0086] Информация по клиенту может быть получена по данным карты оплаты, биометрической информации или изображению, полученному с камеры УС (100). [0087] Ниже в качестве примера приведена таблица классификации сбоев, возникающих в канале УС (100). [0088] С отсылкой к Фиг. 4 далее будет рассмотрен способ работы (500) заявленной системы. На первоначальном этапе (501) модуль агента УС (1021) осуществляет сбор данных о его техническом состоянии, включая параметры в простое и при выполнении операций. Полученная модулем (1021) информация записывается на одном из запоминающем устройстве УС (102). [0089] Модуль агента серверной части (2021) периодически опрашивает модуль агента УС (1021) для получения параметров технического состояния УС (100). Пользователи системы мониторинга могут также инициировать форсированное получение данных от УС (100). [0090] В случае обнаружения отклонений в технической работе УС на этапе (503) осуществляется проверка следующего типа: являются данные отклонения критическими в работе УС (100) и необходимы ли они отправке на сервер (200) для сигнализирования наступления данного события (этап 504), или данные отклонения являются допустимыми в пределах нормы. [0091] Если отклонения являются не критическими, то проверяется необходимость их отправки на сервер (200) или же сохранение в УС (100) для последующей пакетной отправки при опросе модуля агента УС (1021) модулем агента серверной части (2021). Необходимость отправки данных на сервер (200) определяется на этапе (505). [0092] На этапе (506) модуль агента серверной части (2021) осуществляет обработки полученных данных от УС (100), выполняет классификацию параметров технического состояния и определению инициирования необходимых процедур для их устранения с помощью анализа соответствующих УИД, идентифицирующих УС, элемент технического сбоя, программного стейта (состояния) или иной информации, позволяющей однозначно идентифицироваться требуемой действие, которое необходимо осуществить для восстановления работоспособности УС (100). [0093] При необходимости формирования заявки на техническое обслуживание, ее формирование выполняется автоматически и передается на соответствующее одно или более устройств (300). Заявка может также передаваться по различным каналам и в различной форме, например, сообщение электронной почты, CMC сообщение, PUSH-уведомление, посредством уведомлений в чат-каналах (чат-бот) и т.п. [0094] Модуль агента серверной части (2021) формирует отчеты по техническому состоянию каждого УС (100) на основании выполненной классификации отклонений технического функционирования УС (100). Отчеты могут содержать отметки по показателям работы УС (100), которые могут перейти в раздел критических нарушений и привести к полному выходу УС (100) из строя. [0095] Структура отчетов может настраиваться под нужды каждого пользователя системы (300) с отображением только необходимой информации, что может быть обусловлено, специализацией пользователя, назначением его функциональной работы и т.п. [0096] Процессы, описанные в этом документе, могут выполняться последовательно по времени, в соответствии с описанием, или могут выполняться параллельно или отдельно, в зависимости от характеристик обработки устройства, выполняющего процессы, или в соответствии с необходимостью. [0097] Система, описанная в данном документе, представляет собой набор множества устройств и не ограничивается единственным конкретным воплощением ее структуры, которая может иметь иные, частные формы реализации с обеспечением требуемой функциональности для реализации ее назначения и достижения технического эффекта.
сервер мониторинга (200) отправляет на УС (100) свой публичный ключ, подпись его на ключе центрального сервера и подпись константных данных на собственном ключе;
агент УС (1021) на основании имеющегося у него публичного ключа центрального сервера проверяет соответствие присланного ему публичного ключа с присланной подписью центрального сервера;
в случае успешной проверки подписи присланного ключа, агент УС (1021) осуществляет уже на этом ключе присланную подпись константных данных;
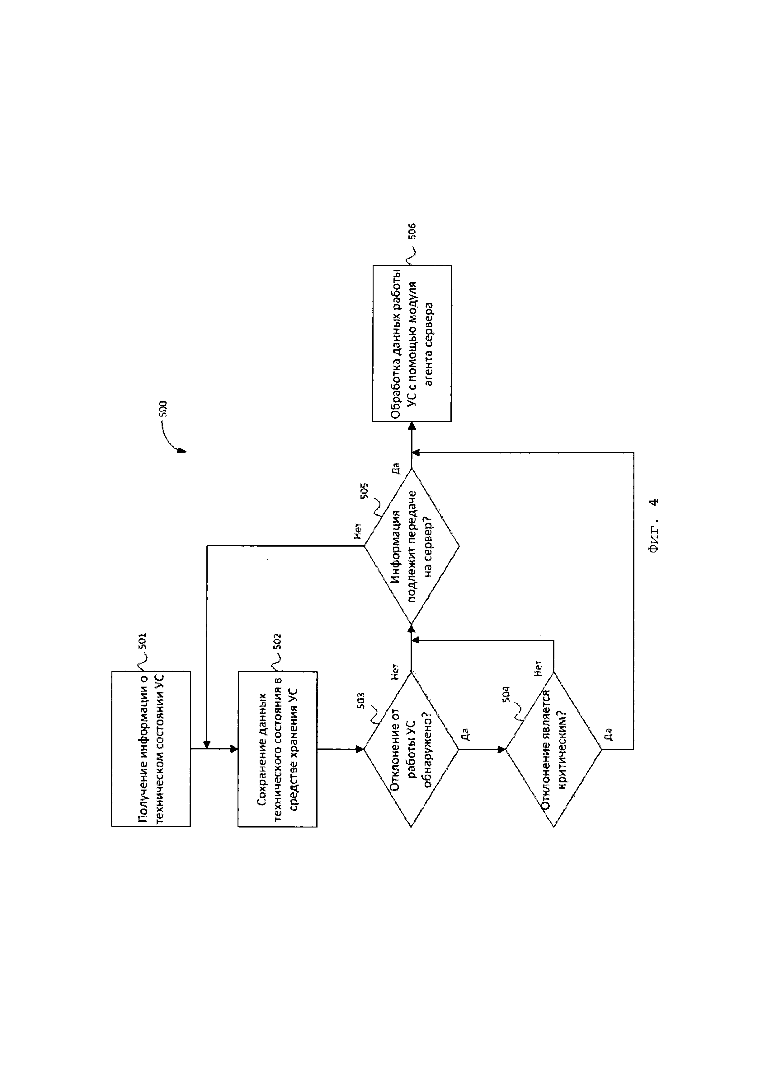
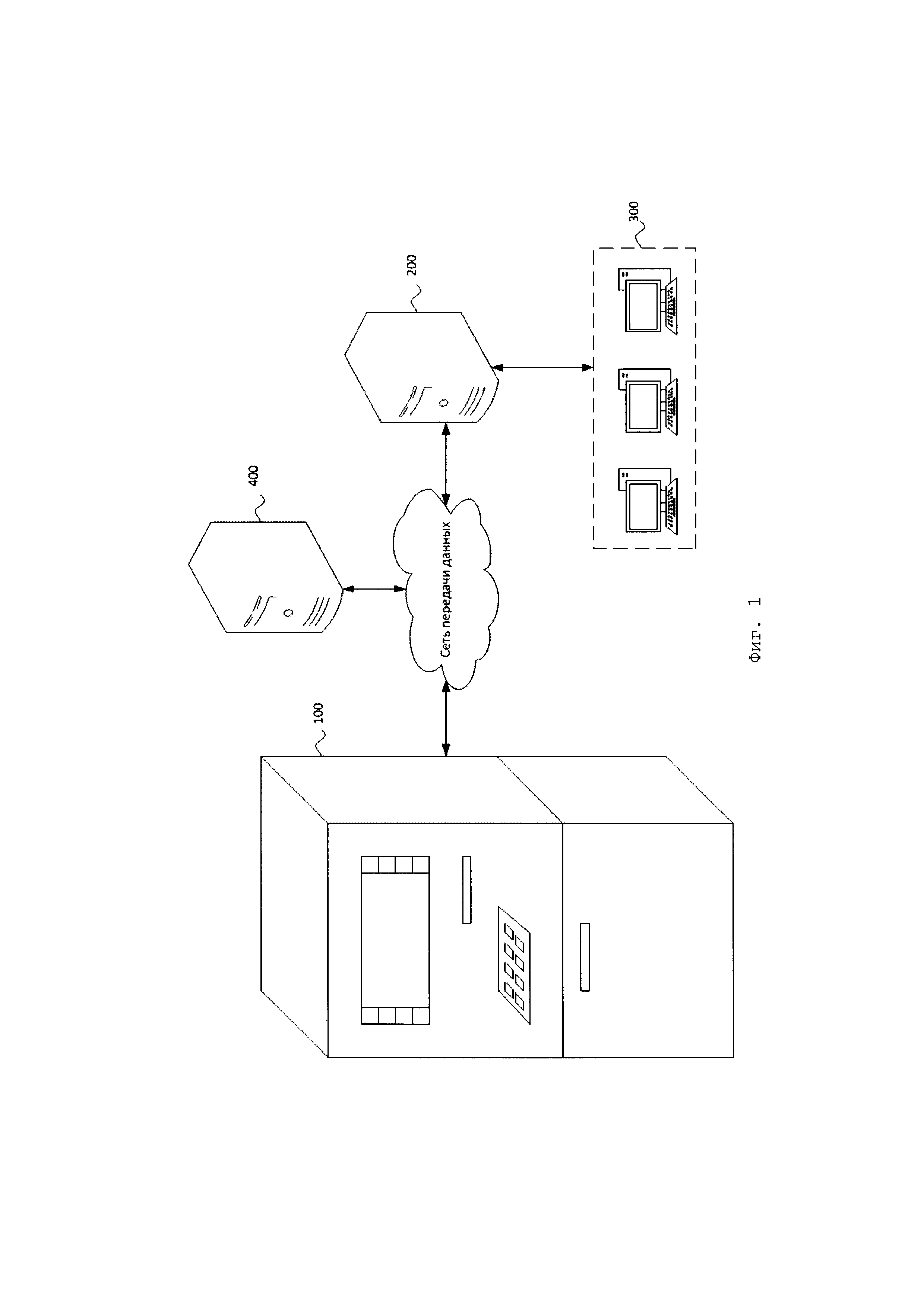
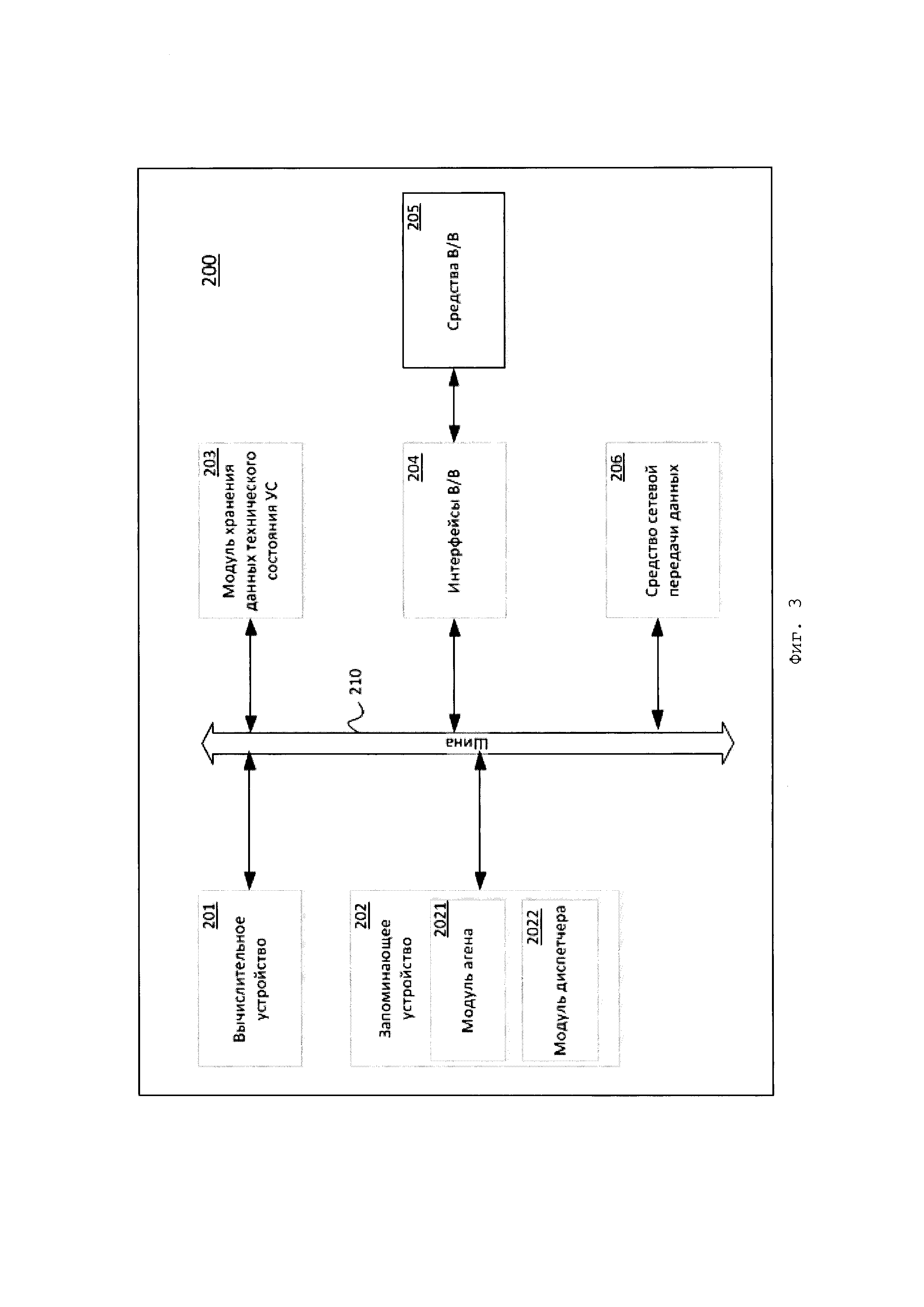
в случае успешной проверки подписи константных данных, соединение считается аутентифицированным и разрешается дальнейшее взаимодействие по прикладному протоколу через соответствующие модули диспетчеров (2021, 2022).

