Изобретение относится к атомной энергетике и может быть использовано при эксплуатации ядерных реакторов космических установок. Способ пуска ядерного реактора космического назначения содержит этапы, на которых определяют зависимость эффективного коэффициента размножения от температуры при выведенных поглощающих элементах Кэф(Т), зависимость реактивности поглощающих элементов от их положения ρ=α(х-x), значение максимального люфта привода поглощающих элементов и запускают реактор путем вывода поглощающих элементов, при этом до пуска задают период τразгона реактора и реактивность ρ, измеряют температуру реактора перед пуском Тдатчиками и определяют ρ- реактивность реактора при температуре Т, вычисляют величину вывода поглощающих элементов хпо зависимости ρ-ρ=ƒ(х), а вывод поглощающих элементов осуществляют с максимальной скоростью до положения х, после чего вводят поглощающие элементы с той же скоростью на величину максимального люфта. Технический результат – обеспечение снижения времени запуска, гарантированного соблюдения ограничений по скорости разгона, исключения паразитных выбросов мощности и связанных с этим перегревов и термокачек. 1 з.п. ф-лы, 3 ил.
1. Способ пуска ядерного реактора космического назначения, заключающийся в том, что предварительно определяют зависимость эффективного коэффициента размножения от температуры при выведенных поглощающих элементах Кэф(Т), зависимость реактивности поглощающих элементов от их положения ρx=αx(x-xmax), значение максимального люфта привода поглощающих элементов и осуществляют пуск реактора путем его вывода на минимально контролируемый уровень мощности NМКУ за счет вывода поглощающих элементов с последующим автоматическим включением регулятора нейтронной мощности с программным увеличением задания мощности, отличающийся тем, что дополнительно до начала пуска задают период τ0 разгона реактора и реактивность ρ0, измеряют температуру реактора в момент, предшествующий пуску Т00, определяют истинную реактивность реактора ρ00 при фактической температуре Т00, вычисляют величину вывода поглощающих элементов x3 по зависимости ρ00-ρ0=ƒx(x3), а вывод поглощающих элементов осуществляют с максимальной скоростью v1 до вычисленного положения x3, после чего вводят поглощающие элементы с той же скоростью на величину максимального люфта и фиксируют в данном положении. 2. Способ по п. 1, отличающийся тем, что измеряют температуру реактора в момент, предшествующий пуску Т00, датчиками внутриреакторного контроля или, измеряя температуру теплоносителя.
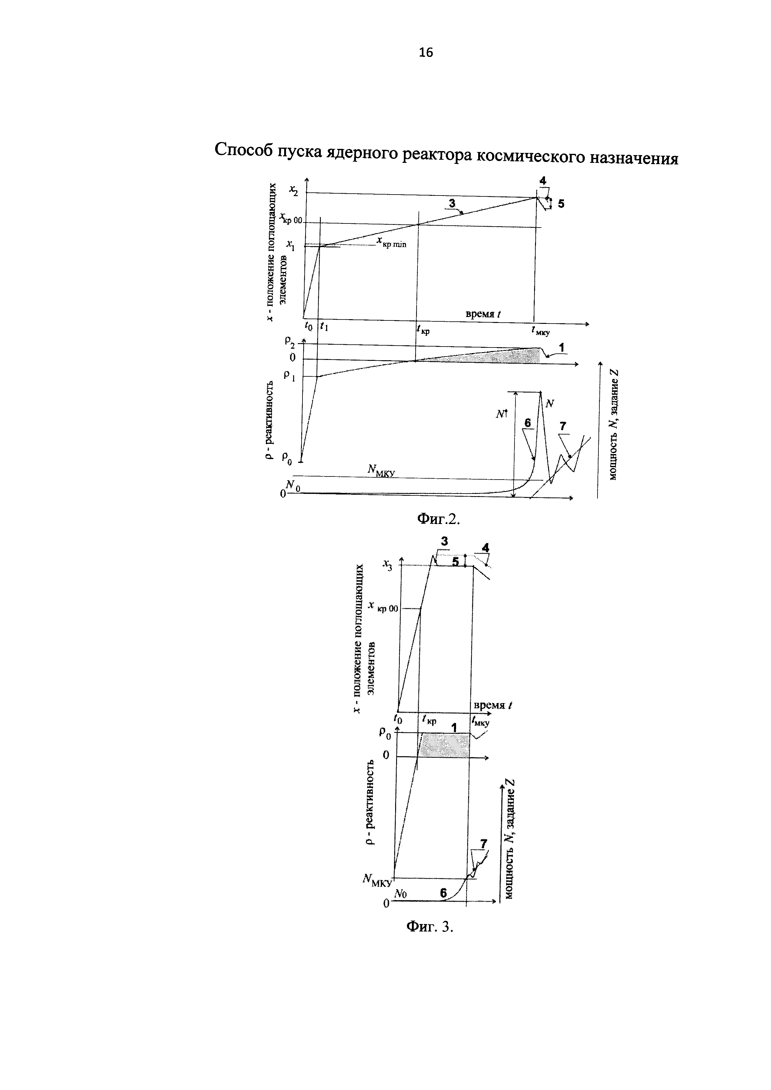
Область техники Настоящее изобретение относится к космической технике и атомной энергетике и может быть использовано при разработке и эксплуатации ядерных реакторов космических энергетических и двигательных установок. Уровень техники Пуск ядерных реакторов в составе космического аппарата (КА) происходит, как правило, в полностью автоматическом режиме. До выхода ядерной энергоустановки на номинальный уровень электрической мощности все энергопитание КА обеспечивается заряженной на Земле аккумуляторной батареей, емкость которой ограничена. Поэтому задача сокращения времени пуска является актуальной для ядерной энергоустановки космического назначения с любым типом преобразования энергии деления в электричество - термоэлектрическим, термоэмиссионным или машинным. Эта задача тем более актуальна для установок, выводимых на мощность на высокой орбите, достижение которой требует более продолжительного времени, а из-за низкой температуры окружающей среды (космического пространства) возможно замерзание теплоносителя. В соответствии с п. d) Резолюции Генеральной ассамблеи ООН A/RES/47/69 от 23 февраля 1993 года https://documents-dds-ny.un.org/doc/UNDOC/GEN/N93/104/20/IMG/N9310420.pdf?OpenElement [1] ядерные реакторы космических энергетических установок не выводятся на критический уровень до достижения ими эксплуатационной орбиты; до этого момента, в соответствии с п. е) той же Резолюции, конструкция реактора обеспечивает подкритичность до вывода на эксплуатационную орбиту во время всех возможных событий, включая взрыв ракеты, возвращение в атмосферу, падение в воду и т.д. Таким образом, в момент начала пуска реактор должен находиться в глубоко подкритическом состоянии. Для размещения на борту КА подходит ядерная энергоустановка (ЯЭУ) с термоэлектрическим или термоэмиссионным преобразованием энергии, описанная в Основах автоматического управления ядерными космическими энергетическими установками. М.: Машиностроение, 1974. [2]. ЯЭУ состоит из реактора, контура охлаждения, системы преобразования энергии, технологического оборудования. Сам реактор включает в себя систему топливных сборок, охлаждаемых теплоносителем, циркулирующим по контуру охлаждения, и систему элементов, регулирующих размножающие свойства реактора. Для описанных в Основах автоматического управления ядерными космическими энергетическими установками. М.: Машиностроение, 1974. [2] реакторов система регулирующих элементов представляет собой расположенный в радиальном отражателе набор поворотных барабанов с поглощающими нейтроны накладками. Поворотные барабаны приводятся в действие одним или несколькими приводами, каждый из которых состоит из двигателя и кинематической системы передачи движения, имеющей определенный люфт. Для предотвращения замерзания теплоносителя в процессе вывода космического аппарата на орбиту ЯЭУ разогревается до запуска носителя с КА до определенной конструкцией установки и КА температуры T0max. В процессе вывода на орбиту установка и реактор остывают, предельно малым значением является температура, близкая к температуре замерзания теплоносителя T0min. Поскольку эффективный коэффициент размножения Кэф любого реактора зависит от температуры, и данная зависимость для каждого конкретного реактора изучается в процессе проектирования и обоснования безопасности (Требования к содержанию отчета по обоснованию безопасности АС с реактором типа ВВЭР. Руководящий документ НП-006-98 [3]), то возможный диапазон значений Кэф также известен. Запуск реактора включает в себя следующие стадии: физический этап пуска - вывод реактора из подкритического состояния в надкритическое, в процессе чего происходит увеличение нейтронной мощности до достижения заранее определенного минимально контролируемого уровня (МКУ), программное увеличение нейтронной мощности под контролем регулятора нейтронной мощности по временному закону, определяемому конструкцией установки в целом и способом преобразования энергии деления в электричество до 100-130% номинальной нейтронной мощности; этап стабилизации нейтронной мощности до момента стабильной генерации электроэнергии; переход к режиму генерации постоянной электрической мощности. В процессе первого (физического) этапа пуска мощность реактора возрастает на 12-16 порядков. Размещение на борту КА мощного пускового источника нейтронов для контроля нейтронной мощности в глубокой подкритике технически труднореализуемо (в отличие от реакторов наземного применения), кроме того, наличие бортового источника значительно затрудняет предпусковые операции КА на технической и стартовой позициях полигона. Таким образом, разгон реактора до надкритического состояния в процессе физического этапа пуска происходит в условиях отсутствия контроля мощности. Расход теплоносителя на физическом этапе пуска равен нулю, поскольку из-за малости мощности охлаждения реактора не требуется; циркуляция теплоносителя включается после достижения определенной мощности. Относительно малая величина минимально контролируемого уровня мощности (не более 0.5% - 3% номинальной) позволяет в штатных условиях увеличивать мощность со скоростью, ограниченной лишь требованием предотвращения разгона на мгновенных нейтронах. В условиях наземных стендовых испытаний скорость нарастания мощности ограничена сверху (или, что то же самое, период разгона - время увеличения мощности в Наиболее близким к заявляемому техническому решению является способ проведения физического этапа пуска описанный в Основах автоматического управления ядерными космическими энергетическими установками. М.: Машиностроение, 1974. [2], заключающийся в непрерывном однонаправленном кусочно-линейном извлечении поглощающих элементов реактора (стержней или поглощающих накладок поворотных барабанов) с разными скоростями без пауз и остановок. Предварительно в процессе проектирования и обоснования безопасности сооружения и эксплуатации ЯЭУ производится определение зависимости коэффициентов размножения от температуры, эффективности группы поглощающих элементов от их положения, а также люфтов кинематической системы - привода органов регулирования. Вначале извлечение производится с максимально технически возможной для данной системы регулирования скоростью до положения, гарантирующего подкритичность во всем диапазоне возможных значений температуры элементов активной зоны реактора в момент запуска (это занимает примерно 1 минуту). После этого скорость уменьшается примерно в 10-12 раз для предотвращения мгновенной критичности в отсутствии контроля мощности. Извлечение с малой скоростью непрерывно продолжается, соответственно, постоянно увеличивается эффективный коэффициент размножения Кэфф. Нейтронная мощность продолжает расти с постоянно уменьшающимся периодом до Минимально Контролируемого Уровня (МКУ) NМКУ (1-5% номинальной, по расчетам и экспериментальным данным длительность этой процедуры составляет примерно 15 минут), после чего автоматически включается регулятор нейтронной мощности, задание мощности которого увеличивается программным способом с заранее выбранной фиксированной скоростью с нуля в начальный момент. Начальный уровень мощности N0 определяется спонтанным делением, космическим излучением (Космическая техника и технологии №1(4). стр 15-21, 2014 г. [4]) или встроенным пусковым источником нейтронов. Недостатками известного способа являются: 1. Необходимость выбора наименьшего из возможных положения поглощающих элементов, при котором должно происходить изменение скорости их вывода - исходя из максимально возможного на момент осуществления пуска эффективного коэффициента размножения, что приводит к непроизводительной трате времени на достижение критсостояния при фактической (на момент запуска) температуре реактора. 2. Неизбежное появление паразитного выбега мощности величиной до 30%-100% номинальной, обусловленного люфтами привода: в момент достижения минимально контролируемого уровня мощности возможные люфты привода выбраны на вывод, компенсация разбаланса мощности и задания происходит с запаздыванием, что и порождает паразитный выбег мощности N↑. Предложенные способы борьбы с этим нежелательным явлением, такие как снижение минимальной скорости извлечения поглощающих элементов, уменьшение люфтов привода, снижение Минимально контролируемого уровня мощности в разы приводит к увеличению времени пуска, усложнению измерительного тракта и возможному снижению ресурса привода системы регулирования реактора. 3. Поскольку начальная мощность реактора в момент пуска известна с точностью до нескольких порядков, а скорость разгона при данном способе тем выше, чем ниже начальная мощность, то разгон реактора может происходить значительно быстрее регламентных величин, что нежелательно с точки зрения требований ядерной безопасности. 4. Нулевое начальное значение задания мощности при включении регулятора нейтронной мощности в данном способе необходимо для гарантированного гашения разгона. Однако в процессе программного увеличения задания и работы регулятора нейтронная мощность не может достаточно точно следовать заданию из-за неизбежных колебаний 5. Начальная скорость увеличения задания мощности никак не связана с истинной скоростью разгона реактора. Для оптимизации временного хода мощности требуется связать скорость разгона реактора и скорость задания в момент включения регулятора мощности, то есть достижения минимально контролируемого уровня мощности. Раскрытие изобретения Технической проблемой, на решение которой направлено заявляемое изобретение, является, сокращение общего времени пуска за счет значительного сокращения времени физического этапа пуска и исключение паразитных выбегов мощности. Техническим результатом, заявленного изобретения является снижение времени запуска, гарантированное соблюдение ограничений по скорости разгона, исключение паразитных выбросов мощности и связанных с этим перегревов и термокачек. В нашем изобретении мы рассматриваем физический этап пуска - вывод реактора из подкритического состояния в надкритическое, в процессе чего происходит увеличение нейтронной мощности до достижения заранее определенного минимально контролируемого уровня (МКУ). Для достижения технического результата предложен способ пуска ядерного реактора космического назначения, заключающийся в том, что предварительно определяют зависимость эффективного коэффициента размножения от температуры при выведенных поглощающих элементах Кэф(Т), зависимость реактивности поглощающих элементов от их положения а вывод поглощающих элементов осуществляют с максимальной скоростью v1 до вычисленного положения х3, после чего вводят поглощающие элементы с той же скоростью на величину максимального люфта и фиксируют в данном положении. Кроме того: - измеряют температуру реактора в момент, предшествующий пуску Т00, датчиками внутри-реакторного контроля или, измеряя температуру теплоносителя. Вышеуказанная совокупность существенных признаков приводит к тому, что значительно снижается непроизводительные затраты времени на достижение уровня мощности, при этом вызывающее заметный нагрев конструкции, с одновременным исключением возможности появления нежелательных выбросов мощности это позволяет снизить величину термокачек, тем самым повысить ресурс и снизить ограничения запасов электроэнергии на борту ядерной установки. Краткое описание чертежей Сущность изобретения поясняется чертежами. На Фиг. 1 показана схема вычисления параметров пуска для известного и предлагаемого способов пуска, где изображена зависимость реактивности ρр кривая 1 реактора с выведенными поглощающими элементами от температуры Т элементов активной зоны реактора, зависимость реактивности ρх кривая 2 реактора от положения поглощающих элементов х, установившегося периода τ кривая 3 от (постоянной) реактивности ρ, где ρр реактивность реактора с выведенными поглощающими элементами ρх реактивность поглощающих элементов T0min; T00; T0max; минимально возможная, истинная и максимально возможная температура элементов активной зоны реактора τ - установившийся период τ0 - задаваемый установившийся период ρ0max; ρ00 - максимальная и истинная реактивность реактора с выведенными поглощающими элементами ρ0 - реактивность реактора, соответствующая заданному периоду τ0 х - положение поглощающих элементов xкр min; xкр 00 - минимально возможное и истинное на момент пуска критическое (Кэфф=1) положение поглощающих элементов х3; хmax - вычисленное в предлагаемом способе и максимально выведенное положение поглощающих элементов На Фиг. 2 изображены зависимость положения привода поглощающих элементов от времени - кривая 3, зависимость положения поглощающих элементов от времени - кривая 4, величина люфта привода поглощающих элементов - 5, а также зависимости от времени: реактивности - кривая 1, мощности реактора - кривая 6, задания мощности для регулятора мощности - кривая 7 при принятом способе пуска, использованном также испытаниях известных космических реакторов установок «Бук» и «Топаз» (The role of nuclear power and nuclear propulsion in the peaceful exploration of space. International Atomic Energy Agency, Vienna, 2005 ISBN 92-0-107404-2 [5]), где t0- время начала пуска t1 - время, при котором происходит снижение скорости извлечения поглощающих элементов tкр - время достижения критического состояния реактора (Кэфф=1) tмку - время достижения минимально контролируемого уровня мощности х1 - установленное значение положения поглощающих элементов, при котором происходит изменение скорости извлечения; x1 < xкр min xкр min; xкр 00 - минимально возможное и истинное на момент пуска критическое положение поглощающих элементов х2 - положение поглощающих элементов, при котором происходит переход к программному увеличению мощности под контролем регулятора мощности ρ1 - реактивность, соответствующая положению поглощающих элементов х1 при фактической температуре реактора в момент пуска N0 - начальный уровень мощности NМКУ - минимально контролируемый уровень мощности N↑ - выброс мощности в момент достижения минимально контролируемого уровня На Фиг. 3 изображены зависимость положения привода поглощающих элементов от времени - кривая 3, зависимость положения поглощающих элементов от времени - кривая 4, величина люфта привода поглощающих элементов - 5, а также зависимости от времени: реактивности - кривая 1, мощности реактора - кривая 6, задания мощности для регулятора мощности - кривая 7 для заявляемого способа, где t0 - время начала пуска tкp - время достижения критического состояния реактора (Кэфф=1) tмку - время достижения минимально контролируемого уровня мощности xкр 00 - критическое положение поглощающих элементов при фактической температуре реактора в момент пуска x3 - вычисленное положение поглощающих элементов, соответствующее необходимой реактивности с учетом фактического значения эффективного коэффициента размножения, вычисляемого по измеренной на момент пуска температуре и регламентному значению периода ρ0 - реактивность, соответствующая регламентному значению периода то N0 - начальный уровень мощности NМКУ - минимально контролируемый уровень мощности Осуществление и примеры реализации изобретения Для космических установок «Бук» и «Топаз» сокращения времени пуска не являлась особенно актуальной (The role of nuclear power and nuclear propulsion in the peaceful exploration of space. International Atomic Energy Agency, Vienna, 2005 ISBN 92-0-107404-2 [5]) это видно на фиг. 1 где изображен временной ход положения поглощающих элементов, реактивности и мощности реактора при способе пуска, применяемом на этих установках. Время выхода на мощность прямо пропорционально разности tкр-t1 и обратно пропорциональна При отсутствии жестких ограничений на время пуска, консервативном выборе величин x1 и ν2 описываемый способ считался приемлемым. Однако необходимо обратить внимание на его главные недостатки: • Большое время пуска (15-20 минут только до достижения МКУ); • Риск нарушения требований безопасности - период при наземных испытаниях ограничен снизу. В принятом способе пуска он зависит от величин, известных с принципиально низкой точностью - от начальной мощности и начальной температуры. Для надежного решения задачи ускорения пуска и ограничения периода разгона необходимы следующие действия: а) вычисление эффективного коэффициента размножения реактора на момент пуска Кэф, для чего непосредственно перед пуском измеряется средняя температура реактора, определяющая эффективный коэффициент размножения в момент пуска; б) Само перемещение поглощающих элементов реактора осуществляется разнона правленно всегда с максимально возможной скоростью - вывод до заранее вычисленного положения, определяемого величиной вводимой реактивности, далее немедленный ввод обратно на величину максимального люфта системы передачи движения и фиксация в данном положении до достижения минимально контролируемого уровня мощности, при котором происходит автоматическое включение регулятора мощности; в) Параметры закона движения поглощающих элементов определяются на основании желаемого (допустимого) значения установившегося периода разгона реактора τ0, г) начальный уровень задания мощности в момент достижения МКУ ZМКУ принимается равным NМКУ, а начальная скорость программного увеличения мощности νЗНМ (задание регулятора мощности) после достижения минимально контролируемого уровня NМКУ рассчитывается по формуле νЗНМ=NМКУ/τ0. Осуществление изобретения. В процессе разработки ЯЭУ на основе расчетно-теоретических и экспериментальных работ определяется зависимость эффективного коэффициента размножения от температуры; зависимость реактивности регулирующих элементов от их положения, а также устанавливается максимальный люфт кинематической системы приводов поглощающих элементов. Эти исследования являются неотъемлемой частью проектирования ядерной энергетической установки любого типа (см. Требования к содержанию отчета по обоснованию безопасности АС с реактором типа ВВЭР. Руководящий документ НП-006-98 [3]). Расчетами и натурными экспериментами установлено, что до пуска реактора с хорошей точностью выполняется условие изотермичности для элементов активной зоны. 1. В момент подачи команды на пуск измеряется температура реактора T00. Для измерения температуры используются либо соответствующие датчики внутри реактора, либо на короткое (5-10 секунд) включается расход теплоносителя и измеряется температура теплоносителя. 2. По измеренной температуре рассчитывается эффективный коэффициент размножения Кэф и реактивности ρр=Кэф-1 в момент пуска (см. Фиг. 1). В интервале возможных значений температуры реактора T0min < Т < Т0 max можно приближенно считать, что реактивность реактора линейно зависит от температуры: αр - температурный коэффициент реактивности, который может быть как положительный (например, для реакторов ЯЭУ ТОПАЗ и Енисей) так и отрицательный (например, для ЯЭУ Ромашка и Бук (см. Фиг. 1). 3. По измеренной температуре Т00 и формуле (1) рассчитывается истинное значение реактивности в момент пуска как В случае более сложной нелинейной зависимости ρp(Т)=ƒρ(T) величина ρ00 определяется по данной расчетной зависимости ρр (T00)=ƒρ (T00) или по графику 1 Фиг. 1, отражающему таковую расчетную зависимость. 4. В интересующем интервале положения привода можно приближенно считать, что вводимая поглощающими элементами реактивность линейно зависит от положения: 0 < x < xmax: 4. Задаваясь значением желательного периода разгона реактора (наземные испытания или штатная эксплуатация) т о, по таблицам из Кипин, Дж. Физические основы кинетики ядерных реакторов. Москва: Атомиздат, 1967 [6] или по графику Фиг. 1 рассчитывается целевое значение реактивности ρ0, соответствующей установившемуся периоду τ0. 5. По реактивности р о и уравнению (2) либо графику Фиг. 1 рассчитывается положение х3 поглощающих элементов Или, в случае более сложной зависимости ρх (x)=ƒх (х) положение х3 определяется по графику Фиг. 1 или с помощью решения уравнения ρ00-ρ0=ƒx (x3) относительно х3. 6. Поглощающие элементы, как было описано выше, с максимальной скоростью выводятся до вычисленного положения х3, после чего немедленно вводятся на величину люфта и фиксируются в данном положении. В отличии от способа, описанного в прототипе, где движение регулирующих элементы однонаправленно т.е. они только извлекаются, в заявленном техническом решении движение регулирующих элементов разнонаправленно, так как поглощающие элементы извлекаются из реактора с максимальной скоростью до конечного положения х3, после чего немедленно вводятся на величину измеренного люфта кинематической системы и фиксируются в данном положении. По завершению данной операции разгон реактора происходит по близкому к экспоненциальному закону с периодом, равным выбранной регламентной величине. 7. В момент достижения минимально контролируемого уровня мощности включается регулятор мощности, начальное значение задания которого равно минимально контролируемому уровню, а начальная скорость задания равна отношению минимально контролируемого уровня к регламентному значению периода. Дальнейшее увеличения мощности и задания происходит в соответствии с предварительно рассчитанным временным законом. Поскольку люфты исполнительных механизмов выбраны на ввод поглощающих элементов, увеличение задания мощности происходит линейно, а разгон до этого момента - экспоненциально, то в момент включения регулятора мощности, поглощающие элементы будут вводиться без промедления и плавно осуществлять нужный закон роста мощности в соответствии с заданием. Примеры реализации изобретения Предлагаемый способ пуска был реализован при испытаниях опытного образца ЯЭУ «Енисей», время физического пуска составило 202 секунды вместо 720 секунд при испытаниях опытного образца, где физический пуск осуществлялся по логике установок «Бук» и «Топаз». Предлагаемое в заявляемом способе измерение температуры реактора в момент пуска T00 позволяет программно и аппаратно вычислить текущее критическое положения поглощающих элементов хкр 00, добавить к нему значение, определяемое известными зависимостями установившегося периода τ от реактивности, выводить поглощающие элементы до значения х3, вычисляемого по формуле (3) или по графику Фиг. 1, после чего немедленно вводить на величину люфта в системе исполнительных механизмов. На фиг. 3 изображены основные параметры пускового режима при использовании предлагаемого способа пуска. Очевидно, что критическое состояние достигается самым быстрым из возможных способов, скорость разгона реактора определяется вычисленной реактивностью, и, с этой точки зрения, процесс является наискорейшим из технически реализуемых. Контролируемый разгон реактора под управлением автомата регулирования нейтронной мощности происходит с уровня задания, равного минимально контролируемому уровню мощности, с мгновенным значением скорости увеличения задания, равного текущей скорости увеличения мощности. Список использованных источников 1. Резолюция Генеральной ассамблеи ООН A/RES/47/69 от 23 февраля 1993 года https://documents-dds-ny.un.org/doc/UNDOC/GEN/N93/104/20/IMG/N9310420.pdf?OpenElement 2. Бугровский В.В., Винцевич Н.А., Вишнепольский И.М., Душин А.Н., Кармишин В.А., Мартьянова Т.С., Уланов Г.М., Чупрун Б.Е., Шевяков А.А. Под ред. акад. Петрова Б.Н.. Основы автоматического управления ядерными космическими энергетическими установками. М.: Машиностроение, 1974. 3. Требования к содержанию отчета по обоснованию безопасности АС с реактором типа ВВЭР. Руководящий документ НП-006-98 4. Алексеев П.А., Ехлаков И.А., Овчаренко М.К., Пышко А.П. О возможности пуска реактора на орбите за счет источника нейтронов, формируемого косми-ческим излучением. Космическая техника и технологии №1(4). стр 15-21,2014 г. 5. The role of nuclear power and nuclear propulsion in the peaceful exploration of space. International Atomic Energy Agency, Vienna, 2005 ISBN 92-0-107404-2 6. Кипин, Дж. Физические основы кинетики ядерных реакторов. Москва: Атом-издат, 1967.
раз - ограничен снизу) величиной, регламентируемой требованиями ядерной безопасности.
значение максимального люфта привода поглощающих элементов, и осуществляют пуск реактора путем его вывода на минимально контролируемый уровень мощности NМКУ за счет вывода поглощающих элементов с последующим автоматическим включением регулятора нейтронной мощности с программным увеличением задания мощности, при этом дополнительно до начала пуска задают период τ0 разгона реактора и реактивность ρ0, измеряют температуру реактора в момент, предшествующий пуску Т00, определяют истинную реактивность реактора ρ00 при фактической температуре Т00, вычисляют величину вывода поглощающих элементов х3 по зависимости
. В известном способе пуска время tкр-11 определяется минимально возможным на момент пуска критическим положением хкр min поглощающих элементов (см. Фиг. 1, 2), поскольку х1<хкрmin (разница xкр min-х1 идет в запас расчетов), то, следовательно, t1 минимально, а время достижения критического состояния, с чего, собственно, начинается разгон реактора, является максимальным. Малая скорость вывода поглощающих элементов ν2, использованная в традиционном методе пуска, диктуется соображениями безопасности и результатами предварительных расчетов.


