Изобретение относится к ракетным двигателям твердого топлива, используемым для работы в составе кумулятивно-фугасного заряда. Двигатель кумулятивно-фугасного заряда содержит корпус, сопло, заряд, размещенный между решеткой и переходным дном, воспламенитель и мембрану в виде крышки. Решетка установлена со стороны сопла и представляет собой ряд концентрических колец, между которыми выполнены отверстия и пазы. Мембрана установлена на сопле и имеет форсажную трубку с внутренней стороны двигателя, а с внешней стороны на мембране выполнено резьбовое гнездо под электровоспламенитель или пусковое устройство. Воспламенитель размещен между решеткой и фиксатором, который закреплен в зазоре между соплом и решеткой. Фиксатор представляет собой выпуклую тонкостенную листовую деталь, в центре которой имеется отверстие, а на фланце фиксатора формовкой выполнены локальные выступы. Высота выступов больше зазора между соплом и решеткой, а отношение площади проходного сечения отверстий в решетке к площади отверстия фиксатора больше, чем отношение свободного объема камеры размещения заряда к величине предсоплового объема. Изобретение позволяет повысить эффективность двигателя и обеспечить надежное воспламенение заряда. 5 ил.
Двигатель кумулятивно-фугасного заряда, содержащий корпус, сопло, заряд, размещенный между решеткой и переходным дном, причем решетка установлена со стороны сопла и представляет собой ряд концентрических колец, между которыми выполнены отверстия и пазы, воспламенитель, мембрану в виде крышки, установленную на сопле и закрепленную на ней форсажную трубку с внутренней стороны двигателя, а с внешней стороны на мембране выполнено резьбовое гнездо под электровоспламенитель или пусковое устройство, отличающийся тем, что воспламенитель размещен между решеткой и фиксатором, который закреплен в зазоре между соплом и решеткой, причем фиксатор представляет собой выпуклую тонкостенную листовую деталь, в центре которой имеется отверстие, а на фланце фиксатора формовкой выполнены локальные выступы, причем высота выступов больше зазора между соплом и решеткой, а отношение площади проходного сечения отверстий в решетке к площади отверстия фиксатора больше, чем отношение свободного объема камеры размещения заряда к величине предсоплового объема.
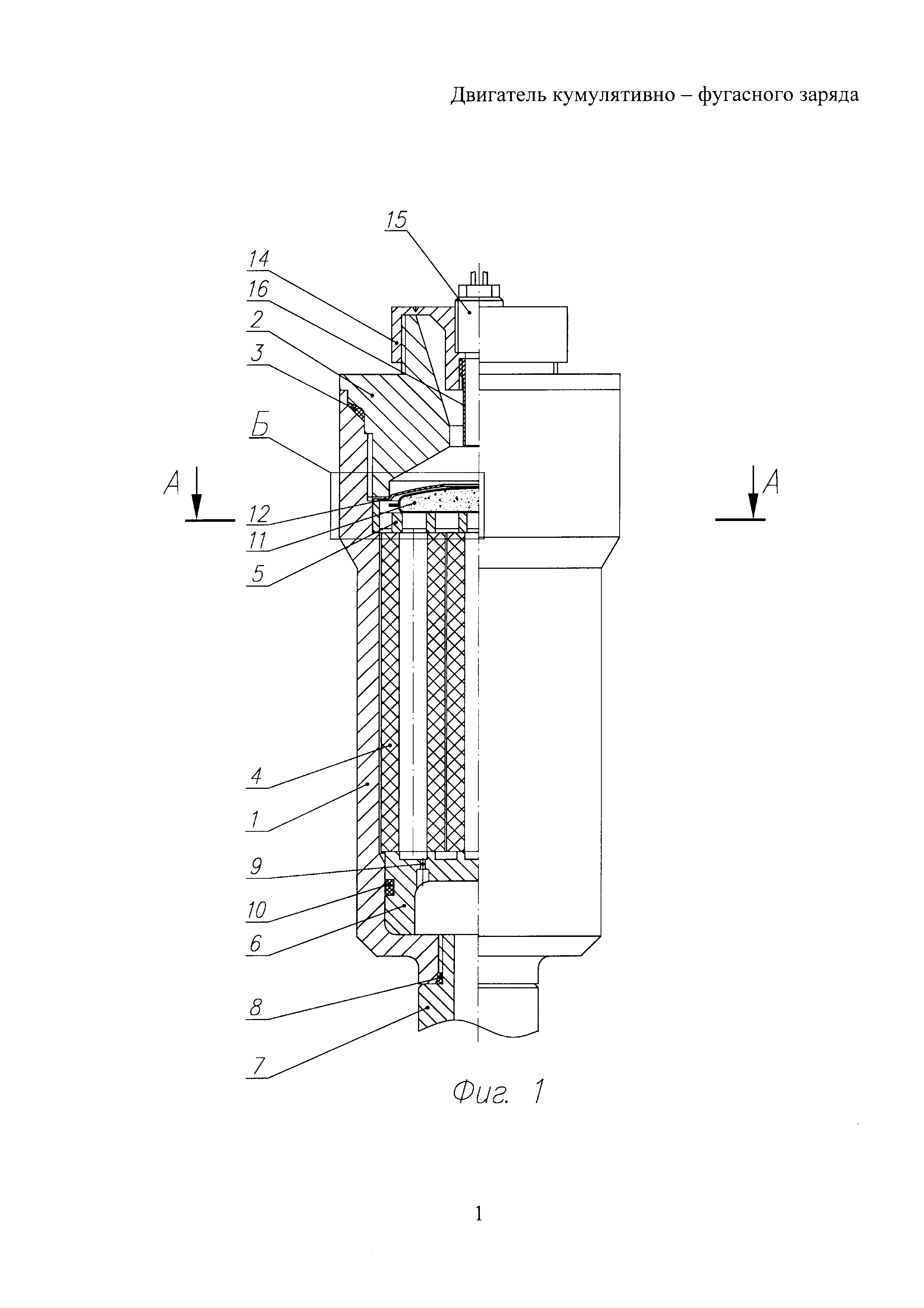
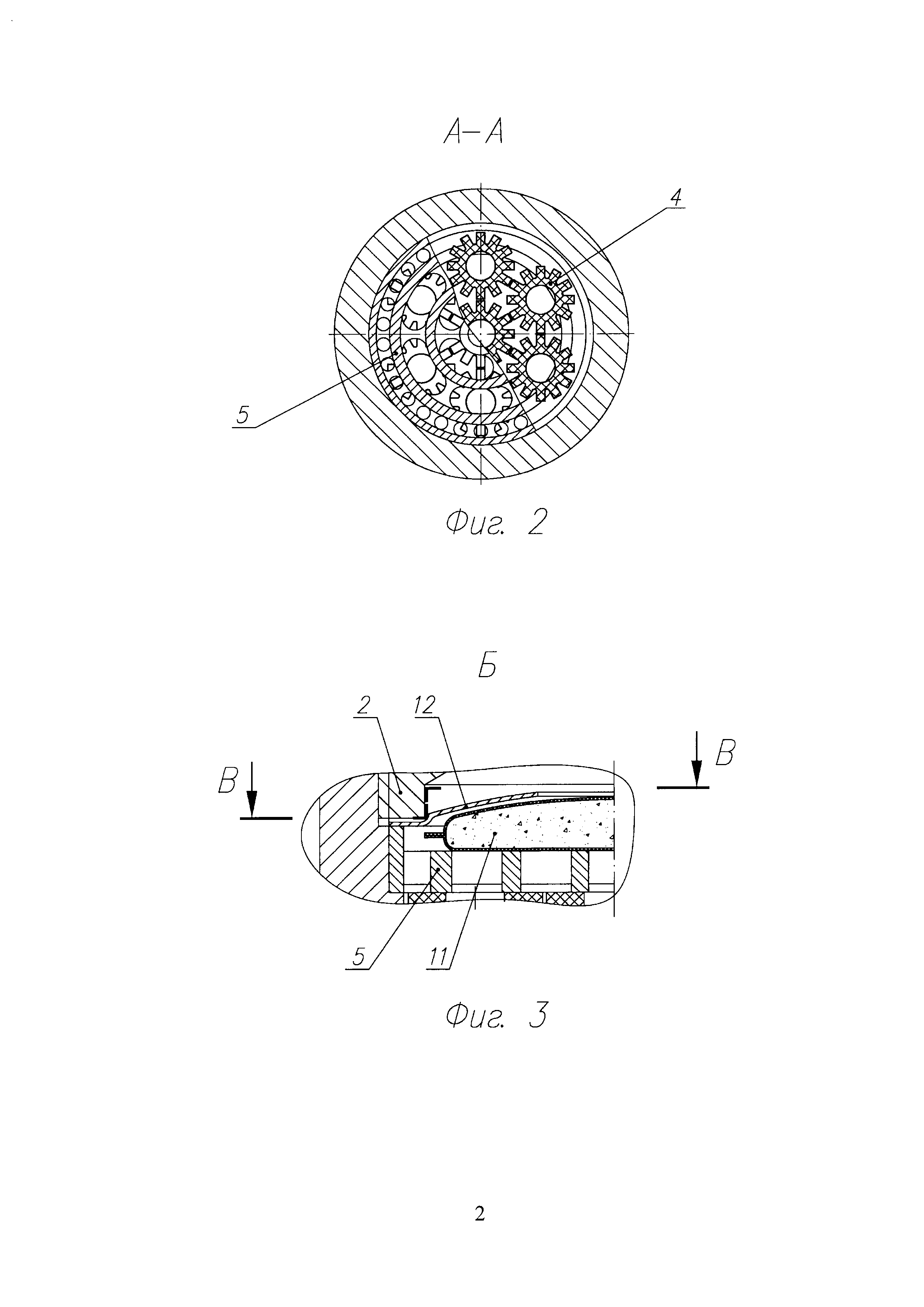
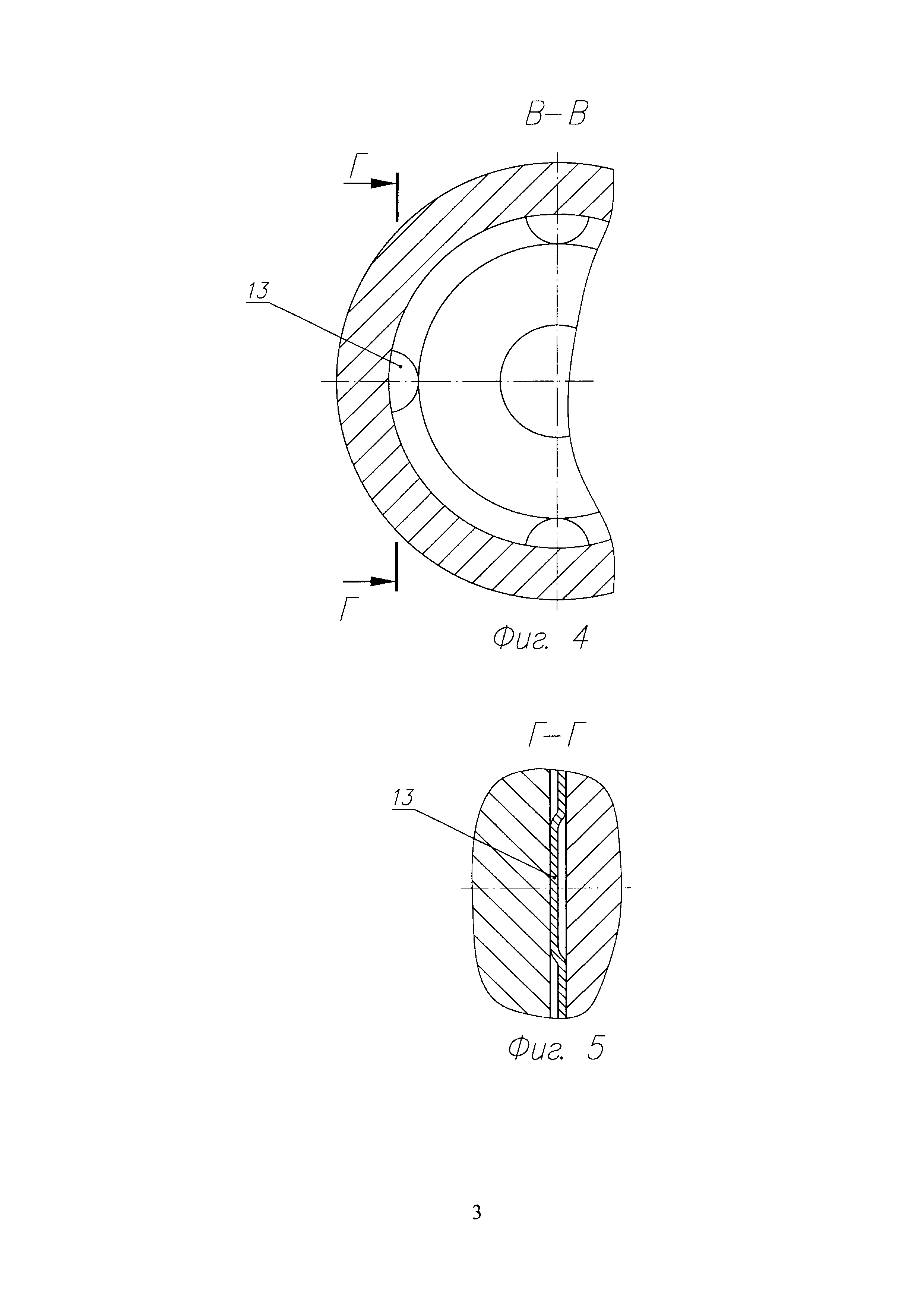
Изобретение относится к ракетным двигателям твердого топлива (РДТТ), используемым для работы в составе кумулятивно-фугасного заряда (КФЗ). Двигатель КФЗ (далее по тексту - двигатель) обеспечивает взведение взрывательного устройства (ВУ) фугасного заряда и создание реактивной тяги для подачи в образовавшийся от взрыва кумулятивного заряда (КЗ) шурп фугасного заряда. Дополнительно он может использоваться для подачи изделия к разрушаемой преграде. Заряды для этого класса двигателей представляют собой несколько тонкостенных шашек с развитой поверхностью горения. Исходя из особенностей применения, воспламенение таких двигателей осуществляется со стороны сопла с размещением воспламенителя в донной части двигателя. Для передачи форса пламени от пиропатрона к воспламенителю может использоваться форсажная трубка, усиливающая его воздействие на воспламенитель, или ограничивающая воздействие форса пламени с целью предохранения воспламенителя от нерасчетного разрушения (Конструкции ракетных двигателей на твердом топливе / Л.Н. Лавров, А.А. Болотов, В.И. Гапаненко и др. М.: Машиностроение, 1993, с. 166). Ракетная часть реактивного снаряда 9М27, используемого в РСЗО «Ураган», состоит из неснаряженной ракетной части, порохового заряда, воспламенителя и защищенного пиропатрона (Реактивные снаряды системы залпового огня 9К57. Техническое описание и инструкция по эксплуатации. - М.: Военное издательство Министерства Обороны СССР, 1981, с. 7-9). Пороховой заряд состоит из двух полузарядов. Полузаряд, размещенный в хвостовой камере, со стороны сопла опирается на диафрагму, к ребрам которой крепится воспламенитель с помощью трех скоб и винтов. Пиропатрон размещен в корпусе, который с помощью тарели крепится к выходному раструбу сопла. Снаружи корпус закрыт герметичной крышкой. С внутренней стороны в корпус в месте установки пиропатрона вкручена трубка, являющаяся газоходом передачи форса пламени к воспламенителю. С помощью гайки трубка фиксируется на конусе, опирающемся на входной конус сопла, одновременно прижимая всю конструкцию, состоящую из корпуса, крышки и тарели к выходному раструбу сопла. Герметичность стыковки обеспечивается резиновым уплотнительным кольцом. Провода от пиропатрона крепятся к контактным втулкам с внутренней стороны входного конуса сопла. При срабатывании пиропатрона форс пламени проходит через трубку, зажигая дымный порох воспламенителя, который в свою очередь обеспечивает воспламенение порохового заряда. Под действием давления образующихся пороховых газов детали, расположенные во входном конусе и раструбе сопла выбрасываются из двигателя. Начинается истечение пороховых газов через сопло. Такая схема воспламенения может использоваться при сравнительно больших габаритах снаряда, так как содержит много относительно больших конструктивных элементов, и не может быть использована в двигателе КФЗ в связи с малыми габаритами (диаметр корпуса составляет ~70 мм, диаметр корпуса снаряда 9М27 составляет 220 мм). Конструкция ракетной части неуправляемого реактивного снаряда М-210Ф (9М22У) состоит из корпуса, порохового заряда в виде двух шашек твердого ракетного топлива и соплового блока. (Боевая машина БМ-21. Техническое описание. Книга 1. - М.: Военное издательство Министерства Обороны СССР, 1971, с. 92-94; Боевая машина БМ-21. Альбом рисунков к техническому описанию и инструкции по эксплуатации. - М.: Военное издательство Министерства обороны СССР, 1971, с. 84-89). Сопловой блок представляет собой крышку - сопло, установленную посредством резьбового соединения в задней части корпуса снаряда. Крышка - сопло содержит семь сопловых отверстий. На выходной части соплового блока установлена контактная крышка, которая перекрывает выходное сечение сопла. На боковой поверхности контактной крышки расположен контактный сектор. Воспламенитель в виде герметичного футляра установлен между шашками заряда в полости, образованной промежуточной диафрагмой и решеткой. Воспламенитель имеет два электрозапала, которые проводами подключены к контактным винтам на контактной крышке и корпусе снаряда. Воспламенение заряда в данной конструкции осуществляется при его запуске только из цилиндрической пусковой установки Наиболее близким по совокупности существенных признаков с заявляемым изобретением является реактивный двигатель окопного заряда ОЗ-l (Инженерные боеприпасы. Руководство по материальной части и применению. Книга вторая. - М.: Военное издательство Министерства Обороны СССР, 1977, с. 63-70), создающий реактивную тягу для продвижения окопного заряда с последующим задействованием кумулятивного и фугасного зарядов. Данная конструкция реактивного двигателя была использована в качестве прототипа. Отечественный окопный заряд ОЗ-1 предназначен для устройства взрывным способом одиночного стрелкового окопа в мерзлых и твердых грунтах, рыхления мерзлого и твердого грунтов при устройстве групповых стрелковых окопов на два-три человека, отрывке окопов для танков и боевых машин. Окопный заряд ОЗ-l состоит из четырех узлов, собираемых в одно целое перед применением: - кумулятивного заряда; - фугасного заряда с реактивным двигателем; - взрывателя; - пускового устройства УП-60. В верхней части корпуса размещения фугасного заряда, выполненного в виде трубы, установлен реактивный двигатель, который состоит из стального корпуса, сопловой крышки, порохового заряда, расширительной камеры, пиротехнического замедлителя и вышибного порохового заряда. В сопловой крышке выполнены шесть сопловых отверстий и центральное резьбовое гнездо для ввинчивания пускового устройства. Гнездо закрыто пробкой. Вышибной заряд с замедлителем предназначен для выбрасывания корпуса отработавшего реактивного двигателя перед взрывом фугасного заряда, что уменьшает осколочное воздействие взрыва. Пусковое устройство УП-60 состоит из отрезка огнепроводного шнура и закрепленного на его концах терочного воспламенителя и воспламенительного заряда. Сердцевина огнепроводного шнура состоит из медленногорящего состава, время замедления 50-83 с. Воспламенительный заряд помещен в гильзе, обжатой на конце огнепроводного шнура. На гильзу надета резьбовая втулка для ввинчивания пускового устройства в резьбовое гнездо реактивного двигателя. Недостатком прототипа является многосопловая конструкция крышки, так как с увеличением количества сопел увеличиваются термодинамические потери и, как следствие, эффективность сопел двигателя. Шнур пускового устройства, ввинченного в центральное резьбовое гнездо, частично перекрывает одно или несколько сопловых отверстий и при горении порохового заряда создаст эксцентриситет тяги, что может повлиять на прямолинейность движения изделия. Технической задачей, решаемой предлагаемым изобретением, является повышение эффективности и улучшение эксплуатационных характеристик двигателя кумулятивно - фугасного заряда. Указанная цель достигается тем, что в двигателе, содержащим корпус, сопло, заряд, размещенный между решеткой и переходным дном, решетка представляет собой ряд концентрических колец, между которыми выполнены отверстия и пазы, а воспламенитель размещен между решеткой, установленной со стороны сопла, и фиксатором. Фиксатор представляет собой выпуклую тонкостенную алюминиевую пластину, в центре которой имеется отверстие для прохода форса пламени от электровоспламенителя или пускового устройства к воспламенителю. Фиксатор фланцем крепится в зазоре между соплом и решеткой. На фланце фиксатора формовкой выполнены локальные выступы, причем высота выступов больше зазора между соплом и решеткой. Для обеспечения подпора давления в камере двигателя, обеспечивающего надежное воспламенение заряда, отношение площади проходного сечения отверстий в решетке к площади отверстия фиксатора больше, чем отношение свободного объема камеры размещения заряда к величине предсоплового объема. При горении навески пороха воспламенителя, газ истекает как через проходные отверстия в решетке, обеспечивая зажжение заряда, так и через отверстие в фиксаторе в сторону сопла. Расход газа можно оценить по формуле Gc=А1⋅р⋅σф - для расхода через отверстие в фиксаторе в сторону сопла, где σp, σф - площадь отверстий в решетке и фиксаторе соответственно; А1, А2 - коэффициенты расхода. Для оценочных расчетов можно принять А1=А2. Тогда, учитывая уравнение состояния идеального газа, соотношение площадей проходных сечений решетки и фиксатора можно приблизительно определить по формуле где Данное соотношение обеспечивает примерное равенство давлений в объемах Для реального прототипа двигателя Таким образом, приблизительная оценка показывает, что надежное воспламенение заряда будет происходить при отношении площади проходного сечения отверстий в решетке к площади отверстия фиксатора большей, чем отношение свободного объема камеры размещения заряда к величине предсоплового объема. На иллюстрациях представлена конструктивная схема двигателя, поясняющая сущность изобретения, где: - на фиг. 1 представлена конструктивная схема двигателя; - на фиг. 2 - поперечное сечение; - на фиг. 3 - узел крепления воспламенителя; - на фиг. 4 - фиксатор воспламенителя; - на фиг. 5 - сечение фиксатора. Силовая оболочка двигателя образована корпусом 1 и соплом 2, которые соединены между собой резьбовым соединением. Герметизация стыка обеспечивается резиновым уплотнительным кольцом 3. Материалом корпуса 1 и сопла 2 может служить термообработанная легированная сталь типа 30ХГСА. Применение стали 30ХГСА в конструкции сопла 2 обусловлено малым временем горения заряда и, как следствие, сниженными требованиями к теплостойкости используемого материала. Заряд твердого топлива 4 выполнен в виде семи шашек, каждая из которых представляет собой многолучевой моноблок типа «ромашка». Фиксация заряда в осевом направлении осуществляется решеткой 5 и переходным дном 6. Решетка представляет собой ряд концентрических колец, между которыми выполнены отверстия и пазы для прохода газов при горении заряда 4. Материалом решетки служит низкоуглеродистая сталь. В передней части корпуса 1 имеется резьбовое отверстие, предназначенное для крепления двигателя к кумулятивно-фугасному заряду 7. При хранении и транспортировании отверстие закрыто заглушкой. Герметичность этого соединения обеспечивается резиновым кольцом 8. В переходном дне 6, со смещением от оси корпуса, выполнено дроссельное отверстие 9, обеспечивающее падение давления и температуры в свободном объеме переходного дна до значений, удовлетворяющих требованиям, предъявляемым к взведению взрывательного устройства фугасного заряда. Смещение отверстия от продольной оси предотвращает прямое воздействие форса пламени на фугасный заряд. Герметичность стыка корпуса 1 и переходного дна обеспечивается резиновым кольцом 10. Воспламенитель 11, представляющий собой перкалевый картуз с навеской дымного пороха, размещен между решеткой 5 и фиксатором 12, который фланцем крепится в зазоре между соплом 2 и решеткой 5. Фиксатор представляет собой выпуклую деталь из тонкой алюминиевой ленты. В центре фиксатора выполнено отверстие, обеспечивающее беспрепятственное попадание струи газа от электровоспламенителя или пускового устройства непосредственно на воспламенитель. Для обеспечения подпора давления в камере двигателя, обеспечивающего надежное воспламенение заряда, конструкция решетки и фиксатора выполнены таким образом, что отношение площади проходного сечения отверстий в решетке к площади отверстия фиксатора больше, чем отношение свободного объема камеры размещения заряда к величине предсоплового объема. Одновременно фиксатор предохраняет воспламенитель от перемещений. На плоском фланце фиксатора методом формовки выполнены несколько локальных выступов 13, таким образом, что высота каждого выступа больше зазора между соплом 2 и решеткой 5. Для работоспособности уплотнения 3 необходимо обеспечить нулевой осевой зазор в стыке между соплом 2 и корпусом 1. Одновременно требуется установка фиксатора 12 между соплом 2 и решеткой 5 без осевого люфта, что обеспечивается гарантированной пластической деформацией выступов 13 на фиксаторе. Герметичность внутреннего объема двигателя обеспечивается мембраной 14, выполненной в виде крышки, установленной посредством резьбового соединения на сопле 2. Герметичность соединения обеспечивается герметиком. С внешней стороны в мембране выполнено резьбовое гнездо для установки электровоспламенителя 15 или пускового устройства. С наружной стороны имеется кольцевая проточка, диаметром равным диаметру среза соплового отверстия. В мембране 14 с внутренней стороны установлена форсажная трубка 16, обеспечивающая формирование и направление струи газов от электровоспламенителя или пускового устройства непосредственно на воспламенитель. Конструкция двигателя с одним коническим соплом обеспечивает снижение газодинамических потерь и улучшение эффективности работы двигателя. Схема размещения воспламенителя между решеткой и фиксатором, при которой отношении площади проходного сечения отверстий в решетке к площади отверстия фиксатора больше, чем отношение свободного объема камеры размещения заряда к величине предсоплового объема, обеспечивает подпор давления в камере и надежное воспламенение заряда. В начале работы двигателя пусковое устройство, ввинченное в резьбовое гнездо мембраны, удаляется вместе с разрушенной по кольцевой проточке частью мембраны и не создает помех для работы двигателя.
- для расхода через решетку на воспламенение заряда;
, Gc - расход через решетку и фиксатор соответственно;
, mс - масса газа в свободном объеме камеры размещения заряда и в предсопловом объеме к началу воспламенения заряда;
, Wc - свободный объем камеры размещения заряда и пред сопловой объем соответственно, разделителем этих объемов является фиксатор.
и Wc до момента воспламенения заряда. Повышение надежности воспламенения может быть достигнуто дополнительным подпором давления в камере размещения заряда, достигаемом при соотношении
м3 Wc=2,2⋅10-5 м3, dp=9,7⋅10-4 м2, аф=2,5⋅10-4 м2;