патент
№ RU 2602653
МПК F01K13/00

СПОСОБ ИНТЕНСИФИКАЦИИ ТЕПЛООБМЕНА В КОНДЕНСАТОРЕ ПАРОТУРБИННОЙ УСТАНОВКИ

Авторы:
Рыженков Олег Вячеславович Дасаев Марат Равилевич Лукин Максим Васильевич
Все (5)
Номер заявки
2015117110/06
Дата подачи заявки
06.05.2015
Опубликовано
20.11.2016
Страна
RU
Как управлять
интеллектуальной собственностью
Чертежи 
1
Реферат

Изобретение относится к энергетике. При эксплуатации паротурбинной установки, характеризующейся чередующимися режимами работы и простоя, в период простоя конденсатор с межтрубным и внутритрубным пространствами и очищенными от отложений латунными трубками отключают от системы оборотного водоснабжения и подключают к внутритрубному пространству конденсатора внешний источник горячей химически обессоленной воды, к межтрубному пространству конденсатора источник пара. Подключают к установке приготовления эмульсии поверхностно-активного вещества (ПАВ) источник ПАВ и источник горячей химически обессоленной воды. Подключают источник горячей химически обессоленной воды к межтрубному пространству конденсатора, подают в межтрубное и внутритрубное пространства конденсатора горячую химически обессоленную воду и высококонцентрированную эмульсию ПАВ. Выдерживают эмульсию с концентрацией 20÷60 мг/кг в квазистатических условиях в течение 8÷12 часов и ее дренируют. В период останова паротурбинной установки конденсатор отключают от внешних коммуникаций и дренируют его как по водяной, так и по паровой сторонам. Формируют на наружных и очищенных внутренних латунных трубках конденсатора моно- или полимолекулярную пленку ПАВ, соединяют источник химически обессоленной воды с внутритрубным пространством конденсатора, межтрубным пространством конденсатора и установкой приготовления эмульсии, соединяют межтрубное пространство с системой оборотного водоснабжения и источником пара, подключают к установке приготовления эмульсии ПАВ источник ПАВ. Изобретение позволяет обеспечить повышение эффективности паротурбинной

Формула изобретения

1. Способ интенсификации теплообмена в конденсаторе паротурбинной установки, заключающийся в том, что при эксплуатации паротурбинной установки, характеризующейся чередующимися режимами работы и простоя, в период простоя конденсатор с межтрубным и внутритрубным пространствами и очищенными от отложений латунными трубками отключают от системы оборотного водоснабжения и подключают к внутритрубному пространству конденсатора внешний источник горячей химически обессоленной воды, к межтрубному пространству конденсатора источник пара, подключают к установке приготовления эмульсии поверхностно-активного вещества (ПАВ) источник ПАВ и источник горячей химически обессоленной воды, отличающийся тем, что подключают источник горячей химически обессоленной воды к межтрубному пространству конденсатора, подают в межтрубное и внутритрубное пространства конденсатора горячую химически обессоленную воду и высококонцентрированную эмульсию ПАВ, выдерживают эмульсию с концентрацией 20÷60 мг/кг в квазистатических условиях в течение 8÷12 часов и ее дренируют.

2. Способ по п. 1, отличающийся тем, что подают пар в межтрубное пространство конденсатора в процессе выдержки эмульсии ПАВ, которым ее нагревают, поддерживают температуру на уровне 75÷95°С и перемешивают.

3. Способ по п. 1, отличающийся тем, что подают эмульсию ПАВ после ее выдержки в конденсаторе в систему оборотного водоснабжения.

Описание

[1]

Изобретение относится к энергетике и предназначено для использования при эксплуатации паротурбинных установок (ПТУ) электрических станций с целью повышения их эффективности.

[2]

Известны «Способ и устройство для интенсификации конденсации пара в паротурбинном энергогенерирующем блоке» (см. патент RU №2185517 С2, МПК F01K 13/02, опубл. 22.01.1997), заключающиеся в том, что в период эксплуатации паротурбинной установки в режиме работы при подаче пара от парогенератора, включающего паровую турбину, приводимую в действие указанным паром и образующую отходящий пар, представляющий собой влажный пар, и конденсатор, включающий множество теплообменных труб, для интенсификации конденсации пара создают внутри соединительного канала, который соединяет паровую турбину и конденсатор, электрическое поле так, что указанное электрическое поле находится на пути движения отходящего влажного пара турбины. Электрически заряженные капли воды, содержащиеся в указанном отходящем паре турбины, отклоняются указанным электрическим полем, что изменяет течение указанного отходящего пара турбины и снижает турбулентность, и разрушаются, образуя множество мелких капелек, которые служат зародышами для внутренней конденсации, что обеспечивает интенсификацию теплообмена в конденсаторе и увеличивает выработку энергии указанным генерирующим блоком.

[3]

Недостатком известного способа является низкая его эффективность, поскольку по многочисленным работам известно, что снижение диаметра капель конденсирующего пара при определенных условиях может обеспечить незначительное увеличение коэффициента теплоотдачи, при этом режим конденсации остается пленочным.

[4]

Наиболее близким по технической сущности является «Способ интенсификации конденсации пара в конденсаторе паротурбинной установки» (см. патент RU 2492332, МПК F01K 13/00, опубл. 10.09.2013), заключающийся в том, что при эксплуатации, состоящей из чередующихся режимов работы и регламентных работ паротурбинной установки, в режиме работы при подаче пара от парогенератора, включающего паровую турбину, вал которой соединен с генератором, приводимую в действие указанным паром и образующую влажный пар, и конденсатор, включающий теплообменные трубы, внутри которых циркулирует холодная вода по контуру конденсатор - система оборотного водоснабжения, образующийся на внешних поверхностях трубок конденсат возвращается в пароводяной контур паротурбинной установки насосом, затем переводят на режим регламентных работ путем отключения подачи пара от парогенератора, остановки турбины и генератора, гидравлических отключений конденсатора от турбины, циркуляционного насоса, системы оборотного водоснабжения, отличающийся тем, что в режиме регламентных работ подключают внешний источник пара, источник горячей химически обессоленной воды к конденсатору, подключают установку приготовления эмульсии поверхностно-активного вещества (ПАВ) к линии подключения источника пара к конденсатору, формируют на внешней металлической поверхности трубок моно- или полимолекулярную пленку октадециламина путем ввода смешанной и подогретой водной эмульсии ПАВ в паровую среду с температурой 120°С и выше, подаваемой в конденсатор.

[5]

Недостатком известного способа является низкая эффективность интенсификации теплообменных процессов в конденсаторе паротурбинной установки.

[6]

Техническим результатом изобретения является повышение эффективности паротурбинной установки за счет интенсификации теплообменных процессов в конденсаторе посредством обеспечения наилучших условий для конденсации пара на трубных поверхностях и снижения скорости накопления отложений на внутритрубных поверхностях конденсатора.

[7]

Это достигается тем, что в известном способе интенсификации теплообмена в конденсаторе паротурбинной установки, заключающемся в том, что при эксплуатации паротурбинной установки, характеризующейся чередующимися режимами работы и простоя, в период простоя конденсатор с межтрубным и внутритрубным пространствами и очищенными от отложений латунными трубками отключают от системы оборотного водоснабжения и подключают к внутритрубному пространству конденсатора внешний источник горячей химически обессоленной воды, к межтрубному пространству конденсатора источник пара, подключают к установке приготовления эмульсии поверхностно-активного вещества (ПАВ) источник ПАВ и источник горячей химически обессоленной воды, подключают источник горячей химически обессоленной воды к межтрубному пространству конденсатора, подают в межтрубное и внутритрубное пространства конденсатора горячую химически обессоленную воду и высококонцентрированную эмульсию ПАВ, выдерживают эмульсию с концентрацией 20÷60 мг/кг в квазистатических условиях в течение 8÷12 часов и ее дренируют.

[8]

Кроме того, подают пар в межтрубное пространство конденсатора в процессе выдержки эмульсии ПАВ, которым ее нагревают, поддерживают температуру на уровне 75÷95°С и перемешивают.

[9]

Кроме того, подают эмульсию ПАВ после ее выдержки в конденсаторе в систему оборотного водоснабжения.

[10]

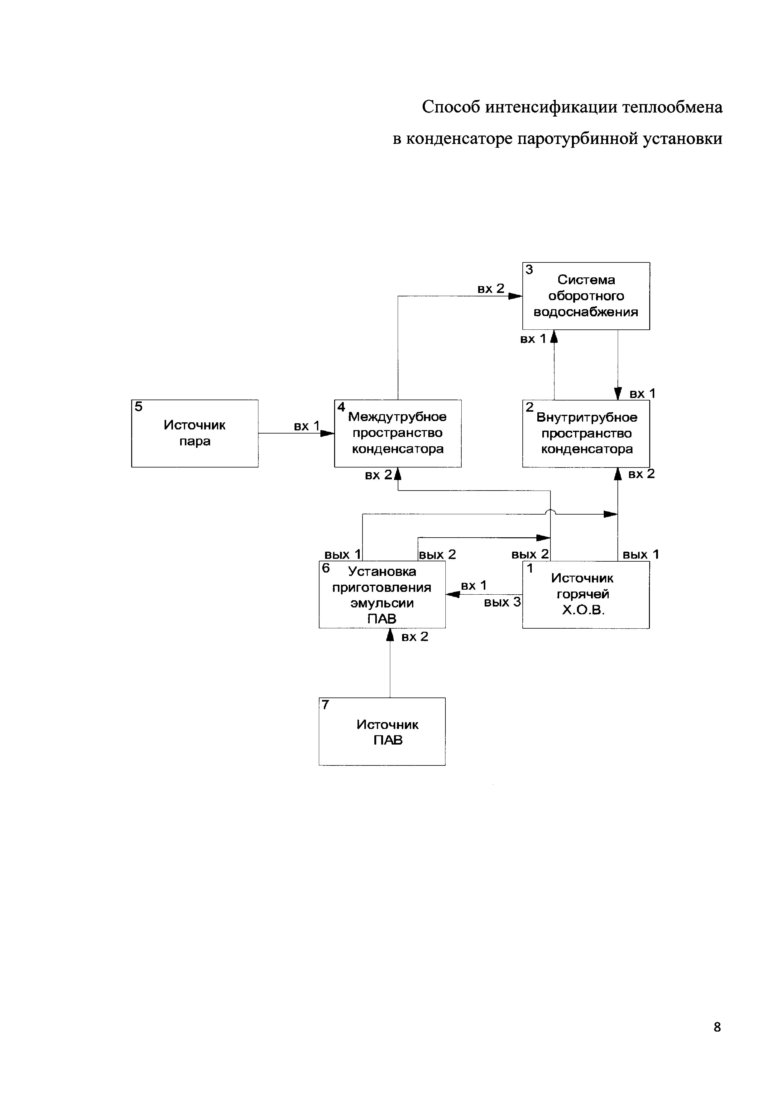
Сущность способа поясняется чертежом, где представлена блок-схема установки, реализующей способ интенсификации теплообмена в конденсаторе паротурбинной установки.

[11]

Установка интенсификации теплообмена в конденсаторе паротурбинной установки, включающая кожухотрубный аппарат с очищенными от отложений латунными трубками, содержит источник горячей химически обессоленной воды 1, соединенный первым выходом со вторым входом внутритрубного пространства конденсатора 2, вторым выходом с вторым входом межтрубного пространства конденсатора 4, третьим выходом с первым входом установки приготовления эмульсии ПАВ 6, внутритрубное пространство конденсатора 2, соединенное первым входом и выходом соответственно с выходом и первым входом системы оборотного водоснабжения 3, систему оборотного водоснабжения 3, соединенную вторым входом с выходом межтрубного пространства 4, к первому входу которого подключен источник пара 5, и установку приготовления эмульсии ПАВ 6, соединенную вторым входом с источником ПАВ 7, а также первым и вторым выходами с линиями соединения источника горячей химически обессоленной воды 1 с внутритрубным 2 и межтрубным 4 пространствами конденсатора.

[12]

Способ интенсификации теплообмена в конденсаторе паротурбинной установки заключается в том, что в период останова паротурбинной установки конденсатор, содержащий внутритрубное пространство 2 и межтрубное пространство 4, отключают от внешних коммуникаций и дренируют как по водяной, так и по паровой сторонам. Формируют на наружных и очищенных внутренних латунных трубках конденсатора моно- или полимолекулярную пленку ПАВ. Для этого монтируют технологическую схему: соединяют источник горячей химически обессоленной воды 1 с внутритрубным пространством конденсатора 2, межтрубным пространством конденсатора 4 и установкой приготовления эмульсии 6, соединяют межтрубное пространство конденсатора 4 с системой оборотного водоснабжения 3 и источником пара 5, подключают к установке приготовления эмульсии ПАВ 6 источник ПАВ 7, а выходы установки 6 к линиям подключения источника горячей химически обессоленной воды 1 к межтрубному пространству конденсатора 4 и внутритрубному пространству конденсатора 2.

[13]

Способ реализуется в следующей последовательности. Предварительно приготавливают высококонцентрированную эмульсию ПАВ в установке 6. Заполняют межтрубное пространство конденсатора 4 и внутритрубное пространство конденсатора 2 водной эмульсией ПАВ с расчетной концентрацией 20÷60 мг/кг, получаемой в результате смешения потоков высококонцентрированной эмульсии ПАВ, подаваемой установкой 6, и горячей обессоленной воды с температурой 60÷95°С, поступающей из соответствующего источника 1. Выдерживают эмульсию в конденсаторе в течение 8÷12 часов при температуре 75÷95°С и затем опорожняют.

[14]

Для компенсации тепловых потерь и поддержания необходимого уровня температур, а также частичного перемешивания водной эмульсии ПАВ в процессе выдержки в межтрубное пространство конденсатора 4 через кондесатосборник подают греющий пар с температурой 105÷115°С от источника пара 5.

[15]

Опорожнение внутритрубного пространства конденсатора 2 и межтрубного пространства конденсатора 4 может быть осуществлено в систему оборотного водоснабжения 3.

[16]

В качестве источника пара может быть использован коллектор сброса пара от БРОУ ТЭС.

[17]

В результате формирования пленки ПАВ, обладающей гидрофобными свойствами, обеспечивается переход от пленочного характера конденсации пара к капельному на внешних трубках конденсатора в процессе эксплуатации конденсатора, который не вызывает возникновения естественной преграды теплообмену и, таким образом, повышает эффективность конденсации пара.

[18]

Формирование пленки ПАВ на внутритрубных поверхностях конденсатора снижает изоэлектрический потенциал поверхности, что существенно снижает интенсивность накопления отложений в процессе эксплуатации. Таким образом, минимизируется термическое сопротивление отложений, что повышает интенсивность теплообмена между паром и охлаждающей водой системы оборотного водоснабжения.

[19]

Интенсификация теплообмена в конденсаторе углубляет вакуум на выходе из турбины, что в результате повышает ее эффективность.

[20]

Гидрофобное покрытие ПАВ наносят в виде моно- или полимолекулярной пленки октадециламина. Под мономолекулярной пленкой понимается слой октадециламина, толщина которого формируется одной молекулой. Полимолекулярная пленка представляет собой слой, сформированный в толщину в несколько молекул октадециламина.

[21]

Использование заявленного изобретения позволяет обеспечить наилучший режим адсорбции октадециламина и тем самым получить равномерное и стойкое гидрофобное покрытие на наружных и внутренних поверхностях трубок конденсатора, повысить эффективность конденсации на наружных поверхностях трубок, снизить скорость накопления отложений на внутренних поверхностях трубок конденсатора и увеличить эффективность паротурбинной установки.

Как компенсировать расходы
на инновационную разработку
Похожие патенты