Изобретение относится к антенной технике. Способ включает вычисление сигнала Fпо формуле:. Дополнительно вычисляют два сигнала Fи Fпо формулам:,и определяют параметр а:. Выходной сигнал Vприемной антенной решетки формируют в зависимости от параметра а, в соответствии с выражением:Технический результат заключается в снижении уровня боковых лепестков при сохранении ширины основного лепестка диаграммы направленности приемной антенной решетки. 10 ил.
Способ формирования диаграммы направленности приемной антенной решетки, образованной совокупностью N идентичных антенных элементов, включающий формирование комплексных отсчетов сn выходных сигналов антенных элементов, вычисление сигнала F0 по формуле: отличающийся тем, что дополнительно вычисляют два сигнала F1 и F2 по формулам: где и определяют параметр а: а выходной сигнал V0 приемной антенной решетки формируют в зависимости от параметра а, в соответствии с выражением:
,
,
,
,
,
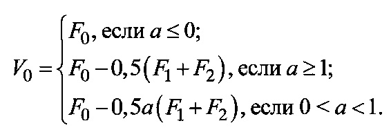
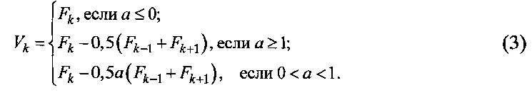
Область применения Изобретение относится к антенной технике и может быть использовано в радиолокации, связи и т.д. Уровень техники Известен способ формирования диаграммы направленности антенны [Справочник по радиолокации. Под ред. М. Сколника. Нью-Йорк, 1970. Пер. с англ. (в четырех томах). Под общей ред. К.Н. Трофимова. Том 2. Радиолокационные антенные устройства. Под ред. П.И. Дудника. М.: "Сов. Радио", 1977. С. 74-92], заключающийся в задании амплитудного распределения поля по апертуре антенны с целью снижения уровня боковых лепестков. Недостатком этого способа является расширение основного лепестка диаграммы направленности приемной антенной решетки по сравнению с равномерным амплитудным распределением поля по апертуре антенны. Известен способ снижения уровня боковых лепестков диаграммы направленности линейной антенной решетки из N элементов, выбранный нами за прототип [Активные фазированные антенные решетки. Под ред. Д.И. Воскресенского и А.И. Канащенкова. М.: "Радиотехника", 2004. С. 110-112], который включает следующие операции: прием комплексных сигналов sn с выходов каждого n-го элемента решетки, соответственно, их взвешивание, например, косинус-квадратным окном cn=wnsn и формирование выходного сигнала F0 решетки по формуле В общем случае форма взвешивающего окна может быть различной, но со спаданием к краям апертуры антенны [Рабинер Л., Гоулд Б. Теория и применение цифровой обработки сигналов. М.: "Мир", 1978. С. 103-106]. Недостатком этого способа является расширение основного лепестка диаграммы направленности приемной антенной решетки по сравнению с равномерным амплитудным распределением поля по апертуре антенны (прямоугольное взвешивающее окно), что является платой за снижение уровня боковых лепестков. Сущность изобретения Основной технической задачей, решаемой заявленным изобретением, является снижение уровня боковых лепестков при сохранении ширины основного лепестка диаграммы направленности приемной антенной решетки. Поставленная задача достигается тем, что в способе приема сигнала линейной антенной решеткой, основанном на приеме N комплексных сигналов sn, формировании N комплексных амплитуд cn=wnsn и вычислении сигнала по формуле: взвешивающее окно wn задается прямоугольным wn=1, согласно предложенному решению, дополнительно вычисляются два сигнала F1 и F2 и параметр а выходной сигнал V0 приемной антенной решетки формируют в зависимости от параметра а соответствии с выражением: Предложенный способ основан на том факте, что диаграмма направленности антенны связана с амплитудно-фазовым распределением поля по ее апертуре парой преобразований Фурье. Этот факт позволяет интерпретировать диаграмму направленности как аппаратную функцию прибора, оценивающего спектр пространственных частот падающего на раскрыв антенны поля, что дает право применять параметрические методы спектральных оценок для формирования диаграммы. Так как прямой доступ к комплексным амплитудам поля в апертуре антенны практически имеется только в антенных решетках, то предлагаемый способ подходит лишь для антенных решеток, причем только приемных, поскольку параметрическое управление выходным сигналом решетки не позволяет применить заявляемый способ для передающей решетки. Краткое описание чертежей На фиг. 1 представлен линейный фильтр с конечной импульсной характеристикой, на фиг. 2 - положение лучей в пространстве, на фиг. 3 - иллюстрация работы способа, на фиг. 4 - диаграмма направленности для N=128 идентичных элементов, на фиг. 5 - диаграмма направленности прототипа, на фиг. 6-8 диаграммы направленности при различных фазовых ошибках, на фиг. 9 - десять графиков диаграмм направленности для фазовой ошибки 10 градусов, рассчитанных для случайных выборок фазовых и амплитудных ошибок, на фиг. 10 - фрагмент фиг. 9 в окрестности главного лепестка диаграммы направленности. Осуществление изобретения Рассмотрим предлагаемый способ формирования диаграммы направленности приемной линейной антенной решетки из N элементов с шагом ∆L - λ/2, где X - длина волны падающего поля. В качестве параметрического метода оценки спектра взята трехточечная процедура Spatially Variant Apodization (SVA), суть которой заключается в следующем [Патент US 6 298 363]. Над реализацией cn, n=0, …, N-1, случайного процесса дискретного времени tn=nT выполняется преобразование Фурье Далее N отсчетов Fk поступают на линейный параметрический фильтр подавления боковых лепестков (фиг. 1), сигнал Vk на выходе которого формируется по правилу Процедура SVA реализуется линейным фильтром с конечной импульсной характеристикой, но с переменными коэффициентами, зависящими от текущего входного сигнала, который определяется тремя отсчетами Fk-1, Fk и Fk+1. Такой фильтр осуществляет свертку входного сигнала с переменной импульсной характеристикой, управляемой параметром Каждому этапу свертки, определяемому индексом k, соответствует угловое положение антенны с азимутом arcsin(kλ/L), где L=NΔL=Nλ/2 - размер апертуры решетки; а отсчетам Fk-1 Fk и Fk+1 сопоставляются значения комплексной амплитуды сигналов F1, F0 и F2, принятых по трем лучам антенны соответственно, которые сформированы (например) с помощью трех диаграммообразующих схем (ДОС). При этом направление луча, по которому принят сигнал F0, совпадает с линией визира антенны (с линией, перпендикулярной линии раскрыва антенны), а два других луча, по которым приняты сигналы F1 и F2, отклонены на углы, зависящие от соотношения длины волны λ падающего поля и размера L апертуры решетки в соответствии с выражениями (фиг. 2). Рассмотрим предложенный способ для практического применения. При падении на приемную антенную решетку (с шагом ΔL=λ/2) плоской волны (фиг. 3) комплексные амплитуды сигналов с идентичных антенных элементов определяются как где: λ - длина волны падающего поля; β - угол отворота антенны относительно линии постоянной фазы падающего поля; wn=1 - коэффициент передачи антенного элемента с номером n. Положим, что диаграмма направленности элементарного антенного элемента решетки ограничена передней полусферой (т.е. излучение «назад» блокировано экраном), и решетка имеет один главный лепесток диаграммы направленности. Тогда углы отворота достаточно задать отрезком -90°≤β≤90°, а зависимость Как показано на фиг. 4, максимальный уровень боковых лепестков диаграммы направленности Уровень боковых лепестков диаграммы направленности антенной решетки прототипа, состоящей из 128 идентичных элементов, составляет около -13 дБ (фиг. 5), при этом уровень боковых ростом угла отворота уменьшается со скоростью 6 дБ/октаву. Отметим, что ширина главного лепестка диаграммы направленности для способа прототипа и предлагаемого способа одинакова (другими словами, уменьшение уровня боковых лепестков в предлагаемом способе не влечет за собой расширение главного лепестка диаграммы направленности). Диаграммы направленности, показанные на фиг. 4 и фиг. 5, определены для случая, когда антенные элементы решетки идентичны. Так как в реальности коэффициенты передачи wn антенных элементов не могут быть одинаковыми, то имеется неточность их настройки по фазе и амплитуде относительно друг друга. Для реального антенного элемента определим его коэффициент передачи как где: ΔAn - амплитудная ошибка; Δϕn - фазовая ошибка. Зададим уровень фазовой ошибки тремя типовыми интервалами ±2,5°, ±5,0° и ±10,0°. Амплитудную ошибку примем случайной величиной с нулевым средним и среднеквадратическим значением 0,06, что соответствует отклонению множителя ошибки (7) от единицы на 201g(1+0,06)≈0,5 дБ и согласуется с современным состоянием цифровых (дискретных) фазовращателей [Digital Phase Shifter, http://www.analog.com/ru/products/rf-microwave/phase-shifters-vector-modulators/digital-phase-shifter.html]. Для реальной антенной решетки уровень боковых лепестков не превышает -30 дБ для интервала фазовой ошибки ±10°; при этом для рассматриваемого случая (128 элементов, амплитудная ошибка 0,5 дБ) нет особого смысла настраивать антенные элементы точнее 5° (фиг. 6-8). Для десяти реализаций диаграмм направленности при фазовой ошибке в интервале ±10° уровень боковых лепестков не превышает -30 дБ (фиг. 9-10). При этом ширина основного лепестка по первым нулям равна 1,8°, что совпадает с шириной для способа прототипа с прямоугольным взвешивающим окном и теоретическим значением 2arcsin 2/N=2arcsin 2/128≈1,8°. Таким образом, предложенное решение позволяет улучшить диаграмму направленности реальной антенной решетки на прием, сохраняя исходное разрешение по углу (не расширяя главного лепестка диаграммы направленности) и значительно уменьшая уровень боковых лепестков. Заметим, что степень уменьшения уровня боковых зависит от соотношения размеров апертуры антенны и длины волны падающего поля (т.е. от количества антенных элементов, расположенных с шагом половины длины волны поля). Для 128-элементной решетки реально достижим уровень боковых лепестков не хуже -30 дБ.
,
.





, вычисленная по (1), (2), (3) и (6), определяет форму диаграммы направленности приемной антенны.
антенной решетки, состоящей из 128 идентичных элементов, составляет около - 48 дБ. При этом уровень боковых с ростом угла отворота уменьшается со скоростью 18 дБ/октаву (фиг. 4). Шаг вращения по углу здесь и далее составляет 0,1° (1800 отсчетов на диаграмму).