патент
№ RU 2571677
МПК B23K9/167
Номер заявки
2014108181/02
Дата подачи заявки
03.03.2014
Опубликовано
20.12.2015
Страна
RU
Как управлять
интеллектуальной собственностью
Чертежи 
2
Реферат

Изобретение относится к горелкам для сварки в защитных газах и может быть использовано в машиностроении при изготовлении сварных конструкций, ремонтно-восстановительных работах и исправлении дефектов в металле. Горелка снабжена регулируемым коллектором для подачи атмосферного воздуха в пристеночную зону сопла. Одновременно в зону пористого вкладыша горелки подается природный газ (пропан). Форма вкладыша горелки приближена к оживальной, обеспечивающей ламинарный поток, как одно из условий надежной защиты сопла горелки и дуги. Технический результат заключается в обеспечении авторегулирования предварительно настроенного процесса горения защитного газа, обеспечениистабильных оптимальных температурных условий в зоне сопла и для дуги за счет использования в качестве защитного газа продуктов диффузионного горения природного газа при атмосферном давлении в сварочной горелке с неплавящимся электродом, кроме того, от продуктов сгорания горючего газа возможен прогрев металла перед сваркой или отпуск сварного соединения после нее. 3 ил.

Формула изобретения

Горелка для сварки в защитных газах, содержащая электрод, закрепленный в электрододержателе, сопло, пористый вкладыш, зажатый между цангой электрододержателя и газоподводом, соединенным с соплом, токоподвод и гибкий шланг, закрепленные на газоподводе, отличающаяся тем, что она снабжена коллектором с заслонкой, при этом пористый вкладыш выполнен оживальной формы, в газоподводе выполнены каналы для подачи горючего газа и каналы для подачи атмосферного воздуха, а коллектор имеет каналы, соединенные с каналами для подачи атмосферного воздуха, при этом заслонка выполнена с окнами и с возможностью поворота относительно коллектора с обеспечением смещения окон относительно каналов коллектора.

Описание

[1]

Изобретение относится к горелкам для сварки в защитных газах и может найти применение в машиностроении при изготовлении сварных конструкций, а также при ремонтно-восстановительных работах и исправлении дефектов в металле.

[2]

Известны горелки, включающие охлаждаемый корпус, неплавящийся электрод, цангу для его крепления, системы газоподвода, охлаждения и керамическое сопло:

[3]

1. Патент на изобретение RU 1760701 С, МПК В23К 9/167. Горелка для сварки в среде защитных газов / Агеев А.А., Корнеев Ю.Н., Серьезнов В.А. - 20.01.1995.

[4]

2. Патент на изобретение RU 2069612 С1, МПК В23К 9/167. Горелка для дуговой сварки неплавящимся электродом в среде защитных газов / Карпов В.И. - 27.11.1996.

[5]

3. Патент на изобретение RU 2047440 С1, МПК В23К 9/167. Горелка для электродуговой сварки неплавящимся электродом в среде защитных газов / Домрин А.Ф., Рогожников В.В. - 10.11.1995.

[6]

4. Патент на изобретение RU 2304496 С1, МПК В23К 9/167. Головка горелки для дуговой сварки в среде защитных газов / Евпятьев О.П., Гилилов И.С. - 20.08.2007.

[7]

5. Патент на изобретение RU 1760702 С, МПК В23К 9/167. Способ аргонодуговой сварки неплавящимся электродом / Букаров В.А., Ищенко Ю.С., Корнеев Ю.Н. - 30.03.1994.

[8]

6. Патент на изобретение RU 2280545 С2, МПК В23К 9/167. Горелка для дуговой сварки неплавящимся электродом в защитных газах / Орехов В.Е. - 27.07.2006.

[9]

7. Патент на изобретение RU 1633626 С, МПК В23К 9/167. Горелка для дуговой сварки в защитных газах / Афанасьев В.П., Славин Г.А., Волобуев СВ., Воронин Ф.В., Антонов А.П., Четвергов Н.П. - 15.07.1994.

[10]

8. Патент на изобретение RU 2358847 С1, МПК В23К 9/167. Горелка для дуговой сварки неплавящимся электродом в среде защитных газов / Астафьев А.Г. - 20.06.2009.

[11]

Широкое применение указанных горелок выявило ряд недостатков, одним из которых является нестабильная защита сопла горелки от перегрева и ограниченный диапазон применения при дуговой сварке неплавящимся электродом в среде защитных газов. Например, невозможен подогрев свариваемых материалов до сварки или отпуск после сварки, если это требуется по техпроцессу, без перенастройки оборудования и замены горелки.

[12]

Известно изобретение:

[13]

- горелка по а.с. [15. SU 1318359 Al, В23К 9/16. Горелка для защиты сварочной ванны / Тывончук П.А., Науменко В.Н., Василенко М.А., Бовсуновский А.Н. - 23.06.1987.] применяется для наплавки в среде природного газа и кислорода и не может быть использована как горелка для дуговой сварки неплавящимся электродом в среде защитного газа. Очевидно, что горелку для защиты сварочной ванны возможно применять только в стационарных условиях ремонтных мастерских, учитывая чрезвычайную сложность и насыщенность необходимого для ее работы комплектующего оборудования для воды на слив, кислорода, природного газа, отсекателей, ротаметров и пр.

[14]

Известно изобретение:

[15]

- горелка по патенту [16. RU 2023555 C1, В23К 9/173. Горелка для дуговой сварки в среде защитного газа / Елагин В.П., Снисарь В.В., Липодаев В.Н., Елагин П.П., Артюшенко Б.Н., Киричков СВ. -30.11.1994.] используется только для сварки плавящимся электродом в смеси защитного газа с воздухом, поэтому имеет узкий диапазон применения, сложна конструктивно и особенно тяжело обеспечивать регулировочные значения и образование смеси.

[16]

Ближайшим техническим устройством, выбранным в качестве прототипа, является патент на изобретение [9. RU 2145273 С1 МПК В23К 9/167. Горелка для сварки в защитных газах / Киселев О.С., Жонин В.В. - 10.02.2000], в котором горелка для сварки в защитных газах содержит электрододержатель, сопло, газопроницаемый пористый конический вкладыш, диаметр верхней части которого равен диаметру сопла, нижняя часть выполнена в виде опорной части для цанги электрододержателя, а газоподвод совмещен с токоподводом. Прототип так же, как и аналоги, имеет ограниченное применение - сварка в среде защитного газа. А применение указанного устройства с другими газами, кроме нейтрального, не предусматривается, так как это приведет к значительному перегреву сопла, нестабильности дуги (процесса сварки), снижению качества и надежности сварного шва.

[17]

Целью изобретения является создание простой надежной горелки для сварки в защитных газах с широким диапазоном применения и для авторегулирования предварительно настроенного процесса горения защитного газа и обеспечения стабильных оптимальных температурных условий в зоне сопла и для дуги.

[18]

Предлагаемая горелка для сварки в защитных газах содержит электрод, закрепленный в электрододержателе, сопло, пористый вкладыш, зажатый между цангой электрододержателя и газоподводом, соединенным с соплом, токоподвод и гибкий шланг, закрепленные на газоподводе. Осуществление поставленной цели достигается применением в качестве защитного газа продуктов сгорания природного газа (пропана) при атмосферном давлении в сварочной горелке с неплавящимся электродом, для чего горелка снабжена регулируемым коллектором с заслонкой для подачи атмосферного воздуха в пристеночную зону сопла. Пористый вкладыш выполнен оживальной формы, обеспечивающей ламинарный поток, как одно из условий надежной защиты дуги. В газоподводе выполнены каналы для подачи горючего газа и каналы для подачи атмосферного воздуха, а коллектор имеет каналы, соединенные с каналами для подачи атмосферного воздуха, при этом заслонка выполнена с окнами и с возможностью поворота относительно коллектора с обеспечением смещения окон относительно каналов коллектора.

[19]

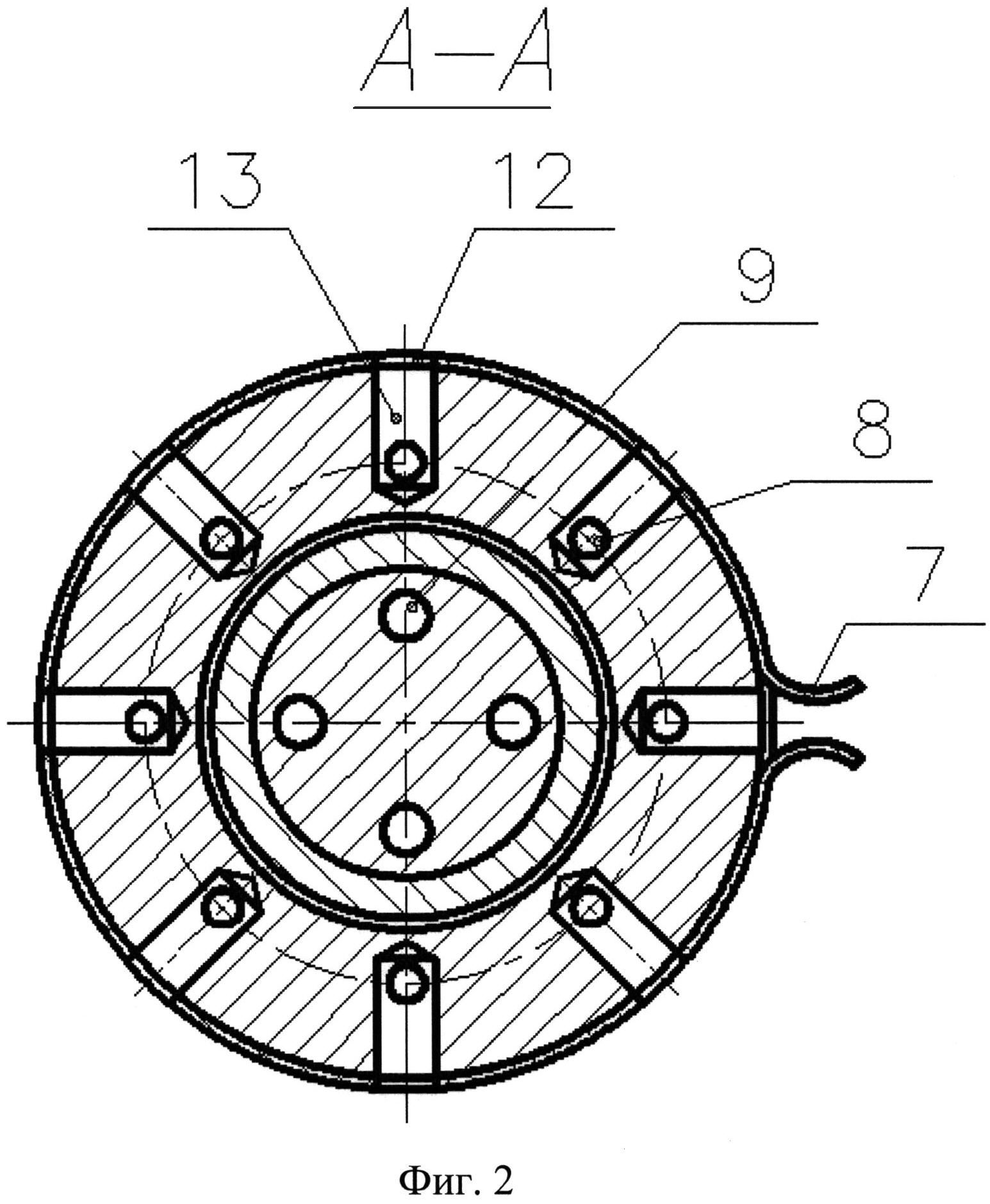
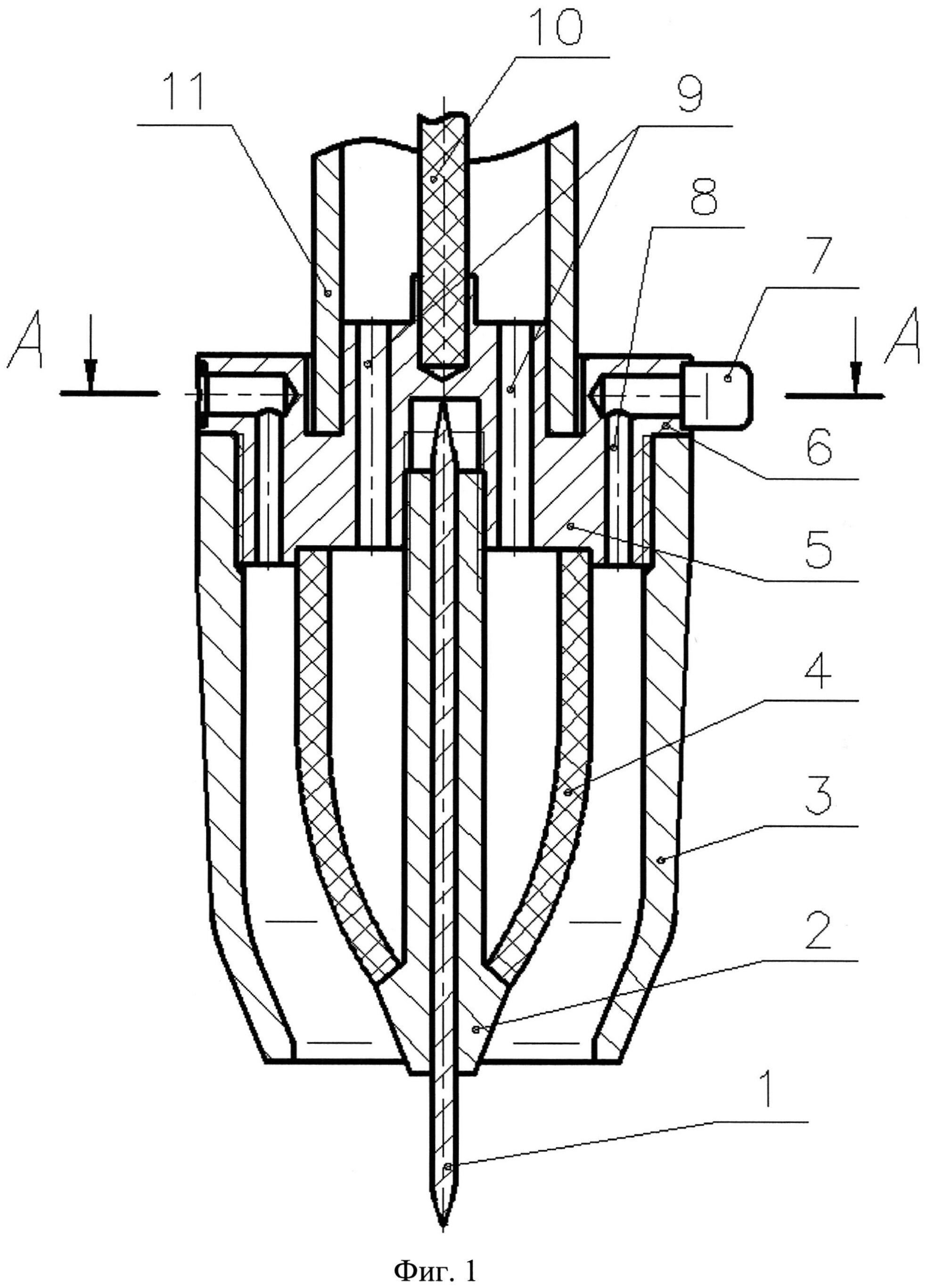
Изобретение поясняется чертежами, где на фиг. 1, 2, 3 представлена горелка для сварки в защитных газах, содержащая электрод 1, закрепленный в электрододержателе 2, сопло 3, пористый вкладыш-втулку 4, зажатый между цангой электрододержателя и газоподводом 5, соединенным с соплом. Газоподвод 5 содержит коллектор 6 с заслонкой 7; через каналы 8 в газоподводе 5 из коллектора 6 в полость горелки подводится атмосферный воздух, а через каналы 9 - защитный газ; токоподвод 10 и гибкий шланг 11 закреплены на газоподводе 5; заслонка 7 содержит окна 12, а коллектор 6 - каналы 13, соединенные с каналами 8.

[20]

Предлагаемая горелка, исключая недостатки существующих устройств, сохраняя лучшее от аналогов и прототипа, обеспечивает без переналадки широкий диапазон применения, например, для прогрева свариваемой зоны или отпуска после сварки. Горелка обеспечивает стабильность защиты сопла от перегрева за счет подачи воздуха в пристеночную зону сопла. Горелка может быть выполнена с использованием стандартного оборудования и материалов отечественного производства. Таким образом, заявленное устройство соответствует критерию «промышленная применимость».

[21]

В режиме использования в качестве защитного газа продуктов диффузионного горения газа при атмосферном давлении сварочная горелка с неплавящимся электродом работает следующим образом. Отрегулированный по длине вылета электрод 1 и пористый вкладыш 4 зажимаются электрододержателем 2, после чего на газоподвод 5 наворачивают сопло 3. Заслонку 7, содержащую окна 12, устанавливают на коллектор 6, совмещая окна 12 с каналами 13. Токоподвод 10 и гибкий шланг 11 закреплены на газоподводе 5.

[22]

Горючий газ (пропан) подают в полость горелки через каналы 9 при задействовании сварочной дуги; воздух через окна 12, каналы 13 и 8 за счет эжекции и температурного перепада давления поступает в пристеночную зону сопла 3, смешиваясь с горючим газом, поступает в виде продуктов сгорания как защитный газ. Смесь горючего газа и воздуха регулируется до стехиометрического соотношения (определяется визуально по зелено-голубому цвету пламени продуктов горения) заслонкой 7, которую поворачивают для смещения окон 12 относительно каналов 13. Далее стехиометрическое соотношение поддерживается в авторегулируемом режиме атмосферной диффузионной горелки. При отключении дуги одновременно прекращается и подача горючего газа (универсальными средствами: на фиг. 1, 2, 3 не показано).

[23]

Если по техпроцессу требуется прогрев зоны сварного шва или отпуск после сварки, горелка используется в режиме диффузионного горения при атмосферном давлении с отключением сварочной дуги.

[24]

Возможно использование горелки с горючим газом и организацией подачи воздуха в сопло 3 через коллектор 6 от источника низкого давления, а также при сварке с нейтральным защитным газом (аргоном) по известной технологии [8. Патент на изобретение RU 2358847 С1, МПК В23К 9/167. Горелка для дуговой сварки неплавящимся электродом в среде защитных газов / Астафьев А.Г. - 20.06.2009.], при этом каналы 13 должны быть перекрыты заслонкой 7 смещением окон 12, а в полость горелки вместо горючего газа подается нейтральный газ.

[25]

В предлагаемой простой горелке сочетаются свойства газовой атмосферной диффузионной горелки и горелки сварочной с неплавящимся электродом и обеспечивается авторегулирование смеси по газодинамическим законам атмосферной диффузионной горелки.

[26]

Заявленная горелка отличается тем, что нужен только мобильный сварочный пост (трансформатор) и баллон пропана или аргона, в зависимости от требуемых работ, что особенно востребовано в полевых условиях при сварке различных металлов, сплавов и пайке.

[27]

Таким образом, горелка для сварки в защитных газах приобретает расширенный диапазон применения без переналадки оборудования и обеспечивает оптимальный температурный режим прогрева сопла при пристеночном потоке эжектируемого воздуха из атмосферы, а также качество и надежность сварного шва.

[28]

Источники информации

[29]

1. Патент на изобретение RU 1760701 С, МПК В23К 9/167. Горелка для сварки в среде защитных газов / Агеев А.А., Корнеев Ю.Н., Серьезнов В.А. - 20.01.1995.

[30]

2. Патент на изобретение RU 2069612 С1, МПК В23К 9/167. Горелка для дуговой сварки неплавящимся электродом в среде защитных газов / Карпов В.И. - 27.11.1996.

[31]

3. Патент на изобретение RU 2047440 С1, МПК В23К 9/167. Горелка для электродуговой сварки неплавящимся электродом в среде защитных газов / Домрин А.Ф., Рогожников В.В. - 10.11.1995.

[32]

4. Патент на изобретение RU 2304496 С1, МПК В23К 9/167. Головка горелки для дуговой сварки в среде защитных газов / Евпятьев О.П., Гилилов И.С. - 20.08.2007.

[33]

5. Патент на изобретение RU 1760702 С, МПК В23К 9/167. Способ аргонодуговой сварки неплавящимся электродом / Букаров В.А., Ищенко Ю.С., Корнеев Ю.Н. - 30.03.1994.

[34]

6. Патент на изобретение RU 2280545 С2, МПК В23К 9/167. Горелка для дуговой сварки неплавящимся электродом в защитных газах / Орехов В.Е. - 27.07.2006.

[35]

7. Патент на изобретение RU 1633626 С, МПК В23К 9/167. Горелка для дуговой сварки в защитных газах / Афанасьев В.П., Славин Г.А., Волобуев СВ., Воронин Ф.В., Антонов А.П., Четвергов Н.П. - 15.07.1994.

[36]

8. Патент на изобретение RU 2358847 С1, МПК В23К 9/167. Горелка для дуговой сварки неплавящимся электродом в среде защитных газов / Астафьев А.Г. - 20.06.2009.

[37]

9. Патент на изобретение RU 2145273 С1 МПК В23К 9/167. Горелка для сварки в защитных газах / Киселев О.С., Жонин В.В. - 10.02.2000.

[38]

10. Патент на полезную модель RU 132369 U1 МПК В23К 9/167. Устройство для сварки в среде защитных газов / Зинченко А.В., Едков С.Н. -20.09.2013. - Бюл. №26.

[39]

11. Патент на изобретение RU 2393945 С2, МПК В23К 9/16. Сварочный инструмент / Кост Э., Флеш Т. - 10.07.2010.

[40]

12. Патент на изобретение RU 2194598 С2, МПК В23К 9/04. Сварочная головка для сварки и наплавки изделий в среде защитного газа / Башкатов В.В. - 20.12.2002.

[41]

13. Патент на изобретение RU 94027019 А1, МПК В23К 9/167. Головка горелки для дуговой сварки неплавящимся электродом в среде защитных газов / Карпов В.И., Губиев А.К., Федоренко Г.А., Грищенко Л.В. - 10.05.1996.

[42]

14. Справочник сварщика. 3-е изд. перераб. и доп. / Под ред. В.В. Степанова. - М.: Машиностроение, 1975. - 520 с.

[43]

15. А.с. на изобретение SU 1318359 Al, В23К 9/16. Горелка для защиты сварочной ванны / Тывончук П.А., Науменко В.Н., Василенко М.А., Бовсуновский А.Н. - 23.06.1987.

[44]

16. Патент на изобретение RU 2023555 CI, В23К 9/173. Горелка для дуговой сварки в среде защитного газа / Елагин В.П., Снисарь В.В., Липодаев В.Н., Елагин П.П., Артюшенко Б.Н., Киричков СВ. - 30.11.1994.

Как компенсировать расходы
на инновационную разработку
Похожие патенты