патент
№ RU 2647351
МПК F01D5/18
Номер заявки
2017115369
Дата подачи заявки
03.05.2017
Опубликовано
15.03.2018
Страна
RU
Как управлять
интеллектуальной собственностью
Чертежи 
3
Реферат

Охлаждаемая лопатка газовой турбины содержит полое перо с входной и выходной кромками, замковую часть и торцевую стенку. В полом пере установлена перегородка. Между стенкой входной кромки и перегородкой расположен канал охлаждения входной кромки, а между торцевой стенкой и перегородкой расположен осевой канал. В выходной кромке расположен щелевой канал. При этом первый и третий радиальные каналы являются отводящими, второй и четвертый радиальные каналы являются подводящими. Второй и четвертый радиальные каналы выполнены сужающимися с минимальной площадью в периферийном сечении лопатки. Расширение первого канала прямо пропорционально сужению второго канала, а расширение третьего канала прямо пропорционально сужению четвертого канала в каждом сечении по высоте полого пера. В полом пере также установлены направляющие и затеняющие ребра, ребра-интенсификаторы. В щелевом канале выходной кромки за перемычками установлена матрица компланарных каналов. В торце замка лопатки установлен жиклер. Изобретение направлено на повышение ресурса рабочих лопаток и, соответственно, газовой турбины в целом. 3 з.п. ф-лы, 4 ил.

Формула изобретения

1. Охлаждаемая лопатка газовой турбины, содержащая полое перо с входной и выходной кромками, замковую часть и торцевую стенку, при этом в полом пере установлена перегородка, между стенкой входной кромки и перегородкой расположен канал охлаждения входной кромки, а между торцевой стенкой и перегородкой расположен осевой канал, в выходной кромке расположен щелевой канал, в серединной части полого пера установлены первая, вторая, третья и четвертая радиальные перегородки, в средней части полого пера расположены первый, второй, третий и четвертый радиальные каналы, причем первый радиальный канал расположен между перегородкой и первой радиальной перегородкой, второй радиальный канал расположен между первой и второй радиальными перегородками, третий радиальный канал расположен между второй и третьей радиальными перегородками, четвертый радиальный канал расположен между третьей и четвертой радиальными перегородками, при этом первый и третий радиальные каналы являются отводящими, второй и четвертый радиальные каналы являются подводящими, при этом в первой и третьей радиальных перегородках со стороны корыта выполнены сквозные отверстия, в местах соединения перегородки и первой радиальной перегородки, а также второй и третьей радиальных перегородок выполнены отверстия, на стенке второго и четвертого радиальных каналов со стороны корыта установлены направляющие ребра, на стенке первого и третьего радиальных каналов со стороны корыта установлены затеняющие ребра, на стенке первого, второго, третьего и четвертого радиальных каналов со стороны спинки расположены ребра-интенсификаторы, перед щелевым каналом выходной кромки установлены перемычки, между перемычками и четвертой радиальной перегородкой расположен коллекторный канал, в щелевом канале выходной кромки за перемычками установлена матрица компланарных каналов, в четвертой радиальной перегородке выполнено подпитывающее отверстие на расстоянии (0,15-0,25) длины выходной кромки от корневого сечения лопатки, в торце замка лопатки установлен жиклер, отличающаяся тем, что сквозные отверстия выполнены со стороны корыта, направляющие ребра расположены непосредственно за сквозными отверстиями с шагом установки, равным шагу сквозных отверстий, затеняющие ребра расположены непосредственно перед сквозными отверстиями с шагом установки, равным шагу сквозных отверстий, первый и третий радиальные каналы выполнены расширяющимися с минимальной площадью в корневом сечении лопатки, второй и четвертый радиальные каналы выполнены сужающимися с минимальной площадью в периферийном сечении лопатки, причем расширение первого канала прямо пропорционально сужению второго канала, а расширение третьего канала прямо пропорционально сужению четвертого канала.

2. Охлаждаемая лопатка газовой турбины по п. 1, отличающаяся тем, что направляющие ребра и затеняющие ребра установлены перпендикулярно продольной оси полого пера.

3. Охлаждаемая лопатка газовой турбины по п. 1, отличающаяся тем, что направляющие ребра и затеняющие ребра установлены под углом к поперечной оси полого пера, значение которого лежит в диапазоне от 30 до 60 градусов.

4. Охлаждаемая лопатка газовой турбины по п. 3, отличающаяся тем, что направляющие ребра и затеняющие ребра выполнены со стороны корыта с перпендикулярными продольной оси полого пера участками ребра у первой и третьей радиальных перегородок.

Описание

[1]

Изобретение относится к турбостроению, в частности к охлаждаемой лопатке газовой турбины, предназначенной преимущественно для работы в области высоких температур.

[2]

Известны охлаждаемые лопатки газовых турбин с тонкостенным полым пером, через которое организуют пропускание охлаждающей среды для обеспечения конвективного теплообмена. Такие лопатки имеют наиболее широкое распространение из-за простоты достижения охлаждающего эффекта. Однако они могут применяться для работы в относительно невысоком диапазоне температур, не превышающем 1500 -1800 К. В области более высоких температур необходимо использовать дополнительные средства, обеспечивающие интенсификацию теплообмена при относительно небольшом расходе охлаждающей среды.

[3]

Известна лопатка газовой турбины с петлевой системой охлаждения (патент US №7955053, МПК F01D 5/08, опубл. 07.06.2011), содержащая полое перо с входной и выходной кромками, перегородки, формирующие три радиальных канала, которые расположены вдоль входной кромки, в серединной части пера и вдоль выходной кромки. На стенках радиальных каналов выполнены наклонные ребра для интенсификации теплоотдачи к охлаждающему воздуху. В радиальном канале, расположенном у выходной кромки, установлены штырьки. В выходной кромке выполнены щелевые каналы для выпуска воздуха в проточную часть турбины. Воздух в соседних радиальных каналах течет в противоположных направлениях.

[4]

Недостатком данного технического решения является низкая эффективность охлаждения корневых сечений серединной части пера и выходной кромки из-за подогрева воздуха в радиальном канале входной кромки.

[5]

Известна другая лопатка с внутренними каналами охлаждения (патент US №4753575, МПК F01D 5/18, опубл. 28.06.1988), содержащая входную и выходную кромки, внутреннюю полость с шестью перегородками, которые формируют радиальные каналы охлаждения для петлевого течения воздуха. Воздух в радиальных каналах серединной части пера движется от выходной кромки к передней и вытекает в проточную часть через отверстия перфорации, выполненные в районе входной кромки.

[6]

Основным недостатком данного технического решения является наличие разности температуры на серединном участке пера, приводящей к дополнительным термическим напряжениям. Более высокая температура стенки со стороны корыта обусловлена тем, что в радиальных каналах коэффициенты теплоотдачи со стороны спинки и корыта одинаковые по величине, а на наружных стенках коэффициенты теплоотдачи со стороны корыта значительно выше.

[7]

Наиболее близким по технической сущности к заявляемому изобретению является охлаждаемая лопатка газовой турбины (патент ЕР №1022434, МПК F01D 5/18, опубл. 26.07.2000), содержащая полое перо с входной и выходной кромками и продольными перегородками, образующими радиальные каналы охлаждения вдоль входной кромки и на серединном участке пера, на стенках которых со стороны спинки и корыта установлены ребра для интенсификации теплоотдачи, в перегородках выполнены сквозные отверстия, соединяющие радиальные каналы.

[8]

Недостатком настоящего технического решения является неравномерность температурного поля со стороны спинки и корыта, которая обусловлена одинаковой интенсификацией теплоотдачи на противоположных стенках радиальных каналов. Это приводит к увеличению суммарных напряжений в стенках лопатки, особенно на переходных режимах работы турбины и снижению ресурса, которое обусловлено малоцикловой усталостью.

[9]

Технической задачей предлагаемого изобретения является выравнивание температурного поля в серединной части пера лопатки путем интенсификации охлаждения в радиальных каналах со стороны корыта.

[10]

Технический результат заключается в повышении ресурса рабочих лопаток и, соответственно, газовой турбины в целом.

[11]

Это достигается тем, что известная охлаждаемая лопатка газовой турбины, содержащая полое перо с входной и выходной кромками, замковую часть и торцевую стенку, при этом в полом пере установлена перегородка, между стенкой входной кромки и перегородкой расположен канал охлаждения входной кромки, а между торцевой стенкой и перегородкой расположен осевой канал, в выходной кромке расположен щелевой канал, в серединной части полого пера установлены первая, вторая, третья и четвертая радиальные перегородки, в средней части полого пера расположены первый, второй, третий и четвертый радиальные каналы, причем первый радиальный канал расположен между перегородкой и первой радиальной перегородкой, второй радиальный канал расположен между первой и второй радиальными перегородками, третий радиальный канал расположен между второй и третьей радиальными перегородками, четвертый радиальный канал расположен между третьей и четвертой радиальными перегородками, при этом первый и третий радиальные каналы являются отводящими, второй и четвертый радиальные каналы являются подводящими, при этом в первой и третьей радиальных перегородках со стороны корыта выполнены сквозные отверстия, в местах соединения перегородки и первой радиальной перегородки, а также второй и третьей радиальных перегородок выполнены отверстия, на стенке второго и четвертого радиальных каналов со стороны корыта установлены направляющие ребра, на стенке первого и третьего радиальных каналов со стороны корыта установлены затеняющие ребра, на стенке первого, второго, третьего и четвертого радиальных каналов со стороны спинки расположены ребра-интенсификаторы, перед щелевым каналом выходной кромки установлены перемычки, между перемычками и четвертой радиальной перегородкой расположен коллекторный канал, в щелевом канале выходной кромки за перемычками установлена матрица компланарных каналов, в четвертой радиальной перегородке выполнено подпитывающее отверстие на расстоянии (0,15-0,25) длины выходной кромки от корневого сечения лопатки, в торце замка лопатки установлен жиклер, при этом сквозные отверстия выполнены со стороны корыта, направляющие ребра расположены непосредственно за сквозными отверстиями с шагом установки, равным шагу сквозных отверстий, затеняющие ребра расположены непосредственно перед сквозными отверстиями с шагом установки, равным шагу сквозных отверстий, первый и третий радиальные каналы выполнены расширяющимися с минимальной площадью в корневом сечении лопатки, второй и четвертый радиальные каналы выполнены сужающимися с минимальной площадью в периферийном сечении лопатки, причем расширение первого канала прямо пропорционально сужению второго канала, а расширение третьего канала прямо пропорционально сужению четвертого канала. При этом направляющие ребра и затеняющие ребра могут быть установлены перпендикулярно продольной оси полого пера либо под углом к поперечной оси полого пера, значение которого лежит в диапазоне от 30 до 60 градусов. При установке под углом 30-60 градусов к поперечной оси полого пера направляющие ребра и затеняющие ребра со стороны корыта выполнены с перпендикулярными продольной оси полого пера участками ребра у первой и третьей радиальных перегородок.

[12]

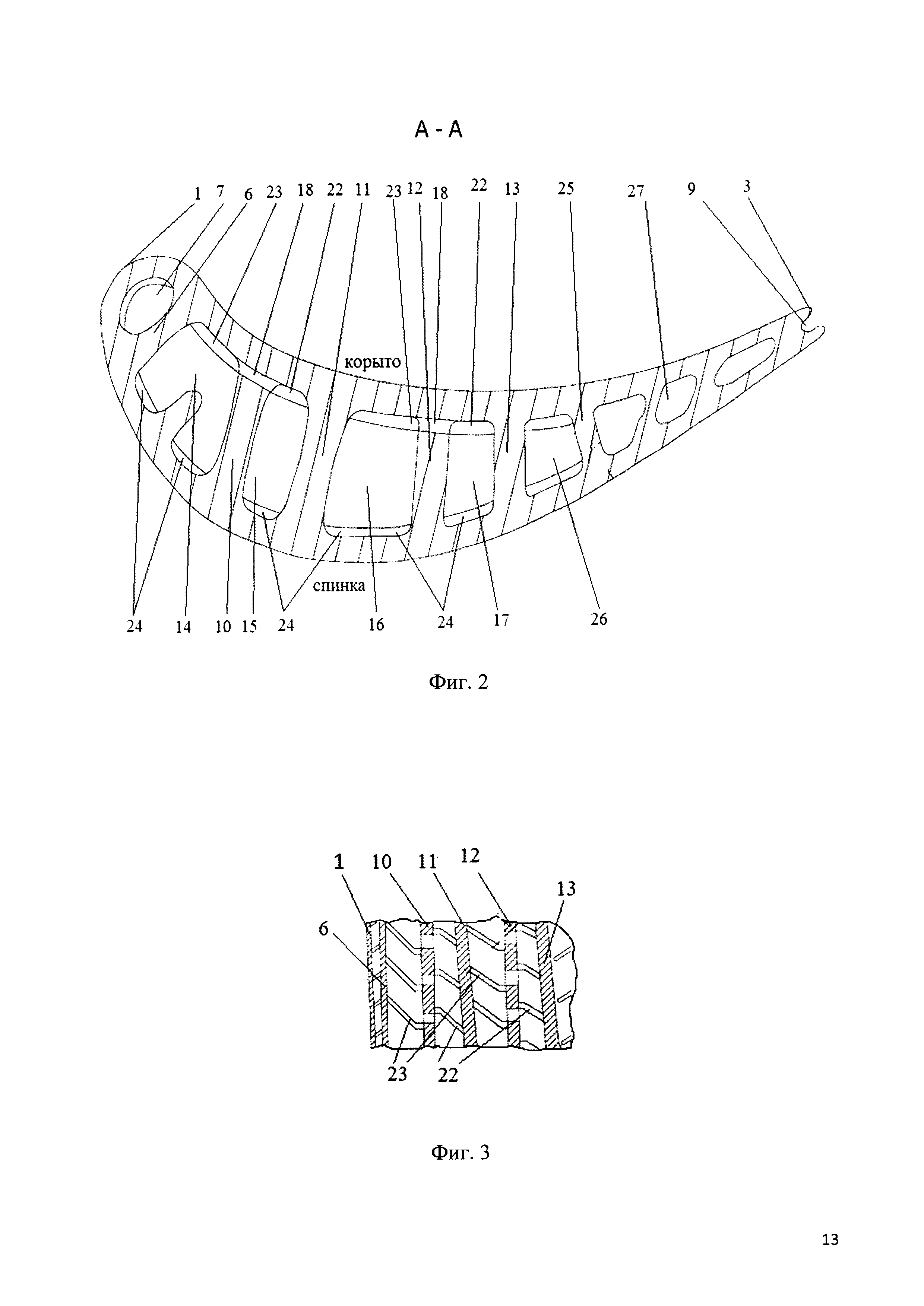
Сущность изобретения поясняется чертежами, где на фиг. 1 изображена охлаждаемая лопатка газовой турбины, продольный разрез; на фиг. 2 представлено поперечное сечение А-А пера лопатки на фиг. 1; на фиг. 3 показан вариант выполнения ребер в радиальных каналах со стороны корыта, на фиг. 4 представлен график распределения плотности теплового потока по периметру среднего по высоте пера сечения трех исследуемых опытных лопаток, которое соответствует сечению А-А на фиг. 1.

[13]

Охлаждаемая лопатка газовой турбины содержит полое перо 1 с входной 2 и выходной 3 кромками, замковую часть 4 и торцевую стенку 5. В полом пере 1 установлена перегородка 6. Между стенкой входной кромки 2 и перегородкой 6 расположен канал охлаждения входной кромки 7, а между торцевой стенкой 5 и перегородкой 6 расположен осевой канал 8. В выходной кромке 3 расположен щелевой канал 9.

[14]

В серединной части полого пера 1 установлены первая 10, вторая 11, третья 12 и четвертая 13 радиальные перегородки. В средней части полого пера 1 расположены первый 14, второй 15, третий 16 и четвертый 17 радиальные каналы, причем первый радиальный канал 14 расположен между перегородкой 6 и первой радиальной перегородкой 10, второй радиальный канал 15 расположен между первой 10 и второй 11 радиальными перегородками, третий радиальный канал 16 расположен между второй 11 и третьей 12 радиальными перегородками, четвертый радиальный канал 17 расположен между третьей 12 и четвертой 13 радиальными перегородками. При этом первый 14 и третий 16 радиальные каналы являются отводящими, второй 15 и четвертый 17 радиальные каналы являются подводящими.

[15]

В первой 10 и третьей 12 радиальных перегородках со стороны корыта выполнены сквозные отверстия 18. Первый 14 и третий 16 радиальные каналы выполнены расширяющимися с минимальной площадью в корневом сечении лопатки 19. В местах соединения перегородки 6 и первой радиальной перегородки 10, а также второй 11 и третьей 12 радиальных перегородок выполнены отверстия 20. Второй 15 и четвертый 17 радиальные каналы выполнены сужающимися с минимальной площадью в периферийном сечении лопатки 21. Причем расширение первого канала 14 прямо пропорционально сужению второго канала 15, а расширение третьего канала 16 прямо пропорционально сужению четвертого канала 17 в каждом сечении по высоте полого пера 1.

[16]

На стенке второго 15 и четвертого 17 радиальных каналов со стороны корыта установлены направляющие ребра 22 с шагом установки, равным шагу сквозных отверстий 18. При этом направляющие ребра 22 установлены непосредственно за сквозными отверстиями 18. На стенке первого 14 и третьего 16 радиальных каналов со стороны корыта установлены затеняющие ребра 23 с шагом установки, равным шагу сквозных отверстий 18. При этом затеняющие ребра 23 установлены непосредственно перед сквозными отверстиями 18.

[17]

Направляющие ребра 22 и затеняющие ребра 23 могут быть установлены перпендикулярно продольной оси Y полого пера 1 или под углом 30-60 градусов к поперечной оси X полого пера 1. При установке под углом 30-60 градусов к поперечной оси X полого пера 1 направляющие ребра 22 и затеняющие ребра 23 со стороны корыта выполнены с перпендикулярными продольной оси Y полого пера 1 участками ребра у первой 10, и третьей 12 радиальных перегородок (фиг. 3). Длина перпендикулярного участка направляющих 22 и затеняющих 23 ребер составляет от 1/4 до 1/3 ширины поперечного сечения канала, в котором они установлены.

[18]

На стенке первого 14, второго 15, третьего 16 и четвертого 17 радиальных каналов со стороны спинки расположены ребра-интенсификаторы 24 с шагом, равным шагу сквозных отверстий 18. При этом ребра-интенсификаторы 24 смещены вдоль продольной оси Y полого пера 1 относительно направляющих 22 и затеняющих 23 ребер на половину шага соответственно.

[19]

Перед щелевым каналом 9 выходной кромки 3 установлены перемычки 25, закрепленные на стенках спинки и корыта полого пера 1. Между перемычками 25 и четвертой радиальной перегородкой 13 расположен коллекторный канал 26.

[20]

В щелевом канале 9 выходной кромки 3 за перемычками 25 установлена матрица компланарных каналов 27. В четвертой радиальной перегородке 13 выполнено подпитывающее отверстие 28 на расстоянии (0,15-0,25) длины выходной кромки 3 от корневого сечения лопатки 19. В торце замка лопатки установлен жиклер 29.

[21]

Охлаждаемая лопатка газовой турбины работает следующим образом.

[22]

Охлаждающий воздух поступает в канал охлаждения входной кромки 7, а также в первый 14, второй 15, третий 16 и четвертый 17 радиальные каналы через замковую часть 4. Воздух движется по каналу охлаждения входной кромки 7, охлаждая входную кромку 2, далее поворачивает на 90° в осевой канал 8, охлаждает его стенки и вытекает через щелевой канал 9 в проточную часть турбины. В первый 14 и третий 16 радиальные каналы первичный воздух поступает через отверстия 20.

[23]

Воздух, который течет по второму 15 и четвертому 17 радиальным каналам, тормозится направляющими ребрами 22 и через сквозные отверстия 18 перетекает в первый 14 и третий 16 радиальные каналы. Затеняющие ребра 23 формируют в первом 14 и третьем 16 радиальных каналах отрывные зоны, в которые поступают струи воздуха из сквозных отверстий 18. Течение воздуха через отверстия 18, сформированное направляющими ребрами 22, обеспечивает односторонний слив пограничного слоя на стенках второго 15 и четвертого 17 радиальных каналов со стороны корыта, а затеняющие ребра 23 - одностороннюю струйную интенсификацию теплоотдачи на стенках первого 14 и третьего 16 радиальных каналов со стороны корыта. Это обеспечивает повышение эффективности охлаждения со стороны корыта и выравнивание температуры на противоположных стенках первого 14, второго 15, третьего 16 и четвертого 17 радиальных каналов.

[24]

Сужение проходного сечения второго 15 и четвертого 17 радиальных каналов и расширение проходного сечения первого 14 и третьего 16 радиальных каналов вдоль продольной оси Y полого пера 1 обеспечивает гарантированное перетекание воздуха из второго 15 и четвертого 17 радиальных каналов в первый 14 и третий 16 радиальные каналы через сквозные отверстия 18 при его центробежном течении по радиальным каналам 14-17 от корневого сечения лопатки 19 к периферийному сечению лопатки 21. Такое конструктивное выполнение радиальных каналов в серединной части пера обеспечивает одностороннюю интенсификацию теплоотдачи со стороны корыта за счет перетекания воздуха через сквозные отверстия 18. Увеличение теплоотдачи со стороны корыта обеспечивает выравнивание температурного поля в поперечном сечении полого пера 1.

[25]

Воздух, вытекающий из радиальных каналов 14-17 поворачивает в коллекторный канал 26, в котором реализуется центростремительное течение воздуха. Из коллекторного канала 26 воздух обтекает перемычки 25 и поступает в матрицу компланарных каналов 27, после чего через щелевой канал 9 вытекает в проточную часть турбины выходной кромки 3. Воздух, вытекающий через подпитывающее отверстие 28 в коллекторный канал 26, уменьшает величину застойной зоны в коллекторном канале 26. Для охлаждения корневого сечения лопатки 19 воздух подается через жиклер 29.

[26]

Для подтверждения решения поставленной цели, с использованием технологии селективного лазерного плавления, были изготовлены три одинаковых модели рабочей лопатки (Л1, Л2, Л3) с предлагаемой системой охлаждения в масштабе 1:1. Испытания проводились методом калориметрирования в жидкометаллическом термостате, позволяющим определять распределение плотности теплового потока по наружной поверхности пера лопатки (Копелев, С.З. Тепловые и гидравлические характеристики охлаждаемых лопаток газовых турбин [Текст] / С.З. Копелев, М.Н. Галкин, А.А. Харин, И.В. Шевченко. - М.: Машиностроение, 1993. - 176 с.).

[27]

На фиг. 4 приведен график распределения плотности теплового потока по периметру сечения 3 исследуемых моделей лопатки, которое соответствует сечению А-А на фиг. 1, где (+) - спинка, (-) - корыто

[28]

Испытания проводились для рабочего перепада давления Р/Ро=1,78, где Р - давление воздуха на входе в перо, Ро - давление на срезе щелевого канала выходной кромки. Радиальным каналам со стороны корыта соответствует участок поверхности с координатами со стороны корыта - (+5…+19) мм, со стороны спинки - (-6…-27) мм. Как видно, тепловой поток q со стороны корыта больше, чем со стороны спинки, в 1,7-1,9 раза. Полученные результаты подтверждают достижение поставленной цели при использовании предлагаемого технического решения.

[29]

Предлагаемая конструкция радиальных каналов 14-17 серединной части полого пера 1 позволяет в 1,7-1,9 раза увеличить интенсивность теплоотдачи к охлаждающему воздуху на стенках каналов со стороны корыта. Это уменьшает температуру стенки полого пера 1 со стороны корыта при обтекании потоком горячего газа на турбине и уменьшает разность температуры полого пера 1 со стороны спинки и корыта. Снижение неравномерности температурного поля полого пера 1 лопатки уменьшает величину термических напряжений и, как следствие, суммарных напряжений в стенках полого пера 1 лопатки. Это обеспечивает без изменения суммарного расхода воздуха через лопатку увеличение запасов прочности и повышения ресурса работы лопатки.

[30]

Использование изобретения позволяет повысить ресурс рабочих лопаток и, соответственно, газовой турбины в целом за счет выравнивания температурного поля в серединной части пера лопатки.

Как компенсировать расходы
на инновационную разработку
Похожие патенты