патент
№ RU 2663788
МПК B22D18/00
Номер заявки
2017125842
Дата подачи заявки
19.07.2017
Опубликовано
09.08.2018
Страна
RU
Как управлять
интеллектуальной собственностью
Чертежи 
1
Реферат

Изобретение относится к гравитационному литью мелких и средних пустотелых отливок. Способ гравитационного литья полых фасонных отливок включает изготовление литейной формы, заливку расплава в литейную форму, кристаллизацию требуемой толщины стенки отливки, удаление остатков жидкого металла из полости литейной формы и извлечение затвердевающей отливки из литейной формы. При этом заливку металла осуществляют через литниковую систему, в которой выполняют карманы, остатки жидкого металла удаляют в упомянутые карманы под давлением газа, подаваемого в полость литейной формы, а после извлечения отливки осуществляют обрубку литниковой системы. Технический результат - уменьшение расхода металла за счет отсутствия прибылей, сокращение трудоемкости изготовления изделия. 1 ил., 1 пр.

Формула изобретения

Способ гравитационного литья полых фасонных отливок, включающий изготовление литейной формы, заливку расплава в литейную форму, кристаллизацию требуемой толщины стенки отливки, удаление остатков жидкого металла из полости литейной формы, извлечение затвердевающей отливки из литейной формы, отличающийся тем, что заливку металла осуществляют через литниковую систему, в которой выполняют карманы, при этом остатки жидкого металла удаляют в упомянутые карманы под давлением газа, подаваемого в полость литейной формы, а после извлечения отливки осуществляют обрубку литниковой системы.

Описание

[1]

Изобретение относится к области литья фасонных (полых, тонкостенных) отливок из алюминиевых сплавов с использованием песчано-глинистых литейных форм. Литейная форма обеспечивает формирование внешней геометрии изделия требуемой толщины за счет нарастания корочки металла от ее стенок. Сплавы на основе алюминия являются наиболее востребованными для использования в авиационной, автомобильной и ракетной промышленности. Способ позволяет расширить номенклатуру мелких и средних изделий. В результате получается литое изделие с внутренней полостью и заданной толщиной стенок. Установка прибылей при этом способе не предусматривается. Отлитые заготовки имеют качество поверхности соответствующее методу гравитационного литья.

[2]

Технологический процесс изготовления отливки состоит из нескольких этапов, среди которых можно выделить создание отпечатка модели и затвердевание залитого расплава в формообразующую полость. При затвердевании расплава происходит процесс роста кристаллов по краям формообразующей полости, их активный рост вызван высокой разницей температур между расплавом и формой. Кристаллизация происходит от стенок к центру, что обычно приводит к возникновению дефектов - усадочным раковинам, возникающим в тепловых узлах, где расплав затвердевает неравномерно.

[3]

Для уменьшения дефектов в отливке используются технологические приемы, такие как литейные прибыли. Прибыль - специальный технологический прилив к поверхности отливки, который располагается над питаемым узлом отливки и затвердевает последним. При использовании данного технологического приема расходуется большое количество металла, увеличивается объем труда и временные интервалы изготовления продукции.

[4]

Для получения полых изделий в большинстве случаев используют литейные стержни, которые заформовываются с моделью и затем извлекаются либо растворяются при контакте с расплавом, либо вымываются. Наиболее технологичным является изготовление литейных форм для специальных методов литья, таких как литье в кокиль, литье под давлением, однако данные способы невыгодны для мелкосерийного производства и художественного литья.

[5]

Известен способ - Технология литья под давлением с газом Gas Assisted Molding по патенту US 6019918 А.

[6]

При применении технологии литья под давлением с газом, азот сначала подготавливается из воздуха специальным газогенератором или поставляется в готовом виде из баллонов. Разогретый полимер шприцуется в полость, состоящую из двух соединенных полуформ, затем азот через специальное сопло термопластавтомата подается в пресс-форму под давлением газовым компрессором. Поток газа управляется газовым контроллером, который регулирует подачу газа в пресс-форму, а также работу клапанов. Основное назначение литья с газом - крупногабаритные изделия, корпусные детали, а также детали, которые можно сделать полыми внутри (ручки, вешалки и т.п.). Технология предназначена для литья пластмасс и экономически не выгодна. Рассчитана на промышленные предприятия массового производства. Использование пресс-форм влечет за собой ограниченную номенклатуру отливок, при ее расширении изготовление пресс-форм потребует дополнительных экономических единиц (финансы, время, труд).

[7]

В качестве ближайшего аналога принят способ гравитационного литья полых фасонных отливок, включающий изготовление литейной формы, заливку расплава в литейную форму, кристаллизацию требуемой толщины стенки отливки, удаление остатков жидкого металла из полости литейной формы (AU 501813 В2, 28.06.1979) (1).

[8]

Заявленное изобретение отличается от известного решения (1) тем, что заливку расплавленного металла осуществляют через литниковую систему, в которой выполняют карманы, при этом остатки жидкого металла удаляют в упомянутые карманы путем подачи в полость литейной формы газового давления, а после извлечения отливки осуществляют обрубку литниковой системы механическим путем.

[9]

Предлагаемый способ применяется для изготовления полых фасонных отливок гравитационным методом литья. После заливки расплав кристаллизуется от стенок к центру, обеспечивая равномерный рост кристаллов до нужной толщины отливки. Газ поступает через канал в верхнюю часть формирующейся отливки. Из-за непрерывной подачи газ расширяется внутри полости и равномерно выдавливает остатки жидкого расплава в обратном направлении. Расплав, который был выжат за счет оказанного отрицательного давления, продолжает свое движение к стояку и из него разливается по карманам для приема вытесненного металла.

[10]

Задача предлагаемого способа литья - получение отливок с качеством поверхности, соответствующим методу гравитационного литья, существенное расширение номенклатуры мелких и средних изделий с требуемой толщиной стенки (полых, без внутренних дефектов), а также сокращение расхода металла (повышение коэффициента использования металла (КИМ)) и трудоемкости изготовления пустотелых литых изделий за счет отсутствия в данном методе литейных прибылей и возможности отказа от применения стержней.

[11]

Технический результат - возможность получения широкой номенклатуры мелких и средних полых изделий с требуемой толщиной стенки методом гравитационного литья. При этом сокращается расход металла за счет отсутствия литейных прибылей, а также снижается трудоемкость, т.к. в данном способе не используются стержни.

[12]

Для решения задачи предлагается способ гравитационного литья для изготовления полых фасонных отливок, включающий изготовление литейной формы, заливку расплава в литейную форму, кристаллизацию требуемой толщины стенки отливки, удаление остатков жидкого металла из полости литейной формы, извлечение затвердевающей отливки из литейной формы, отличающийся тем, что заливку металла осуществляют через литниковую систему, в которой выполняют карманы, при этом остатки жидкого металла удаляют в упомянутые карманы под давлением газа, подаваемого в полость литейной формы, а после извлечения отливки осуществляют обрубку литниковой системы.

[13]

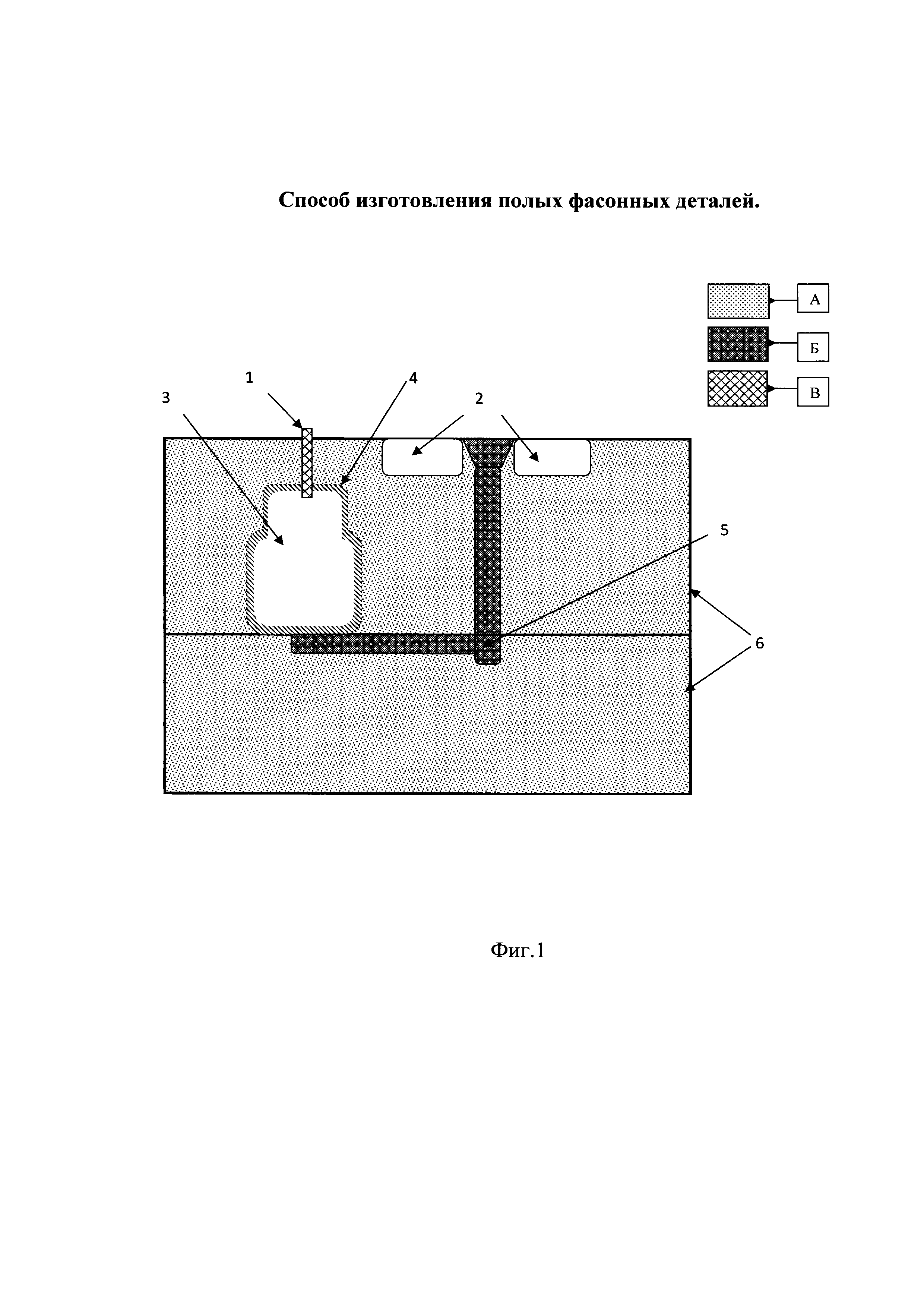
Способ поясняется фиг. 1, на которой изображена фасонная тонкостенная деталь с литниковой питающей системой полученная методом выжимания расплава газом.

[14]

Способ гравитационного литья полых фасонных отливок включает: формовку литейной формы (3) с газовым каналом (1) и литниковой системой (5) с карманами (2) для «выжатого» расплава в приспособлении опока (6), служащим для удержания формовочной смеси при ее уплотнении, засыпку песчано-глинистой смеси (А), заливку расплава в литниковую систему (5) и подачу не контактируемого газа (В) в зависимости от объема отливки (4) через газовый канал (1) в полость литейной формы (3), после полного заполнения формы расплавом отливку (4) с литниковой системой (5) выбивают из приспособления опоками (6) и механическим путем обрубают от подведенной системы питания (5, Б).Давление газа, время подачи или объем газа определяются экспериментально для каждого отдельного случая.

[15]

Пример осуществления способа

[16]

Для изготовления отливки был выбран сплав АК7ПЧ (АЛ9-1), предназначенный для изготовления сложных по конфигурации деталей агрегатов и приборов, испытывающих средние нагрузки и работающих при температурах до 200°С. Сплав активно используется в авиационной промышленности, а узкий интервал кристаллизации способствует быстрому и равномерному затвердеванию отливки.

[17]

Форма для заливки расплава подготовлена из песчано-глинистой смеси, удерживаемой двумя опоками. В момент формовки модели отливки (с припусками для механической обработки) в верхней ее части изготавливается канал для подачи не контактируемого газа - азота.

[18]

Близкий по температуре к ликвидусу (t=610°) расплав заливается в форму, где после ее заполнения начинается процесс кристаллизации. Процесс резкого охлаждения вызван температурным перепадом между формой и расплавом, поэтому кристаллы растут от стенок к центру.

[19]

В полость формы через газовый канал под давлением 5-15 атм (давление газа повышается к концу стадии заполнения) вводится азот, и противодавлением, оказанным на поверхность расплава, выжимает его в литниковые карманы. Образовавшуюся отливку вместе с литниковой системой выбивают из опок. Затем изделие отделяют от питающей системы механическим путем и отправляют на дальнейшую обработку.

Как компенсировать расходы
на инновационную разработку
Похожие патенты