патент
№ RU 2629364
МПК H01G11/24

СУПЕРКОНДЕНСАТОР НА ОСНОВЕ КМОП-ТЕХНОЛОГИИ

Авторы:
Киреев Валерий Юрьевич Белов Алексей Николаевич Гусев Евгений Эдуардович
Все (5)
Номер заявки
2016147871
Дата подачи заявки
07.12.2016
Опубликовано
29.08.2017
Страна
RU
Как управлять
интеллектуальной собственностью
Чертежи 
3
Реферат

Изобретение относится к твердотельному суперконденсатору и может быть использовано в устройствах хранения энергии разнообразных интегральных микросхем. Суперконденсатор содержит два электрода, размещенный между ними диэлектрический слой, конформно расположенный на нижнем электроде, при этом верхний электрод конформно расположен на диэлектрическом слое, нижний электрод сформирован на профильно-структурированном основании из пористого оксида алюминия или титана. Увеличение плотности энергии суперконденсатора, повышение воспроизводимости формирования структуры с регулируемыми значениями емкости и плотности запасенной энергии является техническим результатом изобретения. 2 з.п. ф-лы, 5 ил.

Формула изобретения

1. Твердотельный суперконденсатор, содержащий два электрода и размещенный между ними диэлектрический слой, конформно расположенный на нижнем электроде, при этом верхний электрод конформно расположен на диэлектрическом слое, отличающийся тем, что нижний электрод сформирован на профильно-структурированном основании из пористого оксида алюминия или титана.

2. Твердотельный суперконденсатор по п. 1, отличающийся тем, что рельефно-структурированное основание сформировано в полупроводниковой подложке.

3. Твердотельный суперконденсатор по п. 2, отличающийся тем, что рельефно-структурированное основание в полупроводниковой подложке является сквозным, а электроды суперконденсатора формируются с разных сторон полупроводниковой подложки.

Описание

[1]

Изобретение относится к области изделий твердотельной микро- и наноэлектроники на основе КМОП-технологии и применяемых в ней материалов, а именно к твердотельным суперконденсаторам, и может быть использовано в качестве устройств для хранения энергии и электропитания разнообразных интегральных микросхем (ИМС), микроэлектронных устройств и приборов на основе микроэлектромеханических систем (МЭМС-приборов), к которым предъявляются высокие требования по циклическому ресурсу и готовности к работе.

[2]

В настоящее время большие перспективы в области промышленного энергосбережения открывают суперконденсаторы, или, как их принято называть, ионисторы, которые позволяют хранить в сотни раз больше энергии, чем традиционные емкостные элементы, причем делать это на протяжении долгого времени без утечки заряда.

[3]

Рассмотрим несколько аналогов предлагаемого суперконденсатора. Коллектив авторов (Carу L. Pint и др.) анализирует суперконденсатор на основе вертикально ориентированных углеродных нанотрубок (УНТ), формирование которых выходит за рамки КМОП-технологии [1]. Кроме того, выбранные в качестве нижнего электрода УНТ вследствие хаотичного формирования на поверхности не обеспечивают однородность по площади плотности накопленного заряда. И, таким образом, не обеспечивается точное воспроизведение номинала емкости с единицы площади суперконденсатора, необходимого для функционирования в составе ИМС.

[4]

Известен накопительный конденсатор элемента памяти интегральных схем, содержащий первую и вторую обкладки и разделительную диэлектрическую область между ними [2]. Причем первая обкладка углублена в подложку и ее поверхность выполнена рельефной за счет формирования выступов из материала обкладки, а нижняя поверхность второй обкладки повторяет рельеф первой. При этом разделительная область выполнена из диэлектрического материала, а обкладки выполнены из легированного поликремния (Si*). Недостатком данного устройства является выбор в качестве материала обкладок легированного поликремния, который по сравнению с металлом обладает меньшей проводимостью и большой величиной зерна, что не позволяет минимизировать толщину обкладки и получить высокую плотность заряда по площади. Кроме того, формирование рельефа первой обкладки производится с применением трудоемкой и прецизионной операции - фотолитографии и использованием дорогого фотошаблона.

[5]

Наиболее близким, по сути, к изобретению, является твердотельный суперконденсатор, содержащий два электрода и размещенный между ними диэлектрический слой, при этом нижний электрод выполнен из материала с большой удельной площадью поверхности, диэлектрический слой конформно и однородно расположен на нижнем электроде, верхний электрод конформно и однородно расположен на диэлектрическом слое и выполнен из оксида цинка, легированного алюминием, отличающийся тем, что материалом диэлектрического слоя является многокомпонентный оксид, содержащий смесь по меньшей мере двух оксидов из ряда TiO2, HfO2, ZrO2, Аl2O3, Та2O5, Nb2O5, Y2O3, (lantanoid)2O3, причем материал диэлектрического слоя имеет диэлектрическую проницаемость слоя в интервале 10-30 [3].

[6]

К недостаткам прототипа можно отнести материалы нижнего и верхнего электрода. Нижний электрод состоит из углеродных нанотрубок (УНТ), которые, как отмечено выше, обладают плохой воспроизводимостью плотности заряда по площади и, кроме того, не сочетаются с процессами КМОП-технологии. Верхний электрод состоит из оксида цинка, легированного алюминием. Как известно, цинк легко диффундирует в прилегающий материал, что повышает вероятность деградации структуры; ограничивает диапазон использования микроэлектронных приборов.

[7]

Задачей настоящего изобретения является реализация суперконденсатора на традиционных процессах КМОП-технологии с целью снижения себестоимости и повышения воспроизводимости формирования структуры с регулируемыми значениями емкости и плотности запасенной энергии.

[8]

Поставленная задача решается тем, что формируют твердотельный суперконденсатор, содержащий два электрода и размещенный между ними диэлектрический слой, конформно расположенный на нижнем электроде, при этом верхний электрод конформно расположен на диэлектрическом слое, нижний электрод сформирован на профильно-структурированном основании из пористого оксида алюминия или титана.

[9]

Технологическая особенность формирования удаляемого и основного слоев пористого анодного оксида алюминия (Аl2O3) заключается в потенциостатическом режиме операции, при этом непрерывно по линейному закону изменяют температуру зоны реакции с изменением в ходе анодного окисления плотности электрического тока. Разработанные процессы позволяют регулировать диаметр пор в диапазоне (10-200) нм, а период их расположения - в диапазоне (30-600) нм [4].

[10]

Особенность изготовления пористого анодного оксида титана (TiO2) заключается в том, что после формирования слоя проводят электрохимический процесс его отделения. Отделение проводится в слабом водном растворе неорганической кислоты путем катодной поляризации титанового образца в потенциостатическом режиме. Затем формируют вторичный слой пористого анодного оксида титана путем анодного окисления титанового образца в потенциостатическом режиме в электролите на неводной основе, при этом формирование слоев пористого анодного оксида титана проводят при термостабилизации зоны протекания электрохимической реакции [5].

[11]

Такие структуры пористых анодных оксидов алюминия и титана используются в качестве подслоя для нижней обкладки конденсатора. Далее методом атомно-слоевого осаждения формируют первый электрод (нижняя обкладка конденсатора), диэлектрик и второй электрод из металлов, используемых в КМОП-технологии. В качестве диэлектрика в конструкции могут применяться различные материалы с высокой диэлектрической проницаемостью.

[12]

С целью увеличения плотности энергии суперконденсатора изготавливается и другой конструктивный вариант за счет переноса профильно-структурированных на субстананометровом уровне размеров основания в полупроводниковую подложку путем анизотропного ионно-плазменного травления последней через маску пористого оксида алюминия или титана.

[13]

Таким образом, изготовление суперконденсатора не требует применения сложного и прецизионного оборудования проекционной оптической нанолитографии и дорогостоящих фотошаблонов, что значительно уменьшает себестоимость устройства.

[14]

Примеры конкретного изготовления суперконденсаторов.

[15]

Обкладки из металлов, обладают высокой проводимостью. Метод атомно-слоевого осаждения позволяет использовать в технологии рельеф микронных и субмикронных размеров с высоким аспектным отношением. Применение метода атомно-слоевого осаждения для формирования обкладок и диэлектрика в одном технологическом цикле позволяет получить высокие значения напряжения пробоя и малые токи утечки при высокой поверхностной плотности энергии конденсатора.

[16]

Величина удельной емкости прямо пропорциональна площади электродов S, и обратно пропорциональна толщине диэлектрика d. Основной вклад в величины емкости вносят протяженные вертикальные участки основания высотой h, которые сохраняют угол около 90° к поверхности.

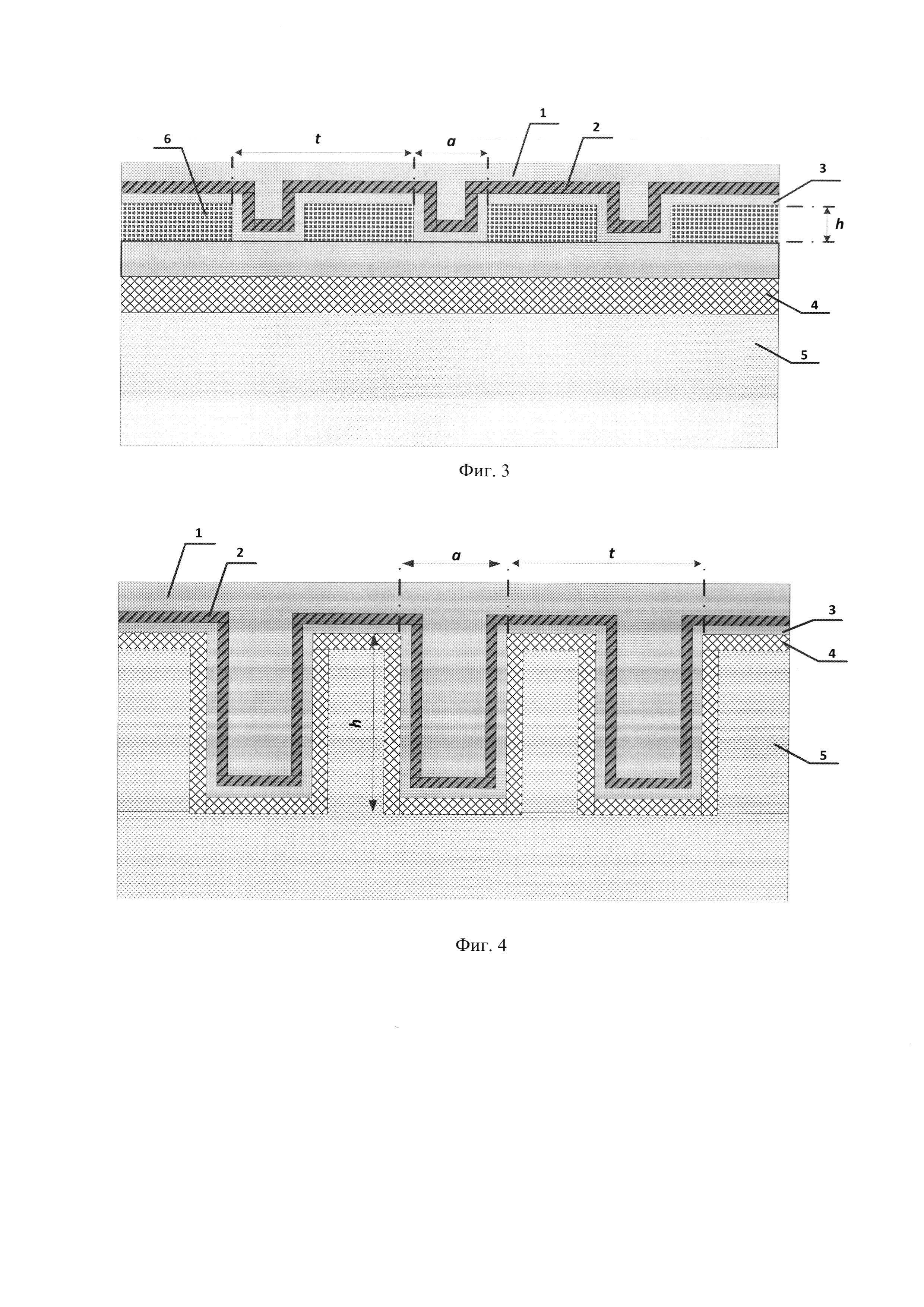
[17]

На фиг. 1 представлен вид структуры пористого Аl2O3. На фиг. 2 показан вид структуры пористого TiO2.

[18]

На фиг. 3, 4 и 5 представлен макет суперконденсатора с контролируемыми параметрами, где а - диаметр дна пор, h - высота пор, t - период пор, 1 - верхний электрод, 2 - диэлектрический слой, 3 - нижний электрод, 4 - оксид кремния, 5 - полупроводниковая подложка, 6 - пористый оксид алюминия

[19]

На фиг. 3 представлена конструкция суперконденсатора на диэлектрической поверхности. Углубления в структуре оксида алюминия сформированы с периодом t в виде круглых цилиндров высотой h и диаметром а. Величина удельной емкости прямо пропорциональна площади электродов S и обратно пропорциональна толщине диэлектрика d.

[20]

При h=2 мкм, а=70 нм, t=150 нм в качестве диэлектрика применен оксид титана толщиной 10 (нм) с диэлектрической проницаемостью ε=40.

[21]

Площадь такого цилиндра составит 3.14⋅а⋅h, т.е. 4.39⋅10-9 см2. Емкость одной поры 1.63×10-14(Ф). Удельная емкость на 1 см2 площади составит7.27×10-5 (Ф/см2)

[22]

На фиг. 4 представлена конструкция суперконденсатора в приповерхностном объеме кремния. Цилиндрические углубления в кремнии сформированы реактивным ионно-плазменным травлением в режиме Bosh-процесса через маску оксида алюминия с периодом t с высотой h и диаметром а.

[23]

При h=7 мкм, а=140 нм, t=250 нм с диэлектриком из оксида титана толщиной 10 (нм) с диэлектрической проницаемостью ε=40 площадь такого цилиндра составит 3.14⋅а⋅h, т.е. 3.07⋅10-8 см2. Емкость одной поры 1.11×10-13 (Ф). Удельная емкость на 1 см2 площади составит 1.77×10-4 (Ф/см2).

[24]

На фиг. 4 маска оксида алюминия после травления кремния удалена. Но возможно и сохранение маски и использование суммарной емкости двух суперконденсаторов. Выбор определяется схемотехническим применением.

[25]

На фиг. 5 представлена конструкция суперконденсатора в кремниевой пластине, предварительно протравленной насквозь (высота h равна толщине пластины) реактивным ионно-плазменным травлением в режиме Bosh-процесса через маску оксида алюминия с периодом t и диаметром а. После удаления маски из оксида алюминия и термического окисления пластины с помощью атомно-слоевого осаждения первый электрод суперконденсатора наносится с обратной стороны пластины. Затем пластина переворачивается и диэлектрик, и второй электрод осаждаются с лицевой стороны пластины. В такой конструкции можно достичь максимальной глубины отверстий, а следовательно, и максимальной удельной емкости суперконденсатора, а также упростить разводку электродов, которые будут выходить на разные стороны кремниевой пластины.

[26]

Источники информации

[27]

1. Carу L. Pint et al.. Three dimensional solid-state supercapacitors from aligned single-walled carbon nanotube array templates. Carbon, v. 49, p. 4890-4897, (2011).

[28]

2. Патент РФ 2030813. Накопительный конденсатор элемента памяти интегральных схем, (1991).

[29]

3. Патент РФ 2528010. Твердотельный суперконденсатор на основе многокомпонентных оксидов. Маркеев A.M., Черникова А.Г., (2014) – прототип.

[30]

4. А.Н. Белов, С.А. Гаврилов, В.И. Шевяков. Особенности получения наноструктурированного анодного оксида алюминия. Российские нанотехнологии, т. 1, №1, 2, 2006, с. 223-227.

[31]

5. А.Н. Белов, А.А. Дронов, И.Ю. Орлов. Особенности электрохимического формирования слоев оксида титана с заданными геометрическими параметрами структуры. Известия вузов. Электроника. 2009, №1, с. 16-21.

Как компенсировать расходы
на инновационную разработку
Похожие патенты