патент
№ RU 2613551
МПК B64C1/26

УСТРОЙСТВО КРЕПЛЕНИЯ КРЫЛА ЛЕТАТЕЛЬНОГО АППАРАТА

Авторы:
Никитов Валерий Викторович
Номер заявки
2015153102
Дата подачи заявки
10.12.2015
Опубликовано
17.03.2017
Страна
RU
Как управлять
интеллектуальной собственностью
Чертежи 
4
Реферат

Изобретение относится к конструктивным элементам летательных аппаратов. Устройство крепления крыла летательного аппарата содержит узлы присоединения передних и задних лонжеронов консолей крыла к шпангоутам центральной части фюзеляжа. Узел присоединения переднего лонжерона консолей крыла к шпангоуту фюзеляжа выполнен двухшарнирным в поперечной плоскости с промежуточным звеном и включает участок шпангоута фюзеляжа, который обращен к консоли крыла и выполнен с передней и задней стойками, которые формируют полость под промежуточное звено и наконечник кронштейна переднего лонжерона. Передняя и задняя стойки шпангоута выполнены с отверстием под установку крепежного элемента, соединяющего промежуточное звено с наконечником кронштейна переднего лонжерона консоли крыла. Лонжерон фюзеляжа выполнен с отверстием под кронштейн переднего лонжерона консоли крыла. Передняя и задняя стойки шпангоута также соединены с промежуточным звеном посредством крепежного элемента, установленного вдоль оси двухшарнирного узла. Изобретение направлено на снижение веса летательного аппарата за счет уменьшения нагрузки на фюзеляж от изгибной деформации консолей крыла. 5 з.п. ф-лы, 7 ил.

Формула изобретения

1. Устройство крепления крыла летательного аппарата, содержащее узлы присоединения передних и задних лонжеронов консолей крыла к шпангоутам центральной части фюзеляжа, причем узел присоединения переднего лонжерона одной из консолей крыла к шпангоуту фюзеляжа выполнен двухшарнирным в поперечной плоскости с промежуточным звеном, установленным с возможностью поворота относительно как шпангоута, так и лонжерона, отличающееся тем, что двухшарнирный узел присоединения с промежуточным звеном расположен в поперечной плоскости, проходящей вблизи или совпадающей с плоскостью наибольшей толщины корневой части профиля консоли крыла.

2. Устройство по п. 1, отличающееся тем, что узлы присоединения как левой, так и правой консолей крыла выполнены двухшарнирными с промежуточным звеном, установленным с возможностью поворота относительно как шпангоута фюзеляжа, так и переднего лонжерона консоли крыла в поперечной плоскости, проходящей вблизи или совпадающей с плоскостью наибольшей толщины корневой части профиля консоли крыла.

3. Устройство по п. 1 или 2, отличающееся тем, что двухшарнирный узел присоединения консоли крыла к фюзеляжу включает в себя участок шпангоута фюзеляжа, который обращен к консоли крыла и выполнен с передней и задней стойками, формирующими полость под промежуточное звено двухшарнирного узла и расположенный в нем наконечник кронштейна переднего лонжерона консоли крыла.

4. Устройство по п. 3, отличающееся тем, что передняя и задняя стойки шпангоута фюзеляжа выполнены с отверстиями для подхода к крепежному элементу, установленному вдоль оси двухшарнирного узла, соединяющему промежуточное звено с наконечником кронштейна переднего лонжерона консоли крыла.

5. Устройство по п. 4, отличающееся тем, что передняя и задняя стойки шпангоута фюзеляжа соединены с промежуточным звеном посредством крепежного элемента, установленного вдоль оси двухшарнирного узла.

6. Устройство по п. 4, отличающееся тем, что передняя и задняя стойки шпангоута установлены на лонжероне фюзеляжа, выполненном с отверстием под наконечник кронштейна переднего лонжерона консоли крыла.

Описание

[1]

Область техники

[2]

Изобретение относится к конструктивным элементам летательного аппарата, общим для фюзеляжа и крыла, относящимся к креплению крыла к фюзеляжу. Преимущественной областью применения изобретения являются беспилотные летательные аппараты, легкие маневренные самолеты с крылом, свободным от двигателей и иных средств весового нагружения (кроме топлива и основных опор шасси).

[3]

Предшествующий уровень техники

[4]

У значительного числа летательных аппаратов с крылом, несущим двигатели, например А-320, стыковка крыла с фюзеляжем осуществлена через встроенный в фюзеляж центроплан, к которому присоединены консоли крыла.

[5]

Ближайшим аналогом настоящего изобретения является устройство соединения крыла с фюзеляжем на самолете TRANSALL (адрес в Интернете «http://aviadejavu.ru/Images6/MM/MM-218/0423-05-2-6.jpg», а также публикация патента РФ №2441803) посредством нескольких двухшарнирных узлов. Отдельные части этих узлов расположены против друг друга на крыле и фюзеляже. Узлы крепления крыла к фюзеляжу на самолете TRANSALL расположены вне внутреннего объема как крыла, так и фюзеляжа. В описании этих узлов отсутствуют сведения об их расположении относительно наибольшей толщины корневой части профиля консоли крыла.

[6]

Устройство для крепления крыла к фюзеляжу на самолете TRANSALL, так же как и настоящее изобретение, содержит узлы присоединения передних и задних лонжеронов консолей крыла к шпангоутам центральной части фюзеляжа. Узел присоединения переднего лонжерона консоли крыла к шпангоуту фюзеляжа выполнен двухшарнирным в поперечной плоскости с промежуточным звеном, установленным с возможностью поворота относительно как шпангоута, так и лонжерона.

[7]

Кроме нагрузок, вызванных маневрированием летательного аппарата и обусловленных действием аэродинамических, массовых и инерционных сил на крыло и фюзеляж, узлы присоединения дополнительно нагружаются силой, вызванной деформациями изгиба консолей крыла под этими нагрузками. Величина этой силы может составлять до 100% и более от основной нагрузки в зависимости от действующей в полете на самолет перегрузки и конструктивных особенностей узлов присоединения. Эта дополнительная сила называется распором.

[8]

Механика возникновения распора и работа узлов присоединения показана на фигурах 5a, 5b и 5c на примере взаимодействия лонжерона крыла и шпангоута в зоне установки присоединительных узлов А и В. При нагружении лонжерона крыла изгибающим моментом Мизг он деформируется - прогибается и присоединительные узлы А и В либо сближаются (фиг. 5b), либо расходятся в зависимости от направления Мизг. При этом силой распора Рр нагружаются как сами узлы А и В, так и шпангоут и лонжерон крыла в зоне установки присоединительных узлов. Если между лонжероном крыла и шпангоутом в присоединительных узлах их крепления установить двухшарнирные элементы (фиг. 5с), то силы распора в узлах не возникнут, так как двухшарнирные элементы своими поворотами компенсируют деформацию - изменение расстояния между распорными узлами А и В.

[9]

Недостатки ближайшего аналога заключаются в том, что дополнительная сила в узлах присоединения, понижающая их надежность и уменьшающая долговечность, компенсируется только увеличением габаритов и, следовательно, массы узлов присоединения и примыкающей конструкции фюзеляжа и крыла.

[10]

Для неманевренного самолета TRANSALL, на каждой из консолей крыла которого посредством пилона установлен двигатель, практически отсутствует проблема нейтрализации дополнительного нагружения фюзеляжа и крыла из-за деформаций изгиба консолей крыла в полете. Вследствие весового воздействия двигателей и малой перегрузки в полете такое нагружение несущественно.

[11]

Раскрытие изобретения

[12]

Техническим результатом заявленного изобретения является снижение массы летательного аппарата, повышение надежности и долговечность конструкции за счет уменьшения нагрузки на фюзеляж и крыло, вызванной деформациями изгиба консолей крыла, свободного от двигателей и иных средств весового нагружения, кроме того, техническим результатом заявленного изобретения является компактное расположение узлов крепления крыла внутри фюзеляжа.

[13]

Технический результат достигнут устройством для крепления крыла летательного аппарата с признаками пункта 1 формулы изобретения - выполнением устройства для крепления крыла летательного аппарата, содержащего узлы присоединения передних и задних лонжеронов консолей крыла к шпангоутам центральной части фюзеляжа, причем узел присоединения переднего лонжерона одной из консолей крыла к шпангоуту фюзеляжа выполнен двухшарнирным в поперечной плоскости с промежуточным звеном, установленным с возможностью поворота относительно как шпангоута, так и лонжерона, в котором, согласно изобретению, двухшарнирный узел присоединения с промежуточным звеном расположен в поперечной плоскости, проходящей вблизи или совпадающей с плоскостью наибольшей толщины корневой части профиля консоли крыла.

[14]

Благодаря реализации изобретения созданное устройство для крепления крыла летательного аппарата позволяет разгрузить наиболее нагруженные узлы присоединения от сил, вызванных деформациями изгиба консолей крыла в плоскости наибольшей толщины корневой части профиля консоли крыла, которая характеризуется наибольшим моментом сил от изгиба консоли крыла в полете.

[15]

Согласно пункту 2 формулы изобретения, предпочтительной формой осуществления устройства для крепления крыла летательного аппарата при достижении технического результата является выполнение узлов присоединения как левой, так и правой консолей крыла двухшарнирными с промежуточным звеном, установленным с возможностью поворота относительно как шпангоута фюзеляжа, так и переднего лонжерона консоли крыла в поперечной плоскости, проходящей вблизи или совпадающей с плоскостью наибольшей толщины корневой части профиля консоли крыла.

[16]

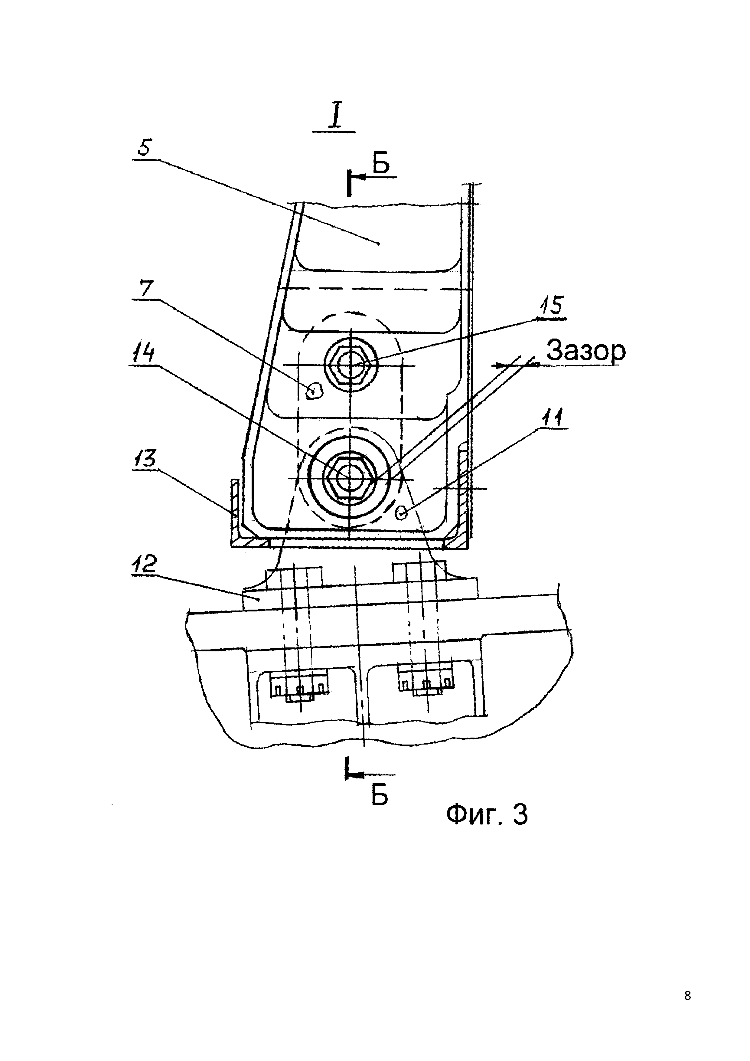
Для достижения технического результата - компактного расположения узлов крепления крыла внутри фюзеляжа - двухшарнирный узел присоединения консоли крыла к фюзеляжу, согласно с дополнительными пунктами 3, 4, 5 и 6 формулы изобретения, включает в себя участок шпангоута фюзеляжа, который обращен к консоли крыла и выполнен с передней и задней стойками, формирующими полость под промежуточное звено двухшарнирного узла и расположенный в нем наконечник кронштейна переднего лонжерона консоли крыла. При этом передняя и задняя стойки шпангоута выполнены с отверстиями для подхода к крепежному элементу, установленному вдоль оси двухшарнирного узла и соединяющему промежуточное звено с наконечником кронштейна переднего лонжерона консоли крыла. Размеры отверстий в стойках выбраны с учетом подхода к крепежному элементу и угла поворота промежуточного узла при максимальной деформации консоли крыла с обеспечением зазора d, не допускающего касание крепежного элемента со стойками. Сами стойки посредством другого крепежного элемента, установленного вдоль оси двухшарнирного узла, соединены с промежуточным звеном и установлены на лонжероне фюзеляжа, выполненном с отверстием под кронштейн переднего лонжерона консоли крыла.

[17]

Описание чертежей

[18]

В дальнейшем изобретение поясняется конкретными примерами его выполнения со ссылками на прилагаемые чертежи, на которых изображены:

[19]

Фиг. 1 - вид на центральную часть самолета сбоку.

[20]

Фиг. 2 - разрез А-А на фиг. 1.

[21]

Фиг. 3 - узел «I» на фиг. 2 в увеличенном масштабе.

[22]

Фиг. 4 - разрез Б-Б на фиг. 3.

[23]

Фиг. 5а, 5в и 5с - механика возникновения распора.

[24]

Осуществление изобретения

[25]

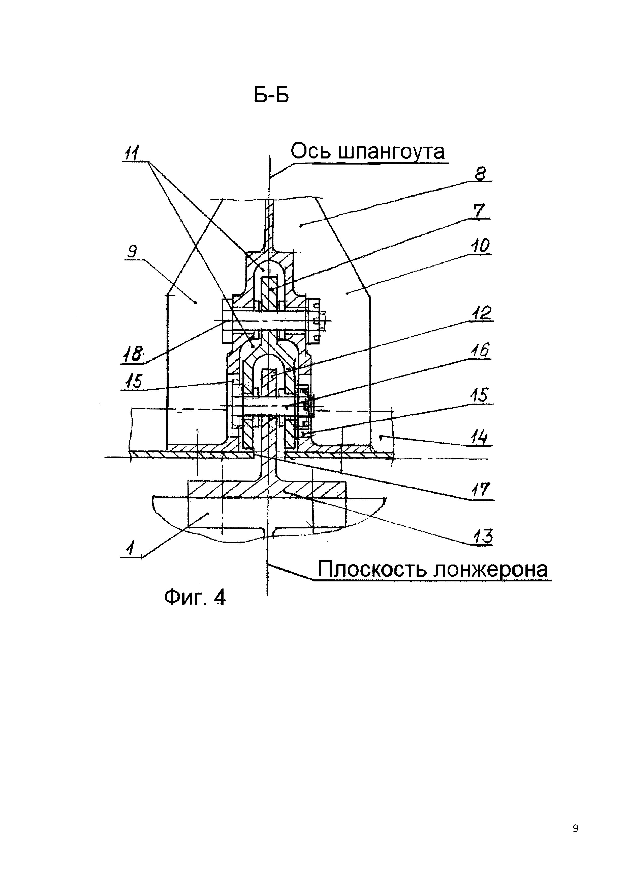
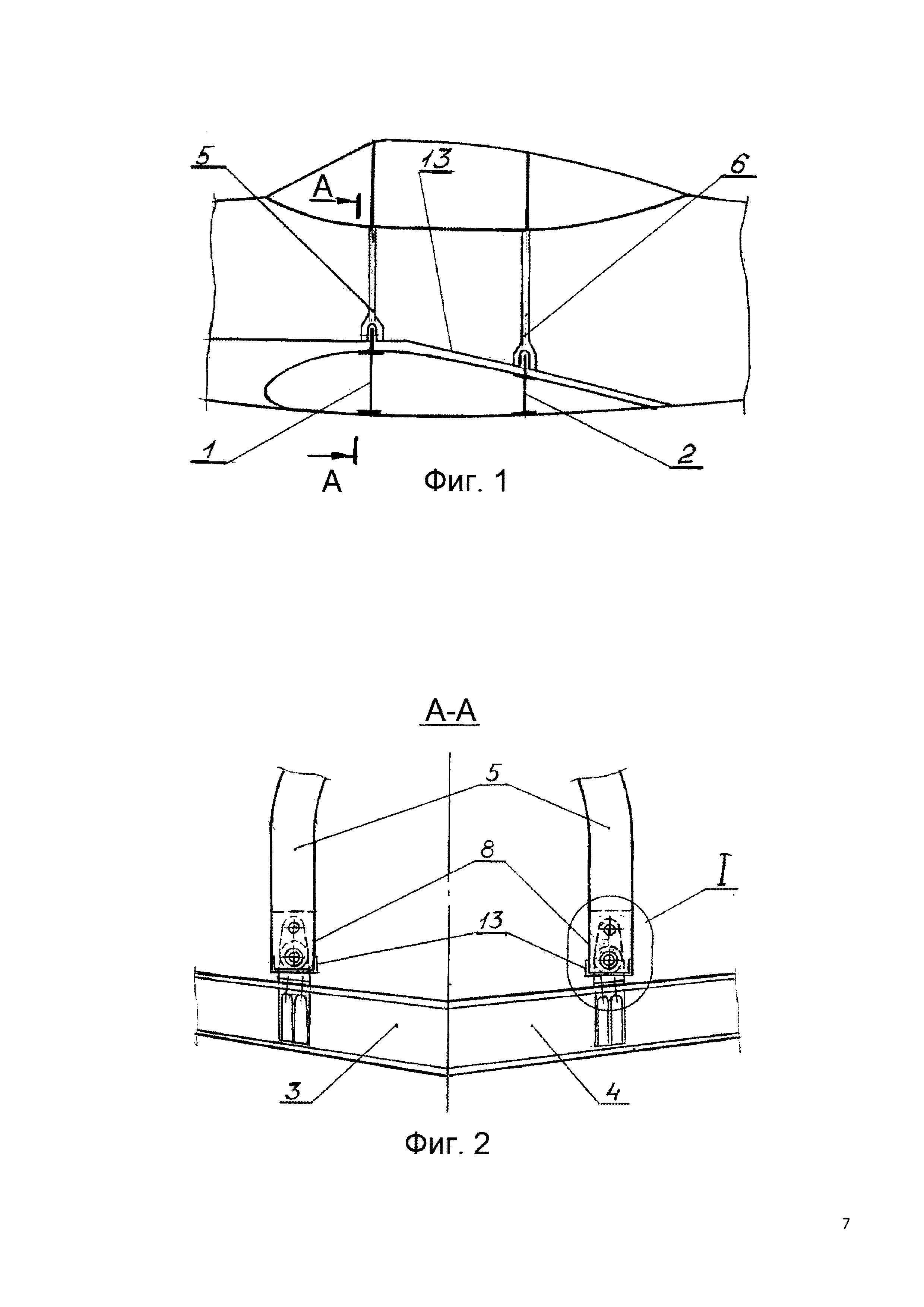
На фигурах 1 и 2 показано устройство крепления крыла летательного аппарата. Передний 1 и задний 2 лонжероны консолей 3 и 4 крыла присоединены к шпангоутам, соответственно 5 и 6, центральной части фюзеляжа. Узел присоединения переднего лонжерона 1 одной или обоих консолей крыла к шпангоуту 5 фюзеляжа выполнен двухшарнирным в поперечной плоскости. Двухшарнирный узел (фиг. 3 и фиг. 4) присоединения выполнен с промежуточным звеном 7, установленным с возможностью поворота относительно как шпангоута 5, так и лонжерона 1. Двухшарнирный узел присоединения расположен в поперечной плоскости, проходящей вблизи или совпадающей с плоскостью наибольшей толщины корневой части профиля консоли крыла.

[26]

Конструкция наиболее нагруженных узлов присоединения переднего лонжерона 1 направляет нагрузку, передаваемую от консоли крыла на шпангоут 5 вдоль промежуточного звена 7. При этом на шпангоут 5 благодаря двухшарнирному узлу нагрузка, вызванная деформацией консолей крыла, практически не передается - распора нет.

[27]

Нагрузки, приходящие с крыла на фюзеляж и действующие в других направлениях, могут восприниматься шпангоутом 6 или другими дополнительными узлами.

[28]

Благодаря изобретению наиболее нагруженные узлы присоединения крыла к фюзеляжу разгружаются от сил, вызванных деформацией консолей крыла.

[29]

Двухшарнирный узел присоединения с промежуточным звеном 7 включает в себя участок 8 шпангоута 5. Участок 8 шпангоута обращен к консоли крыла и выполнен с передней 9 и задней 10 стойками. Стойки 9 и 10 формируют полость 11 под промежуточное звено 7 и расположенный в нем наконечник 12 кронштейна 13 лонжерона 1.

[30]

Стойки 9 и 10 установлены на лонжероне 14 фюзеляжа и выполнены с отверстиями 15 для подхода к крепежному элементу, установленному вдоль оси 16 двухшарнирного узла и соединяющему промежуточное звено 7 с наконечником 12. Лонжерон 14 выполнен с отверстием 17 под наконечник 12 кронштейна 13.

[31]

Стойки 9 и 10 соединены с промежуточным звеном 7 посредством крепежного элемента, установленного вдоль оси 18 двухшарнирного узла.

[32]

Благодаря компактной конструкции двухшарнирные узлы присоединения занимают мало места внутри объема фюзеляжа.

[33]

Работает устройство следующим образом.

[34]

При выполнении летательным аппаратом маневра с высокой перегрузкой консоли 3 и 4 крыла деформируются. Кронштейны 13 с наконечниками 12 на переднем 1 и заднем 2 лонжеронах крыла, проходящие через отверстия 17 лонжеронов 14 фюзеляжа, получают перемещение из-за прогиба лонжеронов крыла. Промежуточные звенья 7 поворачиваются относительно осей 16 и 18 двухшарнирных узлов участков 8 шпангоутов 5 и 6 и наконечников 12 кронштейнов 13 лонжеронов крыла, благодаря чему перемещения наконечников 12 из-за деформации консолей крыла на шпангоуты 5 и 6 практически не передаются и силы распора между ними нет. Передается только нагрузка, действующая вдоль оси промежуточного звена 7 и соответственно вдоль шпангоута. Подвижное промежуточное звено 7, размещенное в полости 11 между передней 9 и задней 10 стойками участка 8 шпангоута, перемещается, вращаясь относительно осей 16 и 18, не касаясь элементов конструкции. Для подхода к крепежному элементу, соединяющему наконечник 12 с промежуточным звеном 7, вдоль оси 18 в передней 9 и задней 10 стойках выполнены отверстия 15 с зазором d между крепежным элементом и границами отверстия 15, учитывающим максимальную деформацию консолей крыла.

[35]

Таким образом, за счет того, что в устройстве крепления крыла летательного аппарата двухшарнирный узел присоединения с промежуточным звеном расположен в поперечной плоскости, проходящей вблизи или совпадающей с плоскостью наибольшей толщины корневой части профиля консоли крыла, снижена масса летательного аппарата, повышены надежность и долговечность конструкции за счет уменьшения нагрузки на фюзеляж и крыло, вызванной деформациями изгиба консолей крыла, свободного от двигателей и иных средств весового нагружения, кроме того, предпочтительной формой осуществления устройства для крепления крыла летательного аппарата при достижении технического результата является выполнение узлов присоединения как левой, так и правой консолей крыла двухшарнирными с промежуточным звеном, установленным с возможностью поворота относительно как шпангоута фюзеляжа, так и переднего лонжерона консоли крыла в поперечной плоскости, проходящей вблизи или совпадающей с плоскостью наибольшей толщины корневой части профиля консоли крыла.

Как компенсировать расходы
на инновационную разработку
Похожие патенты