Изобретение относится к области ракетной техники и, в частности, к области устройств беспилотных летательных аппаратов - БПЛА, крепящихся на носителях различного типа, в том числе к семейству управляемых БПЛА, крепящихся к пусковым установкам нестационарных носителей с помощью трех узлов крепления. Технический результат – повышение эффективности крепления с тремя узлами крепления в условиях габаритных ограничений при минимизации угловых возмущений в движении БПЛА при старте с пусковой установки. Устройство содержит корпус. На нем размещены три узла крепления к внешнему носителю, где первый, второй и третий узлы крепления пронумерованы по направлению полета БПЛА. При этом первый, второй и третий узлы крепления размещены вдоль продольной оси БПЛА. Размещение узлов крепления относительно центра масс выполнено таким образом, что центр масс расположен между первым и третьим узлами крепления. В зависимости от расположения второго узла крепления относительно центра масс предусмотрены заданные соотношения размеров с определенным диапазоном относительных размеров в зависимости от положения второго узла крепления относительно центра масс БПЛА. При этом соблюдено условие, что центр масс БПЛА расположен между первым и третьим узлами крепления. 21 ил.
Беспилотный летательный аппарат - БПЛА, содержащий корпус, на котором размещены три узла крепления к внешнему носителю, где первый, второй и третий узлы крепления пронумерованы по направлению полета БПЛА, отличающийся тем, что первый, второй и третий узлы крепления размещены вдоль продольной оси БПЛА, размещение узлов крепления относительно центра масс выполнено таким образом, что центр масс расположен между первым и третьим узлами крепления, и в зависимости от расположения второго узла крепления относительно центра масс выполняются следующие соотношения размеров: при совпадении второго узла крепления с центром масс и при расположении второго узла крепления за центром масс при этом выполняются одновременно соотношения и или и при расположении второго узла крепления перед центром масс при этом выполняются одновременно соотношения и или и где: L - длина БПЛА, x2 - расстояние от центра масс БПЛА хцм до второго узла крепления, х1 - расстояние от второго узла крепления до первого узла крепления, х3 - расстояние от второго узла крепления до третьего узла крепления, хцм - расстояние от крайней передней точки БПЛА по направлению полета до центра масс.









- относительное расстояние от центра масс БПЛА хцм до второго узла крепления;
- относительное расстояние от второго узла крепления до первого узла крепления;
- относительное расстояние от второго узла крепления до третьего узла крепления;
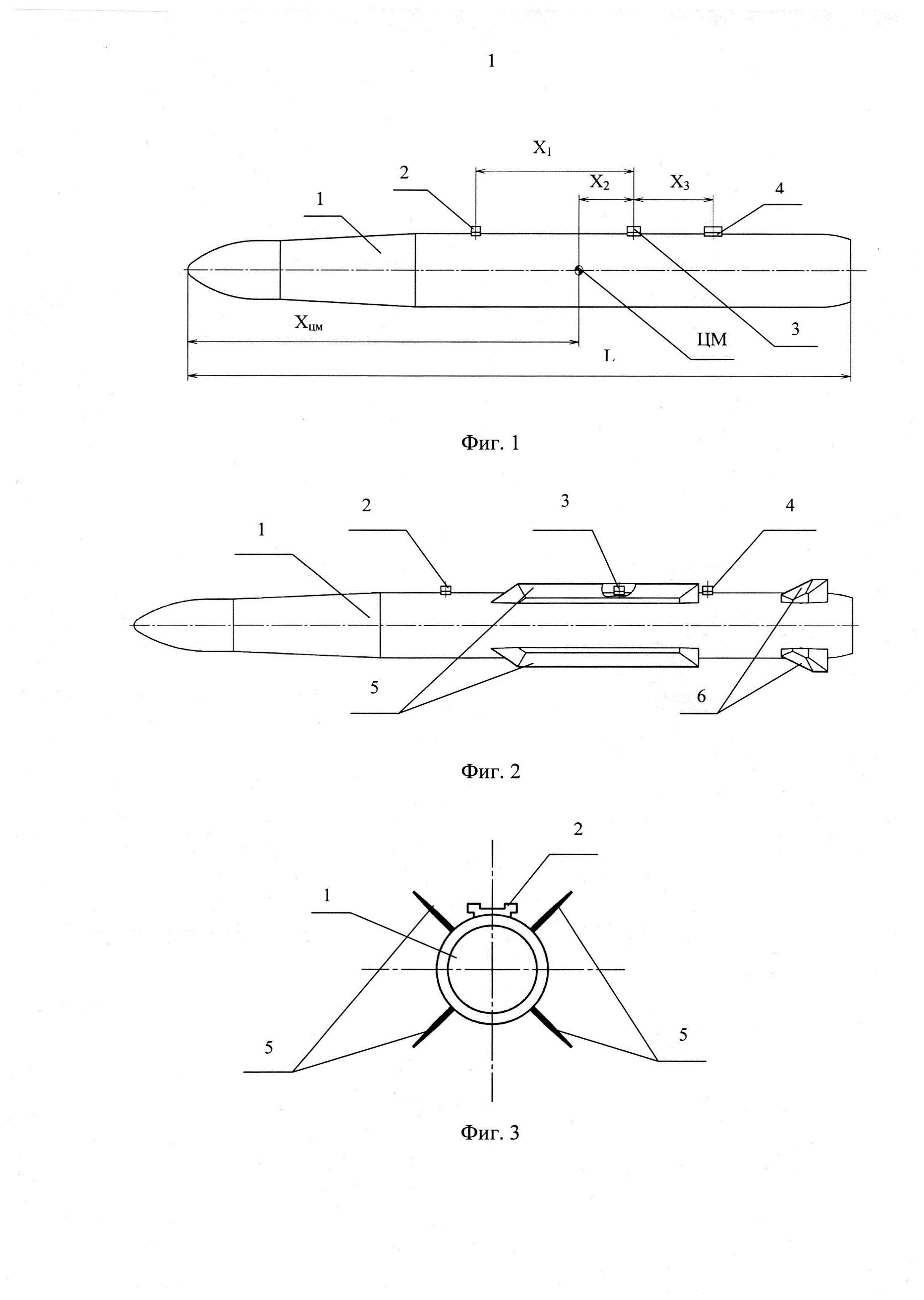
Изобретение относится к области устройств беспилотных летательных аппаратов (БПЛА), крепящихся на носителях различного типа, в том числе к семейству управляемых БПЛА, крепящихся к пусковым установкам нестационарных носителей с помощью трех узлов крепления. При разработке БПЛА, в том числе управляемых ракет, одной из основных задач является размещение на пусковой установке в условиях габаритных ограничений, что требует выбора оптимальных вариантов крепления БПЛА, как по количеству узлов крепления, так и по их расположению на корпусе БПЛА. Из уровня техники [1] известен зенитный ракетный комплекс «Бук» с ракетой 9М38М, которая выполнена с тремя узлами подвески. Также из уровня техники [2] известна ракета малой дальности Р-73, выбранная в качестве прототипа, которая также выполнена с тремя узлами крепления, расположенными в развале между двумя верхними к онсолями крыла. К недостаткам аналога и прототипа следует отнести затруднительность использования при необходимости крепления БПЛА к носителю в условиях габаритных ограничений в связи с риском угловых возмущений при старте с пусковой установки движущегося носителя БПЛА. Технической проблемой заявляемого изобретения является разработка БПЛА с тремя узлами крепления, обеспечивающего возможность применения в условиях габаритных ограничений, минимизацию при старте с пусковой установки угловых возмущений движущегося БПЛА. Техническая проблема решена за счет того, что БПЛА содержит корпус, на котором размещены три узла крепления к внешнему носителю, где первый, второй и третий узлы крепления пронумерованы по направлению полета БПЛА, причем первый, второй и третий узлы крепления размещены вдоль продольной оси БПЛА, размещение узлов крепления относительно центра масс выполнено таким образом, что центр масс расположен между первым и третьим узлами крепления, и в зависимости от расположения второго узла крепления относительно центра масс выполняются следующие соотношения размеров: при совпадении второго узла крепления с центром масс и при расположении второго узла крепления за центром масс при этом выполняются одновременно соотношения и или и при расположении второго узла крепления перед центром масс при этом выполняются одновременно соотношения и или и где: L - длина БПЛА, х2 - расстояние от центра масс БПЛА хцм до второго узла крепления, х1 - расстояние от второго узла крепления до первого, х3 - расстояние от второго узла крепления до третьего, хцм - расстояние от крайней передней точки БПЛА по направлению полета до центра масс хцм. БПЛА с заявленным соотношением размеров решает задачу размещения на пусковой установке в условиях жестких габаритных ограничений. Оптимальный диапазон параметров найден по результатам многочисленных исследований БПЛА различной геометрии. Сущность изобретения поясняется графическими материалами, где: на фиг. 1 изображен общий вид БПЛА без консолей крыла и рулей с указанием месторасположения узлов крепления; на фиг. 2 изображен общий вид БПЛА; на фиг. 3 изображен общий вид БПЛА спереди (с консолями крыла и рулей, расположенных тандемно и симметрично относительно продольной оси корпуса); на фиг. 4, 5, 6, 7 и 8 изображены графики зависимости функции на фиг. 9, 10, 11, 12 и 13 изображены графики зависимости функции на фиг. 14, 15, 16 и 17 изображены графики зависимости функции на фиг. 18, 19, 20 и 21 изображены графики зависимости функции БПЛА согласно изобретению содержит корпус 1 с тремя узлами крепления 2-4. Внутри корпуса 1 БПЛА может быть размещена аппаратура системы наведения и системы управления, боевое снаряжение, дополнительно возможно размещение двигательной установки совместно со стартовым двигателем (разгонным блоком) или без него (не показаны). На корпусе 1 размещены консоли крыла 5 и рулей 6 (фиг. 1-3). Размещение узлов крепления выбирается на основании того, что отклонение угла между горизонтальной осью БПЛА в неподвижном состоянии до начала движения и между горизонтальной осью БПЛА после начала движения БПЛА (на фиг. 4-21 обозначено как ΔY) не должно превышать двух градусов, так как при значениях ΔY больше 2° высока вероятность касания БПЛА конструкции пусковой установки и/или носителя, в случае его наличия. Центр масс (ЦМ) БПЛА, как правило, расположен между первым 2 и третьим 4 узлами крепления (см. фиг. 1-2). Расположение второго узла крепления 3 относительно ЦМ может быть осуществлено тремя вариантами: перед ЦМ, за ЦМ, совпадать с ЦМ. Термин «перед ЦМ» или «за ЦМ» используется относительно предполагаемого направления движения БПЛА. Термин «передний» или «задний» край БПЛА применяется относительно предполагаемого направления движения БПЛА. Первый 2, второй 3 и третий 4 узлы крепления размещены вдоль продольной оси БПЛА, размещение узлов крепления 2-4 относительно центра масс выполнено таким образом, что центр масс расположен между первым 2 и третьим 4 узлами крепления, и в зависимости от расположения второго узла крепления 3 относительно центра масс выполняются следующие соотношения размеров: при совпадении второго узла крепления 3 с центром масс и при расположении второго узла крепления 3 за центром масс при этом выполняются одновременно соотношения и или и при расположении второго узла крепления 3 перед центром масс при этом выполняются одновременно соотношения и или и где: L - длина БПЛА, х2 - расстояние от центра масс БПЛА хцм до второго узла крепления 3, х1 - расстояние от второго узла крепления 3 до первого узла крепления 2, х3 - расстояние от второго узла крепления до третьего узла крепления 4, хцм - расстояние от крайней передней точки БПЛА по направлению полета до центра масс. Указанные диапазоны геометрических параметров получены по результатам многочисленных расчетов. Выполнение БПЛА с тремя узлами крепления при указанных соотношениях геометрических размеров расположения узлов крепления обеспечивает безопасный старт с пусковой установки в условиях габаритных ограничений. Библиография: 1. Зенитные ракетные комплексы «Бук». Ракета 9М38М, устройство и функционирование / С.Н. Ельцин; Балт. гос. техн. ун-т. - СПб., 2009. - 66 с. (стр. 14-16, 60) 2. Бастион, Военно-технический сборник, выпуск №2. Под ред. А.В. Карпенко, Санкт-Петербург, издательство «В&К», 2000, стр. 77, 82-84.









- относительное расстояние от центра масс БПЛА хцм до второго узла крепления;
- относительное расстояние от второго узла крепления до первого;
- относительное расстояние от второго узла крепления до третьего;
при расположении второго узла крепления за центром масс при изменении значения
в диапазоне от 0.1 до 0.4, изменении значения
в диапазоне от 0.2 до 0.4 с шагом 0.05, переменном значении
в диапазоне от 0 до 0.2 с шагом 0.05;
при расположении второго узла крепления за центром масс при изменении значения
в диапазоне от 0.2 до 0.4, изменении значения
в диапазоне от 0.1 до 0.4 с шагом 0.05, переменном значении
в диапазоне от 0 до 0.2 с шагом 0.05;
при расположении второго узла крепления перед центром масс при изменении значения
в диапазоне от 0.1 до 0.4, изменении значения
в диапазоне от 0.2 до 0.4 с шагом 0.05, переменном значении
в диапазоне от 0.5 до 0.2 с шагом 0.05;
при расположении второго узла крепления перед центром масс при изменении значения
в диапазоне от 0.2 до 0.4, изменении значения
в диапазоне от 0.1 до 0.4 с шагом 0.05, переменном значения
в диапазоне от 0 до 0.2 с шагом 0.05.









- относительное расстояние от центра масс БПЛА хцм до второго узла крепления 3;
- относительное расстояние от второго узла крепления 3 до первого узла крепления 2;
- относительное расстояние от второго узла крепления 3 до третьего узла крепления 4;