патент
№ RU 2544806
МПК H01Q13/00

ПЛАЗМЕННАЯ ВИБРАТОРНАЯ АНТЕННА С ИОНИЗАЦИЕЙ ПОВЕРХНОСТНОЙ ВОЛНОЙ

Авторы:
Сергейчев Константин Федорович Тараканова Елена Николаевна Богачев Николай Николаевич
Все (7)
Номер заявки
2014106756/08
Дата подачи заявки
24.02.2014
Опубликовано
20.03.2015
Страна
RU
Как управлять
интеллектуальной собственностью
Чертежи 
1
Реферат

Изобретение относится к области антенной техники и предназначено для приема и передачи радиосигналов. Технический результат заключается в повышении надежности конструкции, снижении необходимой мощности ВЧ передатчика и расширении используемого диапазона частот. Плазменная вибраторная антенна содержит безэлектродную газоразрядную трубку, размещенную в фидерном тракте, экран и передающее устройство, при этом в фидерном тракте установлен поршень с возможностью изменения положения, экран размещен на торце фидерного тракта, а передающее устройство подсоединено к фидерному тракту посредством тройника. 2 з.п. ф-лы, 2 ил.

Формула изобретения

1. Плазменная вибраторная антенна, характеризующаяся тем, что содержит безэлектродную газоразрядную трубку, размещенную в фидерном тракте, экран и передающее устройство, при этом в фидерном тракте установлен поршень с возможностью изменения положения, экран размещен на торце фидерного тракта, а передающее устройство подсоединено к фидерному тракту посредством тройника.

2. Антенна по п.1, характеризующаяся тем, что газоразрядная трубка в фидерном тракте закреплена с помощью диэлектрического изолятора.

3. Антенна по п.1, характеризующаяся тем, что дополнительно содержит полосозаграждающий фильтр и приемное устройство, последовательно подключенные к фидерному тракту через тройник.

Описание

[1]

Изобретение относится к области антенной техники и предназначено для приема и передачи радиосигналов. Антенна предназначена для работы в системах связи, где необходима малая заметность (малая эффективная площадь рассеяния) в режиме радиомолчания, быстрое электронное изменение параметров антенной системы, быстрый переход из режима радиомолчания в рабочий режим и обратно при минимальном увеличении массогабаритных параметров.

[2]

В антенной технике уже известен ряд плазменных антенн. В SU 1799208 А1, 20.03.1990 описана система формирования низкочастотного сигнала сложной формы и из двух многовитковых рамок с подключенными к их клеммам резонансными усилителями для возбуждения симметричных волн в ионосферном плазменном волноводе. Но использование ионосферной плазмы для передачи сигнала сопряжено с большими помехами и нелинейными искажениями сигнала. В RU 2255394 С2 02.06.2003 описана антенна с использованием плазменного образования, создаваемого плазменным генератором между электродами. Такая конструкция дает лишь малое снижение заметности антенны в режиме радиомолчания и ограниченные возможности по изменению лишь пространственных характеристик излучателя, что недостаточно при современном уровне развития систем связи.

[3]

В патентах US 5594456, US 5963169, US 5990837, US 6369763 и в заявке RU 94039011 описан ряд антенн и антенных систем, конструктивно представляющих собой диэлектрические газоразрядные трубки, внутрь которых закачан аргон или смесь аргона с парами ртути, ионизация плазмы в трубках производится с помощью газового разряда в трубке за счет энергии источника высокого напряжения (ионизатора), информационный высокочастотный (ВЧ) радиосигнал подается на отдельный электрод (или электроды). В RU 94039011 А1 используется изогнутая газоразрядная трубка, а в US 5594456, US 5963169, US 5990837, US 6369763 - прямая. Но существенным недостатком данных конструкций является необходимость дополнительного источника высокого напряжения для создания плазмы в газоразрядной трубке, что требует надежной развязки ВЧ сигнала и импульса высокого напряжения для защиты передающего и приемного устройства. К тому же данный подход сильно увеличивает массогабаритные характеристики системы и количество потребляемой электроэнергии.

[4]

Известна плазменная антенна, принятая за прототип, представляющая собой безэлектродную диэлектрическую газоразрядную трубку с металлическим кольцевым электродом вокруг нее, подключенной через схему согласования к ВЧ генератору (WO/2000/021156 (A1), 13.04.2000). Ионизация газа в трубке для создания плазмы происходит за счет подаваемой энергии от ВЧ генератора с помощью поверхностной волны. Электрод создает электромагнитное поле в трубке, которое в свою очередь возбуждает поверхностную электромагнитную волну. Изменение диаграммы направленности (ДН) и рабочей длины антенны (соответственно рабочей частоты) достигается регулировкой плотности плазмы, диэлектрических свойств плазмы и длины распространения поверхностной волны по трубке с помощью подводимой от генератора ВЧ мощности, частоты и фазы сигнала, прикладываемым магнитным полем, а также парциальным давлением составляющих газовой смеси. Рабочий частотный диапазон этой антенны - 1…150 МГц, требуемая мощность генератора (передатчика) - менее 200 Вт, рабочий газы - инертные газы, кислород, давление газа ~10-3 мм рт.ст.

[5]

Недостатками прототипа являются узкий и низкий диапазон частот, высокая требуемая мощность генератора и непрочность конструктивного соединения газоразрядной трубки с электродом и их крепления.

[6]

Задачей данного изобретения является создание плазменной антенны с новой системой возбуждения в более широком диапазоне частот, снижение необходимой мощности ВЧ передатчика до уровня не выше 50 Вт, повышение надежности конструкции, дополнительные возможности по регулировке характеристик антенны.

[7]

Технический результат заявляемого изобретения состоит в создании плазменной приемопередающей антенны с коаксиально-фидерной системой возбуждения в более широком диапазоне частот, с изменяемыми характеристиками, низким уровнем требуемой мощности ВЧ передатчика минимальной эффективной площадью рассеяния (ЭПР) в режиме радиомолчания.

[8]

Технический результат достигается тем, что плазменная вибраторная антенна содержит безэлектродную газоразрядную трубку, размещенную в фидерном тракте, экран и передающее устройство, при этом в фидерном тракте установлен поршень с возможностью изменения положения, экран размещен на торце фидерного тракта, а передающее устройство подсоединено к фидерному тракту посредством тройника. Газоразрядная трубка в фидерном тракте крепится с помощью диэлектрического изолятора. Антенна дополнительно содержит полосозаграждающий фильтр и приемное устройство, последовательно подключенные к тракту через тройник.

[9]

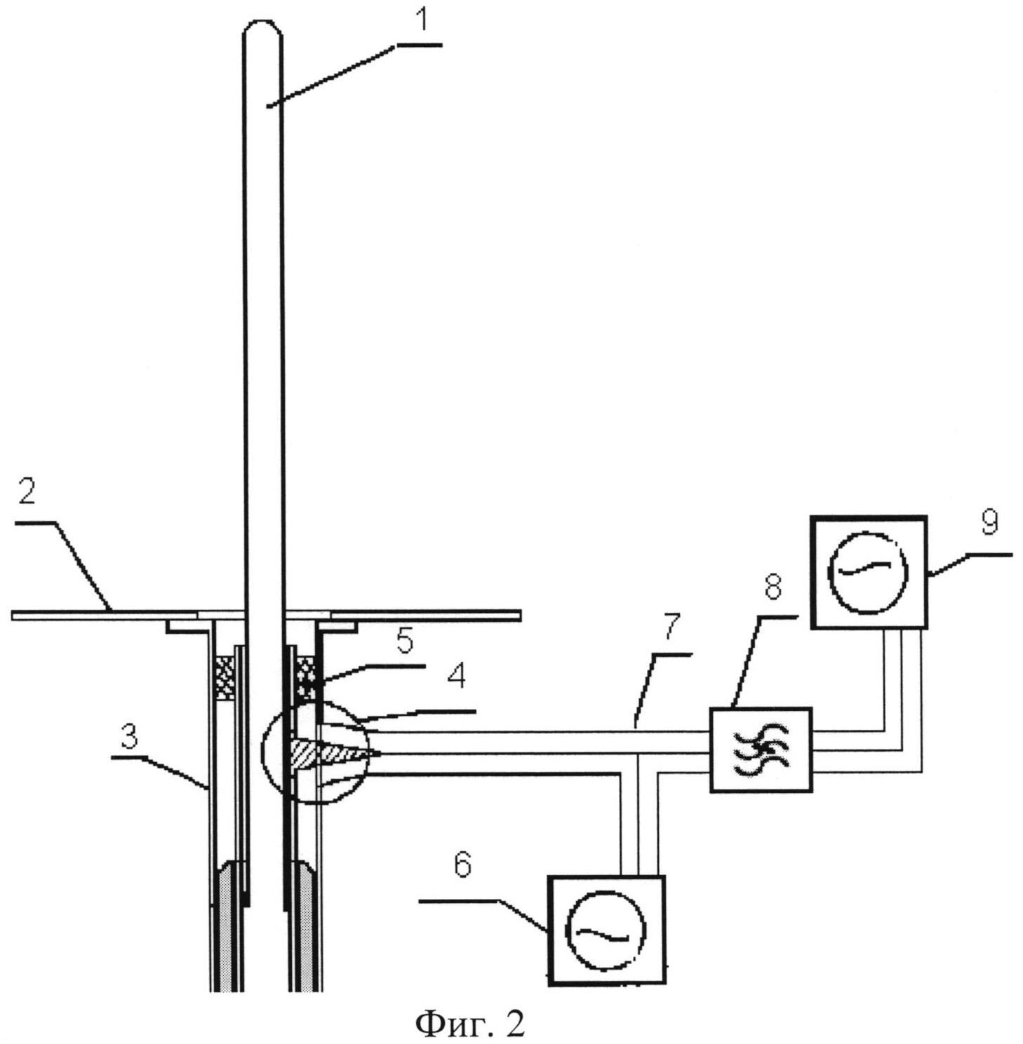
На фиг.1 представлена конструкция антенны. На фиг.2 - схема приема сигнала на антенну.

[10]

Предлагаемая антенна основана на принципе ионизации газа полем ВЧ волны, поступающим от передатчика (ВЧ генератора), и формировании поверхностной волны на столбе незамагниченной плазмы.

[11]

Конструктивно антенна представляет собой несимметричный вибратор, состоящий из безэлектродной диэлектрической газоразрядной трубки 1, металлического экрана 2, фидерного тракта 3 с подвижным поршнем 10, коаксиального тройника 4, диэлектрического изолятора 5 (тефлоновой шайбы) для крепления трубки, через тройник с помощью коаксиального кабеля к антенне подсоединен ВЧ передатчик 6. Такая конструкция обусловлена большой надежностью крепления и установки антенны. Также кроме регулировки рабочей частоты антенны при изменении длины поверхностной волны на трубке в данной конструкции возможна перестройка рабочей частоты антенны при изменении положения трубки в фидерном тракте 3 с помощью поршня. В этой же конструкции получено значительное снижение ВЧ мощности, требуемой от генератора. С помощью металлического экрана 2 формируется несимметричная четвертьволновая вибраторная антенна (несимметричный диполь), близкая по своим параметрам к полуволновой симметричной вибраторной антенне.

[12]

Ниже описан принцип работы заявляемой антенны. ВЧ мощность от генератора 6 по кабелю через тройник 4 поступает в коаксиальный фидерный тракт 3, через торец которого осуществляется ионизация газа в трубке 1 разрядом, формирование плазмы и возбуждение азимутально-симметричной поверхностной волны Е0. В плазме устанавливается ВЧ ток, и происходит излучение электромагнитной волны в окружающее пространство. Ионизация плазмы и излучение электромагнитной волны происходит на одной частоте. Рабочая длина плазменного вибратора (соответственно рабочая частота антенны) может изменяться с помощью перемещения регулировочного поршня на заднем торце фидерного тракта 3, изменения протяженности длины плазменного столба в газоразрядной трубке, вариации плотности плазмы в газоразрядной трубке. Также можно изменять ДН и частотные резонансные свойства антенны при изменении плотности плазмы регулировкой ВЧ мощности, подаваемой с передатчика.

[13]

В качестве рабочих газоразрядных трубок используются трубки с радиусом ra=1 см и длиной la=40 см и следующими газами и смесями: аргон при давлении ≥3·10-3 мм рт.ст., смесь аргона с парами ртути (упругость пара при комнатной температуре p<10-2 мм рт.ст.), воздух при давлении ≥3·10-3 мм рт.ст. Ионизация газа и формирование плазмы плотностью 1011 см-3 происходят при мощности ВЧ передатчика: для смеси аргона и паров ртути - 20 Вт, для аргона - 15 Вт, для воздуха - 42 Вт. Диапазон рабочих частот антенны (по результатам испытаний) 30…500 МГц, он определяется рабочим диапазонам передатчика (генератора). Эффективная площадь рассеяния (ЭПР) газоразрядной трубки, входящей в состав антенны в режиме радиомолчания приемопередающей системы (без плазмы в трубке) σ≤0,01 м2, металлические вибраторные антенны аналогичной конструкции имеют ЭПР σ≈0,7 м2. Время включения антенны (формирования плазмы в трубке) ≈1 мкс, время выключения антенны (деионизации плазмы) ≈10 мкс.

[14]

Прием сигнала на антенну осуществляется по схеме, изображенной на Фиг.2. Она отличается от Фиг.1 подключением к фидерному тракту 3 через коаксиальный тройник 7 и полосозаграждающий фильтр (ПЗФ) 8 приемного устройства 9. Так как плазменная антенна формируется с помощью излучения передатчика 6, то прием сигнала на эту же антенну возможен при смещении частоты приема fпр относительно рабочей частоты передатчика 6. Для подавления полосы передатчика 6 в канале приема используется ПЗФ. Ширина диапазона частот подавления ПЗФ не должна превышать Δf≤0,2f0, а отстройка принимаемой частоты fпр от рабочей частоты передатчика f0 6 должна быть fпр+f0≤2 Δf. Для унификации системы связи можно использовать два одинаковых приемопередатчика. Эффективность плазменной вибраторной антенны в режиме приема, определявшаяся как отношение амплитуд сигналов на входном сопротивлении приемника для плазменной и металлической антенн, η=0,85…0,95.

Как компенсировать расходы
на инновационную разработку
Похожие патенты