патент
№ RU 2626492
МПК E21B43/18

Способ разработки многопластового неоднородного нефтяного месторождения

Авторы:
Зиятдинов Радик Зяузятович
Номер заявки
2016116346
Дата подачи заявки
26.04.2016
Опубликовано
28.07.2017
Страна
RU
Как управлять
интеллектуальной собственностью
Чертежи 
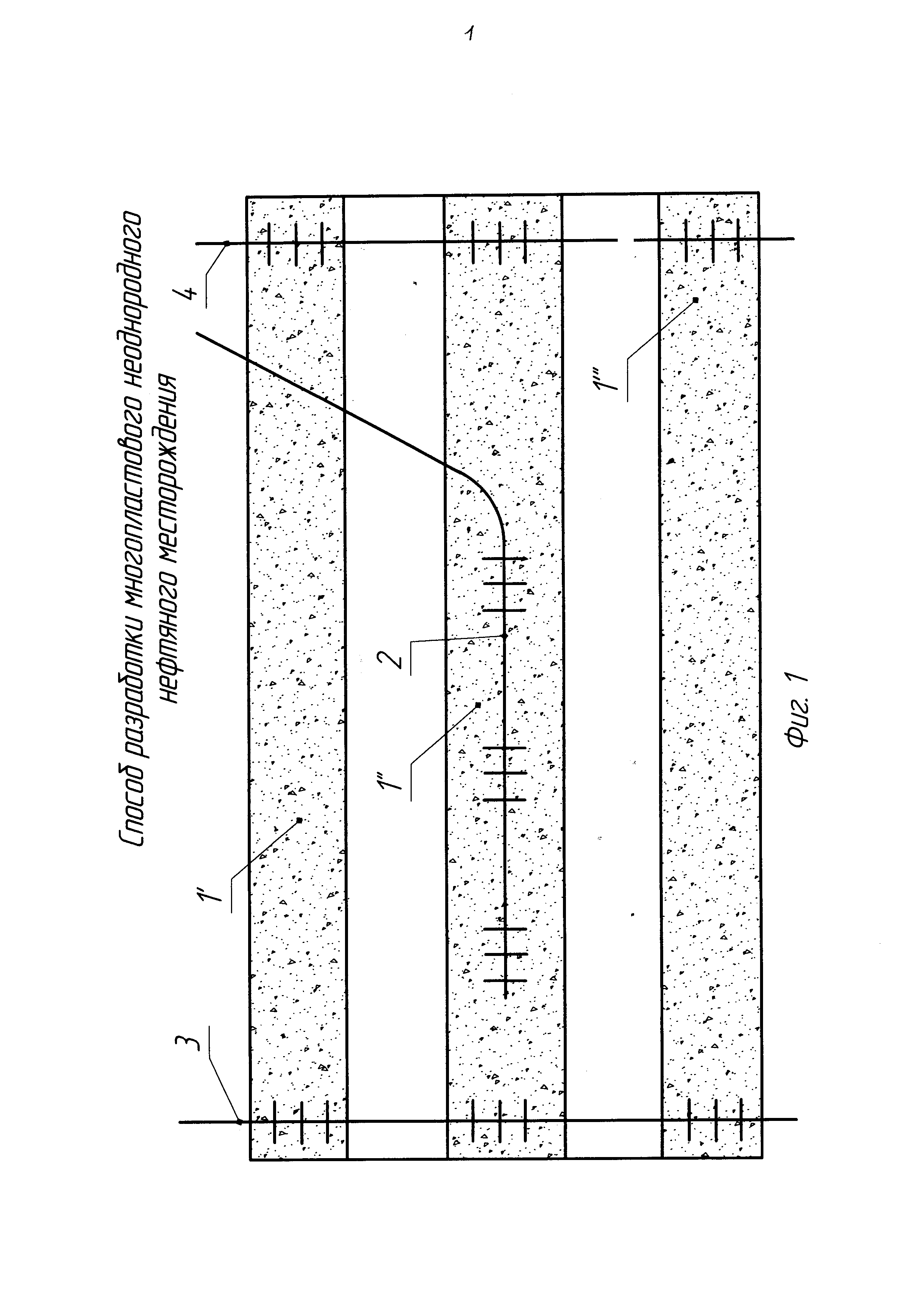
3
Реферат

Изобретение относится к горному делу и может быть применено для разработки многопластового неоднородного нефтяного месторождения. Способ включает бурение вертикальных нагнетательных скважин и добывающей скважины с горизонтальным стволом, выделение продуктивных пластов с различной проницаемостью, разделенных непроницаемыми пропластками, крепление обсадных колонн и их перфорацию, закачку вытесняющей жидкости и отбор продукции скважины. В продуктивном пласте, находящемся посередине нефтяного месторождения, перпендикулярно направлению главного напряжения σбурят один горизонтальный ствол, затем справа и слева по направлению горизонтального ствола бурят по одной вертикальной скважине со вскрытием всех продуктивных пластов, определяют проницаемость каждого продуктивного пласта, крепят обсадными колоннами горизонтальный ствол добывающей скважины, вертикальные стволы нагнетательных скважин и производят перфорацию в вертикальных нагнетательных скважинах напротив каждого продуктивного пласта, а в горизонтальном стволе добывающей скважины производят перфорацию в зависимости от количества продуктивных пластов, проперфорированных нагнетательными скважинами. Далее в каждом интервале перфорации горизонтального ствола добывающей скважины производят поинтервальные гидроразрывы с образованием трещин и последующим их креплением проппантом фракции, соответствующей проницаемости каждого продуктивного пласта. Для образования трещины гидроразрыва в нижнем продуктивном пласте закачивают жидкость гидроразрыва с облегченным проппантом. Для образования трещины гидроразрыва в пределах продуктивного пласта, в котором пробурен горизонтальный ствол, закачивают жидкость гидроразрыва без проппанта. А для образования трещины гидроразрыва в верхнем продуктивном пласте закачивают жидкость гидроразрыва с утяжеленным проппантом. Для крепления трещин гидроразрыва в продуктивном пласте с проницаемостью от 0,01 до 40 мД для крепления трещины закачивают жидкость-носитель с проппантом 12/18 меш, а в продуктивном пласте с проницаемостью от 40 до 100 мД для крепления трещины закачивают жидкость-носитель с проппантом фракции 20/40 меш, в продуктивном пласте с проницаемостью от 100 до 500 мД для крепления трещины закачивают жидкость-носитель с проппантом 40/80 меш. Затем спускают насос в горизонтальный ствол добывающей скважины, производят закачку вытесняющей жидкости через вертикальные нагнетательные скважины в продуктивные пласты, запускают насос и производят отбор продукции из горизонтального ствола добывающей скважины. Технический результат заключается в повышении надежности реализации способа. 3 ил.

Формула изобретения

Способ разработки многопластового неоднородного нефтяного месторождения, включающий бурение вертикальных нагнетательных скважин и добывающей скважины с горизонтальным стволом, выделение продуктивных пластов с различной проницаемостью, разделенных непроницаемыми пропластками, крепление обсадных колонн и их перфорацию, закачку вытесняющей жидкости и отбор продукции скважины, отличающийся тем, что в продуктивном пласте, находящемся посередине нефтяного месторождения, перпендикулярно направлению главного напряжения σmax бурят один горизонтальный ствол, затем справа и слева по направлению горизонтального ствола бурят по одной вертикальной скважине со вскрытием всех продуктивных пластов, определяют проницаемость каждого продуктивного пласта, крепят обсадными колоннами горизонтальный ствол добывающей скважины, вертикальные стволы нагнетательных скважин и производят перфорацию в вертикальных нагнетательных скважинах напротив каждого продуктивного пласта, а в горизонтальном стволе добывающей скважины производят перфорацию в зависимости от количества продуктивных пластов, проперфорированных нагнетательными скважинами, далее в каждом интервале перфорации горизонтального ствола добывающей скважины производят поинтервальные гидроразрывы с образованием трещин и последующим их креплением проппантом фракции, соответствующей проницаемости каждого продуктивного пласта, для образования трещины гидроразрыва в нижнем продуктивном пласте закачивают жидкость гидроразрыва с облегченным проппантом, для образования трещины гидроразрыва в пределах продуктивного пласта, в котором пробурен горизонтальный ствол, закачивают жидкость гидроразрыва без проппанта, а для образования трещины гидроразрыва в верхнем продуктивном пласте закачивают жидкость гидроразрыва с утяжеленным проппантом, для крепления трещин гидроразрыва в продуктивном пласте с проницаемостью от 0,01 до 40 мД для крепления трещины закачивают жидкость-носитель с проппантом 12/18 меш, а в продуктивном пласте с проницаемостью от 40 до 100 мД для крепления трещины закачивают жидкость-носитель с проппантом фракции 20/40 меш, в продуктивном пласте с проницаемостью от 100 до 500 мД для крепления трещины закачивают жидкость-носитель с проппантом 40/80 меш, затем спускают насос в горизонтальный ствол добывающей скважины, производят закачку вытесняющей жидкости через вертикальные нагнетательные скважины в продуктивные пласты, запускают насос и производят отбор продукции из горизонтального ствола добывающей скважины.

Описание

[1]

Изобретение относится к области разработки нефтяных месторождений, представленных многопластовыми неоднородными по проницаемости коллекторами.

[2]

Известен способ разработки многопластового неоднородного нефтяного месторождения разветвленными горизонтальными скважинами (патент RU №2339801, МПК Е21В 43/20, опубл. 27.11.2008 г., бюл. №33), включающий бурение нагнетательных и добывающих скважин с вертикальными и горизонтальными и/или субгоризонтальными стволами при определенном размещении в каждом продуктивном пласте, бурение из горизонтальных и/или субгоризонтальных стволов горизонтальных, и/или субгоризонтальных, и/или вертикальных разветвлений с пересечением непроницаемых пропластков, крепление обсадной колонны, закачку вытесняющей жидкости и добычу продукции скважины. Причем при бурении горизонтальных и/или субгоризонтальных стволов определяют границы зон с различной проницаемостью, пересекаемых этими стволами. Количество разветвлений определяют в зависимости, прямо пропорциональной запасам нефти, обратно пропорциональной проницаемости зон коллектора, и из условия обеспечения равномерной выработки запасов месторождения. Затем в горизонтальных и/или субгоризонтальных скважинах устанавливают пакер на границе зон коллекторов, отличающихся проницаемостями в 1,5 и более раз в зоне непроницаемого пропластка, а отбор продукции осуществляют при поддержании забойного давления для каждой выбранной зоны.

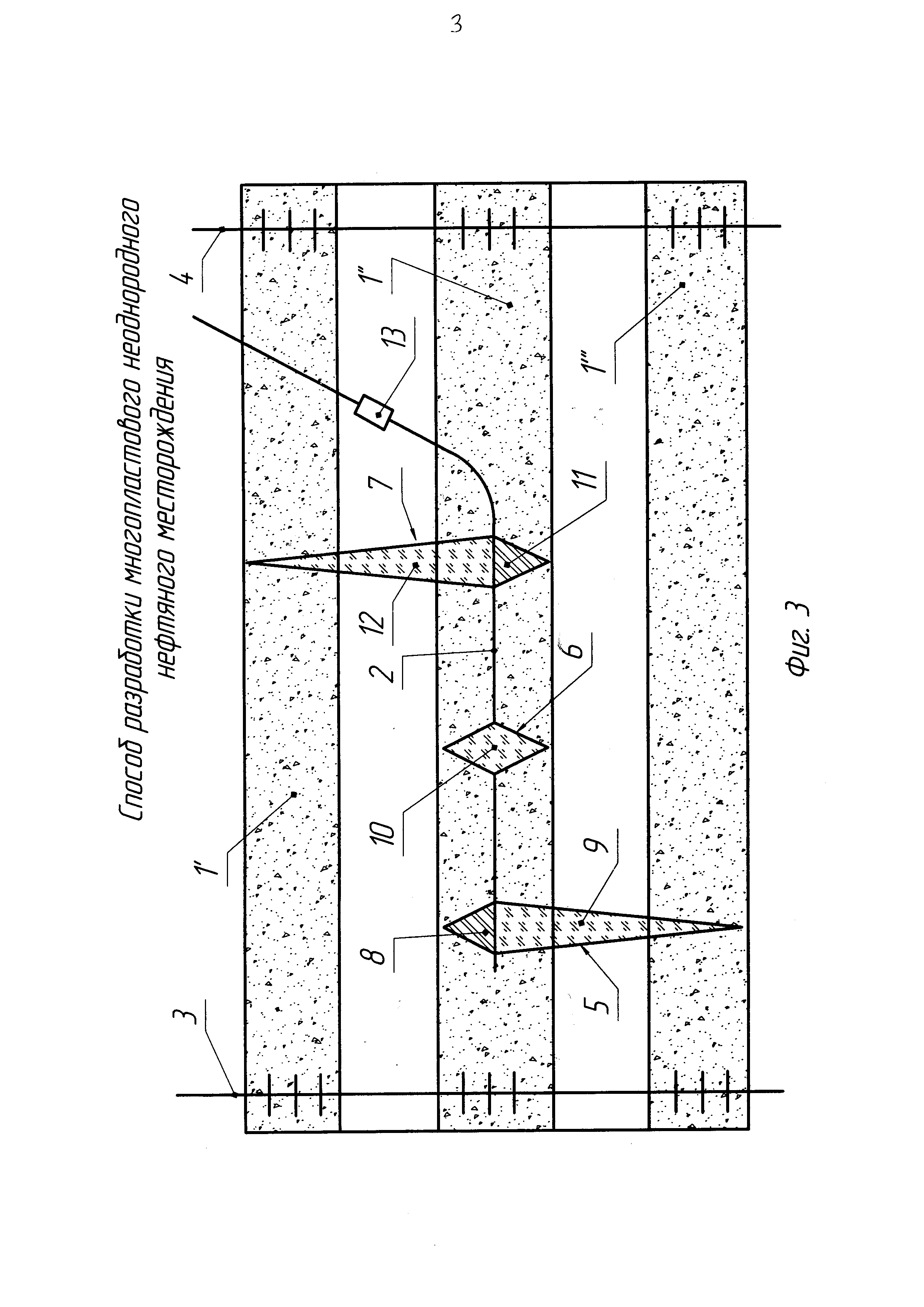
[3]

Недостатками способа являются:

[4]

- во-первых, сложный технологический цикл осуществления способа, связанный с зарезкой из одной зоны коллектора горизонтальной скважины нескольких разветвлений и ее проводкой ограниченной мощностью самого коллектора;

[5]

- во-вторых, дороговизна осуществления способа, что связано с большими финансовыми и материальными затратами, так как в коллекторах (зонах с различной проницаемостью) из горизонтальных и/или субгоризонтальных стволов бурят разветвления, причем количество разветвлений определяют в зависимости, прямо пропорциональной запасам нефти, обратно пропорциональной проницаемости зон;

[6]

- в-третьих, в процессе длительной разработки многопластового неоднородного нефтяного месторождения происходят снижение продуктивности или обводнение одного или нескольких коллекторов с зонами различной проницаемости, при этом не предусмотрены работы по интенсификации, и/или водоизоляции, или отключению обводнившихся коллекторов.

[7]

Наиболее близким по технической сущности и достигаемому результату является способ разработки многопластового неоднородного нефтяного месторождения (патент RU №2459934, МПК Е21В 43/14, опубл. 27.08.12 г., бюл. №24), включающий бурение нагнетательных и добывающих скважин с вертикальными и горизонтальными стволами при определенном размещении в каждом продуктивном пласте, выделение продуктивных пластов с различной проницаемостью, разделенных непроницаемыми пропластками, крепление обсадных колонн и их перфорацию, а также установку пакеров на границе продуктивных пластов, закачку вытесняющей жидкости и отбор продукции скважин, при этом стволы добывающих скважин выполняют наклонно направленными под углом 45-87°. Напротив всех продуктивных пластов с различной проницаемостью производят разнонаправленное вскрытие суммарным сечением перфорационных каналов не менее 3⋅104 мм2. После чего определяют проницаемость в каждом вскрытом продуктивном пласте, при различиях в проницаемости в 1,8-2 раза и более производят технологические операции по выравниванию проницаемости в каждом продуктивном пласте с целью равномерной выработки запасов месторождения, каждую технологическую операцию в каждом из продуктивных пластов производят герметичным отсечением ее от остальных продуктивных пластов. После этого в ствол скважины спускают лифтовую колонну труб, оснащенную водонабухающими пакерами, с размещенными между ними перфорированными отверстиями и устанавливают эти пакеры на границах продуктивных пластов с различной проницаемостью. Затем оснащают лифтовую колонну труб насосным оборудованием и запускают скважину в работу, при обводнении зон коллектора водонабухающие пакеры расширяются и перекрывают соответствующие обводненному продуктивному пласту перфорационные отверстия, при этом продолжают отбор продукции из других продуктивных пластов до полного обводнения всех продуктивных пластов.

[8]

Недостатками способа являются:

[9]

- во-первых, низкая надежность реализации способа, обусловленная тем, что каждый продуктивный пласт необходимо герметично отсекать отдельно сверху и снизу эксплуатационными пакерами, что на практике очень сложно выполнить. Поэтому при разгерметизации двух близлежайших пакеров между двумя продуктивными пластами происходит переток продукции между этими продуктивными пластами через интервалы перфорации по обсадной колонне. В результате продукция из продуктивного пласта с меньшим пластовым давлением не будет поступать на прием насоса;

[10]

- во-вторых, неравномерная и неполная выработка запасов нефти из продуктивных пластов, в частности из продуктивного пласта, где проводился гидроразрыв пласта (ГРП). Это обусловлено тем, что наклонно-направленный ствол пробурен неперпендикулярно направлению главного напряжения σmax, поэтому в продуктивном пласте выполнение ГРП не даст должного эффекта, а значит, не обеспечит равномерную и полную выработку данного продуктивного пласта;

[11]

- в-третьих, проведение различных технологических операций (промывка растворителем, обработка призабойной зоны пласта, ГРП) не позволит выровнить приток нефти из всех продуктивных пластов в горизонтальный ствол добывающей скважины;

[12]

- в-четвертых, сложный технологический процесс реализации способа, так как помимо проведения различных технологических операций (промывка растворителем, обработка призабойной зоны пласта, ГРП) по выравниванию проницаемости продуктивных пластов с применением различного вида оборудования необходимо производить посадку эксплуатационных пакеров и эксплуатировать одну добывающую скважину с шестью пакерами (при наличии в разрезе трех продуктивных пластов).

[13]

Техническими задачами изобретения являются повышение надежности реализации способа, проведение равномерной и полной выработки запасов нефти из продуктивных пластов, гарантированное выравнивание притока нефти из всех продуктивных пластов в горизонтальный ствол добывающей скважины, а также упрощение технологического процесса реализации способа.

[14]

Поставленные задачи решаются способом разработки многопластового неоднородного нефтяного месторождения, включающим бурение вертикальных нагнетательных скважин и добывающей скважины с горизонтальным стволом, выделение продуктивных пластов с различной проницаемостью, разделенных непроницаемыми пропластками, крепление обсадных колонн и их перфорацию, закачку вытесняющей жидкости и отбор продукции скважины.

[15]

Новым является то, что в продуктивном пласте, находящемся посередине нефтяного месторождения, перпендикулярно направлению главного напряжения σmax бурят один горизонтальный ствол, затем справа и слева по направлению горизонтального ствола бурят по одной вертикальной скважине со вскрытием всех продуктивных пластов, определяют проницаемость каждого продуктивного пласта, крепят обсадными колоннами горизонтальный ствол добывающей скважины, вертикальные стволы нагнетательных скважин и производят перфорацию в вертикальных нагнетательных скважинах напротив каждого продуктивного пласта, а в горизонтальном стволе добывающей скважины производят перфорацию в зависимости от количества продуктивных пластов, проперфорированных нагнетательными скважинами, далее в каждом интервале перфорации горизонтального ствола добывающей скважины производят поинтервальные гидроразрывы с образованием трещин и последующим их креплением проппантом фракции, соответствующей проницаемости каждого продуктивного пласта, для образования трещины гидроразрыва в нижнем продуктивном пласте закачивают жидкость гидроразрыва с облегченным проппантом, для образования трещины гидроразрыва в пределах продуктивного пласта, в котором пробурен горизонтальный ствол, закачивают жидкость гидроразрыва без проппанта, а для образования трещины гидроразрыва в верхнем продуктивном пласте закачивают жидкость гидроразрыва с утяжеленным проппантом, для крепления трещин гидроразрыва в продуктивном пласте с проницаемостью от 0,01 до 40 мД для крепления трещины закачивают жидкость-носитель с проппантом 12/18 меш, а в продуктивном пласте с проницаемостью от 40 до 100 мД для крепления трещины закачивают жидкость-носитель с проппантом фракции 20/40 меш, в продуктивном пласте с проницаемостью от 100 до 500 мД для крепления трещины закачивают жидкость-носитель с проппантом 40/80 меш, затем спускают насос в горизонтальный ствол добывающей скважины, производят закачку вытесняющей жидкости через вертикальные нагнетательные скважины в продуктивные пласты, запускают насос и производят отбор продукции из горизонтального ствола добывающей скважины.

[16]

На фиг. 1, 2 и 3 схематично и последовательно изображен процесс реализации предлагаемого способа.

[17]

Многопластовое неоднородное нефтяное месторождение представлено несколькими продуктивными пластами, разделенными непроницаемыми пропластками, например тремя продуктивными пластами 1', 1" и 1''' (см. фиг. 1).

[18]

В продуктивном пласте 1", находящемся посередине нефтяного месторождения, перпендикулярно направлению главного напряжения σmax бурят один горизонтальный ствол 2.

[19]

Затем справа и слева, например на расстоянии 100 м (см. фиг. 2), по направлению горизонтального ствола 2 бурят по одной вертикальной скважине 3 и 4 соответственно со вскрытием всех продуктивных пластов 1', 1" и 1''' (см. фиг. 1).

[20]

Определяют проницаемость каждого продуктивного пласта 1', 1" и 1'''. Проницаемость продуктивных пластов 1', 1" и 1''' определяют по керну, отобранному из интервала каждого продуктивного пласта 1', 1" и 1'''.

[21]

Например, проницаемость составляет:

[22]

- продуктивного пласта 1' - 120 мД;

[23]

- продуктивного пласта 1" - 54 мД;

[24]

- продуктивного пласта 1''' - 35 мД.

[25]

Крепят обсадными колоннами горизонтальный ствол 2 добывающей скважины и стволы вертикальных нагнетательных скважин 3 и 4. Производят перфорацию (на фиг. 1 показана условно) в вертикальных нагнетательных скважинах 3 и 4 напротив каждого продуктивного пласта 1', 1" и 1'''.

[26]

В горизонтальном стволе 2 добывающей скважины производят перфорацию в зависимости от количества продуктивных пластов, проперфорированных нагнетательными скважинами 3 и 4. В данном примере таких три продуктивных пласта 1', 1" и 1''', а значит, в горизонтальном стволе 2 добывающей скважины выполняют перфорацию в трех интервалах (на фиг. 1 показаны условно).

[27]

Далее в каждом интервале перфорации горизонтального ствола 2 (см. фиг. 3) добывающей скважины производят поинтервальные гидроразрывы с образованием трещин и последующим их креплением проппантом фракции, соответствующей проницаемости каждого продуктивного пласта 1', 1" и 1'''.

[28]

Поинтервальные гидроразрывы производят спуском в горизонтальный ствол 2 добывающей скважины технологической колонны труб с технологическим пакером (на фиг. 1, 2 и 3 не показан) и его посадкой перед интервалом перфорации при образовании каждой трещины гидроразрыва с целью защиты обсадной колонны горизонтального ствола 2 от действия высокого давления в процессе образования трещин гидроразрыва.

[29]

В предлагаемом способе достигается равномерная и полная выработка запасов нефти из продуктивных пластов 1', 1'' и 1''' (см. фиг. 1 и 3) вследствие того, что горизонтальный ствол 3 добывающей скважины пробурен перпендикулярно направлению главного напряжения σmax, поэтому все трещины 5, 6, 7 в соответствующие продуктивные пласты 1', 1" и 1''' образуются перпендикулярно горизонтальному стволу 2 добывающей скважины, что обеспечит равномерную и полную выработку запасов нефти из всех продуктивных пластов 1', 1" и 1'''.

[30]

Повышается надежность реализации способа, так как при реализации способа исключается отсечение продуктивных пластов в добывающей скважине пакерами, что, в свою очередь, исключает возможные перетоки продукции между этими продуктивными пластами через интервалы перфорации по обсадной колонне.

[31]

Для образования трещины 5 гидроразрыва в нижний продуктивный пласт 1''' закачивают жидкость гидроразрыва с облегченным проппантом.

[32]

Для образования трещины 6 гидроразрыва в пределах продуктивного пласта 1'', в котором пробурен горизонтальный ствол 2, используют жидкость гидроразрыва без проппанта.

[33]

Для образования трещины 7 гидроразрыва в верхнем продуктивном пласте 1' закачивают жидкость гидроразрыва с утяжеленным проппантом.

[34]

В качестве жидкости гидроразрыва применяют любой известный состав, например линейный гель.

[35]

Для крепления трещин гидроразрыва в продуктивном пласте с проницаемостью от 0,01 до 40 мД закачивают жидкость-носитель с проппантом 12/18 меш.

[36]

В продуктивном пласте с проницаемостью от 40 до 100 мД для крепления трещины закачивают жидкость-носитель с проппантом фракции 20/40 меш.

[37]

В продуктивном пласте с проницаемостью от 100 до 500 мД для креплении трещины закачивают жидкость-носитель с проппантом 40/80 меш.

[38]

Для значений проницаемости, приведенных выше, крепление трещин будет осуществляться следующим образом.

[39]

Для образования трещины 5 гидроразрыва в нижнем продуктивном пласте 1''' закачивают жидкость гидроразрыва, например линейный гель в объеме 2 м3 с облегченным, например, сверхлегким проппантом 8 плотностью 1050 кг/м3, который в начавшей образовываться трещине 5 всплывает и исключает развитие трещины 5 вверх, далее, не прерывая процесса закачки, закачивают оставшийся объем жидкости гидроразрыва, например 6 м3 без проппанта, что приводит к развитию трещины 5 только вниз, т.е. в нижний продуктивный пласт 1''' ввиду образования сверху трещины 5 плотной набивки из облегченного проппанта 8. Затем крепят трещину 5 закачкой жидкости-носителя с проппантом 9 фракции (крупной) 12/18 меш, так как проницаемость продуктивного пласта 1''' - 35 мД.

[40]

Для образования трещины 6 гидроразрыва в пределах продуктивного пласта 1", в котором пробурен горизонтальный ствол 2, закачивают жидкость гидроразрыва в объеме, например, 6 м3 без проппанта, при этом трещина 6 раскрывается равномерно в обоих направлениях относительно горизонтального ствола 2 добывающей скважины. Затем крепят трещину 6 закачкой жидкости-носителя с проппантом 10 фракции (средней) 20/40 меш, так как проницаемость продуктивного пласта 1" - 54 мД.

[41]

Для образования трещины 7 гидроразрыва в верхнем продуктивном пласте 1' закачивают жидкость гидроразрыва, например линейный гель в объеме 1,5 м3 с утяжеленным, например, стеклянным бисером плотностью 3700 кг/м3 проппантом 11, который в начавшей образовываться трещине 7 утопает в жидкости гидроразрыва и исключает развитие трещины 7 вниз, далее, не прерывая процесса закачки, закачивают оставшийся объем жидкости гидроразрыва, например 5 м3 без проппанта, что приводит к развитию трещины 7 только вверх, т.е. в верхний продуктивный пласт 1' ввиду образования снизу трещины 7 плотной набивки из утяжеленного проппанта 11. Затем крепят трещину 7 закачкой жидкости-носителя с проппантом 12 фракции (мелкой) 20/40 меш, так как проницаемость продуктивного пласта 1' - 120 мД.

[42]

Размер фракций облегченного 8 и утяжеленного 11 проппантов может быть любым, например 12/20 меш., так как он выполняет роль набивки.

[43]

Опытным путем установлено, что проводимость трещины, закрепленной проппантом крупной фракции выше, чем у трещины, закрепленной проппантом меньшей фракции (так как чем крупнее зерна проппанта, тем больше расстояние между зернами).

[44]

Поэтому в предлагаемом способе выравнивания профиля притока продукции в горизонтальный ствол 2 из продуктивных пластов 1', 1" и 1'" по трещинам 5, 6 и 7 добиваются за счет изменения проводимости этих трещин, т.е. выравнивания проводимости путем подбора фракций проппанта (мелкой, средней, крупной), крепящего эти трещины 5, 6 и 7, которые гидравлически сообщаются с соответствующими продуктивными пластами 1''', 1', 1'' и имеют различные значения проницаемости.

[45]

Спускают насос 13 в горизонтальный ствол 2 добывающей скважины, производят закачку вытесняющей жидкости, например воды, через вертикальные нагнетательные скважины 3 и 4 в продуктивные пласты 1', 1" и 1"' и запускают насос 13.

[46]

Вытесняющая жидкость в продуктивных пластах 1''', 1', 1" создает фронт вытеснения нефти в трещины 5, 6, 7 разрыва соответственно. По трещинам 5, 6, 7 продукция попадает в горизонтальный ствол 2 добывающей скважины, откуда насосом 13 производят отбор продукции на устье скважины.

[47]

Упрощается технологический процесс реализации способа, так как реализация способа основана на проведении только одного вида технологической операции - гидравлического разрыва пласта, а значит, и оборудование, применяемое для реализации способа, будет однотипным, а также исключается применение эксплуатационных пакеров при эксплуатации добывающей скважины. Все это снижает затраты на реализацию способа.

[48]

Предлагаемый способ разработки многопластового неоднородного нефтяного месторождения позволяет:

[49]

- повысить надежность реализации способа;

[50]

- произвести равномерную и полную выработку запасов нефти из всех продуктивных пластов;

[51]

- гарантированно выравнять приток нефти из всех продуктивных пластов в горизонтальный ствол добывающей скважины;

[52]

- упростить технологический процесс реализации способа.

Как компенсировать расходы
на инновационную разработку
Похожие патенты