патент
№ RU 2654493
МПК H01T1/20
Номер заявки
2017107282
Дата подачи заявки
06.03.2017
Опубликовано
21.05.2018
Страна
RU
Как управлять
интеллектуальной собственностью
Чертежи 
1
Реферат

Изобретение относится к электротехнике и сильноточной электронике, в частности к средствам коммутации, представляет собой вакуумный разрядник, управляемый сфокусированным оптическим излучением, и может использоваться для коммутации сильноточных высоковольтных электрических систем. В герметичной диэлектрической оболочке, включающей оптически прозрачное окно, размещена коаксиальная электродная система, состоящая из электродов идентичной формы, каждый из которых выполнен со сквозным отверстием на оси симметрии разрядника, и мишень, выполненная из тугоплавкого материала и расположенная на оси симметрии разрядника в точке фокуса за пределами межэлектродного промежутка. Давление внутри оболочки составляет 10-10Тор (10-10Па). Управляющее излучение от импульсного источника оптического излучения фокусируется на мишени, в результате чего УФ и ВУФ излучение плазмы, возникающей у поверхности мишени, ионизирует остаточные газы внутри оболочки, создает проводящую среду в межэлектродном пространстве и осуществляется коммутация разрядника. Технический результат - повышение ресурса, надежности и стабильности работы вакуумного разрядника. 3 з.п. ф-лы, 2 ил.

Формула изобретения

1. Вакуумный разрядник, включающий герметичную диэлектрическую оболочку, содержащую коаксиальную электродную систему из двух электродов и включающую оптически прозрачное окно для ввода управляющего сфокусированного импульсного оптического излучения по оси симметрии разрядника, отличающийся тем, что внутри оболочки на оси симметрии разрядника за пределами межэлектродного промежутка в точке фокуса расположена мишень из тугоплавкого материала, электроды имеют идентичную форму, каждый из электродов выполнен со сквозным отверстием для пропуска управляющего излучения в направлении мишени, отверстия расположены на оси симметрии разрядника, давление внутри герметичной оболочки разрядника составляет 10-2-100 Па.

2. Вакуумный разрядник по п. 1, отличающийся тем, что оптический элемент, фокусирующий управляющее излучение на мишени, расположен за пределами герметичной оболочки.

3. Вакуумный разрядник по п. 1, отличающийся тем, что окно выполнено в виде оптического элемента, фокусирующего управляющее излучение на мишени.

4. Вакуумный разрядник по п. 3, отличающийся тем, что окно выполнено в виде плоско-выпуклой линзы, выпуклая сторона которой находится на внешней поверхности оболочки.

Описание

[1]

Изобретение относится к электротехнике и сильноточной электронике, в частности к средствам коммутации, и может использоваться для коммутации сильноточных высоковольтных электрических систем.

[2]

Известен разрядник с лазерным поджигом, содержащий в корпусе с окном для ввода луча поджигающего лазера два противостоящих основных электрода, один из которых выполнен со сквозным отверстием, расположенным напротив окна в корпусе, и собирающую линзу, установленную между поджигающим лазером и указанным основным электродом с отверстием, фокус которой расположен в промежутке между основными электродами, при этом между основными электродами установлен дополнительно введенный электрод-мишень со сквозным отверстием, расположенным соосно со сквозным отверстием основного электрода, причем средняя точка на оси отверстия электрода-мишени расположена в фокусе указанной линзы. Авторское свидетельство SU 1101133, МПК Н01Т 14/00, 30.11.1985. В разряднике используется эффект лазерной искры для создания сгустка плазмы в межэлектродном промежутке, реализация которого требует достижения интенсивности излучения оптического диапазона в фокусе собирающей линзы примерно 1011 Вт/см2 и выше [1, 2]. Для создания на поверхности твердотельной мишени плазмы, являющейся эффективным источником ультрафиолетового (УФ) и вакуумного ультрафиолетового (ВУФ) излучения, достаточно достигнуть интенсивности примерно 109 Вт/см2 в пятне фокусировки [3], что технически упрощает решение проблемы компактности коммутирующего устройства, т.к. снижается на два порядка величины требуемый уровень энергии лазерного излучения при той же длительности его импульса, а следовательно, точно так же снижается уровень энергии, первоначально запасаемой в импульсном источнике, питающем систему накачки лазера.

[3]

Известен управляемый разрядник в двухэлектродном исполнении, расположенный в откачанном корпусе, в котором катод выполнен из сплава ВНБ-3, в корпусе установлено прозрачное окно для ввода луча лазера, анод выполнен с отверстием, а в центре катода из сплава ВНБ-3 сформировано острие. Патент на полезную модель RU 119935, МПК H01J 17/64, 25.05.2012. Данное техническое решение принято в качестве прототипа. Недостатком данного устройства является то, что наличие острия значительно снижает электрическую прочность межэлектродного промежутка и повышает вероятность неконтролируемого пробоя межэлектродного промежутка, а также снижает надежность устройства, потому что в процессе эксплуатации разрядника за счет эрозии как под действием излучения лазера, так и под действием плазмы разряда будет постоянно изменяться качество поверхности острия: будет изменяться радиус кривизны поверхности острия, шероховатость поверхности. Кроме того, авторы ошибочно связывают эффективность разрядника, под которой они понимают возможность работы разрядника при низкой энергии лазерного поджига, с явлением термоэмиссии электронов с поверхности катода, т.е. с термоэмиссионными характеристиками материала катода [4]. В результате авторы предлагают в качестве материала электрода неоптимальный вариант. Также условия срабатывания разрядника, в первую очередь его временные параметры, зависят от полярности электрода, подвергающегося воздействию лазерного излучения, т.к., например, время задержки срабатывания разрядника определяется скоростью развития лазерно-плазменного факела и зависит от направления приложенного электрического поля [5]. Таким образом, если при монтаже схемы, содержащей разрядник, будут перепутаны выводы его анода и катода, время задержки срабатывания разрядника увеличится на порядок величины.

[4]

Задачей изобретения является создание вакуумного электроразрядного коммутирующего устройства, обеспечивающего минимальную эрозию его элементов в результате воздействия управляющего сфокусированного оптического излучения импульсного источника, создание токопроводящей среды в межэлектродном промежутке разрядника за счет ионизации остаточного газа УФ и ВУФ излучением плазмы, возникающей под действием импульса управляющего сфокусированного оптического излучения импульсного источника на поверхности мишени при достигаемой интенсивности 108-1010 Вт/см2 в пятне фокусировки, независимость режима срабатывания от полярности электродов.

[5]

Технический результат заключается в повышении ресурса, надежности и стабильности работы устройства.

[6]

Технический результат достигается тем, что в вакуумном разряднике, включающем герметичную диэлектрическую оболочку, содержащую коаксиальную электродную систему из двух электродов и включающую оптически прозрачное окно для ввода управляющего сфокусированного импульсного оптического излучения по оси симметрии разрядника, внутри оболочки на оси симметрии разрядника за пределами межэлектродного промежутка в точке фокуса расположена мишень из тугоплавкого материала, электроды имеют идентичную форму, каждый из электродов выполнен со сквозным отверстием для пропуска управляющего излучения в направлении мишени, отверстия расположены на оси симметрии разрядника, давление внутри герметичной оболочки разрядника составляет 10-2-100 Па.

[7]

Фокусировка управляющего излучения может осуществляться как при помощи фокусирующего оптического элемента, расположенного за пределами оболочки, так и при помощи окна, выполненного в виде такого элемента.

[8]

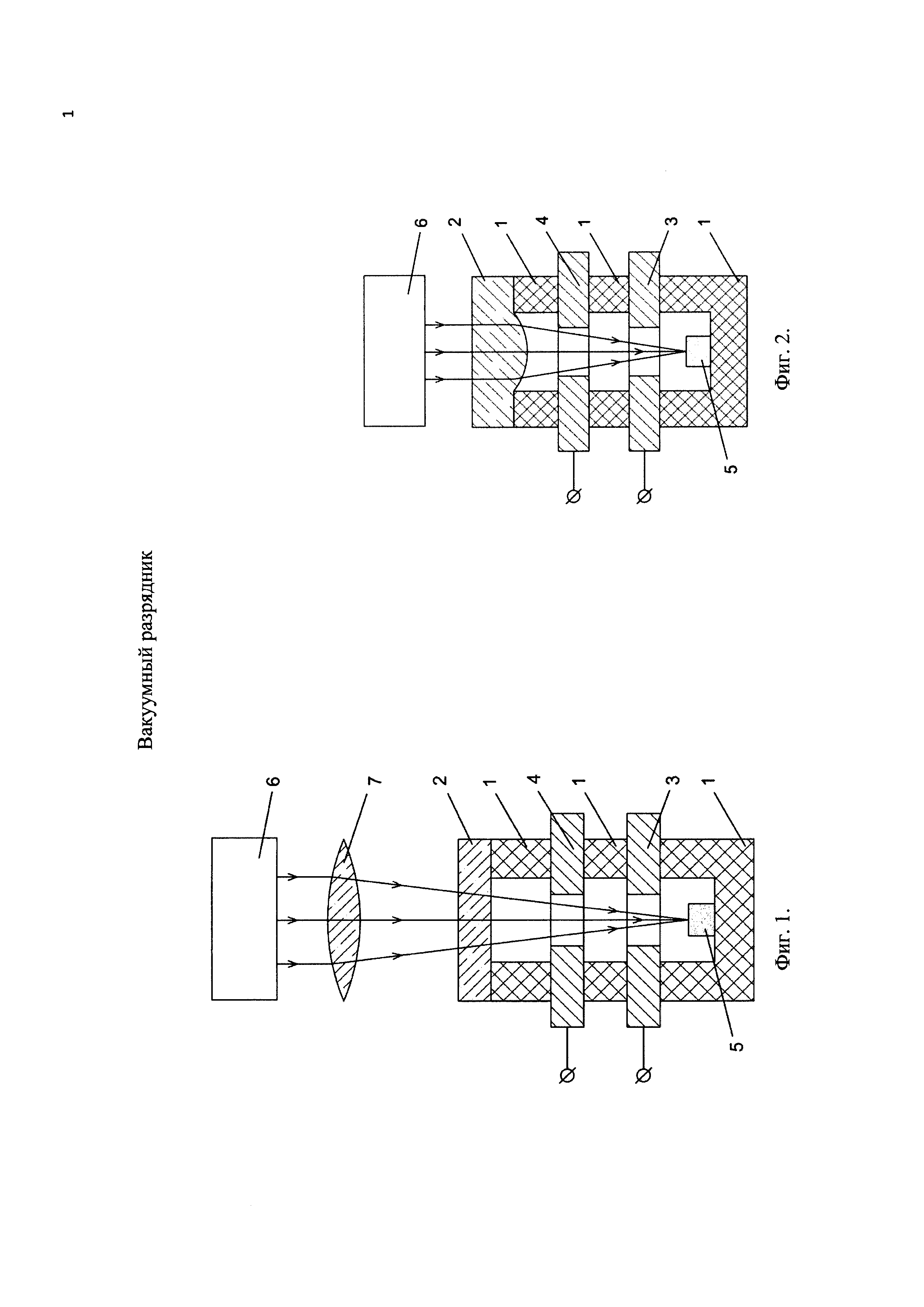
Предлагаемое техническое решение поясняется на фиг. 1, 2, где 1 - герметичная диэлектрическая оболочка; 2 - оптически прозрачное окно; 3, 4 - электроды со сквозным отверстием, 5 - мишень; 6 - внешний импульсный источник управляющего оптического излучения; 7 - фокусирующий оптический элемент.

[9]

На фиг. 1 представлен разрез вакуумного разрядника с внешним фокусирующим элементом.

[10]

На фиг. 2 представлен разрез вакуумного разрядника с окном - фокусирующим оптическим элементом.

[11]

Вакуумный разрядник, управляемый сфокусированным оптическим излучением импульсного источника, состоит из герметичной диэлектрической оболочки 1, откачанной до давления остаточных газов 10-4-10-2 Тор (10-2-100 Па), с оптически прозрачным окном 2, внутри которой находится коаксиальная электродная система, состоящая из электродов 3 и 4, и мишень 5, находящаяся за пределами разрядного промежутка. Электроды 3 и 4 выполнены идентичными по форме, в каждом из электродов имеется сквозное отверстие по оси системы для пропуска управляющего излучения в направлении мишени 5, выполненной из тугоплавкого материала, например вольфрама, молибдена, керамики. Оптически прозрачное окно 2 предназначено для пропуска управляющего сфокусированного излучения от импульсного источника 6 внутрь оболочки 1 вдоль оси симметрии разрядника в направлении мишени 5, находящейся в точке фокуса. В качестве источника излучения может применяться импульсный оптический квантовый генератор. Опытным путем было установлено, что при величине зазора между анодом и катодом порядка 1 мм и указанном выше давлении остаточных газов в межэлектродном зазоре рабочее напряжение разрядника достигает 10 кВ.

[12]

Фокусировка управляющего излучения может осуществляться как при помощи фокусирующего оптического элемента 7 (собирающей линзы, видикона и т.п.), расположенного за пределами оболочки, так и при помощи окна 2, выполненного в виде такого элемента, например плоско-выпуклой линзы, выпуклая сторона которой находится на внешней поверхности оболочки.

[13]

Разрядник работает следующим образом.

[14]

Излучение оптического диапазона, испускаемое внешним импульсным источником, фокусируется на поверхности мишени. Диаметр пятна фокусировки, получаемого с помощью окна, выполненного, например, в виде собирающей линзы с фокусным расстоянием порядка нескольких сантиметров, составит несколько десятых квадратного миллиметра [6]. При энергии излучения 10-3-10-2 Дж в импульсе длительностью 10-9-10-8 с, что обеспечивают серийно выпускаемые компактные твердотельные оптические квантовые генераторы со светодиодной накачкой, плотность потока энергии излучения на мишени может быть доведена до уровня 108-1010 Вт/см2. При таком уровне интенсивности падающего на мишень излучения образующаяся у поверхности мишени плазма является мощным источником УФ и ВУФ излучения, которое эффективно ионизирует остаточные газы внутри вакуумированной оболочки при давлении остаточных газов 10-4-10-2 Тор (10-2-100 Па) и создает проводящую среду в межэлектродном пространстве [4], таким образом осуществляется коммутация разрядника.

[15]

Применение мишени из тугоплавкого материала, находящейся за пределами разрядного промежутка, позволяет обеспечить минимальную эрозию элементов разрядника в результате воздействия управляющего сфокусированного оптического излучения импульсного источника и увеличить ресурс устройства.

[16]

Также вынесение мишени за разрядный промежуток и ионизация остаточных газов в разрядном промежутке УФ излучением мишени позволяет повысить надежность и стабильность работы разрядника, поскольку временные параметры срабатывания разрядника не зависят от полярности подключения электродов.

[17]

Выполнение электродов идентичными за счет выноса мишени за пределы разрядного промежутка позволяет упростить технологию их изготовления и монтажа, что также упрощает конструкцию.

[18]

Выполнение окна в виде фокусирующего элемента позволяет исключить внешний фокусирующий элемент, что упрощает конструкцию и процесс фокусировки управляющего излучения.

[19]

Используемая литература

[20]

1. Островская Г.В., Зайдель А.Н. Лазерная искра в газах // УФН, 1973, Т. 111, с. 579.

[21]

2. Райзер Ю.П. Оптические разряды // УФН, 1980, Т. 132, с. 549.

[22]

3. Ананьин О.Б. и др. Лазерная плазма. Физика и применения: Монография. - М.: МИФИ, 2003. - С. 10, 186.

[23]

4. Давыдов С.Г. и др. Процесс коммутации вакуумного разрядника с лазерным управлением // Успехи прикладной физики, 2014, Т. 2, №6, с. 613.

[24]

5. Месяц Г.А. Эктоны в вакуумном разряде: пробой, искра, дуга. - М.: Наука, 2000. - С. 69.

[25]

6. Райзер Ю.П. Физика газового разряда. - М.: Наука, 1974. - С. 239.

Как компенсировать расходы
на инновационную разработку
Похожие патенты