Изобретение относится к авиационной радиосвязи и может быть использовано для организации декаметровой (ДКМ) радиосвязи в каналах «борт летательного аппарата (ЛА) - наземный опорный радиоцентр (ОпРЦ)» на незакрепленных частотах без частотного планирования. Технический результат заключается в обеспечении автоматической бесперебойной ДКМ-радиосвязи с надежностью информационного обмена 0,95-0,99, крипто- и помехозащищенностями каналов связи и экономией частотного ресурса. Для этого в радиоканал «борт ЛА - наземный ОпРЦ» вводится технология ионосферного мониторинга (ИМ), реализуемая с помощью линейно-частотно-модулированных (ЛЧМ) сигналов и позволяющая определять радиопрогностические параметры ионосферного канала, включая основной параметр - оптимальную рабочую частоту (ОРЧ) в реальном масштабе времени. При этом наземные ОпРЦ оснащаются аппаратно-программными комплексами ионосферного мониторинга, а борт ЛА - четырехканальным приемником-анализатором ЛЧМ-сигналов, способным одновременно принимать и анализировать сигналы от четырех пространственно-разнесенных наземных ОпРЦ. В результате обеспечивается адаптация по частоте и пространству, что дает возможность работы на одной ОРЧ, определенной для данного времени для одного из четырех ОпРЦ, наиболее подходящего по условиям распространения ДКМ-радиоволн и помеховой обстановке. При деградации параметров работающего канала ниже допустимых значений передача управления каналом «борт ЛА - наземный ОпРЦ» новому ОпРЦ осуществляется по сети магистральных линий, связывающих между собой все ОпРЦ и выполняющих роль так называемого «обратного канала». Каждый ЛА, выходящий в эфир, использует свободную частоту на основе собственного анализа занятости этой частоты по данным ИМ, тем самым исключается создание взаимных помех. 2 ил.
Способ авиационной адаптивной автоматической декаметровой радиосвязи на незакрепленных частотах в каналах «борт летательного аппарата (ЛА) - наземный опорный радиоцентр (ОпРЦ)», основанный на использовании технологии ионосферного мониторинга (ИМ) с применением линейно-частотно-модулированных (ЛЧМ) сигналов, заключающийся в том, что каждый наземный ОпРЦ с помощью оснащенного широкополосной передающей антенной передатчика зондирующего ЛЧМ-сигнала из состава аппаратно-программного комплекса ИМ по заданному частотно-временному расписанию осуществляет излучение ЛЧМ-сигнала, который, отражаясь от ионосферы, через бортовую активную широкополосную всенаправленную приемную антенну ДКМ-диапазона ЛА поступает в бортовой четырехканальный приемник-анализатор ЛЧМ-сигналов от четырех пространственно-разнесенных наземных ОпРЦ, включая тот, с которым поддерживается связь, после чего в вычислителе из состава бортового четырехканального приемника-анализатора ЛЧМ-сигналов осуществляется одновременный анализ принятых ЛЧМ-сигналов, определение в режиме реального времени значения надежности передачи сообщений для каждого ОпРЦ, и, если значение надежности передачи сообщений при заданной вероятности ошибки на бит в работающем канале «борт ЛА - наземный ОпРЦ» не меньше допустимого, ДКМ-радиосвязь поддерживается на текущем канале, а при падении надежности передачи сообщений в работающем канале «борт ЛА - наземный ОпРЦ» ниже допустимого значения вычислитель определяет новый канал «борт ЛА - наземный ОпРЦ» с наибольшим значением надежности передачи сообщений не меньше допустимого значения и, с целью перехода на данный канал, формирует служебное сообщение с новыми оптимальной рабочей частотой, максимально возможной скоростью передачи данных и идентификационным номером ОпРЦ, которое через контроллер передается в штатную каналообразующую аппаратуру, после чего через гибридную сеть связи сначала по ДКМ-радиоканалу «борт ЛА - наземный ОпРЦ» доставляется к ОпРЦ, ведущему радиосвязь, а затем через магистральную сеть, связывающую между собой все наземные ОпРЦ, доставляется к ОпРЦ, которому передается управление ДКМ-радиоканалом для связи с ЛА, тем самым обеспечивая двухпараметрическую адаптацию по частоте и пространству, при этом синхронизация работы аппаратно-программных комплексов ИМ всех ОпРЦ и бортового четырехканального приемника-анализатора ЛЧМ-сигналов достигается путем сверки и корректировки шкал времени их опорных генераторов с эталонной шкалой мирового времени через приемники сигналов глобальных навигационных спутниковых систем GPS/ГЛОНАСС.
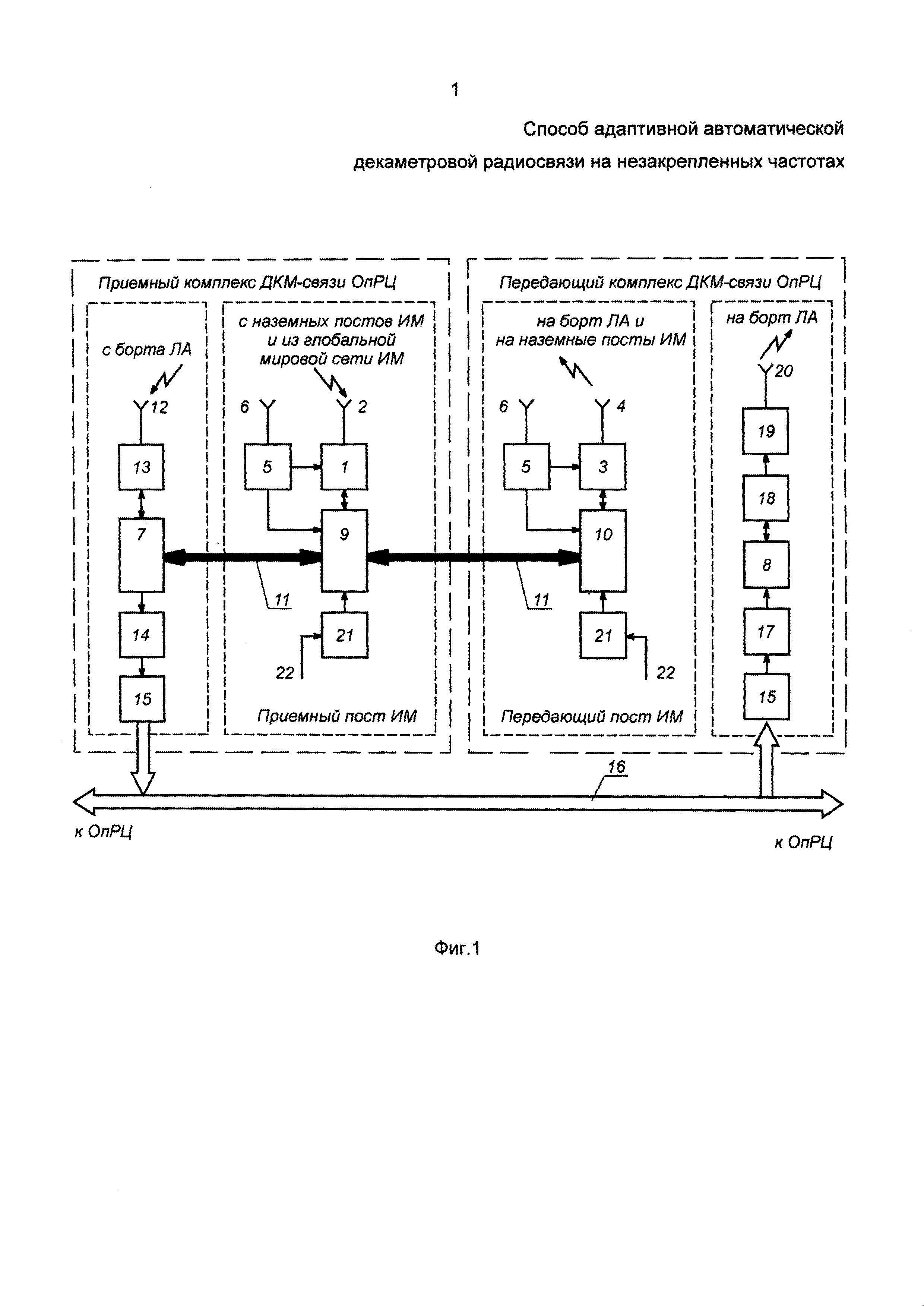
Область применения Изобретение относится к авиационной радиосвязи и может быть использовано для реализации информационного обмена между бортом летательного аппарата (ЛА) и источниками (получателями) информации через наземные узлы связи - опорные радиоцентры (ОпРЦ). Современный технический уровень Осуществление высоконадежной и бесперебойной ДКМ-радиосвязи в авиационных каналах «борт ЛА - наземный ОпРЦ» встречает ряд серьезных трудностей. ЛА, движущиеся со скоростями от 800 до 2000 км/ч, за короткое время проходят много временных поясов с различной геофизической и помеховой обстановками и, соответственно, с различными условиями ионосферного распространения ДКМ-радиоволн. Это не позволяет составить волновое расписание на все время полета, а использование прогнозных моделей ионосферного канала не обеспечивает необходимого качества радиосвязи, особенно в высоких широтах, для которых модели ионосферы имеют невысокую точность. Поэтому для управления частотным ресурсом и другими параметрами радиолинии в условиях нестационарности канала необходимо постоянно в реальном времени осуществлять мониторинг текущей ионосферной обстановки и контроль загруженности канала помехами. Кроме того, установление и поддержание ДКМ-радиосвязи в авиационных каналах должно происходить автоматически, без участия летчика (штурмана). В настоящее время организация ДКМ-радиосвязи в РФ имеет следующие особенности: - отсутствуют единые стандарты по организации ДКМ-радиосвязи и стандарты на характеристики модемов и сигнально-кодовых конструкций, что приводит к несовместимости каналообразующих средств, используемых разными ведомствами в едином сетецентрическом пространстве; - наземным опорным радиоцентрам, как правило, назначают не более 4-х частот (дневная, ночная и две запасных), а протяженность зоны ответственности ОпРЦ может достигать от 100 до 3000 км. И, несмотря на то что у ведомства имеется достаточно большой массив разрешенных частот, в одну зону попадают как ближние связи, для которых частоты выше 8-10 МГц практически бесполезны, так и дальние связи, для которых используются частоты выше 10 МГц. В результате получается ситуация, при которой на каждый сеанс связи из разрешенных частот доступны единицы, в лучшем случае десятки, из которых больше половины не подходят по условиям распространения, а из оставшихся подходящих большая часть забита помехами; - использующийся в зоне ответственности радиально-узловой принцип организации связи требует передачи информационных сообщений от ЛА к центральному узлу связи (главному штабу), что снижает скорость и надежность передачи сообщений. Все это, в совокупности, во флуктуирующем с переменными параметрами радиоканале «борт ЛА - наземный ОпРЦ» на фоне нестационарных помех обеспечивает надежность передачи сообщений, не превышающую 0,60-0,70. Описание аналогов Известны способ и устройство [1], предназначенные для повышения надежности дальней коротковолновой (KB) радиосвязи путем управления распространением коротких волн в ионосферном волноводе. Для этого с помощью мощного передатчика вертикального КВ-излучения (нагревного стенда) внутри ионосферного волновода создают искусственные мелкомасштабные магнитно-ориентированные неоднородности, на которых с помощью рассеяния коротких волн обеспечивается вывод на поверхность земли сигнала волноводной моды. Известен способ авиационной радиосвязи за пределами прямой видимости [2], для чего на границе прямой видимости с ЛА сбрасывают ретранслятор, прикрепленный к оболочке воздушного шара, автоматически наполняемого на борту ЛА газом. После окончания сеанса связи оболочку шара разрушают. Для увеличения скорости передачи данных и надежности ДКМ-радиосвязи предложен способ организации адаптивной радиосвязи на дальних радиотрассах [3], основанный на использовании эффекта антиподного распространения на трассе «передатчик - вынесенный активный ретранслятор» с адаптацией по направлениям приема и передачи. Известен способ организации авиационной ДКМ-радиосвязи [4], реализующий технологию автоматического составления ДКМ-радиоканала ALE (Automatic Link Establishment). Этот способ предполагает наличие унифицированных правил, процедур и протоколов организации канала связи и узаконен стандартом США MIL-STD-188-141B (режим 2G-ALE). Качество рабочего канала оценивается активным методом с помощью команд (сигналов) селективного вызова путем сканирующего приема по заранее заданному списку частот вызова (обычно 6-10 частот). После обмена сообщениями «вызов», «ответ», «квитанция» на частоте вызова контроллер составления канала связи определяет качество связи и при ее допустимых параметрах обеспечивает передачу данных и планирует режим связи. Если качество канала связи оказалось неудовлетворительным для ожидаемого сеанса связи, процедура сканирования повторяется. Для удовлетворительных каналов время вхождения в связь составляет от 60 до 100 мс, для плохих - от 60 до 300 с. Назначение частот наземным узлам связи производится с использованием данных долгосрочного прогноза, реализуемого на основе математического моделирования поведения ионосферы с учетом текущих параметров солнечной активности (числа Вольфа и др.), и/или данных краткосрочного прогноза распространения ДКМ-радиоволн, получаемых от глобальной системы ионосферного мониторинга (ИМ) стран НАТО. Услугами глобальной системы ИМ пользуется Центр менеджмента управления частотным ресурсом (США), который разрабатывает системную таблицу частот для каждого наземного узла связи (НУС) и активизирует из этой таблицы частоты связи с интервалом 1-2 ч. Системная таблица вводится в бортовой план связи ЛА перед полетом и содержит списки идентификаторов НУС с их координатами и перечнями назначенных им на сутки частот. К недостаткам указанного способа можно отнести следующее. Не обеспечивается необходимая надежность передачи сообщений 0,95-0,99 при выборе оптимальной рабочей частоты (ОРЧ) из назначенных НУС частот на время полета при геомагнитных возмущениях, когда происходит быстрое изменение параметров ионосферы, и при воздействии преднамеренных помех. Вследствие отсутствия на борту полного анализа ионосферного канала (дальностно-частотной и амплитудно-частотной характеристик) во всем ДКМ-диапазоне частот, выбранная ОРЧ из назначенных НУС за короткое время может вообще уйти из диапазона прохождения, перейти в диапазон многолучевости или быть забита помехой. Канал связи в таком случае деградирует, надежность передачи сообщений падает до 0,60-0,70, и приходится искать наилучшую частоту путем перебора частот, обнаруживая каналы связи и тем самым облегчая подавление их работы и/или перехват информации, а также создавая помехи другим системам связи. Кроме того, происходит неэкономное расходование частотного ресурса из-за занятия частот, нужных в данный момент другим потребителям, что отрицательно сказывается на организации связи при большом числе абонентов. Задача изобретения Основной задачей, на решение которой направлено предлагаемое изобретение, является способ авиационной адаптивной автоматической ДКМ-радиосвязи в радиоканалах «борт ЛА - наземный ОпРЦ» на незакрепленных частотах (без частотного планирования), обеспечивающий надежность передачи сообщений 0,95-0,99, крипто- и помехозащищенности каналов связи и экономию частотного ресурса за счет применения технологии ионосферного мониторинга и одновременной адаптации по частоте и пространству. Указанный технический результат достигается тем, что в способе авиационной адаптивной автоматической декаметровой радиосвязи на незакрепленных частотах в каналах «борт летательного аппарата - наземный опорный радиоцентр», основанном на использовании технологии ионосферного мониторинга (ИМ) с применением линейно-частотно-модулированных (ЛЧМ) сигналов, каждый наземный ОпРЦ с помощью оснащенного широкополосной передающей антенной передатчика зондирующего ЛЧМ-сигнала из состава аппаратно-программного комплекса (АПК) ИМ по заданному частотно-временному расписанию осуществляет излучение ЛЧМ-сигнала, который, отражаясь от ионосферы, через бортовую активную широкополосную всенаправленную приемную антенну ДКМ-диапазона ЛА поступает в бортовой четырехканальный приемник-анализатор ЛЧМ-сигналов от четырех пространственно-разнесенных наземных ОпРЦ, включая тот, с которым поддерживается связь, после чего в спецвычислителе из состава бортового четырехканального приемника-анализатора ЛЧМ-сигналов осуществляется одновременный анализ принятых ЛЧМ-сигналов, определение в режиме реального времени значения надежности передачи сообщений для каждого ОпРЦ, и, если значение надежности передачи сообщений при заданной вероятности ошибки на бит в работающем канале «борт ЛА - наземный ОпРЦ» не меньше допустимого, ДКМ-радиосвязь поддерживается на текущем канале, а при падении надежности передачи сообщений в работающем канале «борт ЛА - наземный ОпРЦ» ниже допустимого значения спецвычислитель определяет новый канал «борт ЛА - наземный ОпРЦ» с наибольшим значением надежности передачи сообщений не меньше допустимого значения и, с целью перехода на данный канал, формирует служебное сообщение с новыми оптимальной рабочей частотой, максимально возможной скоростью передачи данных и идентификационным номером ОпРЦ, которое через контроллер передается в штатную каналообразующую аппаратуру, после чего через гибридную сеть связи сначала по ДКМ-радиоканалу «борт ЛА - наземный ОпРЦ» доставляется к ОпРЦ, ведущему радиосвязь, а затем через магистральную сеть, связывающую между собой все наземные ОпРЦ, доставляется к ОпРЦ, которому передается управление ДКМ-радиоканалом для связи с ЛА, тем самым обеспечивая двухпараметрическую адаптацию по частоте и пространству, при этом синхронизация работы аппаратно-программных комплексов ИМ всех ОпРЦ и бортового четырехканального приемника-анализатора ЛЧМ-сигналов достигается путем сверки и корректировки шкал времени их опорных генераторов с эталонной шкалой мирового времени через приемники сигналов глобальных навигационных спутниковых систем GPS/ГЛОНАСС. Описание реализации изобретения Реализация заявленного способа авиационной адаптивной автоматической ДКМ-радиосвязи осуществляется применением технологии ИМ к наземной и воздушной компонентам. Для этого в состав наземного ОпРЦ вводится аппаратно-программный комплекс ионосферного мониторинга, состоящий из двух конструктивно и функционально независимых частей (постов ИМ) - приемного и передающего. Типовая структура наземного ОпРЦ предполагает разнесение передающего и приемного комплексов, при этом расстояние между ними может составлять от 5 до 40 км. В результате как приемный, так и передающий посты ИМ из состава ОпРЦ имеют собственные антенно-фидерные системы и автоматизированные рабочие места (АРМ), с помощью которых осуществляется обработка радиопрогностической информации, формирование и прием/передача служебных пакетов в локальную информационную сеть, а также общее управление работой данного поста ИМ. В качестве зондирующего сигнала во всем ДКМ-диапазоне (от 2 до 30 МГц) передающим постом ИМ используется ЛЧМ-сигнал. Структурная схема комплекса ДКМ-радиосвязи наземного ОпРЦ представлена на фиг. 1, где введены следующие обозначения: 1 - приемник зондирующего ЛЧМ-сигнала; 2 - широкополосная антенна для приема зондирующего ЛЧМ-сигнала; 3 - передатчик зондирующего ЛЧМ-сигнала; 4 - широкополосная антенна для передачи зондирующего ЛЧМ-сигнала; 5 - приемник спутниковых сигналов GPS/ГЛОНАСС; 6 - антенна для приема спутниковых сигналов GPS/ГЛОНАСС; 7 - АРМ приемного комплекса ДКМ-радиосвязи; 8 - АРМ передающего комплекса ДКМ-радиосвязи; 9 - АРМ приемного поста ИМ; 10 - АРМ передающего поста ИМ; 11 - локальная сеть передачи данных Ethernet; 12 - штатная широкополосная антенна для приема связного ДКМ-сигнала; 13 - штатный связной приемник ДКМ-диапазона; 14 - формирователь пакета ретранслируемых служебных сообщений; 15 - контроллер; 16 - наземная магистральная сеть передачи данных; 17 - анализатор ретранслируемых служебных сообщений; 18 - штатный связной передатчик ДКМ-диапазона; 19 - согласующее устройство; 20 - штатная всенаправленная передающая антенна ДКМ-диапазона; 21 - блок хранения исходных данных; 22 - USB-вход для загрузки исходных данных. Синхронизация работы передающих и приемных постов ИМ всех ОпРЦ достигается путем сверки и последующей корректировки шкал времени опорных генераторов приемников 1 зондирующего ЛЧМ-сигнала, оснащенных широкополосными приемными антеннами 2, и передатчиков 3 зондирующего ЛЧМ-сигнала, оснащенных широкополосными передающими антеннами 4, через приемники 5 спутниковых сигналов GPS/ГЛОНАСС, оснащенные антеннами 6, с эталонной шкалой мирового времени (единого времени UTC). Точность синхронизации - 10-50 мкс, нестабильность частоты сигнала опорного генератора ≤2×10-8 с, что дает потенциальную разрешающую способность приемника из состава АПК ИМ порядка 1 Гц. При невозможности проведения первоначальной привязки шкал времени к спутниковым сигналам предусмотрены: - режим автоматической синхронизации указанных шкал по сигналам станций единого времени, работающих в ДКМ-диапазоне; - режим вхождения в синхронизм приемников из состава приемных постов ИМ по специальному периодическому ЛЧМ-сигналу от находящихся в одной зоне ответственности передатчиков из состава передающих постов ИМ. Общее управление и контроль функционирования комплекса ДКМ-радиосвязи наземного ОпРЦ осуществляется через АРМ 7, 8 приемного и передающего комплексов ДКМ-радиосвязи и АРМ 9, 10 приемного и передающего постов ИМ, объединенных локальной сетью 11 передачи данных Ethernet, в которой для соединения абонентов используют физические, так называемые MAC-адреса оконечных устройств, что значительно увеличивает трафик. Принятые с борта ЛА штатной широкополосной антенной 12 ДКМ-приемника 13 служебные сообщения через АРМ 7 поступают в формирователь пакета ретранслируемых служебных сообщений 14 и через контроллер 15, обеспечивающий работу по протоколу Х.25, по наземной магистральной сети 16 передачи данных, охватывающей все ОпРЦ, доставляются адресату. Поступающее из магистральной сети 16 передачи данных через контроллер 15 служебное сообщение анализируется в анализаторе 17 ретранслируемых служебных сообщений и через АРМ 8, штатный связной передатчик ДКМ-диапазона 18, согласующее устройство 19 и штатную всенаправленную передающую антенну 20 отсылается на борт ЛА. Передающий пост ИМ осуществляет передачу ЛЧМ-сигналов на борт ЛА и наземные посты ИМ согласно хранящемуся в блоке 21 хранения исходных данных частотно-временному расписанию (ЧВР). ЧВР загружается (изменяется) через USB-вход 22 для загрузки исходных данных. Приемный пост ИМ принимает и анализирует ЛЧМ-сигналы от ЛЧМ-передатчиков в зоне своей ответственности, а также возможные сигналы от мировой сети ИМ. После проведения зондирования ионосферы и получения экспериментальных амплитудно-частотных характеристик и ионограмм проводится их обработка на основе структурно-физической модели радиосвязного ДКМ-канала аналогично [5] и вычисляются следующие характеристики ионосферного канала: наименьшие наблюдаемые частоты, максимальные наблюдаемые частоты, интервалы многолучевости, количество лучей на контролируемых частотах, интервалы временного рассеяния (для определения максимально возможной скорости передачи данных при заданном типе используемого в БКСС модема), полоса когерентности, коэффициент мутности ионосферы (отношение энергии зеркальной компоненты сигнала к энергии рассеянной компоненты сигнала), отношение «сигнал/помеха» на всех контролируемых частотах, выбор интервалов частот с наибольшей надежностью передачи сообщений для различных видов связных сигналов при заданной допустимой вероятности ошибки на бит. В качестве базового комплекса ИМ для оснащения ОпРЦ можно использовать разработанный АО «НПП «Полет» и прошедший испытания АПК ИМ «Мицар-К» [6]. Каждый приемный пост ИМ имеет полную, многокритериальную картину параметров ионосферного канала для анализа распространения ДКМ-радиоволн и обеспечения безопасности полетов ЛА как в своей, так и в соседних зонах ответственности общей протяженностью до 6000 км. Параметры сохраняются в банке данных и по запросу могут быть направлены в центр управления ДКМ-радиосвязью. Для реализации предлагаемого способа ДКМ-радиосвязи на территории РФ необходимо использовать сеть стационарных ОпРЦ, соединенных между собой магистральными линиями (физически это могут быть проводные, оптоволоконные или радиорелейные линии), функционирующими на базе сетевых протоколов Х.25 (или TCP/IP). При организации воздушной ДКМ-радиосвязи «борт ЛА - наземный ОпРЦ» эти магистральные линии фактически играют роль так называемого «обратного канала». При выборе места расположения ОпРЦ необходимо: - учитывать особенности географического положения РФ (ее протяженность с востока на запад); - учитывать влияние геофизических факторов (наличие высокоширотных областей, подверженных влиянию главного ионосферного провала (ГИП), сужающего частотный ДКМ-диапазон прохождения радиоволн на 30-60%, смещая его в низкочастотную область с высоким уровнем помех); - создавать условия для наилучшего распространения радиоволн (организовывать односкачковые трассы). Всю территорию РФ оптимально разделить на 6 зон ответственности с наличием в каждой зоне от 2 до 4 ОпРЦ, что составит в целом от 25 до 30 ОпРЦ. Расстояние между ОпРЦ должно составлять от 1500 до 3000 км, а крайние («северные» и «южные») ОпРЦ в зоне должны располагаться с учетом выноса из области ГИП точки отражения от ионосферы. Каждому ОпРЦ присваивается свой идентификационный номер, а передающему посту ИМ задается ЧВР со следующими параметрами: - время развертки tp - период времени с N-минутными интервалами, в который каждый пост начинает развертку относительно реального времени; - стартовое время tc - период времени, на который синхросигналы передатчика поста ИМ запаздывают от времени развертки; - время начала передачи tп=tp+tc - реальное время, когда передатчик начинает развертку в период времени, оговоренный в ЧВР; - частотный диапазон развертки (разность между конечной и начальной частотами); - скорость развертки В отличие от аналога [4], в котором зондирование проводится связным сигналом (на частотах из набора заранее заданных) путем последовательного перебора по критерию максимального значения отношения «сигнал/шум», в предложенном способе определяется только одна ОРЧ, а алгоритм ее выбора при смене параметров tp, tc, tп, Для введения технологии ИМ в воздушную компоненту заявленного способа авиационной адаптивной автоматической ДКМ-радиосвязи необходимо дооснастить БКСС ЛА четырехканальным приемником-анализатором ЛЧМ-сигналов. Надежность авиационного радиоканала при приеме сигналов от четырех пространственно-разнесенных некоррелированных наземных узлов связи (системная надежность) Pсист может быть отображена формулой: где Аппаратурная надежность для борта ЛА где Аппаратурная надежность для наземного ОпРЦ рассчитывается по такой же формуле: Для среднестатистических параметров расчет показывает, что при Таким образом, при одновременном приеме на борту ЛА сигналов от 4-х наземных станций даже при недостаточной надежности отдельных каналов системная надежность более чем удовлетворительна. Бортовой четырехканальный приемник-анализатор - это многофункциональное устройство, которое обеспечивает прием и обработку зондирующих ЛЧМ-сигналов от четырех пространственно-разнесенных ЛЧМ-передатчиков наземных ОпРЦ, вычисление основных параметров ионосферного радиоканала, анализ условий распространения ДКМ-радиоволн по всем 4-м радиоканалам «борт ЛА - наземный ОпРЦ», выделение оптимального канала, запись и хранение предполетного плана связи (координат и идентификаторов наземных ОпРЦ, ЧВР ЛЧМ-передатчиков ИМ из состава ОпРЦ и алгоритмов его изменения по псевдослучайному закону), формирование пакета данных служебной информации для передачи его через штатный БКСС ДКМ-диапазона и наземную магистральную сеть оптимальному на данный момент по условиям распространения опорному радиоцентру. Прием зондирующих ЛЧМ-сигналов осуществляется с помощью бортовой активной всенаправленной широкополосной антенны ДКМ-диапазона. При этом синхронизация работы бортового четырехканального приемника-анализатора ЛЧМ-сигналов и АПК ИМ всех ОпРЦ достигается путем сверки и корректировки шкал времени их опорных генераторов с эталонной шкалой мирового времени через приемники сигналов глобальных навигационных спутниковых систем GPS/ГЛОНАСС. Способ ДКМ-радиосвязи в каналах «борт ЛА - наземный ОпРЦ» поясняется фиг. 2, на которой показаны два положения ЛА: положение А - ЛА находится на аэродроме базирования, и положение Б - ЛА находится в режиме полета. Также на фиг.2 для примера показаны четыре территориально-разнесенных ОпРЦ, имеющих в своем составе АПК ИМ, излучающие и принимающие ЛЧМ-сигналы. ОпРЦ соединены между собой магистральными линиями, по которым могут обмениваться данными согласно протоколу Х.25. ОпРЦ могут принадлежать как одной зоне ответственности, так и разным зонам. В положении A осуществляется вхождение в связь ЛА, находящегося на аэродроме базирования, с ближайшим к аэродрому ОпРЦ, расположенным на расстояниях от 5 до 30 км (на фиг. 2 это ОпРЦ1). ОпРЦ1, связанный с диспетчерской службой аэродрома по специально выделенному служебному каналу (например, по сети Ethernet), инициирует сеансы ЛЧМ-зондирования по заранее заданному ЧВР между постами ИМ всех ОпРЦ. После обработки результатов зондирования приемный пост ИМ ОпРЦ1 определяет наилучшую для себя в данный момент частоту приема ДКМ-радиосвязных сигналов f1, а приемный пост ИМ ОпРЦ2 (на фиг. 2 этот ОпРЦ выбран в качестве примера) - наилучшую (оптимальную) в данный момент рабочую частоту приема ДКМ-радиосвязных сигналов от ОпРЦ1 f2. Выбор ОРЧ производится на основе анализа постами ИМ ОпРЦ1 и ОпРЦ2 условий распространения ДКМ-радиоволн и помеховой обстановки в точке приема по критериям наибольшей надежности передачи сообщений при заданной вероятности ошибки на бит. Также пост ИМ ОпРЦ1 вычисляет максимально возможную скорость передачи данных в канале «борт ЛА - ОпРЦ2» Далее ОпРЦ1 и ОпРЦ2 через магистральную сеть обмениваются между собой служебной информацией, закрепляющей за ними частоты приема ДКМ-радиосвязных сигналов f1 и f2 соответственно и частоты передачи f2 и f1 соответственно. Различие частот приема и передачи определяется помеховой обстановкой в точках приема. ОпРЦ1 формирует план связи ЛА с ОпРЦ2 и через диспетчерскую службу аэродрома передает в БКСС ЛА следующие данные: идентификационный номер ID2 и координаты ОпРЦ2, частоты приема f1 и передачи f2, максимально возможную скорость передачи данных Борт ЛА на земле осуществляет вхождение в связь с ОпРЦ2 и обменивается квитанциями. Процесс вхождения в ДКМ-радиосвязь завершена, ЛА к полету готов. Во время полета ЛА (положение Б на фиг.2) бортовой четырехканальный приемник-анализатор в соответствии с ЧВР принимает сигналы от 4-х наземных передающих постов ИМ из состава ОпРЦ1-ОпРЦ4 (на фиг. 2 они выбраны в качестве примера), вычисляет для каждого радиоканала «борт ЛА - ОпРЦ1…4» оптимальные рабочие частоты f1…f4, надежность передачи сообщений Р1…Р4 при заданной величине ошибки на бит и максимально возможную скорость передачи данных Алгоритм поддержания ДКМ-радиосвязи с бортом ЛА в процессе полета реализуется следующим образом. Если в работающем ДКМ-радиоканале «борт ЛА-ОпРЦ2» надежность передачи сообщений P2 в процессе полета не меньше допустимой Рдоп при заданной вероятности ошибки на бит, ДКМ-радиосвязь поддерживается на данном радиоканале, даже если на других радионаправлениях надежность передачи сообщений выше. Если надежность передачи сообщений становится меньше допустимой, спецвычислитель из состава бортового четырехканального приемника-анализатора обрабатывает информацию о прохождении ЛЧМ-сигналов от всех 4-х постов ИМ во всем ДКМ-диапазоне и по критерию наибольшей надежности передачи сообщений Рнаиб при заданной вероятности ошибки на бит определяет оптимальный ОпРЦ для ведения ДКМ-радиосвязи в канале «борт ЛА - ОпРЦ» (в качестве примера таковым выберем ОпРЦ3). Затем определенные в спецвычислителе идентификационный номер ID3, ОРЧ ДКМ-радиосвязи f3, надежность передачи сообщений Р3, максимально возможная скорость передачи данных Далее контроллер по локальной бортовой сети передает в приемник (ПРМ) штатного БКСС ДКМ-диапазона команду на его перестройку на обновленные данные для осуществления связи с выбранным ОпРЦ3, а в передатчик (ПРД) штатного БКСС - обновленные данные для передачи их в ОпРЦ2. Передача данных в ОпРЦ2 осуществляется по радиоканалу на частоте h в соответствии с протоколом АХ.25. ОпРЦ2 по магистральной линии по протоколу Х.25 передает в ОпРЦ3 полученный пакет обновленных данных для установления радиосвязи с бортом ЛА. Связной передатчик ДКМ-диапазона ОпРЦ3 по обновленным данным осуществляет связь с ПРМ БКСС, обмен служебной информацией и квитирование. При невозможности в ОпРЦ3 приема на частоте f3 (при наличии помех) он сообщает на борт ЛА оптимальную рабочую частоту своего приема. После чего бортовой четырехканальный приемник-анализатор входит в режим зондирования ЛЧМ-сигналов от постов ИМ в соответствии с заданным ЧВР. В случае, когда надежность передачи сообщений в процессе полета становится меньше допустимой при заданной вероятности ошибки на бит для всех ОпРЦ, находящихся в данной зоне ответственности (в рассматриваемом примере это ОпРЦ1…ОпРЦ4), ЛА по вышеизложенному алгоритму поддержания ДКМ-радиосвязи начинает работать с любым ОпРЦ, оснащенным постом ИМ (с учетом заранее известного ЧВР его работы), любой другой зоны ответственности. В настоящее время в АО «НПП «Полет» разработана структурная схема бортового четырехканального приемника-анализатора ЛЧМ-сигналов. В качестве бортовой активной всенаправленной приемной антенны ДКМ-диапазона может быть использована широкополосная активная приемная антенна с фильтрацией входного сигнала [7], для которой разработана принципиальная схема, изготовлен макет. Литература: 1. Патент RU №2413363. 2. Патент RU №2342786. 3. Патент RU №2479125. 4. Стандарт MIL-STD-188-141В. 5. Вертоградов Г.Г., Урядов В.П., Вертоградова Е.Г. Автоматизированный аппаратно-программный комплекс для определения оптимальных рабочих частот связной радиолинии по данным наклонного зондирования ионосферы // Труды XIII Международной научно-технической конференции «Радиолокация, навигация, связь»: Сб. ст. / Воронеж, 2007. - Т. 2. - С. 1203-1214. 6. Белоусов Е.Л., Бредихин Д.В., Валов В.А., Макаров А.В. Многофункциональный аппаратно-программный комплекс ДКМВ радиосвязи с системой прогнозирования ионосферных каналов // Доклад на научно-технической конференции «Новые информационное технологии в системах связи и управления. - Калуга: КНИИТМУ, 2008. 7. Заявка на изобретение №2015137107 от 31.08.2015 г.
.
по псевдослучайному закону обеспечивает высокую крипто- и помехозащищенность.
,
- усредненная надежность радиоканала ДКМ-связи для i-го радионаправления,
- аппаратурная надежность для борта ЛА,
- аппаратурная надежность для наземного ОпРЦ.
может быть выражена формулой:
,
- среднее время наработки на отказ в часах,
- среднее время восстановления аппаратуры после отказа в часах.
,
,
,
,
,
даже для
,
,
,
системная надежность Рсист=0,999.
, исходя из величины отношения «сигнал/шум» на частоте h и с учетом типа модемов на борту ЛА и в ОпРЦ2.
, ЧВР работы постов ИМ и алгоритм его смены для всех ОпРЦ, оснащенных постами ИМ, во всех зонах ответственности на территории РФ.
.
выбранного для ведения ДКМ-радиосвязи ОпРЦ3 передаются в контроллер из состава бортового четырехканального приемника-анализатора, который формирует пакет служебного сообщения (в соответствии с форматом протокола АХ.25) с новыми радиопрогностическими данными и добавляет еще один параметр - время начала вхождения в связь tн.