патент
№ RU 2314591
МПК H01J29/04

КАТОДНЫЙ УЗЕЛ ЭЛЕКТРОННО-ЛУЧЕВОЙ ПУШКИ, ПОДОГРЕВАТЕЛЬ КАТОДА И ДЕРЖАТЕЛЬ ПОДОГРЕВАТЕЛЯ

Авторы:
Скворцов Иван Владимирович
Номер заявки
2006113967/09
Дата подачи заявки
26.04.2006
Опубликовано
10.01.2008
Страна
RU
Как управлять
интеллектуальной собственностью
Чертежи 
4
Реферат

[23]

Изобретение относится к электронно-лучевой сварке, а именно к устройствам электронно-лучевых пушек, в частности к высокотемпературным катодам косвенного накала с большой площадью эмиттирующей поверхности. Катодный узел электронно-лучевой пушки содержит катододержатель в виде цилиндрического стакана с продольными прорезями, подогреватель катода и держатель подогревателя катода. В стенке цилиндрического стакана катододержателя выполнены в плоскостях, перпендикулярных оси стакана, рядами поперечные прорези, концы которых соединены с продольными прорезями, при этом соединения продольных прорезей с поперечными в крайних рядах выполнены П-образного вида, а в промежуточных рядах - Н-образного. В углублении под катод цилиндрического корпуса подогревателя катода выполнена полость с формой поверхности второго порядка. Корпус держателя подогревателя катода выполнен в виде прорезной пружины с окнами и перемычками между ними. Техническим результатом является обеспечение локализации зоны нагрева катода вблизи эмиттирующей поверхности, повышение стабильности параметров катодного узла и увеличение срока службы и надежности катода. 3 н. и 2 з.п. ф-лы, 5 ил.

Формула изобретения

1. Катодный узел электронно-лучевой пушки, содержащий катододержатель в виде цилиндрического стакана с продольными прорезями, подогреватель катода и держатель подогревателя катода, отличающийся тем, что в стенке цилиндрического стакана катододержателя выполнены в плоскостях, перпендикулярных оси стакана, рядами поперечные прорези в количестве n≥2 в каждом с шагом А=360°/ n, причем концы поперечных прорезей соединены с продольными, при этом соединения продольных прорезей с поперечными в крайних рядах П-образные, а в промежуточных рядах - Н-образные.

2. Подогреватель катода, содержащий цилиндрический корпус с углублением под катод, отличающийся тем, что в этом углублении выполнена полость с формой поверхности второго порядка.

3. Подогреватель катода по п.2, отличающийся тем, что глубина полости под катод составляет 0,5÷0,75 высоты подогревателя.

4. Держатель подогревателя катода, содержащий трубчатый корпус, отличающийся тем, что корпус выполнен в виде прорезной пружины с окнами и перемычками между ними.

5. Держатель по п.4, отличающийся тем, что в прорезной пружине отношение длины перемычки между окнами в осевом направлении к площади ее поперечного сечения соответствует 5,5÷6,3.

Описание

[1]

Изобретение относится к электронно-лучевой сварке, а именно к устройствам электронно-лучевых пушек, в частности к высокотемпературным катодам косвенного накала с большой площадью эмиттирующей поверхности.

[2]

Известен катодный узел электронно-лучевой сварки (а.с. №376825, кл. Н01J 1/20, 1973 г.). Подогреватель известного катодного узла выполнен в виде спирали из графита с буртиком и выточкой для размещения катода. Кроме того, незначительные отклонения конфигурации спирали от ее правильной формы, а также изменения межвитковых расстояний в процессе монтажа и эксплуатации приводят к неравномерному нагреву катода, значительным колебаниям его температуры в процессе эксплуатации и структурным разрушениям поверхности из-за высокого градиента температур, а также нестабильности его параметров. В спиральном подогревателе в местах контакта спирали с катодом могут возникать эрозия катода и спирали и образовываться изолирующие пленки. Спиральный подогреватель катода из графита обладает низкой механической прочностью и склонен к расслаиванию. Он разрушается в процессе эксплуатации от температуры нагрева из-за линейного удлинения его витков и знакопеременных нагрузок. Такое выполнение подогревателя катода не обеспечивает достаточную надежность и стабильность параметров катодного узла, не защищает поверхность катода, обращенную к подогревателю, от испарения материала катода при высокотемпературном воздействии, что снижает срок службы катода.

[3]

Наиболее близким техническим решением (прототипом) является катодный узел электронно-лучевой пушки, содержащий катододержатель в виде цилиндрического стакана с продольными прорезями, подогреватель катода и держатель подогревателя катода (а.с. №13151195, кл. В23К 15/00, Н01J 29/04, 1987 г.). Продольные порези расположены по высоте между узлом нагрева и нерабочим торцом катододержателя, отношение площадей поперечных сечений перемычек между окнами и самих окон - 0,28-0,33, а соотношение длины перемычки между окнами к площади ее поперечного сечения - 7,1-8,0.

[4]

При таком выполнении катодного узла формоустойчивость катода из-за высокотемпературных удлинений перемычек в катододержателе недостаточна. Это приводит к смещению катода по оси пушки, изменению ее кроссовера и, как следствие, отклонению положения фокального пятна. Этим самым нарушается технологический процесс.

[5]

Держатель подогревателя катода известного устройства выполнен в виде стержня, который, удлинняясь от высокотемпературного нагрева, разрушает подогреватель.

[6]

Задачей предлагаемого изобретения является увеличение срока службы и надежности катодного узла. Она решается достижением технического результата: локализацией зоны нагрева вблизи эмиттирующей поверхности, повышением стабильности параметров катодного узла.

[7]

Технический результат достигается тем, что в катодном узле электронно-лучевой пушки, содержащем катододержатель в виде цилиндрического стакана с продольными прорезями, подогреватель катода и держатель подогревателя катода, в стенке его цилиндрического стакана выполнены в плоскостях, перпендикулярных оси стакана, рядами поперечные прорези в количестве: n≥2 в каждом, с шагом -А=360°: n, причем концы поперечных прорезей соединены с продольными, при этом соединения продольных прорезей с поперечными в крайних рядах - П-образные, а в промежуточных рядах - Н-образные. В цилиндрическом стакане перемычки между прорезями в смежных рядах смещены на угол 180°: n, длины всех прорезей в рядах одинаковы, все прорези по ширине одинаковы, а их величина - h соответствует: h≥4αl(t° макс. - t° нач.), где α - коэффициент линейного расширения, l - расстояние между смежными рядами (длина перемычки), причем расстояние между П и Н-образными соединениями прорезей (ширина перемычки-b): b=(A-4h):3, отношение поперечного сечения перемычек ряда к длине пути прохождения тока между крайними рядами: 1:(35÷40), а соотношение длины перемычки - l между смежными рядами прорезей к ее поперечному сечению: l:S=6,5÷7,3. При таком выполнении катододержателя его высокотемпературное расширение не нарушает положение катода вдоль оси пушки, что способствует стабильности ее параметров. Формоустойчивость катода и его энергоэкономичность обеспечивают оптимальным вышеприведенным соотношением длины перемычки между смежными рядами прорезей к ее поперечному сечению. Вышеупомянутое соотношение между площадью поперечного сечения и длиной перемычек подтверждалось экспериментально. Выполнение окон в катододержателе компенсирует его тепловое удлинение, а также уменьшает теплопроводность данного токоподвода от подогревателя к элементам конструкции пушки, где крепится катодный узел. Техническим результатом оптимальности соотношений элементов конструкции являлись устойчивость к циклическим нагрузкам, формоустойчивость, энергоэкономичность и надежность.

[8]

Технический результат достигается еще и тем, что в углублении цилиндрического корпуса подогревателя катода выполнена полость в форме поверхности второго порядка. Глубина полости составляет 0,5÷0,75 высоты подогревателя. Выполнение подогревателя катода с вышеуказанной полостью обеспечивает концентрацию теплового излучения в центральной части катода и значительно устраняет непосредственный контакт подогревателя катода с самим катодом. Выполнение полости в подогревателе катода замедляет разрушение катода путем предотвращения испарения материала от высокотемпературного воздействия, поскольку происходит быстрое насыщение объема этой полости парами материала катода. Кроме того, катод нагревается не только тепловым излучением подогревателя и тепловым потоком за счет теплопроводности от подогревателя к катоду, но и прямым прохождением тока через эмиттер. Все вышеизложенное позволяет уменьшить рабочую температуру подогревателя, локализовать зону нагрева катода, снизить испарение материала катода и тем самым увеличить срок его службы.

[9]

Технический результат достигается также еще и тем, что трубчатый корпус держателя подогревателя катода выполнен в виде прорезной пружины с окнами и перемычками между ними. При этом соотношение длины перемычки между окнами в осевом направлении к площади ее поперечного сечения соответствует: 5,5÷6,3. Выполнение держателя подогревателя катода в виде прорезной пружины обусловлено тем, что такая пружина, в противоположность витой, не раскручивается под высокотемпературным воздействием удлинения витков. В этом случае катод не смещается, следовательно, не нарушаются параметры катодного узла. В итоге такое выполнение катодного узла способствует значительному увеличению срока службы и повышению надежности его работы.

[10]

Изобретение поясняется чертежами, где:

[11]

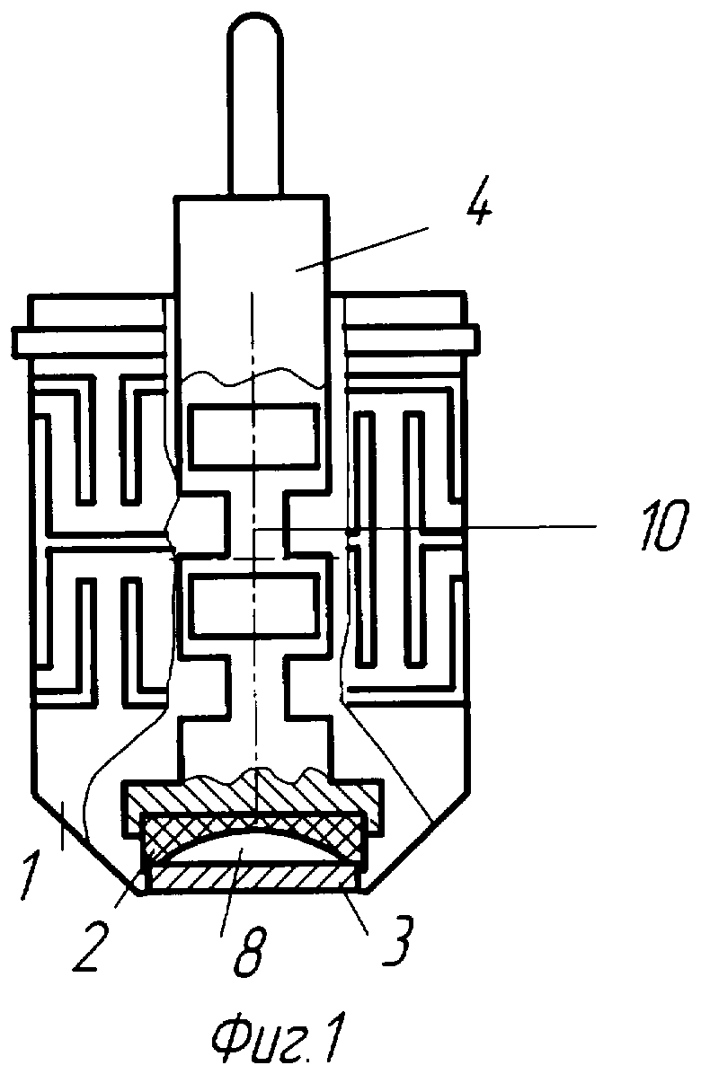
на фиг.1 - катодный узел электронно-лучевой пушки;

[12]

на фиг.2 - катододержатель;

[13]

на фиг.3 - развертка катододержателя;

[14]

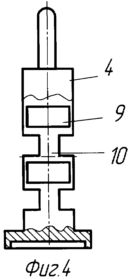
на фиг.4 - держатель подогревателя катода;

[15]

на фиг.5 - подогреватель катода.

[16]

Катодный узел электронно-лучевой пушки содержит катододержатель в виде цилиндрического стакана 1, подогреватель 2 катода 3 и держатель 4 подогревателя катода. В стенке цилиндрического стакана 1 выполнены продольные 5 и поперечные прорези 6. Последние выполнены в плоскостях, перпендикулярных оси стакана, рядами (не менее двух, в количестве: n≥2 в каждом, с шагом: А=360°: n), причем концы поперечных прорезей 6 соединены с продольными прорезями 5. Перемычки между прорезями в смежных рядах смещены на угол 180°: n, длины всех прорезей в рядах одинаковы, при этом соединения продольных прорезей 5 с поперечными - 6 в крайних рядах - П-образные, а в промежуточных рядах - Н-образные. Ширина всех прорезей 5 и 6 одинакова, а ее величина h соответствует: h≥4αl(t°макс. - t° нач.), где α - коэффициент линейного расширения, l - расстояние между смежными рядами (длина перемычки), t° макс. - максимальная температура накала катода, t° нач. - температура окружающей среды начала работы. Расстояние между П-образными и Н-образными соединениями прорезей (ширина перемычки-b), a b* - расстояние между продольными прорезями П и Н-образных соединений, для равномерности протекания тока 2b*=b, где b=(A-4h):3. Цилиндрический корпус подогревателя 2 катода выполнен с углублением 7 под катод. В этом углублении выполнена полость 8 с формой поверхности второго порядка.

[17]

Глубина полости 8 составляет 0,5÷0,75 высоты подогревателя. Держатель подогревателя катода выполнен в виде прорезной пружины с окнами 9 и перемычками 10 между ними. Соотношение длины перемычки между окнами в осевом направлении к площади ее поперечного сечения соответствует: 5,5÷6,3.

[18]

Катодный узел работает следующим образом. На катододержатель 1, являющийся одним из токоподводов, и держатель 4 подогревателя 2 катода (второй токоподвод) подается ток. Катод 3 разогревается тепловым потоком по плоскости контакта катода 3 с его подогревателем 2. Разогрев увеличивается за счет теплового излучения со сферической полости 8 и прямого прохождения тока через катод 3. Такое выполнение подогревателя катода позволяет снизить рабочую температуру подогревателя и снизить мощность, расходуемую на нагрев катода до температуры эмиссии. Высокотемпературное расширение катододержателя не нарушает положение катода вдоль оси пушки, что способствует стабильности ее параметров. Даже такое осевое смещение катода, как ±0,1 мм, привело бы к смещению фокального пятна пушки на ±10 мм. Формоустойчивость катода 3 и его энергоэкономичность обеспечивается оптимальным вышеприведенным соотношением длины перемычки - l между смежными рядами прорезей к ее поперечному сечению (S):l:S=6,5÷7,3. Вышеупомянутое соотношение между площадью поперечного сечения и длиной перемычек подтверждалось экспериментально. Техническим результатом оптимальности соотношений элементов конструкции являлись устойчивость к циклическим нагрузкам, формоустойчивость, энергоэкономичность и надежность. Температуру на поверхности катододержателя замеряли с помощью тепловизора «Тандем VS60», которая составила в сечениях по поперечным прорезям катододержателя следующие значения: в сечении Д - 1900°С, С - 1320°С, Б - 640°С, мощность на накале катода составила 130,5 Вт. В течение 200 ч работы катододержателя не наблюдалось смещения фокального пятна. Катодный узел сохранял свою формоустойчивость.

[19]

Экспериментально установлено, что отношение поперечного сечения перемычек ряда к длине пути прохождения тока между крайними рядами: 1:(35-40), а соотношение длины перемычки - l между смежными рядами прорезей к ее поперечному сечению: l:S=6,5÷7,3.

[20]

Решение задачи в части локализации зоны нагрева катода и повышения срока его службы позволяет снизить рабочую температуру подогревателя катода, устранить химическое взаимодействие материала катода с материалом подогревателя катода, предотвратить разрушение материала катода.

[21]

Вышеизложенное выполнение подогревателя катода обеспечивает концентрацию теплового излучения в центральной части катода и значительно устраняет непосредственный контакт подогревателя катода с самим катодом. Выполнение полости в подогревателе катода замедляет разрушение катода путем предотвращения испарения материала от высокотемпературного воздействия, поскольку происходит быстрое насыщение объема этой полости парами материала катода. Кроме того, катод нагревается не только тепловым излучением подогревателя и тепловым потоком за счет теплопроводности от подогревателя к катоду, но и прямым прохождением тока через эмиттер.

[22]

Все вышеизложенное позволяет уменьшить рабочую температуру подогревателя, локализовать зону нагрева катода, снизить испарение материала катода и тем самым увеличить срок его службы.

Как компенсировать расходы
на инновационную разработку
Похожие патенты