Изобретение относится к промышленности, связанной с выработкой пара низкого потенциала. Установка для компримирования пара низкого потенциала содержит паропровод низкого давления, соединенный со входом турбокомпрессора, кинематически соединенного с электродвигателем. Выход турбокомпрессора соединен паропроводом высокого давления со входом конденсационной турбины, кинематически соединенной с электрогенератором. Выход конденсационной турбины соединен с конденсатором. При этом турбокомпрессор выполнен трехсекционным и содержит цилиндр низкого давления (ЦНД), к которому последовательно подсоединены первый промежуточный охладитель, цилиндр среднего давления (ЦСД), второй промежуточный охладитель и цилиндр высокого давления (ЦВД). Вход турбокомпрессора является также входом ЦНД, выход турбокомпрессора является также выходом ЦВД. При этом электродвигатель, ЦНД, ЦСД, ЦВД, конденсационная турбина и электрогенератор установлены на общем валу с продольной осью О. Изобретение позволяет повысить эффективность использования энергии пара низкого потенциала, расширить функциональные возможности установок для компримирования пара низкого потенциала и область их применения. 2 ил., 1 табл.
Установка для компримирования пара низкого потенциала, содержащая паропровод низкого давления, соединенный со входом турбокомпрессора, кинематически соединенного с электродвигателем, при этом выход турбокомпрессора соединен с паропроводом высокого давления, отличающаяся тем, что она снабжена конденсационной турбиной, электрогенератором и конденсатором, при этом турбокомпрессор выполнен трехсекционным и содержит цилиндр низкого давления (ЦНД), к которому последовательно подсоединены первый промежуточный охладитель, цилиндр среднего давления (ЦСД), второй промежуточный охладитель и цилиндр высокого давления (ЦВД), при этом вход турбокомпрессора является также входом ЦНД, выход турбокомпрессора является также выходом ЦВД, паропровод высокого давления соединен со входом конденсационной турбины, кинематически соединенной с электрогенератором, выход конденсационной турбины соединен с конденсатором, при этом электродвигатель, ЦНД, ЦСД, ЦВД, конденсационная турбина и электрогенератор установлены на общем валу с продольной осью О.
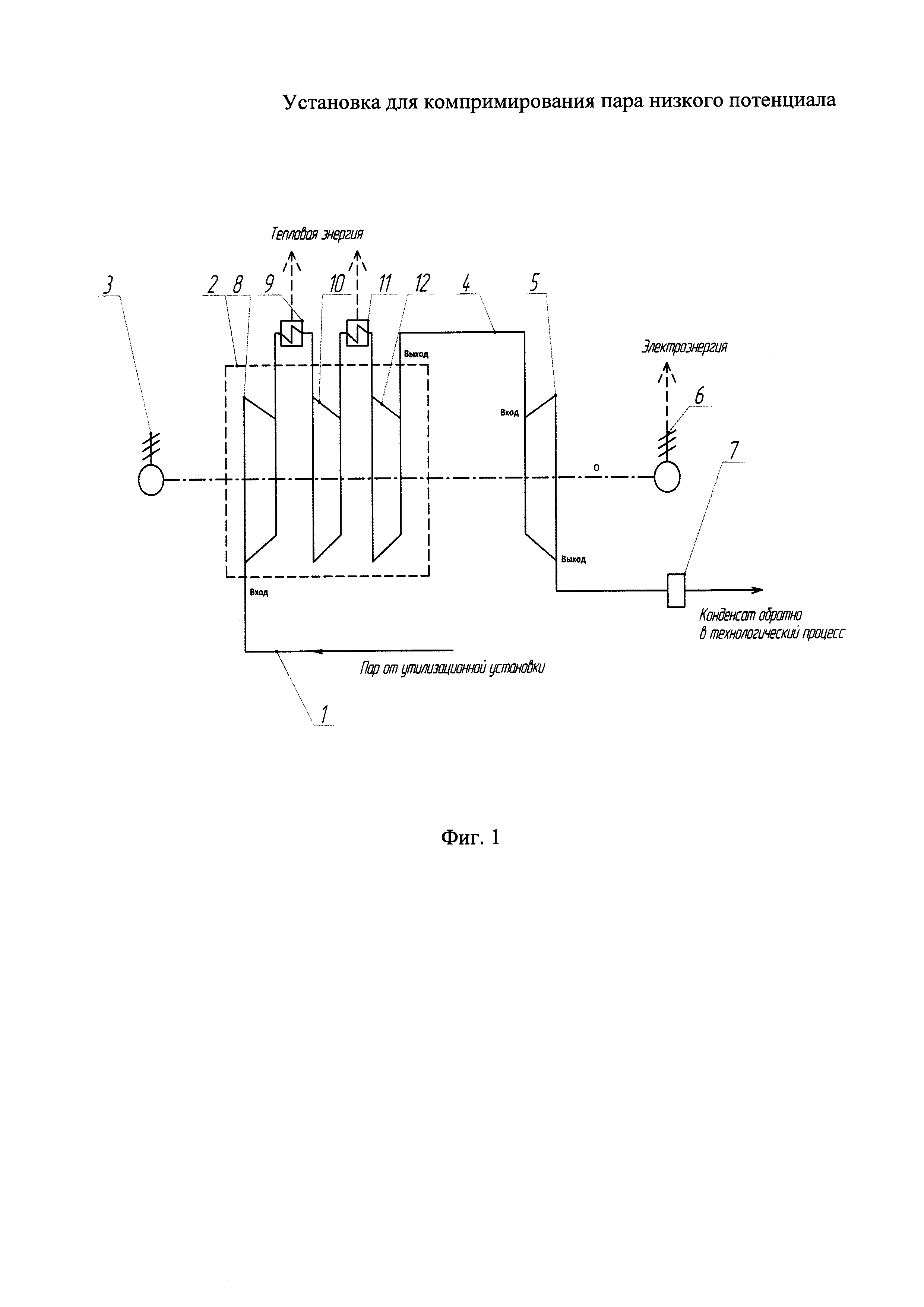
Изобретение относится к промышленности, связанной с выработкой пара низкого потенциала: черная и цветная металлургия (системы испарительного охлаждения печей), химическая промышленность (аммиачные производства), пищевая промышленность (производство алкоголя, сахара, молока, сушка древесины, гранулята и торфа, опреснение морской воды и т.д.). Известна газотурбинная установка (Соколов B.C. «Газотурбинные установки». – М.: Высшая школа, 1986, стр. 2), содержащая установленные последовательно на общем валу и связанные кинематически электродвигатель, компрессор, турбину и электрогенератор. При этом к выходу компрессора подсоединен вход камеры сгорания, выход которой подключен ко входу турбины. Недостатком настоящего технического решения является низкий электрический КПД и большие потери тепловой энергии, обусловленные высокой температурой газов на выходе из турбины. Наиболее близкой по технической сущности к заявляемому изобретению является установка для компримирования пара низкого потенциала (Сазанов Б.В. Методическое пособие «Теплоэнергетические системы промышленных предприятий». – М.: Энергоатомиздат, 1990, стр. 135), содержащая паропровод низкого давления, соединенный с турбокомпрессором, связанным кинематически с электродвигателем, и соединенным паропроводом высокого давления с потребителем компримированного пара. При этом электродвигатель и турбокомпрессор установлены последовательно на общем валу. Недостатками данного технического решения является узкая область применения и нерациональное использование энергии пара низкого потенциала вследствие того, что на большинстве предприятий-источников пара низкого потенциала выработка тепловой энергии не в приоритете. Технической задачей предлагаемого изобретения является использование энергии пара низкого потенциала для комбинированной выработки электричества и теплоты. Технический результат заключается в повышении эффективности использования энергии пара низкого потенциала, расширении функциональных возможностей установок для компримирования пара низкого потенциала и области их применения. Это достигается тем, что известная установка для компримирования пара низкого потенциала, содержащая паропровод низкого давления, соединенный со входом турбокомпрессора, кинематически соединенного с электродвигателем, при этом выход турбокомпрессора соединен с паропроводом высокого давления, снабжена конденсационной турбиной, электрогенератором и конденсатором, при этом турбокомпрессор выполнен трехсекционным и содержит цилиндр низкого давления (ЦНД), к которому последовательно подсоединены первый промежуточный охладитель, цилиндр среднего давления (ЦСД), второй промежуточный охладитель и цилиндр высокого давления (ЦВД), при этом вход турбокомпрессора является также входом ЦНД, выход турбокомпрессора является также выходом ЦВД, паропровод высокого давления соединен со входом конденсационной турбины, кинематически соединенной с электрогенератором, выход конденсационной турбины соединен с конденсатором, при этом электродвигатель, ЦНД, ЦСД, ЦВД, конденсационная турбина и электрогенератор установлены на общем валу с продольной осью О. Сущность изобретения поясняется чертежами, где на фиг. 1 изображена установка для компримирования пара низкого потенциала, на фиг. 2 представлена сравнительная характеристика полезной работы турбоблока, в схеме которого используется предлагаемая установка для компримирования пара низкого потенциала и турбоблока без нее. Установка для компримирования пара низкого потенциала содержит паропровод низкого давления 1, соединенный со входом турбокомпрессора 2, кинематически соединенного с электродвигателем 3. Выход турбокомпрессора 2 соединен паропроводом высокого давления 4 со входом конденсационной турбины 5, кинематически соединенной с электрогенератором 6. Выход конденсационной турбины 5 соединен с конденсатором 7. При этом турбокомпрессор 2 выполнен трехсекционным и содержит цилиндр низкого давления (ЦНД) 8, к которому последовательно подсоединены первый промежуточный охладитель 9, цилиндр среднего давления (ЦСД) 10, второй промежуточный охладитель 11 и цилиндр высокого давления (ЦВД) 12. Вход турбокомпрессора 2 является также входом ЦНД 8, выход турбокомпрессора 2 является также выходом ЦВД 12. При этом электродвигатель 3, ЦНД 8, ЦСД 10, ЦВД 12, конденсационная турбина 5 и электрогенератор 6 установлены на общем валу с продольной осью О. Установка для компримирования пара низкого потенциала работает следующим образом. Отработанный пар из утилизационной установки, проходя по паропроводу низкого давления 1, поступает в ЦНД 8 турбокомпрессора 2, который, в свою очередь, приводится в движение электродвигателем 3. Далее пар сжимается в ЦНД 8 турбокомпрессора 2 и подается в первый промежуточный охладитель 9, в котором пар охлаждают и отводят первую часть тепловой энергии. Из первого промежуточного охладителя 9 пар попадает в ЦСД 10 турбокомпрессора 2, где еще раз сжимается. После этого пар попадает во второй промежуточный охладитель 11, в котором пар охлаждают и отводят вторую часть тепловой энергии. Полученная тепловая энергия из первого 9 и второго 11 промежуточных охладителей может быть полезно использована, например, для обеспечения собственных нужд предприятия тепловой энергией или для передачи внешнему потребителю в случае, если он находится на таком расстоянии, на котором потери тепловой энергии несущественны. Из второго промежуточного охладителя 11 пар попадает в ЦВД 12 турбокомпрессора 2, где сжимается и направляется в паропровод высокого давления 4, пройдя по которому попадает в конденсационную турбину 5, где его тепловая энергия преобразуется сначала в механическую, а затем в электрическую в электрогенераторе 6. Отработанный пар после конденсационной турбины 5 попадает в конденсатор 7, где полностью конденсируется и в виде конденсата направляется для повторного использования на предприятии. Выработанная электрическая энергия передается потребителю, в качестве которого может выступать как само предприятие (электрическая энергия для собственных нужд), так и электросеть иных (жилых и производственных) комплексов. Таким образом, на объектах промышленности, связанной с выработкой пара низкого потенциала, как правило, нет необходимости в использовании всей энергии компримированного пара для производства тепловой энергии для собственных нужд подобных предприятий в связи с достаточным количеством теплоты, которое вырабатывается в ходе технологических процессов. При этом осуществлять транспортировку тепловой энергии от этих предприятий внешним потребителям также нецелесообразно из-за существенных потерь. При этом предлагаемое изобретение позволяет осуществить выработку электроэнергии, потребность в которой всегда присутствует и которая обладает рядом преимуществ по сравнению с тепловой энергией пара, а именно: возможность транспортировки на большие расстояния без существенных потерь, возможность преобразования в любой другой вид энергии с коэффициентом преобразования 1 (без каких-либо потерь). Таким образом, полученную с помощью предлагаемой установки электроэнергию можно использовать как для покрытия собственных нужд предприятия, так и для передачи ее внешнему потребителю на значительные расстояния без существенных потерь. Экспериментально установлено (на примере турбоблока Т-120-250 ТЭЦ, в схеме которого к источнику пара низкого потенциала подключена предлагаемая установка для компримирования пара низкого потенциала), что с ее использованием электрический КПД турбоблока увеличился в среднем на 8,86%. Эксперименты проводились при давлении входа 0,1 МПа для пяти значений давления нагнетания (таблица 1). На фиг. 2 график штрихпунктирной линией отражает полезную работу турбоблока, в схеме которого к источнику пара низкого потенциала подключена предлагаемая установка для компримирования пара низкого потенциала, график сплошной линией отражает полезную работу турбоблока без использования предлагаемой установки. Тем самым видно, что среднее значение разницы между полезной работой турбоблока с установкой и без нее соответствует указанным 8,86%. Использование предлагаемого изобретения позволяет повысить эффективность использования энергетических ресурсов, расширить функциональные возможности установок для компримирования пара низкого потенциала и область их применения за счет возможности внедрения на многочисленных предприятиях, где наблюдается избыток выработки тепловой энергии.