патент
№ RU 2695738
МПК D04H1/44

Система производства впитывающих элементов для гигиенических изделий с рециклингом целлюлозного пуха и способ рециклинга целлюлозного пуха в этой системе

Авторы:
Кильдюшев Вячеслав Сергеевич
Номер заявки
2018122692
Дата подачи заявки
21.06.2018
Опубликовано
25.07.2019
Страна
RU
Как управлять
интеллектуальной собственностью
Чертежи 
1
Реферат

Изобретение в целом относится к способу и устройству для формования волокнистого изделия. Способ рециклинга целлюлозного пуха при производстве впитывающих элементов для гигиенических изделий заключается в сборе вакуумным насосом целлюлозно-воздушной смеси, образующейся внутри формовочного барабана при формовании слоя пуховой подушки на сетчатой поверхности этого барабана, и направлении этой смеси через канал транспортировки пыли в сборные емкости при неработающей линии подачи дробленной массы листовой целлюлозы на поверхность формовочного барабана. В качестве сборных емкостей используют транспортируемые бочки на колесиках, открытые сверху, которые сообщают с каналом транспортировки пуха для их заполнения, а после заполнения указанные бочки перемещают к шнековому дозатору и осуществляют перекачку вакуумным насосом слежалый пух в резервуар указанного дозатора, оснащенного шнеком, где осуществляют перемешивание загружаемого пуха и импульсную подачу в него воздушных струй высокого давления для превращения пуха в пылевоздушную массу, которую вакуумным насосом направляют по воздуховоду в мельницу для смешивания с дробленной массой листовой целлюлозы. 2 н.п. ф-лы, 1 ил.

Формула изобретения

1. Система производства впитывающих элементов для гигиенических изделий с рециклингом целлюлозного пуха, содержащая линию подачи листовой целлюлозы в мельницу для фиберизации и направления с помощью вакуумного насоса целлюлозно-воздушной смеси на сетчатую поверхность формовочного барабана для образования слоя пуховой подушки, и линию рециклинга пуха, включающую в себя сборник пуха, прошедшего через сетчатую поверхность формовочного барабана, вакуумный насос для направления собранного пуха в канал, сообщенный с перекидным шибером с заслонкой, для направления пуха в мельницу при работающей линии подачи листовой целлюлозы или для направления пуха в канал транспортировки пыли в сборные емкости при неработающей линии подачи листовой целлюлозы, отличающаяся тем, что в качестве сборных емкостей использованы транспортируемые бочки на колесиках, открытые сверху для сообщения с каналом транспортировки пуха, а система дополнительно снабжена шнековым дозатором, представляющим собой резервуар с конусным дном для загрузки в него вакуумным способом пуха из упомянутых бочек и с расположенным во всю длину дна резервуара шнеком, при этом в резервуаре над шнеком размещен узел перемешивания подаваемого из бочек пуха, а в конусной части резервуара установлен узел импульсной подачи в резервуар воздуха под давлением для формирования в резервуаре пылевоздушной массы, а выход шнекового дозатора сообщен воздуховодом с вакуумным насосом для перемещения пылевоздушной массы в мельницу.

2. Способ рециклинга целлюлозного пуха при производстве впитывающих элементов для гигиенических изделий, заключающийся в сборе вакуумным насосом целлюлозно-воздушной смеси, образующейся внутри формовочного барабана при формовании слоя пуховой подушки на сетчатой поверхности этого барабана, и направлении этой смеси через канал транспортировки пыли в сборные емкости при неработающей линии подачи дробленной массы листовой целлюлозы на поверхность формовочного барабана, отличающийся тем, что в качестве сборных емкостей используют транспортируемые бочки на колесиках, открытые сверху, которые сообщают с каналом транспортировки пуха для их заполнения, а после заполнения указанные бочки перемещают к шнековому дозатору и осуществляют перекачку вакуумным насосом слежалый пух в резервуар указанного дозатора, оснащенного шнеком, осуществляют перемешивание загружаемого пуха и импульсную подачу в него воздушных струй высокого давления для превращения пуха в пылевоздушную массу, которую вакуумным насосом направляют по воздуховоду в мельницу для смешивания с дробленной массой листовой целлюлозы.

Описание

[1]

Изобретение в целом относится к способу и устройству для формования волокнистого изделия и, в частности, к способу и устройству для формования волокнистого изделия, которое может использоваться в качестве объемных наполнителей для подушек и одеял. Так же изобретение может быть использовано для производства впитывающей сердцевины одноразовых гигиенических изделий, таких как гигиенические прокладки, ежедневные прокладки, подгузники и т.п.В частности, изобретение относится к области производства волокнистого полотна аэродинамическим способом, а именно к формованию на формующей сетке полотна из аэровзвеси волокнистого материала, например целлюлозы.

[2]

Производство таких изделий, как, например, впитывающих пеленок, состоит из нескольких технологических циклов. Один из них это - фиберизация (распушение) целлюлозы. Фиберизация происходит путем ударного воздействия элементов дисковой мельницы на поверхность листовой целлюлозы. После фиберизации целлюлозно-воздушная смесь с помощью вакуумного насоса переносится на внешнюю, сетчатую поверхность формовочного барабана, где формируется определенный формат пуховой подушки.

[3]

Сетка на поверхности барабана является своеобразным фильтром-уловителем целлюлозного пуха. Т.е. пух за счет вакуума притягивается к сетке и удерживается на ее поверхности, а воздух, проходя сквозь сетку - отчищается от пуха. Размер ячейки сетки составляет 0,8×0,8 мм. Длина волокна распушенной целлюлозы максимум 3 мм. Волокно с длиной меньше 1 мм и волокно, перпендикулярно-ориентированное при встрече с поверхностью сетки (примерно от 3 до 5% от всего объема пуха считается нормальным) "протягивается» вакуумным насосом сквозь сетку. Этот факт учитывается производителями оборудования и в состав линий по производству изделий из распушенной целлюлозы входит система рециклинга целлюлозного пуха.

[4]

То есть в процессе работы все целлюлозное волокно, прошедшее сквозь сетку, вновь возвращается в технологический процесс. Рециклинговая установка - система непрерывного действия. Она представляет собой фильтр-барабан с «пылесосом», который непрерывно «снимает» с поверхности барабана отложения пуха и направляет их снова в мельницу. Образование слоя пуха на поверхности фильтра - процесс постоянный и его непрерывный сбор необходим.

[5]

При технологических остановках линии (с включенным вакуумным насосом) процесс сбора пыли в системе рециклинга продолжается. Но пыль перенаправляется в систему аспирации мешочного типа. Система в момент остановки управляет положением заслонки в перекидном шибере, тот в свою очередь выбирает канал транспортировки пыли в мешки. Пыль попросту ссыпается в мешки, а воздух очищается и выходит сквозь фильтр-рукава. При пуске оборудования система снова ставит заслонку в положение транспортировки пыли в мельницу, где она смешивается с только что распушенной целлюлозой и снова участвует в технологическом процессе.

[6]

Дозировка осуществляется соотношением скорости перемещения пылесоса по поверхности фильтра к количеству вновь поступающего пуха.

[7]

Технологических остановок (от нескольких секунд до 15 мин.) линии может быть достаточно много: переход на новый формат-настройка оборудования, смена материалов, настройка периферийного оборудования, технические проблемы. Эти все процессы сопровождаются частыми пуск/стопами оборудования. Полное время остановок за смену - пропорционально объему пыли в мешках.

[8]

Пыль из себя представляет чистую размолотую целлюлозу, выведенную из технологического процесса. Сбор, хранение и возврат ее в производство крайне затруднителен в силу ее физических свойств (слеживаемость, плохая текучесть, сложно добиться нужной дозировки при возврате и т.д.). Поэтому, производители изделий из распушенной целлюлозы утилизируют выведенное их технологического процесса сырье. Не брак, не отходы, а именно неиспользованное сырье.

[9]

Известны конструкции линий по производству изделий из распушенной целлюлозы, куда входит система рециклинга целлюлозного пуха (US 4674966, CN 101768897, US 2003116888, US 2004061264).

[10]

Описанное в US4674966 устройство содержит дробильную мельницу дискового типа (камеру фиберизации), формовочный барабан, рециркуляционный канал. После фиберизации, целлюлозно-воздушная смесь переносится на внешнюю, сетчатую поверхность формовочного барабана, где формируется определенный формат пуховой подушки. Избыток волокон удаляется с помощью вращающихся валков, после чего эти волокна поступают через воздуховод с перегородками в рециркуляционный канал. Воздух поступает через воздухозаборники. Воздухозаборники и перегородки расположены так, чтобы задать правильное направление движению волокон в создаваемом воздушном потоке для поступления в рециркуляционный канал.

[11]

Устройство по CN 101768897 относится к линии по производству гигиенических изделий с устройством для рециркуляции пульпы и способу рециркуляции, который может в достаточной степени перерабатывать отработанную пульпу в линию производства гигиенических изделий. Система рециркуляции включает корпус с формовочным барабаном, герметичную систему воздуховодов, вентилятор для извлечения из формы, транспортирующий вентилятор и пылесборный вентилятор.

[12]

В GB 1095904 описана система утилизации отходов-волокон для нескольких текстильных машин, включающая воздуховод, сборную емкость, множество вентиляторов, и фильтр расположенный под наклоном в верхней части емкости между впускным и выпускным отверстиями для воздуха. Кроме того, устройство включает систему управления, соединенную с вентилятором для удаления осаждаемых на фильтре волокон в нижнюю часть сборной емкости, вызвав обратный поток воздуха с помощью реверсирования.

[13]

Известна система производства впитывающих элементов для гигиенических изделий с рециклингом целлюлозного пуха, содержащая линию подачи листовой целлюлозы в мельницу для фиберизации и направления с помощью вакуумного насоса целлюлозно-воздушной смеси на сетчатую поверхность формовочного барабана для образования слоя пуховой подушки, и линию рециклинга пуха, включающую в себя размещенный внутри формовочного барабана сборник прошедшего через сетчатую поверхность формовочного барабана, вакуумный насос для направления собранного пуха в канал, сообщенный с перекидным шибером с заслонкой, для направления пуха в мельницу при работающей линии подачи листовой целлюлозы или для направления пуха в канал транспортировки пыли в сборные емкости при неработающей линии подачи листовой целлюлозы, которые потом утилизируют (US 5772813, A61F 13/00, опубл. 30.06.1998 г.).

[14]

Это решение принято в качестве прототипа для устройства.

[15]

Из этого же источника известен способ рециклинга целлюлозного пуха при производстве впитывающих элементов для гигиенических изделий, заключающийся в сборе вакуумным насосом целлюлозно-воздушной смеси, образующейся внутри формовочного барабана при формовании слоя пуховой подушки на сетчатой поверхности этого барабана, и направлении этой смеси через канал транспортировки пыли в сборные емкости при неработающей линии подачи дробленной массы листовой целлюлозы на поверхность формовочного барабана, которые потом утилизируют.

[16]

Указанный источник информации так же принят в качестве прототипа для способа.

[17]

Недостаток известного решения как в части исполнения устройства, так и в части способа заключается в том, что собранный пух не используется как сырье по причине того, что в момент сборки в мешках он уплотняется, комкуется и слеживается и становится, по сути, просто непригодным для применения. В результате имеют место потери и отходы, то есть не все исходное сырье используется для изготовления впитывающих элементов для гигиенических изделий. А вопрос утилизации таких отходов пока еще относится к категории недостаточно решенной. Утилизация слежалого целлюлозного пуха возможна методом колосникового сжигания и сжигания в кипящем слое или переработка с целью получения нового продукта с полезными свойствами. И то и другое возможно только на специализированном производстве. А такое производство не всегда территориально расположено вблизи производства впитывающих элементов для гигиенических изделий. Только в специализированном предприятии можно создать специальные условия по низким температурам, при которых происходит плавление отходов. Поэтому утилизация слежалого целлюлозного пуха эффективна сточки зрения экологии, но убыточна по экономическим показателям. При этом стоимость утилизации включается в себестоимость готового продукта, что оказывает влияние на цену покупки/продажи.

[18]

Настоящее изобретение направлено на достижение технического результата, заключающегося в создании полного рециклинга целлюлозного пуха для обеспечения безотходного цикла изготовления впитывающих элементов для гигиенических изделий.

[19]

Указанный технический результат достигается тем, что в системе производства впитывающих элементов для гигиенических изделий с рециклингом целлюлозного пуха, содержащей линию подачи листовой целлюлозы в мельницу для фиберизации и направления с помощью вакуумного насоса целлюлозно-воздушной смеси на сетчатую поверхность формовочного барабана для образования слоя пуховой подушки, и линию рециклинга пуха, включающую в себя сборник пуха, прошедшего через сетчатую поверхность формовочного барабана, вакуумный насос для направления собранного пуха в канал, сообщенный с перекидным шибером с заслонкой, для направления пуха в мельницу при работающей линии подачи листовой целлюлозы или для направления пуха в канал транспортировки пыли в сборные емкости при неработающей линии подачи листовой целлюлозы, в качестве сборных емкостей использованы транспортируемые бочки на колесиках, открытые сверху для сообщения с каналом транспортировки пуха, а система дополнительно снабжена шнековым дозатором, представляющим собой резервуар с конусным дном для загрузки в него вакуумным способом пуха из упомянутых бочек и с расположенным во всю длину дна резервуара шнеком, при этом в резервуаре над шнеком размещен узел перемешивания подаваемого из бочек пуха, а в конусной части резервуара установлен узел импульсной подачи в резервуар воздуха под давлением для формирования в резервуаре пылевоздушной массы, а выход шнекового дозатора сообщен воздуховодом с вакуумным насосом для перемещения пылевоздушной массы в мельницу.

[20]

Указанный технический результат так же достигается тем, что в способе рециклинга целлюлозного пуха при производстве впитывающих элементов для гигиенических изделий, заключающемся в сборе вакуумным насосом целлюлозно-воздушной смеси, образующейся внутри формовочного барабана при формовании слоя пуховой подушки на сетчатой поверхности этого барабана, и направлении этой смеси через канал транспортировки пыли в сборные емкости при неработающей линии подачи дробленной массы листовой целлюлозы на поверхность формовочного барабана, в качестве сборных емкостей используют транспортируемые бочки на колесиках, открытые сверху, которые сообщают с каналом транспортировки пуха для их заполнения, а после заполнения указанные бочки перемещают к шнековому дозатору и осуществляют перекачку вакуумным насосом слежалый пух в резервуар указанного дозатора, оснащенного шнеком, осуществляют перемешивание загружаемого пуха и импульсную подачу в него воздушных струй высокого давления для превращения пуха в пылевоздушную массу, которую вакуумным насосом направляют по воздуховоду в мельницу для смешивания с дробленной массой листовой целлюлозы.

[21]

Указанные признаки являются существенными и взаимосвязаны с образованием устойчивой совокупности существенных признаков, достаточной для получения требуемого технического результата.

[22]

Настоящее изобретение поясняется конкретным примером исполнения, который, однако, не является единственно возможным, но наглядно демонстрирует возможность достижения требуемого технического результата.

[23]

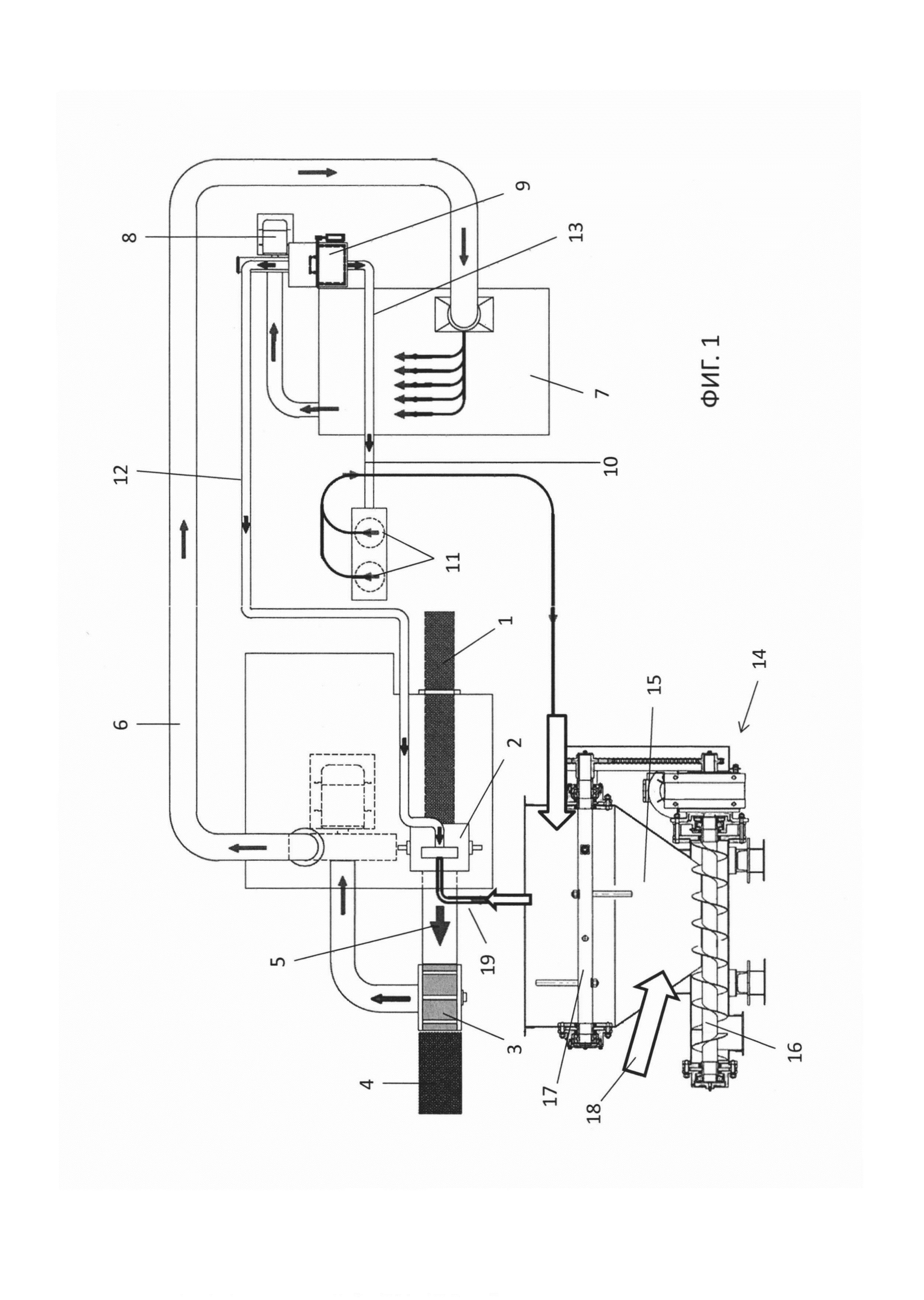
На фиг. 1 - блок-схема системы производства впитывающих элементов для гигиенических изделий с рециклингом целлюлозного пуха;

[24]

Согласно настоящего изобретения рассматривается конструкция системы производства впитывающих элементов для гигиенических изделий с рециклингом целлюлозного пуха. В это 1 системе формовочный барабан используется в качестве ложемента для напыления на его сетчатую поверхность коротких волокон различного природного или искусственного происхождения. Данный формовочный барабан является частью установки аэродинамическом формования полотна из коротких волокон, в которой, смешиваясь в направленном воздушном потоке, волокна поступают на поверхность формовочного барабана, где формируется беспорядочно ориентированная лента. Направленность воздушного потока обуславливает падение коротких волокон на сетчатую поверхность, а сцепные качества волокон обуславливают соединение (зацепление) волокон между собой. При слоистом напылении сцепляемость коротких волокон обеспечивает нераспадание полотна и возможность его применения, например, в качестве наполнителя подушек или одеял.

[25]

Осаждение коротких волокон на сетчатую поверхность формовочного барабана обусловлена так же тем, что часть коротких волокон в воздушном потоке, подаваемым на поверхность сетки или вдоль нее (в тангенциальном направлении), проходят через пустоты в сетке и осаждаются в силовом каркасе барабана на решетке или фильтре, а воздух уходит в атмосферу. В рамках настоящего изобретения решается задача по возвращению этой части волокон - пуха в поток осаждения на сетчатую поверхность формовочного барабана.

[26]

Согласно учету предприятия авторов, количество выведенного из технологического процесса неиспользованного сырья при ежедневной 12-ти часовой рабочей смене в месяц составляет порядка 1000 кг. Представленная на фиг. 1 блок-схема описывает процесс циркуляции сырья, способствующему 100%-му возврата пуха в технологический, процесс. Разработанный и запущенный в действие опытно-промышленный образец позволяет исключить утилизацию сырья и целиком задействовать его снова в технологическом процессе.

[27]

Система производства впитывающих элементов для гигиенических изделий с рециклингом целлюлозного пуха содержит линию 1 подачи листовой целлюлозы в мельницу 2 для фиберизации и направления с помощью вакуумного насоса целлюлозно-воздушной смеси на сетчатую поверхность формовочного барабана 3 для образования слоя пуховой подушки 4.

[28]

Формовочный барабан 3 используется в качестве ложемента для напыления на его сетчатую поверхность коротких волокон различного природного или искусственного происхождения. Данный формовочный барабан является частью установки аэродинамическом формования плоско-объемных изделий типа подушек из коротких волокон, и в которой, смешиваясь в направленном воздушном потоке 5, эти волокна поступают на поверхность формовочного барабана 3, где трафаретно формируются волокнистые подушки 4. Осаждение коротких волокон на сетки формовочного барабана обусловлена тем, что короткие волокна попадают в воздушный поток, продаваемый на поверхность сетки или вдоль нее (в тангенциальном направлении) и который проходит через пустоты в сетке и слой пуха на силовом каркасе барабана в атмосферу. Направленность воздушного потока обуславливает падение коротких волокон на сетчатую поверхность, а сцепные качества волокон обуславливают соединение (зацепление) волокон между собой. При слоистом напылении сцепляемость коротких волокон обеспечивает нераспадание полотна и возможность его применения, например, в качестве наполнителя подушек или одеял или для средств гигиены, для подгузников и т.д.

[29]

В определенный момент, когда достигнуты требуемые толщина и плотность подушки 4 эта подушка 4 снимается с поверхности формовочного барабана и, очищенная от пуха поверхность снова готова к приему пуха (волокон).

[30]

Часть волокон или пух, не закрепившийся на сетчатой поверхности формовочного барабана и прошедший внутрь этого барабана направляется в линию рециклинга пуха, включающую в себя канал 6 подачи пуховоздушной смеси в сборник 7 за счет работы вакуумного насоса 8 для направления собранного пуха в канал, сообщенный с перекидным шибером 9 с заслонкой, для направления пуха в мельницу 2 в режиме работающей линии подачи листовой целлюлозы или для направления пуха в канал 10 транспортировки пыли в сборные емкости 11 при неработающей линии подачи листовой целлюлозы. Сборник 7 представляет собой блок с фильтром, через который проходит пуховоздушная смесь и на котором пух оседает. При работающей линии подачи листовой целлюлозы в направлении к мельнице оседающий пух снимается в автоматическом режиме и перенаправляется по каналу 12 в мельницу, где смешивается с дробленными волокнами, подаваемыми на сетчатую поверхность формовочного барабана. В этот момент заслонка перекидного шибера находится в положении открытого доступа в этот канал 12. А при неработающей линии подачи листовой целлюлозы заслонка перекидного шибера находится в положении, перекрывающем доступ в канал 12 и открывающем доступ в канал 13 транспортировки пуха, который сообщен с воздуховодом/дами подачи пуха в сборные емкости.

[31]

В качестве сборных емкостей использованы транспортируемые бочки на колесах, открытые сверху для сообщения с каналом 13 транспортировки пуха, (на практике задействованы металлические 200 литровые бочки). Бочки установлены на колеса для удобства транспортировки осевшей пыли. После заполнения оператор перемещает бочку к шнековому дозатору 14.

[32]

Шнековый дозатор представляет собой резервуар с конусным дном 15 для загрузки в него вакуумным способом пуха из упомянутых бочек и с расположенным во всю длину дна резервуара шнеком 16.

[33]

При этом в резервуаре над шнеком размещен узел 17 перемешивания подаваемого из бочек пуха («ворошилка»), а в конусной части резервуара установлен узел 18 импульсной подачи в резервуар воздуха под давлением для формирования в резервуаре пылевоздушной массы. Выход шнекового дозатора сообщен с мельницей воздуховодом 19 с вакуумным насосом для перемещения пылевоздушной массы в эту мельницу.

[34]

В шнековом дозаторе шнек приводится в движение асинхронным электромотором с редуктором. Передаточное число редуктора подобрано относительно оборотов двигателя и его мощности, к производительности дозатора и весу материала. Производительность дозатора зависит от скоростных режимов работы основного оборудования (скорость линии по производству пеленок). За основу взят один из стандартных промышленных шнековых питателей для сыпучих материалов.

[35]

Для транспортировки пуха из бочек в бункер дозатора используется вакуумный метод. В качестве вакуумного насоса используется промышленный пылевой вентилятор ВЦП, расчет его мощности производился согласно характеристикам сырья. Оператор в ручную, гибким шлангом «пылесосит» пыль из бочки. Дозатор герметичный и запыление среды не происходит, а для сброса давления ВЦП на крышке дозатора установлен фильтр-рукав. В итоге: с помощью ВЦП и гибких воздуховодов (герметично закрепленных на диффузорах ВЦП и крышке дозатора) - оператор перемещает пух из бочки в дозатор.

[36]

Целлюлозный пух имеет способность слеживаться. Для этого в дозаторе предусмотрена «ворошилка». Она расположена параллельно шнеку в бункере дозатора и приводится в движение цепной передачей от редуктора. Кроме этого - в нижнюю, конусную часть бункера, в ряд, установлены четыре воздушные форсунки и подведен воздух высокого давления (5-6 Атм). Воздух в форсунки подается импульсно, управление происходит электроклапанами, а время срабатывания устанавливается реле времени и подбирается опытным путем. Объем подачи задается длительностью импульса и емкостью ресивера, так же установленного на корпусе дозатора. Подаваемый воздух под давлением проникает в бункер с пылью и создает (локально у шнека) насыщенную, не спрессованную пылевоздушную массу. Это способствует более точной (без комковой) дозировке материала, так как масса становится «текучей» и однородной.

[37]

Диффузор (выход) дозатора (после шнека) соединен с мельницей основного оборудования (линия подачи листовой целлюлозы) гибким воздуховодом, по которому вакуумным насосом линии перемещается (непрерывно подаваемый шнеком) пух. Его дозировка зависит от выбранной оператором пропорции на пульте управления и скорости линии. В момент остановки линии дозатор автоматически прекращает свою работу до следующего пуска. Пульт управления представляет из себя тахометр, на который подается сигнал с энкодера линии. В свою очередь тахометр создает токовую петлю - 5-20 мА для управления частотным преобразователем. Далее частотный преобразователь векторным способом управляет оборотами двигателя дозатора. Вмешаться в управление и настроить нужный объем подачи оператор может в процессе работы основного оборудования (линии).

[38]

Настоящее изобретение опробовано и практически доказало возможность реализации безотходного цикла по изготовлению впитывающих элементов для гигиенических изделий, подушек и т.д.

Как компенсировать расходы
на инновационную разработку
Похожие патенты