патент
№ RU 2673904
МПК E02B7/06
Номер заявки
2018102127
Дата подачи заявки
19.01.2018
Опубликовано
03.12.2018
Страна
RU
Как управлять
интеллектуальной собственностью
Чертежи 
1
Реферат

Изобретение относится к гидротехнике, а именно к гидроузлам с грунтовыми плотинами и водосбросами. Целью заявленного изобретения является увеличение пропускной способности фильтрующего водосброса грунтовой плотины с экраном путем увеличения площади фильтрации верхового откоса за экраном. Грунтовая плотина включает противофильтрационный экран, выполненный в верхней части в виде переливной стенки высотой, образующей за противофильтрационным экраном треугольный канал. Участок верхового откоса за переливной стенкой представляет собой водоприемник фильтрующего водосброса, который выполнен из водопроницаемого материала. Изобретение позволяет увеличить пропускную способность фильтрующего водосброса грунтовой плотины с экраном путем увеличения площади фильтрации верхового откоса за экраном. Применение предлагаемой конструкции грунтовой плотины с фильтрующим водосбросом позволяет: уменьшить объем тела грунтовой плотины на 5-10%, что уменьшит стоимость гидроузла; за счет отказа от берегового водосброса или его уменьшения снизить стоимость гидроузла на 15-30%; снизить затраты на компенсацию потерь при затоплении территорий верхнего бьефа за счет снижения отметки форсировки уровня воды во время паводков. 2 з.п. ф-лы, 2 ил.

Формула изобретения

1. Грунтовая плотина, включающая противофильтрационный экран и участок верхового откоса из водопроницаемого материала, отличающаяся тем, что противофильтрационный экран в верхней части выполнен в виде переливной стенки высотой, образующей за противофильтрационным экраном треугольный канал, а участок верхового откоса за переливной стенкой представляет собой водоприемник фильтрующего водосброса, который выполнен из водопроницаемого материала.

2. Грунтовая плотина по п.1, отличающаяся тем, что переливная стенка со стороны верхового откоса плотины имеет профиль водослива, а со стороны водохранилища - волноотбойника-волногасителя.

3. Грунтовая плотина по п.1, отличающаяся тем, что переливная стенка по длине имеет переменную отметку верха.

Описание

[1]

Изобретение относится к гидротехнике, а именно к гидроузлам с грунтовыми плотинами и водосбросами.

[2]

Наиболее близкой по существующим признакам и достигаемому результату является грунтовая плотина с фильтрующим водосбросом, включающая противофильтрационный экран с гребнем и участком верхового откоса из водопроницаемого материала (камня, гальки и т.п.) за экраном в виде канала (патент РФ на изобретение №2011735 «Грунтовая плотина с фильтрующим водосбросом»). Данная конструкция позволяет существенно увеличить пропускную способность фильтрующего водосброса и тем самым уменьшить стоимость строительства и эксплуатации плотины за счет отказа от строительства береговых водосбросов или уменьшения их размеров.

[3]

Недостатком этой конструкции является увеличение объема грунтовой плотины из-за необходимости устройства за экраном трапецеидального канала, что приводит к удорожанию плотины.

[4]

Целью заявленного изобретения является увеличение пропускной способности фильтрующего водосброса грунтовой плотины с экраном путем увеличения площади фильтрации верхового откоса за экраном.

[5]

Цель достигается тем, что грунтовая плотина имеет противофильтрационный экран, верхняя часть которого на участке водосброса выполнена в виде переливной стенки, образующей за экраном треугольный канал, благодаря которому увеличивается площадь входного участка фильтрующего водосброса ниже верха экрана. Участок верхового откоса за переливной стенкой (от подошвы переливной стенки до отметки пересечения максимального уровня воды в водохранилище с верховым откосом) представляет собой водоприемник фильтрующего водосброса, который выполнен из водопроницаемого материала (камня, гальки и т.п.), устойчивого к воздействию эксплуатационных нагрузок при переливе воды через стенку и к воздействии волн, а высота переливной стенки подбирается таким образом, чтобы обеспечить его необходимую пропускную способность. Переливная стенка со стороны верхового откоса плотины может иметь профиль водослива, а со стороны водохранилища -профиль волноотбойника-волногасителя. Переливная стенка по длине может иметь переменную отметку верха.

[6]

Наличие переливной стенки приводит к увеличению площади фильтрации, что позволяет увеличить пропускную способность фильтрующего водосброса и уменьшить размеры дорогих паводковых береговых водосбросов или отказаться от них, если весь паводковый расход проходит через фильтрующий водосброс. Устройство на экране стенки в форме водослива позволяет снизить уровень форсировки воды в водохранилище во время пропуска паводков и уменьшить тем самым затраты на ликвидацию последствий подтопления территорий. Стенка выполняет также роль волноотбойника и волногасителя, что приводит к уменьшению высоты наката волны по верховому откосу и снижению отметки гребня плотины.

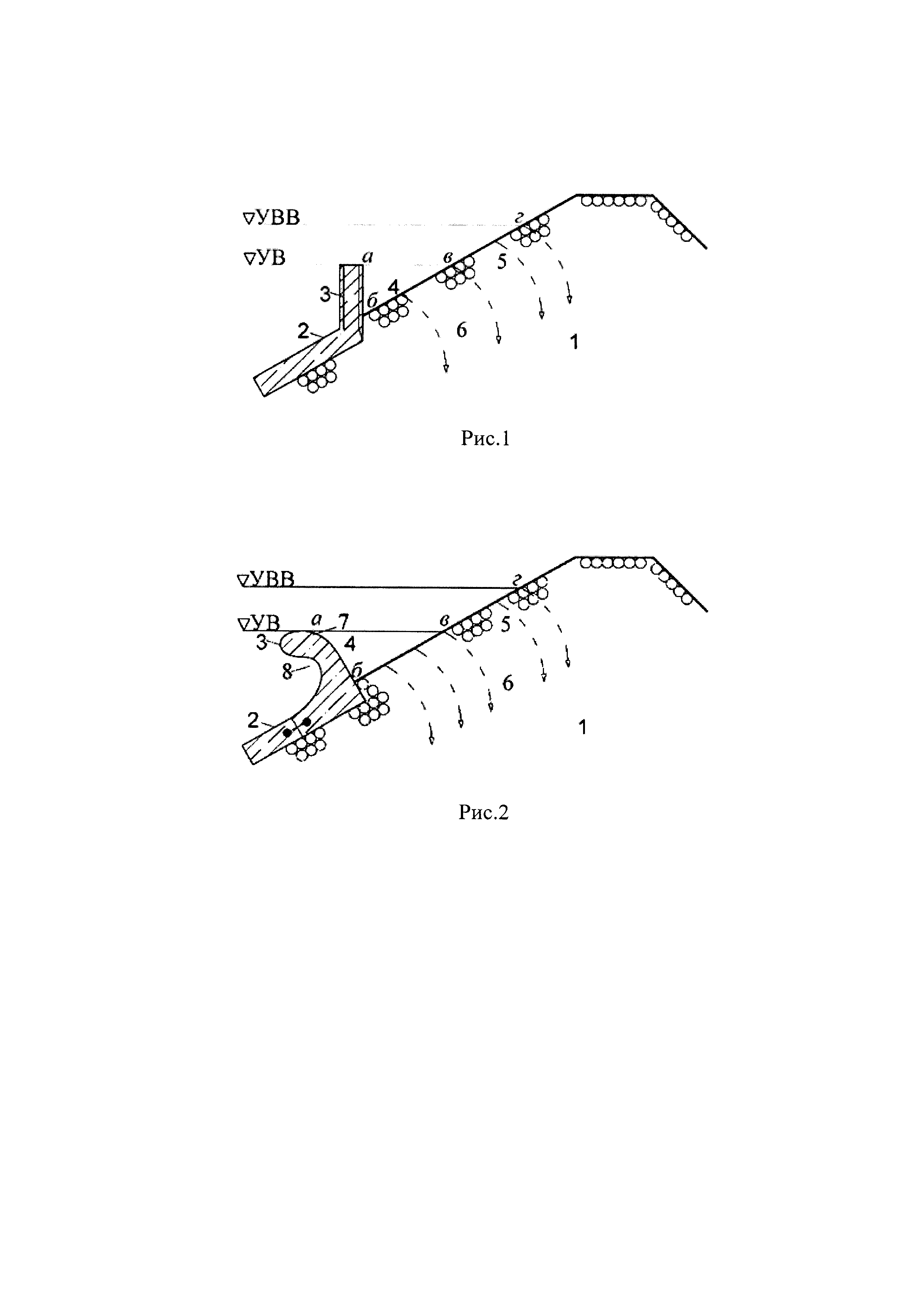
[7]

На рис. 1 изображен поперечный разрез верхней части грунтовой плотины с фильтрующим водосбросом.

[8]

Плотина 1 имеет экран 2 с переливной стенкой 3, которая образует канал 4 абв с фильтрующим откосом бв. Участок верхового откоса бег (от подошвы стенки до пересечения откоса с максимальным уровнем воды в водохранилище УВВ, на который рассчитана работа фильтрующего водосброса) является водоприемником фильтрующего водосброса и закреплен водопроницаемым материалом 5 (камнем, галькой и т.п.). Указана отметка уровня УВ в водохранилище, при превышении которой начинается перелив воды через стенку 3, и отметка УВВ максимального уровня воды, на который рассчитана работа фильтрующего водосброса. Стрелками 6 показано направление фильтрации воды.

[9]

На рис. 2 изображен поперечный разрез верхней части грунтовой плотины 1 с фильтрующим водосбросом с переливной стенкой 3, выполненной в виде водослива 7 со стороны плотины и волноотбойника 8 со стороны водохранилища.

[10]

Плотина с фильтрующим водосбросом работает следующим образом. При паводке уровень воды в водохранилище поднимается выше уровня УВ и вода начинает переливаться через переливную стенку 3 и поступать в канал 4 абв, из которого через крепление верхового откоса 5 на участке бв фильтрует в тело плотины 1 и далее выходит в русло реки. При дальнейшем подъеме уровня воды до отметки УВВ происходит затопление канала, и вода начинает фильтровать через участок бег в тело плотины и далее выходит в русло реки. При спаде паводка уровень воды в водохранилище снижается до отметки УВ, совпадающем с верхом стенки, а вода из канала 4 через участок бв уходит в тело плотины, а затем в русло реки. Переливную стенку можно выполнить в виде водослива 7, что позволит увеличить его пропускную способность и уменьшить подъем уровня воды выше УВ, а также выполнить стенку с переменной отметкой ее верха, что позволит по мере подъема уровня воды в водохранилище увеличивать пропускную способность фильтрующего водослива. Кроме того, стенка со стороны водохранилища выполнена в виде волноотбойника 8 и выполняет функцию гасителя волн, что уменьшает высоту наката волн по верховому откосу плотины и дает возможность снизить отметку гребня плотины и соответственно объем тела плотины.

[11]

В прототипе канал за экраном образуется за счет смещения плоскости верхового откоса - водоприемника фильтрующего водосброса на величину ав, что приводит к необходимости соответствующего увеличения профиля грунтовой плотины (и соответственно ее объема и стоимости).

[12]

Применение предлагаемой конструкции грунтовой плотины с фильтрующим водосбросом позволяет:

[13]

- уменьшить стоимость гидроузла за счет уменьшения объема тела грунтовой плотины на 5-10%,

[14]

- за счет отказа от берегового водосброса или его уменьшения снизить стоимость гидроузла на 15-30%,

[15]

- снизить затраты на компенсацию потерь при затоплении территорий верхнего бьефа за счет снижения отметки форсировки уровня воды во время паводков.

Как компенсировать расходы
на инновационную разработку
Похожие патенты