патент
№ RU 2686374
МПК F16L13/00

Способ соединения труб с внутренним покрытием

Авторы:
Князев Сергей Юрьевич
Номер заявки
2018121787
Дата подачи заявки
13.06.2018
Опубликовано
25.04.2019
Страна
RU
Как управлять
интеллектуальной собственностью
Чертежи 
1
Реферат

Изобретение относится к области трубопроводного транспорта и может быть использовано при строительстве и ремонте трубопроводов различного назначения, транспортирующих агрессивные среды. Способ включает двухступенчатое расширение внутреннего диаметра концов труб до нанесения покрытия, размещение в месте соединения с перекрытием концевых участков покрытия внутренней защитной втулки, выполненной в антикоррозионном исполнении и имеющей на наружной поверхности на концах уплотнительные элементы, выполненные с возможностью их размещения в зонах изменения внутреннего диаметра двухступенчатого расширения после соединения труб, и соединение труб сваркой встык. Защитную втулку изготавливают в виде цилиндрического патрубка с открытыми с ее торцов проточками и наружным диаметром, обеспечивающим образование после установки зазора с концами труб для тепловой изоляции защитной втулки, причем перед установкой защитной втулки в концы труб на внутренней стороне проточек устанавливают упоры, а на внешней стороне - уплотнительные элементы. Изобретение упрощает процесс изготовления соединения. 2 ил.

Формула изобретения

Способ соединения труб с внутренним покрытием, включающий двухступенчатое расширение внутреннего диаметра концов труб до нанесения покрытия, размещение в месте соединения с перекрытием концевых участков покрытия внутренней защитной втулки, выполненной в антикоррозионном исполнении и имеющей на наружной поверхности на концах уплотнительные элементы, выполненные с возможностью их размещения в зонах изменения внутреннего диаметра двухступенчатого расширения после соединения труб, и соединение труб сваркой встык, отличающийся тем, что защитную втулку изготавливают в виде цилиндрического патрубка с открытыми с ее торцов проточками и наружным диаметром, обеспечивающим образование после установки зазора с концами труб для тепловой изоляции защитной втулки, причем перед установкой защитной втулки в концы труб на внутренней стороне проточек устанавливают упоры, а на внешней стороне - уплотнительные элементы.

Описание

[1]

Изобретение относится к области трубопроводного транспорта и может быть использовано при строительстве и ремонте трубопроводов различного назначения, транспортирующих агрессивные среды.

[2]

Известен способ соединения труб с внутренним термопластичным покрытием (патент RU №2157479, МПК F16L 13/02, опубл. в бюл. №28 от 10.10.2000), включающий размещение внутри концов труб втулки с внутренним покрытием, имеющей кольцевые канавки, расположенные по краям втулки, с уплотнительными кольцами в них, и кольцевую проточку в средней части втулки, в которой размещен термопластичный материал, установку поверх термопластичного материала теплоизоляционного кольца и соединение труб сваркой.

[3]

Недостатками способа являются высокая материалоемкость и трудоемкость изготовления втулки. Трудоемкость связана с необходимостью выполнения многочисленных кольцевых канавок. Наличие в конструкции канавок приводит к необходимости увеличения толщины втулки (увеличение металлоемкости). К увеличению материалоемкости и трудоемкости приводит необходимость применения теплоизоляционного кольца и термопластичного материала.

[4]

Известен способ внутренней противокоррозионной защиты зоны сварного соединения труб, имеющих внутреннее противокоррозионное покрытие (согласно описанию патента RU №2080510, МПК F16L 13/02, опубл. в бюл. №15 от 27.05.1997), включающий размещение во внутреннюю поверхность каждого конца соединения внутренней защитной втулки с внутренним противокоррозионным покрытием. На концах наружной поверхности втулки выполнены канавки, в которые установлены уплотнительные элементы. При установке втулки в соединение уплотнительные элементы собирают перед собой нанесенный материал с адгезионными свойствами. При сварке труб в сварном шве оставляют технологические отверстия, через которые заполняют полость между трубами и втулкой адгезионным материалом с последующей герметизацией отверстий. В центре наружной поверхности втулки выполнена кольцевая проточка, в которой размещают теплоизолирующий материал для предотвращения выгорания внутреннего покрытия втулки при сварке.

[5]

Недостатками способа являются высокая материалоемкость и трудоемкость изготовления конструкции соединения. Трудоемкость связана с необходимостью выполнения на наружной поверхности защитной втулки многочисленных кольцевых канавок. Наличие в конструкции канавок приводит к необходимости увеличения толщины втулки (увеличение металлоемкости). К увеличению материалоемкости и трудоемкости приводит необходимость применения теплоизолирующего и адгезионного материалов.

[6]

Наиболее близким по технической сущности является способ соединения труб с внутренним покрытием (патент RU №2226637, МПК F16L 13/02, опубл. в бюл. №10 от 10.04.2004), включающий калибровку и расширение внутреннего диаметра концов труб, установку в зону соединения внутренней защитной втулки с противокоррозионным покрытием. Согласно описанию способа, в центре защитная втулка снабжается кольцевой проточкой, заполненной теплоизоляционным материалом, заключенным в стальной кожух. Втулка на концах имеет наружные уплотнительные элементы в виде выступов, которые размещают в зонах изменения внутреннего диаметра концов труб. Наружная поверхность уплотнительных элементов соответствует конфигурации внутренней поверхности труб в указанных зонах. Продольный посадочный размер втулки выбирают больше соответствующего размера расширенных концов труб. В кольцевых проточках контактной поверхности уплотнительных элементов размещают кольца из упруго-эластичного материала. Осевым смыканием труб обеспечивают герметизацию места соединения.

[7]

Недостатками данного способа являются высокая материалоемкость и трудоемкость изготовления конструкции соединения. Трудоемкость связана с необходимостью выполнения на наружной поверхности защитной втулки многочисленных кольцевых канавок и уплотнительных элементов в виде выступов. Наличие в конструкции канавок и выступов приводит к необходимости увеличения толщины втулки (увеличение металлоемкости). К увеличению материалоемкости и трудоемкости приводит необходимость применения теплоизоляционного материала и стального кожуха.

[8]

Технической задачей изобретения является снижение стоимости соединения за счет снижения материалоемкости и трудоемкости способа с сохранением качества антикоррозионной защиты.

[9]

Поставленная задача решается способом, включающим двухступенчатое расширение внутреннего диаметра концов труб до нанесения покрытия, размещение в месте соединения с перекрытием концевых участков покрытия внутренней защитной втулки, выполненной в антикоррозионном исполнении и имеющей на наружной поверхности на концах уплотнительные элементы, выполненные с возможностью их размещения в зонах изменения внутреннего диаметра двухступенчатого расширения после соединения труб, и соединение труб сваркой встык.

[10]

Новым является то, что защитную втулку изготавливают в виде цилиндрического патрубка с открытыми с ее торцов проточками и наружным диаметром, обеспечивающим образование после установки зазора с концами труб для тепловой изоляции защитной втулки, причем перед установкой защитной втулки в концы труб на внутренней стороне проточек устанавливают упоры, а на внешней стороне - уплотнительные элементы.

[11]

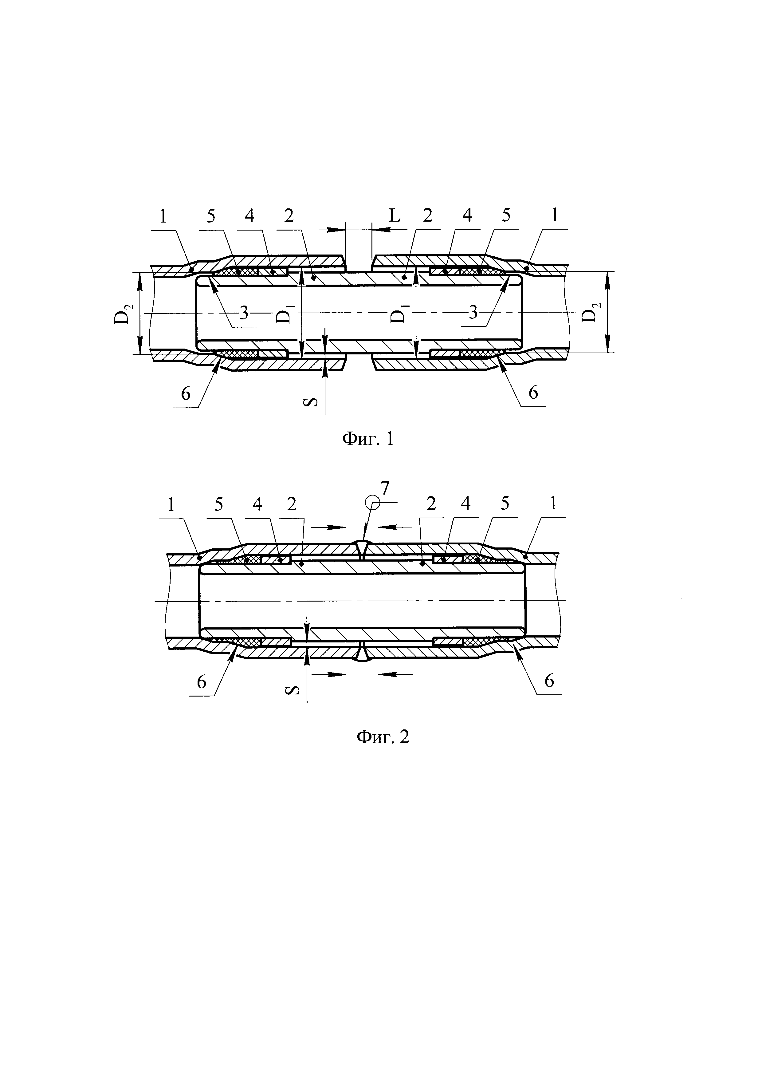
На фиг. 1 изображен продольный разрез соединения в процессе его монтажа.

[12]

На фиг. 2 изображен продольный разрез готового соединения.

[13]

Способ соединения труб с внутренним покрытием может осуществляться следующим образом.

[14]

Концевые участки труб 1 (фиг. 1) предварительно калибруют двойным калибром с образованием радиальных расширений диаметрами D1 и D2. Наносят покрытие на внутреннюю поверхность труб 1 (ввиду малой толщины покрытия на фиг. 1 не изображено). Изготавливают защитную втулку 2 в антикоррозионном исполнении, например, из коррозионностойкого материала или из стали с антикоррозионным покрытием. Наружный диаметр защитной втулки 2 выполняют таким образом, чтобы между ней и внутренним диаметром концевых участков труб 1 образовался зазор S. На наружной поверхности концов защитной втулки 2 выполняют проточки 3, открытые с торцов защитной втулки 2. Открытие проточек 3 с торцов защитной втулки 2 позволяет устанавливать в проточки 3 упоры 4. Затем в проточки 3 устанавливают уплотнительные элементы 5 из упруго-эластичного материала (например, из резины, полиуретана, каучука и т.д.) вплотную к упорам 4. Собранную защитную втулку 2 устанавливают во внутреннюю полость соединяемых труб 1 таким образом, чтобы уплотнительные элементы 5 соприкоснулись с зонами 6 изменения внутреннего диаметра двухступенчатого расширения D1 и D2. При этом между торцами соединяемых труб образуется зазор длиной L. Затем производят силовое смыкание концов труб 1 (фиг. 2) в осевом направлении при помощи механизма, работающего по принципу винтового или гидравлического домкрата (на фиг. 2 не изображен). При этом зазор длиной L (фиг. 1) выбирается, а уплотнительные элементы 5 (фиг. 2) подвергаются сжатию между упорами 4 и зонами 6 изменения внутреннего диаметра, герметизируя полость между защитной втулкой 2 и концами труб 1. Применение в способе упоров 4 позволяет значительно снизить толщину стенки защитной втулки 2 с сохранением способности эффективного сжатия уплотнительных элементов 5. После стяжки концы труб соединяются кольцевым сварным швом 7. Для предотвращения разрушения защитной втулки 2 (при изготовлении ее из полимерных материалов) или полимерного покрытия защитной втулки 2 под действием температуры сварки вместо теплоизоляционных материалов применяется воздух, заключенный в зазоре S. Коэффициент теплопроводности воздуха, находящегося в замкнутом пространстве, сопоставим с коэффициентом теплопроводности многих теплоизоляционных материалов: асбеста, минеральной ваты, пенополиуретана, пенополистирола и т.д. В общем случае величина зазора S зависит от коэффициента теплопроводности воздуха и от толщины соединяемых сваркой 7 труб 1 (чем больше толщина стенки труб 1, тем больше объем наплавляемого металла и, соответственно, сильнее температурное влияние на защитную втулку 2).

[15]

Пример конкретного выполнения.

[16]

Экспериментально установлено, что воздушный зазор между защитной втулкой 2 и трубами 1 толщиной не менее 3 мм, ограниченный уплотнительными элементами 5, сохраняет качество внутреннего покрытия металлической защитной втулки 2 при сварке труб 1 толщиной 9 мм.

[17]

Предлагаемый способ позволяет:

[18]

- снизить материалоемкость и трудоемкость способа за счет исключения изготовления и монтажа специальных теплоизоляционных деталей защитной втулки 2; ее защиту от температуры сварки обеспечивает воздух в гарантированном зазоре между защитной втулкой 2 и концами труб 1;

[19]

- снизить металлоемкость способа за счет снижения толщины защитной втулки 2, так как не требуется выполнение на ней множества глубоких кольцевых канавок; выполняются открытые с торцов защитных втулок 2 проточки 3 небольшой глубины, а прижим уплотнительных колец осуществляется упорами 4 малой металлоемкости;

[20]

- снизить трудоемкость способа за счет того, что при изготовлении защитных втулок 2 выполняется небольшой объем токарных работ, связанных с выполнением проточек 3 небольшой глубины и изготовлением упоров 4 малых размеров.

[21]

Предлагаемый способ снижает стоимость соединения за счет снижения материалоемкости и трудоемкости способа с сохранением качества антикоррозионной защиты.

Как компенсировать расходы
на инновационную разработку
Похожие патенты