патент
№ RU 2598666
МПК E21B33/00

ЛУБРИКАТОРНАЯ УСТАНОВКА С ИНТЕЛЛЕКТУАЛЬНЫМИ ИСПОЛНИТЕЛЬНЫМИ МЕХАНИЗМАМИ

Авторы:
Хатьков Виталий Юрьевич Плотников Вячеслав Леонидович Кочергинский Борис Михаилович
Все (7)
Номер заявки
2015126833/03
Дата подачи заявки
03.07.2015
Опубликовано
27.09.2016
Страна
RU
Как управлять
интеллектуальной собственностью
Чертежи 
1
Реферат

Изобретение относится к газовой промышленности, а именно к устройствам, обеспечивающим проведение геофизических исследований и работ в действующих газовых скважинах приборами и инструментами на геофизическом кабеле. Техническим результатом является снижение рисков возникновения аварийных ситуаций и обеспечение контроля утечек скважинного флюида в атмосферу, предотвращение осложнений, вызываемых образованием ледово-гидратных пробок, контроля герметичности лубрикатора после смены скважинного прибора и контроля за расходом жидкостей в процессе проведения работ. Предложена лубрикаторная установка, в состав которой дополнительно включаются испытательное устройство и инжектор ингибитора гидратообразования, в состав гидравлической системы - линия подачи ингибитора, а в состав информационно-управляющего комплекса - датчики давления ингибитора, положения плашек превенторов, давления в приемной камере лубрикатора, положения ловушки сигнализирующего устройства, температуры скважинного флюида, регистрации утечек газа и датчики уровня в баках с уплотнительной смазкой, рабочей жидкостью и ингибитором. 1 ил.

Формула изобретения

Лубрикаторная установка с интеллектуальными исполнительными механизмами, состоящая из скважинного лубрикатора, устанавливаемого на фонтанной арматуре скважины и содержащего гидравлически управляемые узлы: блок плашечных превенторов с перепускным краном, сигнализирующее устройство с ловушкой, соединяемое в нижней части с блоком превенторов, а в верхней с приемной камерой, уплотнительное устройство с расходными трубками, соединяемое в нижней части с приемной камерой, а в верхней с очистителем кабеля, очиститель кабеля, гидравлическую систему, располагаемую на удалении от скважинного лубрикатора, в состав которой входят линия подачи уплотнительной смазки и линия подачи рабочей жидкости, состоящие каждая из рукава высокого давления, бака, перекачивающего насоса, управляемых компьютером интеллектуальных исполнительных механизмов: пропорциональных регуляторов и управляющих клапанов, и информационно-управляющий комплекс, состоящий из удаленного компьютера со специализированным программным обеспечением, получающего и обрабатывающего информацию от контрольных датчиков давления, датчиков давления, устанавливаемых в линиях подачи уплотнительной смазки и рабочей жидкости и устройств передачи информации от контрольных датчиков к компьютеру и от компьютера к исполнительным механизмам гидравлической системы, отличающаяся тем, что в состав скважинного лубрикатора дополнительно включены гидравлически управляемые узлы: испытательное устройство, встраиваемое в верхнюю часть корпуса сигнализирующего устройства, и инжектор подачи ингибитора гидратообразования, встраиваемый в нижнюю часть уплотнительного устройства, в гидравлическую систему дополнительно включена линия подачи ингибитора гидратообразования, состоящая из рукава высокого давления, бака, насоса, пропорционального регулятора, управляющего клапана, а в информационно-управляющий комплекс дополнительно включены устанавливаемый в линии подачи ингибитора контрольный датчик регистрации давления, устанавливаемые на скважинном лубрикаторе контрольные датчики положения плашек превенторов, регистрации давления в приемной камере лубрикатора, положения ловушки сигнализирующего устройства, температуры скважинного флюида и регистрации утечек газа, а также устанавливаемые в баках гидравлической системы контрольные датчики уровня уплотнительной смазки, уровня рабочей жидкости и уровня ингибитора гидратообразования.

Описание

[1]

Изобретение относится к газовой промышленности, а именно к устройствам, обеспечивающим проведение геофизических исследований и работ в действующих газовых скважинах приборами и инструментами на геофизическом кабеле.

[2]

Такими устройствами являются лубрикаторные установки, предназначенные для обеспечения спуска и подъема скважинных приборов на кабеле или проволоке без разгерметизации устья скважины.

[3]

Известен лубрикатор для геофизических исследований и работ в газовых скважинах, содержащий присоединительный фланец, превентор, приемную камеру, станцию подачи уплотнительной смазки с гидравлической системой, инжектор для подачи реагента - ингибитора гидратообразования в виде перфорированной гильзы, заполненной пористым материалом, уплотнительное устройство, включающее калиброванные втулки, соединенные с каналами для подачи и отвода уплотнительной смазки, и хвостовик для удержания уплотнительной смазки. Недостатком описанного лубрикатора является то, что в его конструкции отсутствует контрольный датчик, предупреждающий исполнителей работ о возможности образования ледово-гидратных пробок, а также то, что управление подачей ингибитора осуществляется в ручном режиме без учета конкретной ситуации с гидратообразованием, что приводит к неоправданно большому расходу ингибитора, сокращает ресурс работы насосного агрегата, усложняет проведение работ, увеличивает их стоимость (см., например, Патент РФ на изобретение №2480573 С1, кл. Е21В, 2011 г.).

[4]

Известен геофизический лубрикатор с испытательным устройством, содержащий присоединительный фланец, превентор, приемную камеру, уплотнительное устройство и устройство сигнализирующее, включающее корпус с поворотной вилкой, верхней уплотнительной поверхностью и нижней уплотнительной поверхностью с кольцевой канавкой, в которой установлены два уплотнительных кольца, причем корпус сигнализирующего устройства снабжен узлом нагнетания опрессовочной жидкости, выполненным в виде нагнетательного штуцера и канала, сообщающего нагнетательный штуцер с кольцевой канавкой в зоне между двумя уплотнительными кольцами. Описанное устройство обеспечивает возможность контроля герметичности соединения сигнализирующего устройства с приемной камерой после смены скважинного прибора. (см., например, Патент РФ на изобретение №2495224 С1, кл. Е21В, 2012 г.).

[5]

Недостатком описанного устройства является отсутствие возможности автоматического управления режимом испытаний.

[6]

Наиболее близким к настоящему изобретению техническим решением является Устройство управления давлением (Патент США US 6305471 В1, 1998 г.). Устройство управления давлением, описанное в патенте, состоит из двух частей, из которых одна часть представляет из себя гидравлически управляемые узлы скважинного лубрикатора, устанавливаемого на фонтанной арматуре скважины, включающие в себя блок плашечных превенторов с перепускным краном, сигнализирующее устройство с ловушкой, соединенное в нижней части с верхним превентором блока превенторов, а в верхней части с приемной камерой лубрикатора, уплотнительное устройство с расходными трубками, соединенное в нижней части с приемной камерой лубрикатора, а в верхней с очистителем кабеля, и очиститель кабеля, а вторая часть представляет собой гидравлическую систему, состоящую из линий подачи гидравлической рабочей жидкости и уплотнительной смазки к гидравлически управляемым узлам скважинного лубрикатора, и информационно-управляющий комплекс, состоящий из контрольных датчиков давления, компьютера и устройств приема-передачи информации. Линии гидравлической системы включают в себя баки с технологическими жидкостями (уплотнительной смазкой и гидравлической рабочей жидкостью), перекачивающие насосы, исполнительные механизмы (регуляторы и управляющие клапаны) и рукава высокого давления. В линиях устанавливаются датчики контроля давления информационно-управляющего комплекса, связанные с компьютером, обрабатывающим информацию от датчиков и формирующим управляющие воздействия на исполнительные механизмы гидравлической системы. Уплотнительная смазка подается в уплотнительное устройство и межпревенторное пространство, гидравлическая рабочая жидкость - в сигнализирующее устройство, очиститель кабеля и блок плашечных превенторов. Передача информации от датчиков давления к компьютеру осуществляется по радиоканалу или оптоволоконному кабелю. Компьютер, в который загружено соответствующее программное обеспечение, получает информацию от контрольных датчиков давления, выводит на дисплей визуальные отображения измеряемых датчиками параметров и обеспечивает автоматическую установку величин давления уплотнительной смазки и рабочей жидкости в узлах скважинного лубрикатора в соответствии с выбранным технологическим режимом.

[7]

Описанное устройство управления давлением позволяет осуществлять контроль величины давления в линиях гидравлической системы и дистанционное управление давлением технологических жидкостей в узлах скважинного лубрикатора.

[8]

Устройство имеет следующие недостатки:

[9]

1. Отсутствует контроль за положением плашек превенторов и положением ловушки сигнализирующего устройства, что может приводить к аварийным ситуациям.

[10]

2. Отсутствует контроль за изменением давления в приемной камере скважинного лубрикатора.

[11]

3. Отсутствует контроль за величиной утечек скважинного флюида.

[12]

4. Отсутствует возможность прогнозировать загидрачивание и предотвращать образование ледово-гидратных пробок в уплотнительном устройстве.

[13]

5. Отсутствует возможность проводить оперативные испытания соединения сигнализирующего устройства с приемной камерой после смены скважинного прибора с целью контроля герметичности скважинного лубрикатора.

[14]

6. Отсутствует контроль за уровнем технологических жидкостей в баках гидравлической системы.

[15]

Сущностью изобретения является снижение рисков возникновения аварийных ситуаций в исследуемых скважинах, контроль утечек скважинного флюида в атмосферу, предотвращение возможных осложнений, вызываемых образованием в уплотнительном устройстве ледово-гидратных пробок, оперативный контроль герметичности лубрикатора после смены скважинного прибора, контроль за расходом технологических жидкостей в процессе проведения работ.

[16]

Это достигается тем, что в состав скважинного лубрикатора, устанавливаемого на фонтанной арматуре скважины и содержащего гидравлически управляемые узлы: блок плашечных превенторов с перепускным краном, сигнализирующее устройство с ловушкой, соединяемое в нижней части с блоком превенторов, а в верхней с приемной камерой, уплотнительное устройство с расходными трубками, соединяемое в нижней части с приемной камерой, а в верхней с очистителем кабеля, и очиститель кабеля, дополнительно включаются новые гидравлически управляемые узлы - испытательное устройство, встраиваемое в верхнюю часть корпуса сигнализирующего устройства, и инжектор подачи ингибитора гидратообразования, встраиваемый в нижнюю часть уплотнительного устройства. В состав гидравлической системы, располагаемой на удалении от скважинного лубрикатора, в которую входят линии подачи уплотнительной смазки и рабочей жидкости, состоящие из баков с технологическими жидкостями (уплотнительной смазкой и рабочей жидкостью), насосов для перекачки жидкостей из баков в узлы скважинного лубрикатора, управляемые компьютером интеллектуальные исполнительные механизмы (пропорциональные регуляторы и управляющие клапаны) и рукава высокого давления, дополнительно включается линия подачи ингибитора гидратообразования, состоящая из бака с ингибитором, перекачивающего насоса, интеллектуальных исполнительных механизмов (пропорциональных регуляторов и управляющих клапанов) и рукава высокого давления, а в состав информационно-управляющего комплекса, содержащего контрольные датчики давления, устанавливаемые в линиях подачи уплотнительной смазки и рабочей жидкости, дополнительно включаются устанавливаемый в линии подачи ингибитора контрольный датчик регистрации давления, устанавливаемые на скважинном лубрикаторе контрольные датчики положения плашек превенторов, регистрации давления в приемной камере лубрикатора, положения ловушки сигнализирующего устройства, температуры скважинного флюида и регистрации утечек газа, а также устанавливаемые в баках гидравлической системы контрольные датчики уровня технологических жидкостей.

[17]

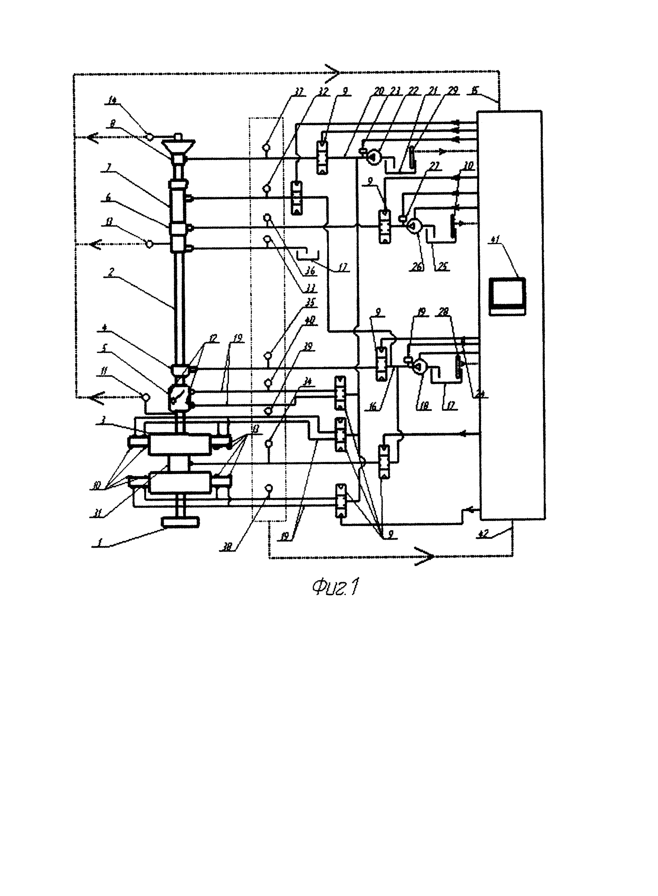
На фиг. 1 представлена схема лубрикаторной установки с интеллектуальными исполнительными механизмами. Лубрикаторная установка представляет из себя установленный на фонтанной арматуре скважины скважинный лубрикатор, располагаемую на удалении от скважинного лубрикатора гидравлическую систему, удаленный компьютер и систему контрольных датчиков, установленных в узлах скважинного лубрикатора и гидравлической системы. Непосредственно на фонтанной арматуре скважины монтируется переходный фланец 1, на котором устанавливаются гидравлически управляемые узлы: блок плашечных превенторов 3, испытательное устройство 4, сигнализирующее устройство с ловушкой 5, инжектор подачи ингибитора гидратообразования 6, уплотнительное устройство с расходными трубками 7 и очиститель кабеля 8. Эти узлы связаны рукавами высокого давления с исполнительными механизмами гидравлической системы - управляющими клапанами 9. Между сигнализирующим устройством 5 и инжектором подачи ингибитора гидратообразования 6 скважинного лубрикатора расположена приемная камера 2, предназначенная для размещения скважинных приборов и утяжеляющих грузов. Непосредственно на скважинном лубрикаторе смонтированы следующие контрольные датчики: датчики положения плашек превенторов 10, установленные в корпусах превенторов блока превенторов 3, датчик регистрации давления в приемной камере лубрикатора 11, установленный в нижней части корпуса сигнализирующего устройства 5, датчик положения ловушки сигнализирующего устройства 12, установленный в верхней части корпуса сигнализирующего устройства 5, датчик температуры скважинного флюида 13, установленный в нижней части уплотнительного устройства 7, и датчик регистрации утечек газа 14, установленный в верхней части очистителя кабеля 8. Передача информации от контрольных датчиков скважинного лубрикатора к компьютеру осуществляется по радиоканалу, оптоволоконному кабелю или электрическому кабелю 15.

[18]

Гидравлическая система лубрикаторной установки состоит из трех линий подачи технологических жидкостей: линии подачи уплотнительной смазки 16, состоящей из бака 17, перекачивающего насоса 18 и пропорционального регулятора 19, линии подачи гидравлической рабочей жидкости 20, состоящей из бака 21, перекачивающего насоса 22 и пропорционального регулятора 23, и линии подачи ингибитора гидратообразования 24, состоящей из бака 25, перекачивающего насоса 26 и пропорционального регулятора 27.

[19]

В баке с уплотнительной смазкой 17 установлен контрольный датчик уровня 28, в баке с рабочей жидкостью 21 установлен контрольный датчик уровня 29, в баке с ингибитором установлены контрольные датчики уровня жидкости 30. Датчики уровня позволяют осуществлять контроль за количеством технологических жидкостей в баках и своевременно пополнять их расход.

[20]

Из пропорциональных регуляторов технологические жидкости подаются на управляющие клапаны 9 и далее по рукавам высокого давления на гидравлически управляемые узлы скважинного лубрикатора. Уплотнительная смазка подается в уплотнительное устройство 7, межпревенторное пространство 31 и испытываемое на герметичность соединение сигнализирующего устройства 5 с приемной камерой 2, ингибитор гидратообразования подается на инжектор подачи ингибитора 6, а гидравлическая рабочая жидкость - в сигнализирующее устройство 5, очиститель кабеля 8 и в превентор блока плашечных превенторов 3.

[21]

В линиях гидравлической системы установлены следующие контрольные датчики: датчик давления в линии подачи уплотнительной смазки в уплотнительное устройство 32, датчик давления в линии отвода уплотнительной смазки от уплотнительного устройства 33, датчик давления в линии нагнетания уплотнительной смазки в межпревенторное пространство 34, датчик давления в линии нагнетания уплотнительной смазки в соединение, испытываемое на герметичность 35, датчик давления в линии нагнетания ингибитора 36, датчик давления в линии управления очистителем кабеля 37, датчики давления в линии управления плашками превенторов блока превенторов 38 и 39, датчик давления в линии управления ловушкой сигнализирующего устройства 40. Передача информации от датчиков гидравлической системы к компьютеру 41 осуществляется по электрическим кабелям 42.

[22]

Компьютер 41, получающий и обрабатывающий информацию от контрольных датчиков, позволяет обеспечивать автоматическую установку необходимого давления технологических жидкостей, подаваемых из баков гидравлической системы в узлы скважинного лубрикатора, выдавать прогноз о возможности образования ледово-гидратных пробок в уплотнительном устройстве, обеспечивать подачу ингибитора в инжектор подачи ингибитора с целью предотвращения образования ледово-гидратных пробок, предотвращать появление утечек газа из уплотнительного устройства скважинного лубрикатора в атмосферу, контролировать положение плашек превенторов блока превенторов и ловушки сигнализирующего устройства с целью предотвращения аварийной ситуации, контролировать уровень технологических жидкостей в баках гидравлической системы с целью их своевременного пополнения.

[23]

На дисплей компьютера 41 выводится информация, необходимая для управления лубрикаторной установкой в диалоговом режиме, а также сообщения о нештатной и аварийной ситуациях.

[24]

Лубрикаторная установка с интеллектуальными исполнительными механизмами работает следующим образом. Перед началом работ производится проверка скважинного лубрикатора на прочность и герметичность путем опрессовки скважинным давлением. Для этого открывается буферная задвижка фонтанной арматуры и выравнивается давление в приемной камере скважинного лубрикатора и в скважине. Датчик регистрации давления в приемной камере лубрикатора 11 в течение определенного времени не должен фиксировать изменения давления. Одновременно с помощью датчиков уровня гидравлической системы 28, 29 и 30 проверяется наличие и количество технологических жидкостей в баках. После проверки лубрикатора на герметичность и проверки уровня жидкости в баках начинается проведение спускоподъемных операций. Ловушка сигнализирующего устройства 5 путем подачи рабочей жидкости переводится в открытое положение (положение ловушки фиксируется датчиком 12), уплотнительная смазка закачивается в уплотнительное устройство под давлением, превышающим скважинное (контролируется давление уплотнительной смазки в линиях ее подачи и отвода датчиками 32 и 33), скважинный прибор опускается в скважину. Далее ловушка сигнализирующего устройства 5 переводится в закрытое положение, и начинаются работы. В процессе выполнения работ осуществляется контроль утечек газа из уплотнительного устройства датчиком 14, а также осуществляется контроль температуры скважинного флюида на входе уплотнительного устройства датчиком 13 с целью оценки возможности образования ледово-гидратных пробок. Если существует опасность загидрачивания, в уплотнительное устройство скважинного лубрикатора 7 через инжектор подачи ингибитора 6 производится закачка ингибитора. При этом контролируется давление ингибитора в линии подачи ингибитора датчиком 36.

[25]

По завершении скважинных операций производится подъем скважинного прибора до момента установки ловушки сигнализирующего устройства 5 в открытое положение. После этого закрывается буферная задвижка фонтанной арматуры, сбрасывается давление из приемной камеры скважинного лубрикатора и прекращается подача уплотнительной смазки в уплотнительное устройство 7.

[26]

При повторных операциях по спуску-подъему приборов, после подсоединения нового прибора и присоединения сигнализирующего устройства к приемной камере производится опрессовка узла соединения сигнализирующего устройства с приемной камерой с помощью испытательного устройства 4 путем подачи в место соединения уплотнительной смазки.

[27]

При проведении длительных газогидродинамических исследований, например для определения коэффициента восстановления давления, путем подачи рабочей жидкости в превенторы блока превенторов 3 закрываются плашки и в межпревенторное пространство 31 подается уплотнительная смазка под давлением, превышающим скважинное. Положение плашек контролируется датчиками 38 и 39

[28]

В случае если показания контрольных датчиков фиксируют нештатную или аварийную ситуацию, подачей рабочей жидкости закрываются плашки превенторов 13, перепускным краном сбрасывается давление из приемной камеры 2, приемная камера 2 отсоединяется от сигнализирующего устройства 5 и обслуживающий персонал приступает к ликвидации аварии.

[29]

Управление технологическими операциями во всех перечисленных выше случаях осуществляется в автоматическом режиме компьютером, в который загружено соответствующее программное обеспечение или оператором лубрикаторной установки через компьютер в диалоговом режиме.

Как компенсировать расходы
на инновационную разработку
Похожие патенты