патент
№ RU 2587751
МПК F42B10/14

РАСКРЫВАЕМЫЙ РУЛЬ

Авторы:
Горбачёв Алексей Дмитриевич Вороньжев Дмитрий Юрьевич Михайлов Юрий Иванович
Все (4)
Номер заявки
2015109101/11
Дата подачи заявки
16.03.2015
Опубликовано
20.06.2016
Страна
RU
Как управлять
интеллектуальной собственностью
Чертежи 
3
Реферат

Изобретение относится к ракетной технике. Раскрываемый руль содержит складываемую часть руля (1) и корневую часть (2), закрепленную в приводе (3) управления рулем и установленную в корпусе с возможностью поворота, и привод (5) раскрытия руля со штоком (6) для его продольного перемещения. Шток (6) соединен со складываемой частью руля (1) посредством шарнирно-соединенной в корневой части (2), качалки (7) и серьги (8). На раскрываемой части руля выполнен зуб (9), обеспечивающий в раскрытом положении фиксацию складываемой части (1) в корневой части (2) подпружиненными защелками (10). Качалка (7) содержит зуб (11) стопорения руля от поворота в сложенном положении, взаимодействующий с кронштейном (12) на неподвижной части, с одноразовым снятием стопорения при повороте качалки (7) в момент раскрытия руля. Использование устройства раскрытия руля может найти широкое применение в ракетной технике, где минимальные габариты и масса имеют приоритетное значение. Изобретение направлено на повышение надежности стопорения руля от поворота в сложенном положении. 3 ил.

Формула изобретения

Раскрываемый руль, содержащий фиксируемую в раскрытом положении складываемую часть руля, корневую часть, шарнирно-соединенную со складываемой частью, закрепленную в приводе управления рулем и установленную в корпусе объекта с возможностью поворота, и механизм стопорения руля от поворота в сложенном положении, отличающийся тем, что стопорение руля от поворота в сложенном положении обеспечивается зубом качалки привода раскрытия руля, взаимодействующим с кронштейном на неподвижной части корпуса объекта, с одноразовым снятием стопорения при раскрытии руля.

Описание

[1]

Изобретение относится к ракетной технике и может найти применение в конструкциях складываемых устройств (рулей, стабилизаторов и др.).

[2]

Известны устройства раскрываемых аэродинамических поверхностей летательных аппаратов, содержащие привод раскрытия, механизмы фиксации от произвольного раскрытия и от поворота в сложенном состоянии:

[3]

1. Пат. RU 2354916 C1, МПК6 F42B 10/16. Устройство фиксации сложенных аэродинамических поверхностей беспилотного летательного аппарата / Юрконенко А.Н., Бадей Д.М. - 27.01.2009;

[4]

2. Пат. RU 2349498 C1, МПК6 B64C 3/56, B64C 9/34. Складываемая аэродинамическая поверхность / Соловей В.А., Шибаев Б.И. - 20.03.2009;

[5]

3. Пат. RU 2453799 C1, МПК6 F42B 10/00. Складная аэродинамическая поверхность беспилотного летательного аппарата / Сабанцев В.М., Остапенко М.Ю. - 20.06.2012;

[6]

4. Пат. RU 73305 U1, МПК6 B64C 5/02, F42B 15/00. Механизм раскрытия стабилизатора ракеты / Кравчук А.П., Орелиов Г.Р., Сокольник B.C., Тарасов В.И., Хмелев В.И. - 20.05.2008;

[7]

5. Пат. RU 2532286 C1, МПК F42B 10/16. Раскрываемый руль ракеты / Шевченко В.В., Шестаков С.А., Земсков В.А., Дергачев А.В. - 10.11.2014;

[8]

6. Пат. RU 2520812 C1, МПК6 F42B 10/16. Раскрываемый руль ракеты / Шестаков С.А., Земсков В.А. - 27.06.2014;

[9]

7. Пат. RU 2503919 C1, МПК6 F42B 10/14; F42B 10/64; F64C 13/28. Привод несущей управляющей плоскости летательного аппарата / Михеев С.Г., Белюстин Л.В., Марцун Ю.В. - 10.01.2014.

[10]

Анализ патентов, рассмотренных в качестве аналогов, показал следующее:

[11]

- [1] - устройство обеспечивает фиксацию аэродинамических поверхностей в сложенном положении. Недостаток данного технического решения в том, что это сложное многозвенное некомпактное устройство с увеличенной по габариту корневой частью аэродинамической поверхности и остающейся на замыкающей кромке части троса;

[12]

- [2] - увеличены габариты объекта за счет выступания корневой части аэродинамической поверхности. Сложность изготовления винтовой пары может отразиться на надежности раскрытия, особенно в условиях больших аэродинамических нагрузок;

[13]

- [3] - устройство содержит неподвижную и подвижную части поверхности, узел раскладывания подвижной части с приводом и фиксатор поверхности в раскрытом положении; имеет те же недостатки, что и [1]. Также из опыта применения тросовых механизмов известно, что они не обладают высокой надежностью в условиях больших перегрузок;

[14]

- [4] - велика вероятность отказа устройства и объекта вследствие возможного излома пружины кручения при длительном хранении в заневоленном состоянии,

[15]

- при очевидной нежесткой фиксации поворотной части возможны продольная и поперечная вибрации, а также перемещения при полетных перегрузках объекта;

[16]

- [5] - раскрываемый руль, шарнирно закрепленный на валу, установленном в корпусе ракеты с возможностью поворота, жестко фиксируемый в раскрытом положении при помощи подпружиненных защелок, прижимающих опорный зуб руля к упору вала. Руль содержит механизм раскрытия в виде подпружиненного толкателя, последний воздействует на руль посредством троса, пропущенного через ролики. Устройство обладает следующими недостатками: постоянное воздействие усилия на трос при длительном хранении ракеты не гарантирует его высокой надежности, как и надежности срабатывания при высоких перегрузках воздействия. Указанное условие требует обязательного крепления складываемой части к корпусу ракеты специальным механизмом, а после разъединения во время раскрытия возможно смещение руля по повороту, что не обеспечит постановку руля в раскрытое положение;

[17]

- [6] - раскрываемый руль, состоящий из фиксируемой в раскрытом положении части руля, корневой части, шарнирно соединенной со складываемой частью, закрепленной в корпусе ракеты с возможностью поворота. В корневой части расположен поршневой привод раскрытия складываемой части руля, где шток поршня через качалку и соединительные звенья соединен со складываемой частью руля. По сравнению упомянутыми выше аналогами, здесь решена задача привода раскрытия и расположения складываемой части руля за аэродинамическим обводом корпуса ракеты, но осталась открытой проблема фиксации руля от поворота в сложенном положении, что обязательно из условий старта ракеты;

[18]

- [7] - устройство раскрытия управляющей плоскости летательного аппарата, содержащее привод в виде силового цилиндра, расположенного в корпусе на подшипниках с возможностью вращения относительно своей продольной оси. Поршень цилиндра через качалку и соединительные звенья связан с управляющей плоскостью. Устройство решает те же задачи, что и [6], и имеет такие же проблемы.

[19]

Ближайшим техническим устройством, выбранным в качестве прототипа, является патент на изобретение [8. Пат. RU №2520846 C1, МПК6 F42B 10/14. Аэродинамический руль ракеты / Шестаков С.А., Земсков В.А, Шаповалов А.И. - 27.06.2014. Бюл. №18].

[20]

Аэродинамический руль, содержащий складываемую часть и привод раскрытия руля, установленный в корпусе ракеты с возможностью вращения. В корпусе ракеты установлен механизм стопорения от поворота руля в сложенном положении. Механизм стопорения содержит подпружиненную качалку, на одном конце которой выполнен зуб, контактирующий с аэродинамической поверхностью. Открытый руль при повороте на программный угол, контактируя с зубом, отжимает качалку и выводит ее из зацепления с приводом управления.

[21]

В данной конструкции имеется следующий недостаток: расфиксация механизма стопорения в открытом положении происходит с каждым поворотом руля на программный угол при обязательном нажатии рулем на зуб качалки и выводе ее из паза стопорения, что не исключает сбоя механизма стопорения в связи с индивидуальной подгонкой положения зуба качалки по высоте.

[22]

Целью предлагаемого изобретения является создание простого, более надежного устройства стопорения руля ракеты от поворота в сложенном положении с одноразовым снятием стопорения при раскрытии руля, устраняя недостатки аналогов и прототипа.

[23]

Осуществление поставленной цели достигается тем, что стопорение руля от поворота в сложенном положении осуществляется зубом качалки привода раскрытия руля, взаимодействующим с кронштейном на неподвижной части корпуса объекта с одноразовым снятием стопорения при повороте качалки в момент раскрытия руля.

[24]

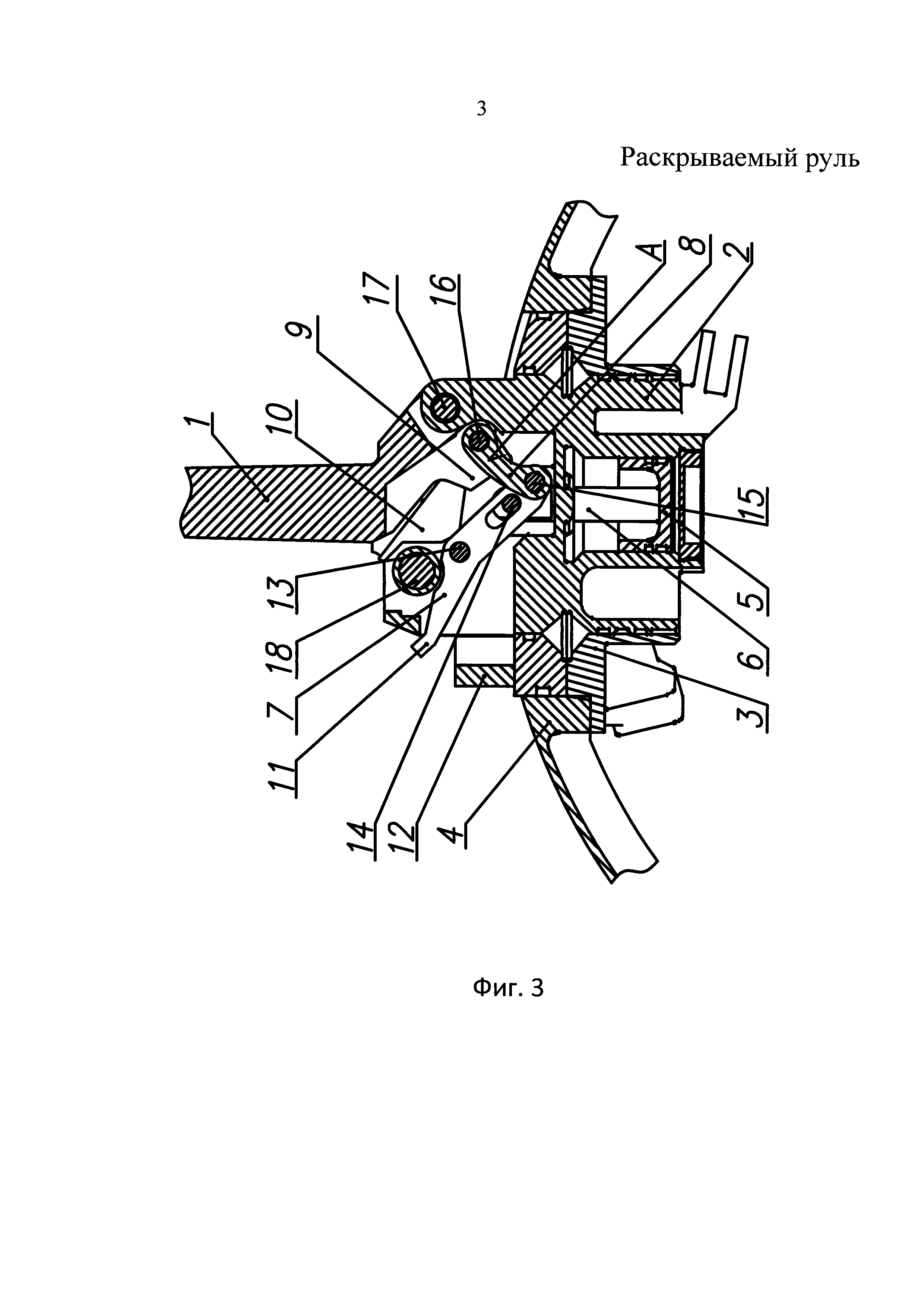
Изобретение поясняется чертежами, где на фиг. 1 представлено устройство раскрытия руля в сложенном положении, содержащее складываемую часть руля 1 и корневую часть 2, закрепленную в приводе 3 управления рулем и установленную в корпусе объекта 4 с возможностью поворота, а также привод 5 раскрытия руля со штоком 6 и возможностью его продольного перемещения. Шток 6 соединен со складываемой частью руля 1 посредством шарнирно-закрепленной в корневой части руля 2 качалки 7 и серьги 8. На раскрываемой части руля 1 выполнен зуб 9, обеспечивающий в раскрытом положении взаимодействие и фиксацию складываемой части руля 1 в корневой части 2 подпружиненными (пружина не показана) защелками 10. Качалка 7 содержит зуб стопорения руля от поворота в сложенном положении 11, взаимодействующий с кронштейном 12 на неподвижной части объекта. Устройство содержит также оси вращения и перемещения подвижных элементов конструкции 13, 14, 15, 16, 17, 18, а корневая часть руля 2 - упор «A».

[25]

На фиг. 2 показано взаимодействие элементов конструкции руля в промежуточном положении.

[26]

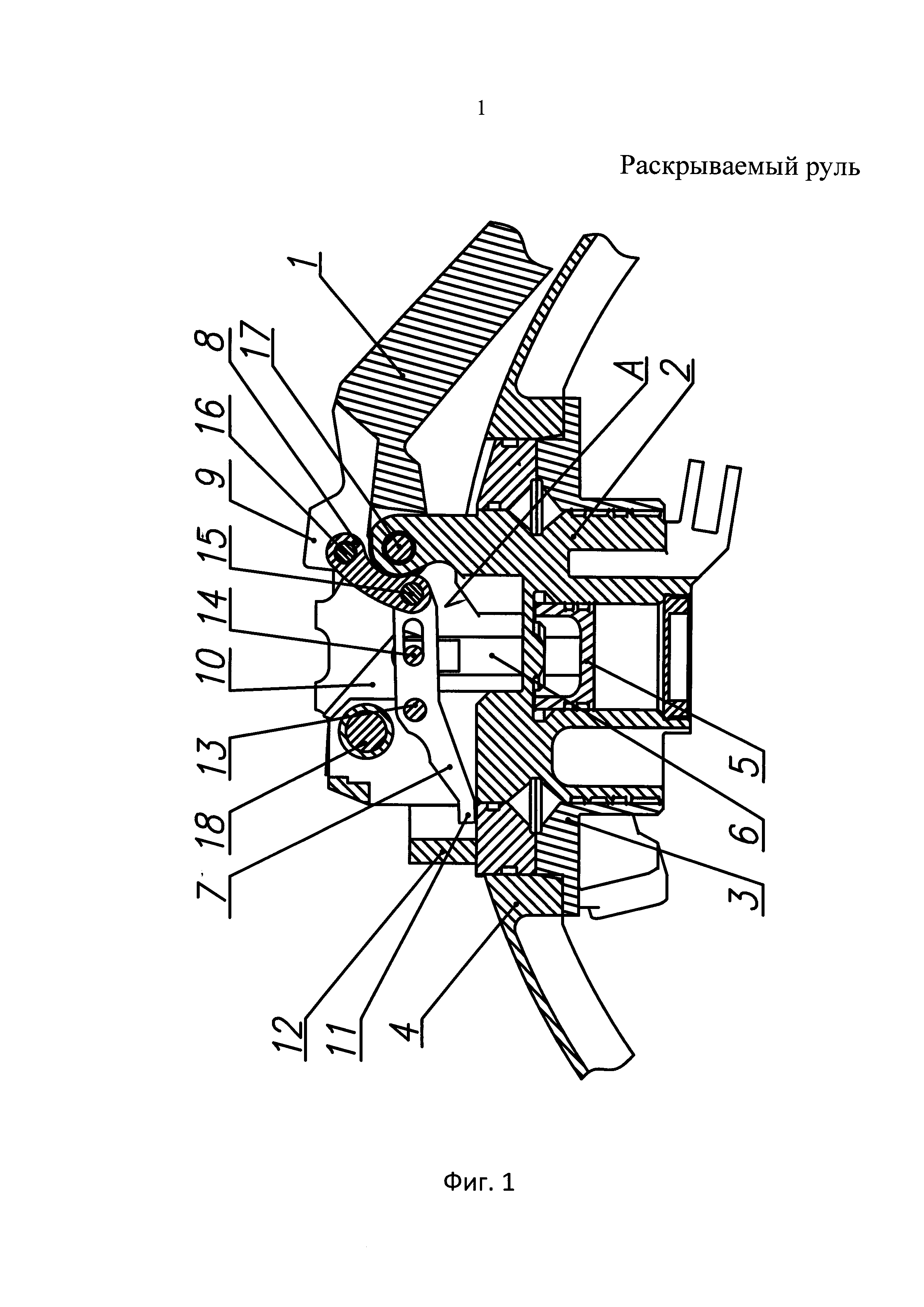
На фиг. 3 показано взаимодействие элементов конструкции руля в открытом положении.

[27]

Принцип действия устройства.

[28]

Исходное положение соответствует фиг. 1.

[29]

При подаче давления (способ не указывается) в полость привода 5 шток 6, перемещаясь из исходного положения и воздействуя через ось 14, поворачивает качалку 7 на оси 13, передает при этом через оси 15, 16 и серьгу 8 усилие на раскрытие руля 1.

[30]

Руль 1 (фиг. 2), вращаясь на оси 17, зубом 9 отодвигает с вращением на оси 18 защелки 10, а зуб 11 качалки 7 выходит из зацепления с кронштейном 12.

[31]

Далее (фиг. 3), руль 1 становится на упор «A» и фиксируется защелками 10, а зуб 11 качалки 7 выходит из зацепления с кронштейном 12, одновременно гарантированно снимая стопорение руля от поворота.

[32]

Таким образом, компактная конструкция предлагаемого устройства раскрытия руля обеспечивает надежное стопорение руля от поворота в сложенном положении с одноразовым снятием стопорения при раскрытии руля.

[33]

Предлагаемое устройство раскрытия руля может быть выполнено с помощью стандартного оборудования и материалов отечественного производства, что соответствует критерию «промышленная применимость».

[34]

Использование устройства раскрытия руля может найти широкое применение в ракетной технике, где минимальные габариты и масса имеют приоритетное значение.

[35]

Источники, принятые во внимание

[36]

1. Пат. RU 2354916 C1 МПК6 F42B 10/16. Устройство фиксации сложенных аэродинамических поверхностей беспилотного летательного аппарата / Юрконенко А.Н., Бадей Д.М. - 27.01.2009.

[37]

2. Пат. RU 2349498 C1, МПК6 B64C 3/56, B64C 9/34. Складываемая аэродинамическая поверхность / Соловей В.А., Шибаев Б.И. - 20.03.2009.

[38]

3. Пат. RU 2453799 C1, МПК6 F42B 10/00. Складная аэродинамическая поверхность беспилотного летательного аппарата / Сабанцев В.М., Остапенко М.Ю. - 20.06.2012.

[39]

4. Пат. на полезную модель RU 73305 U1, МПК6 B64C 5/02, F42B 15/00. Механизм раскрытия стабилизатора ракеты / Кравчук А.П., Орелиов Г.Р., Сокольник B.C., Тарасов В.И., Хмелев В.И. - 20.05.2008.

[40]

5. Пат. RU 2532286 C1, МПК6 F42B 10/16. Раскрываемый руль ракеты / Шевченко В.В., Шестаков С.А., Земсков В.А., Дергачев А.В. - 10.11.2014.

[41]

6. Пат. RU 2520812 C1, МПК6 F42B 10/16. Раскрываемый руль ракеты / Шестаков С.А., Земсков В.А. - 27.06.2014.

[42]

7. Пат. RU 2503919 C1, МПК6 F42B 10/14; F42B 10/64; F64C 13/28. Привод несущей управляющей плоскости летательного аппарата / Михеев С.Г., Белюстин Л.В., Марцун Ю.В. - 10.01.2014.

[43]

8. Пат. RU 2520846 C1, МПК6 F42B 10/14. Аэродинамический руль ракеты / Шестаков С.А., Земсков В.А., Шаповалов А.И. - 27.06.2014, Бюл. №18.

[44]

9. Пат. на полезную модель RU 137361 U1, МПК6 F42B 10/14. Устройство фиксации аэродинамической поверхности летательного аппарата / Шестаков С.А., Дергачев А.А. - Опубл. 10.02.2014.

[45]

10. Пат. RU 2089833 C1, МПК6 F42B 10/02. Раскрывающийся аэродинамический стабилизатор летательного аппарата / Морозов И.В., Солдатенков И.Б. - 10.09.1997.

[46]

11. Пат. RU 2015494 C1, МПК6 F42B 10/14. Стабилизатор / Сергеев Н.Н., Конышев А.В. - 30.06.1994.

[47]

12. Пат. RU 2315261 C2, МПК6 F42B 15/00, F42B 10/62. Устройство стабилизации авиационной крылатой ракеты / Мельников В.Ю., Натаров Б.Н., Хомяков М.А., Шумов Ю.В. - 20.01.2008.

[48]

13. Заявка на изобретение RU 94024244 A1, МПК6 B64C 9/10. Рулевой привод управляемой аэродинамической поверхности / Григорьев В.Г., Григорьев Д.В. - Опубл. 10.06.1996.

Как компенсировать расходы
на инновационную разработку
Похожие патенты