патент
№ RU 2629561
МПК C25B1/10

ЭЛЕКТРОЛИЗЕР И КАСКАД ЭЛЕКТРОЛИЗЕРОВ

Авторы:
Волощенко Георгий Николаевич
Номер заявки
2016148007
Дата подачи заявки
07.12.2016
Опубликовано
30.08.2017
Страна
RU
Как управлять
интеллектуальной собственностью
Чертежи 
2
Реферат

Изобретение относится к электролизеру, содержащему корпус с электролитом с размещенными в нем электролизной ячейкой с анодом, катодом и мембраной, разделяющей объем электролизной ячейки на анодное и катодное пространства, анодный контур циркуляции электролита, включающий емкость с электролитом и теплообменник, сепараторы водорода и кислорода, магистрали подвода воды и отвода кислорода и водорода, отличающемуся тем, что электролизер содержит катодный контур циркуляции, совмещенный с анодным контуром циркуляции таким образом, что катодная емкость с электролитом соединена через анодный теплообменник с анодным пространством, а анодная емкость с электролитом соединена с катодным пространством через катодный теплообменник, и байпасную линию, соединяющую катодную емкость с электролитом через кран-регулятор и катодный теплообменник с катодным пространством. Также изобретение относится к каскаду электролизеров. Использование предлагаемого изобретения позволяет снизить удельный расход электроэнергии на производство водорода, увеличить ресурс работы электролизера и возможность эффективного использования предлагаемого технического решения в установках разделения изотопов водорода. 2 н.п. ф-лы, 3 ил.

Формула изобретения

1. Электролизер, содержащий корпус с электролитом с размещенными в нем электролизной ячейкой с анодом, катодом и мембраной, разделяющей объем электролизной ячейки на анодное и катодное пространства, анодный контур циркуляции электролита, включающий емкость с электролитом и теплообменник, сепараторы водорода и кислорода, магистрали подвода воды и отвода кислорода и водорода, отличающийся тем, что электролизер содержит катодный контур циркуляции, совмещенный с анодным контуром циркуляции таким образом, что катодная емкость с электролитом соединена через анодный теплообменник с анодным пространством, а анодная емкость с электролитом соединена с катодным пространством через катодный теплообменник, и байпасную линию, соединяющую катодную емкость с электролитом через кран-регулятор и катодный теплообменник с катодным пространством.

2. Каскад электролизеров по п. 1, отличающийся тем, что в него включены водородный и кислородный холодильники, вход которых соединен соответственно с выходом водородного и кислородного сепараторов, выходы водорода и кислорода из холодильников соединены с входом дожигателя, совмещенного с конденсатором пара, а выходы конденсата из холодильников соединены через насос обогащенной воды со входом крана-регулятора, один выход которого соединен с магистралью подачи обогащенной воды в следующий электролизер, а второй выход соединен с входом анодного пространства, выход конденсатора пара соединен с магистралью подачи обедненной воды на предыдущий электролизер.

Описание

[1]

Изобретение относится к устройствам для получения водорода и кислорода электролизом воды и может быть использовано, в том числе, в электролизных каскадах разделения изотопов водорода.

[2]

Уровень техники

[3]

Известны электролизеры для разложения воды на водород и кислород (например, патент РФ №2034933). Недостатком таких энергоустановок является то, что вода подается в зону реакции через торец электрода, что приводит к повышению поляризации и, следовательно, к повышенным энергозатратам.

[4]

В патенте РФ №2501890 (опубл. 20.12.2013, бюллетень «Изобретения. Полезные модели» №35), принятом за прототип, электролизер содержит корпус с размещенными в нем электролизными ячейками с анодом, катодом и мембраной, разделяющей объем электролизной ячейки на анодное и катодное пространства, анодный контур циркуляции электролита, включающий емкость с электролитом, теплообменник и насос, сепараторы водорода и кислорода, при этом водный раствор электролита подается только к аноду, а катодный процесс осуществляется в условиях дефицита воды за счет ее переноса через анод и мембрану, отвод образующегося водорода происходит через поры катода, что в совокупности приводит к увеличению внутреннего сопротивления ячейки и росту напряжения, т.е. к повышенному расходу электроэнергии, а сухая катодная полость снижает ресурс катода.

[5]

Также известны каскады электролизеров для получения тяжелой воды (например, Прикладная электрохимия, под ред. А.П. Томилина. М.: Химия, 1984, с. 139). Однако конкретных технических решений по соединению электролизеров в каскады не приводится.

[6]

Раскрытие изобретения

[7]

Техническим результатом заявленного изобретения являются снижение удельного расхода электроэнергии на производство водорода, увеличение ресурса работы электролизера и возможность эффективного использования предлагаемого технического решения в установках разделения изотопов водорода за счет полного погружения катода и анода в электролит, взаимного перемешивания анодного и катодного электролитов, что обеспечивает постоянный состав электролита, отделение обогащенной тяжелым изотопом водорода воды от выделяющихся водорода и кислорода при их охлаждении и отвод этой воды в следующий электролизер каскада обогащения, что исключает потери электролита из электролизера, а также возврат обедненной воды после окисления водорода в дожигателе на вход предыдущих ступеней каскада, что увеличивает эффективность извлечения тяжелого изотопа.

[8]

Технический результат достигается тем, что предложен электролизер, содержащий корпус с электролитом с размещенными в нем электролизной ячейкой с анодом, катодом и мембраной, разделяющей объем электролизной ячейки на анодное и катодное пространства, анодный контур циркуляции электролита, включающий емкость с электролитом и теплообменник, сепараторы водорода и кислорода, магистрали подвода воды и отвода кислорода и водорода, при этом электролизер содержит катодный контур циркуляции, совмещенный с анодным контуром циркуляции таким образом, что катодная емкость с электролитом соединена через анодный теплообменник с анодным пространством, а анодная емкость с электролитом соединена с катодным пространством через катодный теплообменник, и байпасную линию, соединяющую катодную емкость с электролитом через кран-регулятор и катодный теплообменник с катодным пространством.

[9]

Также предложен каскад вышеуказанных электролизеров, содержащий водородный и кислородный холодильники, вход которых соединен соответственно с выходом водородного и кислородного сепараторов, выходы водорода и кислорода из холодильников соединены с входом дожигателя, совмещенного с конденсатором пара, а выходы конденсата из холодильников соединены через насос обогащенной воды с входом крана-регулятора, один выход которого соединен с магистралью подачи обогащенной воды в следующий электролизер, а второй выход соединен с входом анодного пространства, выход конденсатора пара соединен с магистралью подачи обедненной воды на предыдущий электролизер.

[10]

Краткое описание графических материалов

[11]

Признаки и сущность заявленного изобретения поясняются в последующем детальном описании, иллюстрируемом чертежами, где показано следующее.

[12]

На фиг. 1÷3 приведены схемы заявленного электролизера и каскада электролизеров, где:

[13]

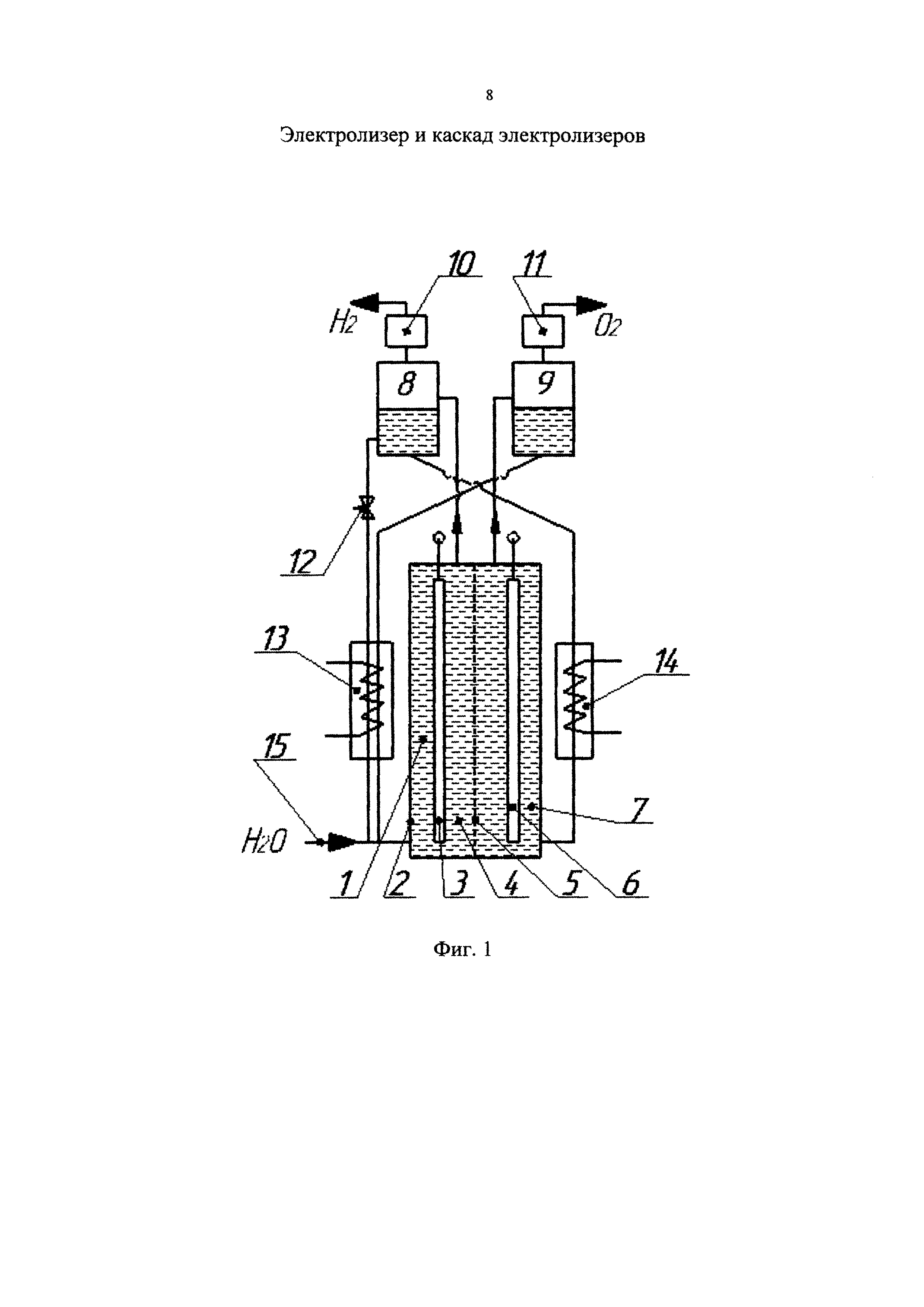
1 - электролизная ячейка;

[14]

2 - корпус;

[15]

3 - катод;

[16]

4 - катодное пространство;

[17]

5 - мембрана;

[18]

6 - анод;

[19]

7 - анодное пространство;

[20]

8 - катодная емкость с электролитом;

[21]

9 - анодная емкость с электролитом;

[22]

10 - водородный сепаратор;

[23]

11 - кислородный сепаратор;

[24]

12 - катодный кран-регулятор;

[25]

13 - катодный теплообменник;

[26]

14 - анодный теплообменник;

[27]

15 - магистраль подвода воды;

[28]

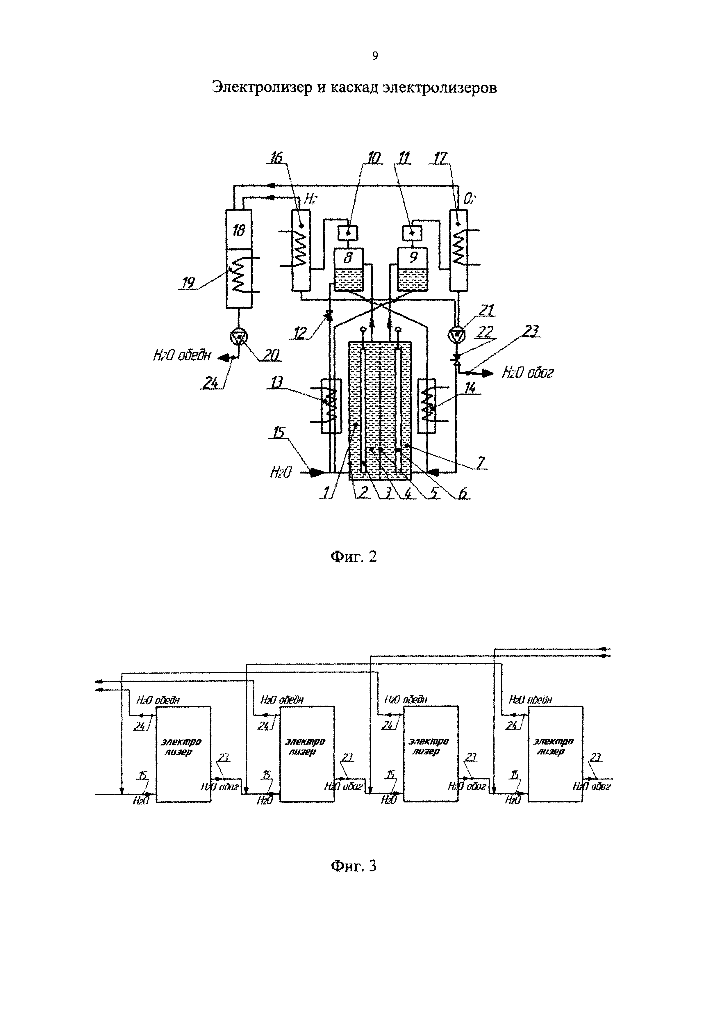
16 - водородный холодильник;

[29]

17 - кислородный холодильник;

[30]

18 - дожигатель;

[31]

19 - конденсатор пара;

[32]

20 - насос обедненной воды;

[33]

21 - насос обогащенной воды;

[34]

22 - кран-регулятор обогащенной воды;

[35]

23 - магистраль отвода обогащенной воды;

[36]

24 - магистраль отвода обедненной воды.

[37]

Осуществление изобретения

[38]

Электролизер содержит корпус 2 с электролитом с размещенными в нем электролизной ячейкой 1 с анодом 6, катодом 3 и мембраной 5, разделяющей объем электролизной ячейки 1 на анодное 7 и катодное 4 пространства, анодный контур циркуляции электролита, включающий емкость с электролитом 9 и теплообменник 14, сепараторы водорода 10 и кислорода 11, магистрали подвода воды 15 и отвода кислорода и водорода из сепараторов 10 и 11, причем электролизер дополнительно содержит катодный контур циркуляции, совмещенный с анодным контуром циркуляции таким образом, что катодная емкость 8 с электролитом соединена через анодный теплообменник 14 с анодным пространством 7, а анодная емкость 9 с электролитом соединена с катодным пространством 4 через катодный теплообменник 13, и байпасную линию, соединяющую катодную емкость 8 с электролитом через кран-регулятор 12 и катодный теплообменник 13 с катодным пространством 4.

[39]

Каскад электролизеров состоит из электролизеров, выполненных как показано на фиг. 1, при этом каскад дополнительно содержит водородный 16 и кислородный 17 холодильники, вход которых соединен соответственно с выходом водородного 10 и кислородного 11 сепараторов, выходы водорода и кислорода из холодильников 16 и 17 соединены с входом дожигателя 18, совмещенного с конденсатором пара 19, а выходы конденсата из холодильников 16 и 17 соединены через насос обогащенной воды 21 со входом крана-регулятора 22, один выход которого соединен с магистралью 23 подачи обогащенной воды в следующий электролизер, а второй выход соединен с входом анодного пространства 7, выход конденсатора пара 19 соединен с магистралью 24 подачи обедненной воды на предыдущий электролизер.

[40]

Заявленный электролизер и каскад электролизеров работают следующим образом. В электролизер по магистрали 15 подается вода, которая в электролизной ячейке 1 разлагается на водород, выделяющийся на катоде 3, и кислород, выделяющийся на аноде 6. Для разделения выделяющихся газов электролизная ячейка 1 имеет мембрану 5, образующую внутри электролизной ячейки 1 катодное 4 и анодное 7 пространства. Выделяющиеся газы за счет эффекта эрлифта поднимаются вместе с электролитом в емкости 8 и 9 с электролитом, где происходит отделение газов от электролита, который за счет избыточного веса поступает из катодной емкости 8 через теплообменник 14 в анодное пространство 7, а из анодной емкости 9 через теплообменник 13 в катодное пространство 4. Так как объем выделяющегося водорода превышает объем кислорода в два раза, для поддержания одинакового уровня электролита в емкостях 8 и 9 необходимо часть электролита из катодной емкости 8 по байпасной линии через кран-регулятор 12 и теплообменник 13 направлять в катодное пространство 4. Водород и кислород из емкостей 8 и 9 поступают в сепараторы 10 и 11, где отделяются от капель и паров электролита и направляются потребителям.

[41]

В случае использования заявляемого электролизера в каскаде для обогащения воды тяжелым изотопом водорода водород и кислород из сепараторов 10 и 11 направляются в холодильники 16 и 17, где от них при охлаждении отделяется обогащенная тяжелым изотопом водорода вода, которая насосом 21 направляется к крану-регулятору, с помощью которого часть обогащенной воды, соответствующая заданному режиму работы данной ступени каскада, направляется по магистрали 23 к следующей ступени каскада, а излишки обогащенной воды возвращаются в анодную пространство. Водород и кислород из холодильников 16 и 17 направляются в дожигатель 18, где взаимодействуют с образованием воды, обедненной по тяжелому изотопу, пары образовавшейся воды охлаждаются в конденсаторе 19 и насосом 20 по магистрали 24 направляются на вход предыдущих ступеней каскада.

[42]

Таким образом, в предлагаемом техническом решении достигается заявленный технический результат по снижению удельного расхода электроэнергии на производство водорода, увеличению ресурса работы электролизера и возможности эффективного использования предлагаемого технического решения в установках разделения изотопов водорода за счет полного погружения катода и анода в электролит, взаимного перемешивания анодного и катодного электролита, что обеспечивает постоянный состав электролита, отделения обогащенной тяжелым изотопом водорода воды от выделяющихся водорода и кислорода при их охлаждении и отвода этой воды в следующий электролизер каскада обогащения, что исключает потери электролита из электролизера, а также возврат обедненной воды после окисления водорода в дожигателе на вход предыдущих ступеней каскада, что увеличивает эффективность извлечения тяжелого изотопа.

Как компенсировать расходы
на инновационную разработку
Похожие патенты