патент
№ RU 2658224
МПК B64D13/08

Система кондиционирования воздуха летательного аппарата на основе электроприводных нагнетателей и реверсивных парокомпрессионных холодильных установок

Авторы:
Морошкин Ярослав Владимирович Губернаторов Константин Николаевич Киселёв Михаил Анатольевич
Все (4)
Номер заявки
2017129224
Дата подачи заявки
16.08.2017
Опубликовано
19.06.2018
Страна
RU
Как управлять
интеллектуальной собственностью
Чертежи 
10
Реферат

Изобретение относится к системе жизнеобеспечения самолета - авиационной системе кондиционирования воздуха (СКВ). Система кондиционирования воздуха содержит по меньшей мере один воздухозаборник со связанной с ним жидкостной системой непосредственного охлаждения бортовых тепловыделяющих блоков-потребителей, по меньшей мере один электронагнетатель, по меньшей мере одну теплообменную систему подготовки воздуха наддува, по меньшей мере одну парокомпрессионную холодильную установку, в состав которой входят по меньшей мере одна реверсивная инверторная парокомпрессионная машина с внешним компрессором, четырехходовой клапан, жидкостно-жидкостные теплообменные аппараты и смесительное устройство, по меньшей мере одну систему отбора тепла от маршевой двигательной установки, состоящую из жидкостного радиатора на обечайке компрессора высокого давления маршевой двигательной установки, жидкостного радиатора на внутренней стороне обтекателя воздухозаборника маршевой двигательной установки, воздушно-жидкостного теплообменника, системы подачи и распределения воздуха наддува гермокабины, систему рециркуляции воздуха, систему автоматического регулирования давления, включающую модифицированную клапанную группу удаления воздуха, эжекторный смеситель-дозатор удаляемого воздуха из гермокабины и воздуха, подводимого от электронагнетателя, по меньшей мере один регулятор расхода добавочного воздуха, по меньшей мере один узел организации режима изолированной рециркуляции гермокабины. Достигается повышение энергетической и топливной эффективности СКВ. 4 з.п. ф-лы, 10 ил.

Формула изобретения

1. Система кондиционирования воздуха на ЛА, содержащая по меньшей мере один воздухозаборник со связанной с ним жидкостной системой непосредственного охлаждения бортовых тепловыделяющих блоков-потребителей, по меньшей мере один электронагнетатель, по меньшей мере одну теплообменную систему подготовки воздуха наддува, по меньшей мере одну парокомпрессионную холодильную установку, в состав которой входят по меньшей мере одна реверсивная инверторная парокомпрессионная машина с внешним компрессором, четырехходовой клапан, жидкостно-жидкостные теплообменные аппараты и смесительное устройство, система кондиционирования воздуха также содержит по меньшей мере одну систему отбора тепла от маршевой двигательной установки, состоящую из жидкостного радиатора на обечайке компрессора высокого давления маршевой двигательной установки, жидкостного радиатора на внутренней стороне обтекателя воздухозаборника маршевой двигательной установки, воздушно-жидкостного теплообменника, система кондиционирования воздуха также содержит систему подачи и распределения воздуха наддува гермокабины, систему рециркуляции воздуха, по меньшей мере один регулятор расхода добавочного воздуха, по меньшей мере один узел организации режима изолированной рециркуляции гермокабины, систему автоматического регулирования давления, включающую модифицированную клапанную группу удаления воздуха, эжекторный смеситель-дозатор удаляемого воздуха из гермокабины и воздуха, подводимого от электронагнетателя, характеризующаяся тем, что воздух поступает в воздухозаборник и через воздуховод, являющийся внутренним каналом воздушно-жидкостного теплообменного аппарата, подается на электронагнетатель, который соединен с бесприводным компрессором реверсивной инверторной парокомпрессионной холодильной машины, на который крутящий момент передается через бесконтактный привод, при этом воздух из электронагнетателя по воздуховоду поступает в теплообменную систему подготовки воздуха наддува, в каждом тракте которой последовательно установлены воздушно-жидкостный двухрежимный теплообменник, в который жидкий теплоноситель подается от парокомпрессионной установки или теплообменника системы непосредственного жидкостного охлаждения, влагоотделитель, воздушно-жидкостный теплообменник нагрева, в который жидкий теплоноситель подается от системы отбора тепла, при этом воздух из теплообменной системы подготовки воздуха наддува подступает по воздуховоду в систему распределения воздуха наддува гермокабины, содержащей смеситель свежего и рециркуляционного воздуха из гермокабины и подпольного пространства, проходящего через систему рециркуляции воздуха, при этом воздух по воздуховоду из гермокабины поступает в систему автоматического регулирования давления, в которой используется удаляемый из гермокабины воздух для сброса тепла от парокомпрессионной холодильной установки через встроенные в клапанные узлы воздушно-жидкостные теплообменники и удаляется в атмосферу, при этом часть воздуха, отбираемого от электронагнетателя, проходит по внутрифюзеляжному воздуховоду в регулятор расхода добавочного воздуха, подается на модифицированную клапанную группу системы автоматического регулирования давления и сбрасывается в атмосферу.

2. Система кондиционирования воздуха по п. 1, характеризующаяся тем, что жидкий теплоноситель состоит из 60% раствора пропиленгликоля в воде.

3. Система кондиционирования воздуха по п. 1, характеризующаяся тем, что бесконтактный привод электронагнетателя представляет собой бесконтактный маглевный привод, крутящий момент от которого передается за счет магнитного взаимодействия между приводящим и приводимым дисками с установленными в них редкоземельными магнитами.

4. Система кондиционирования воздуха по п. 1, характеризующаяся тем, что в состав ПКУ могут входить по меньшей мере одна реверсивная инверторная парокомпрессионная машина с внешним компрессором и по меньшей мере одна реверсивная инверторная парокомпрессионная машина со встроенным компрессором с собственным электроприводом.

5. Система кондиционирования воздуха по п. 1, характеризующаяся тем, что система отбора тепла дополнительно используется в противообледенительной системе кромки воздухозаборника маршевой двигательной установки.

Описание

[1]

Предлагаемое техническое решение относится к системе жизнеобеспечения летательного аппарата (ЛА), в частности к авиационной системе кондиционирования воздуха (СКВ), предназначенной для создания комфортных условий в салонах и кабинах, поддержания параметров воздуха в заданном диапазоне в других герметических отсеках самолета, а также для обеспечения работоспособности бортового оборудования, требующего заданных температурно-влажностных условий для нормального функционирования.

[2]

Известны СКВ легких самолетов и вертолетов, на которых применяются парокомпрессионные установки (ПКУ) для нормализации температуры воздуха, использующие фреоновые ПКУ или ПКУ с вторичным теплоносителем, в функции которых не входит принципиальная для СКВ магистральных самолетов задача регулирования давления подаваемого воздуха (Исследования систем кондиционирования воздуха легких самолетов и вертолетов (И.В. Тищенко, Д.А. Кудерко, Инженерный журнал: наука и инновации, выпуск №1 (13) 2013, стр. 117-131).

[3]

Из уровня техники известна система кондиционирования воздуха (патент US US 7322202), является система кондиционирования воздуха, которая включает в себя блок кондиционирования воздуха для приема сжатого воздуха и преобразования нагнетаемого воздуха под давлением в кондиционированный воздух для воздушного судна. Нагнетаемый воздух поставляется системой подачи нагнетаемого воздуха для подачи воздуха в блок кондиционирования воздуха. Система подачи нагнетаемого воздуха включает в себя нагнетатель, работающий от электродвигателя. Также блок кондиционирования воздуха содержит теплообменник, машину воздушного цикла, состоящую из компрессора, турбины и конденсатора.

[4]

Наиболее близким техническим решением к заявленному объекту является СКВ дальнемагистрального самолета Boeing-787, которая имеет в своем составе систему подачи воздуха наддува гермокабины электроприводными нагнетателями (ЭН) (Электронный журнал Aero QTR_04 2007, Boeing, стр 6-11).

[5]

В отличие от аналогов в предлагаемом изобретении:

[6]

- подготовка воздуха наддува осуществляется системой теплообменных воздушно-жидкостных аппаратов (ТСПВ), которая обеспечивает требуемое значение температурно-влажностных параметров воздуха наддува без создания избыточного давления нагнетания, которое используется на прототипе для организации воздушных контуров холодного и горячего воздуха по традиционной смесительной системе подготовки воздуха наддува. Это позволяет исключить из СКВ установку охлаждения воздуха традиционной конструкции на базе холодильной машины воздушного цикла (турбохолодильник) и петли осушения воздуха при высоком давлении, снизить потребляемую мощность ЭН, упростить и облегчить конструкцию системы подготовки воздуха наддува;

[7]

- в системе теплообеспечения ТСПВ изобретения используются ПКУ, включающие по крайней мере две реверсивные инверторные парокомпрессионные холодильные машины (ПКМ) с вторичным жидкостным теплоносителем в контурах испарителей и конденсаторов, которые имеют взаимодополняющие рабочие температурные диапазоны. Это обеспечивает высокую энергоэффективность СКВ при всех летных и наземных эксплуатационных климатических условиях;

[8]

- в системе регулирования температуры воздуха наддува изобретения используется тепло, отводимое от конструкции маршевой двигательной установки с помощью жидкостной системы отбора тепла (СОТ). Теплоноситель СОТ подается в теплообменник нагрева нагнетаемого воздуха ТСПВ и в общую сеть горячего теплоносителя СКВ, что способствует снижению потребной мощности ПКУ, осуществлению температурно-влажностной подготовки воздуха наддува и расширяет диапазон работы СКВ при низкой наружной температуре;

[9]

- используется отвод части вторичного теплоносителя из контуров конденсаторов и испарителей реверсивной ПКУ для устройства независимых от режима работы ПКУ сетей холодного и горячего теплоносителя. Такие сети дают возможность независимо от режима работы ПКУ изменять теплоназначение (охлаждение/нагрев) и производительность пространственно разнесенных теплообменников СКВ. Это обеспечивает гибкое и независимое управление кондиционированием разных отсеков гермокабины и частичную утилизации тепла обратного участка термодинамического цикла ПКУ;

[10]

- используется удаляемый воздух наддува гермокабины для отвода тепла обратного участка парокомпрессионного цикла ПКУ посредством встроенных в выпускное устройство системы автоматического регулирования давления (САРД) теплообменников, что позволило исключить из СКВ систему продувочного воздуха;

[11]

- используется фактор разнонаправленного влияния изменений режимов полета на энергопотребление ЭН и ПКУ для параллельного применения электропривода ЭН в качестве возможного привода выносного бесприводного компрессора ПКМ из состава ПКУ с помощью бесконтактной передачи, что может привести к сокращению энергопотребления СКВ, повышению ее надежности и снижению веса;

[12]

- используются тракт воздухозаборника системы нагнетания в качестве канального воздушно-жидкостного теплообменника для организации системы непосредственного жидкостного охлаждения блоков силовой электроники и питания теплообменников подготовки воздуха наддува в крейсерском режиме полета, что позволяет отключить ПКУ или снизить ее энергопотребление в этом режиме.

[13]

Технический результат предлагаемого изобретения заключается в повышении энергоэффективности функционирования СКВ во всем диапазоне высот и скоростей, как вследствие непосредственного снижения потребляемой мощности СКВ, так и снижения затрат энергии за счет предполагаемого снижения массы СКВ на основе электроприводных нагнетателей и реверсивных парокомпрессионных холодильных установок, что в свою очередь приводит к топливной эффективности (уменьшению потребления топлива) всего самолета, а также в снижении стоимости эксплуатации перспективных магистральных самолетов.

[14]

Ожидаемый технический результат достигается предложенной системой кондиционирования воздуха на ЛА, которая содержит, по меньшей мере, один воздухозаборник со связанной с ним жидкостной системой непосредственного охлаждения бортовых тепловыделяющих блоков-потребителей; по меньшей мере один электронагнетатель; по меньшей мере одну теплообменную систему подготовки воздуха наддува; по меньшей мере одну парокомпрессионную холодильную установку, в состав которой входят: по меньшей мере одна реверсивная инверторная парокомпрессионная машина с внешним компрессором, 4-х ходовой клапан распределения теплоносителя по холодной и горячей магистралям, жидкостно-жидкостные теплообменные аппараты и смесительное устройство; система кондиционирования воздуха также содержит, по меньшей мере, одну систему отбора тепла от маршевой двигательной установки, состоящую из: жидкостного радиатора на обечайке компрессора высокого давления маршевой двигательной установки, жидкостного радиатора на внутренней стороне обтекателя воздухозаборника маршевой двигательной установки, воздушно-жидкостного теплообменника; система кондиционирования воздуха также содержит систему подачи и распределения воздуха наддува гермокабины; систему рециркуляции воздуха; по меньшей мере, один регулятор расхода добавочного воздуха; по меньшей мере, один узел организации режима изолированной рециркуляции гермокабины; систему автоматического регулирования давления, включающую: модифицированную клапанную группу удаления воздуха, эжекторный смеситель-дозатор удаляемого воздуха из гермокабины и воздуха, подводимого от электронагнетателя. При этом воздух поступает в воздухозаборник и через воздуховод, являющийся внутренним каналом воздушно-жидкостного теплообменного аппарата, подается на электронагнетатель, который соединен с внешним бесприводным компрессором реверсивной инверторной парокомпрессионной холодильной машины, на который крутящий момент передается через бесконтактный привод, при этом воздух из электронагнетателя по воздуховоду поступает в теплообменную систему подготовки воздуха наддува, в каждом тракте которой последовательно установлены: воздушно-жидкостный двухрежимный теплообменник, в который жидкий теплоноситель подается от парокомпрессионной установки или теплообменника системы непосредственного жидкостного охлаждения, влагоотделитель, воздушно-жидкостный теплообменник нагрева, в который жидкий теплоноситель подается от системы отбора тепла, при этом воздух из теплообменной системы подготовки воздуха наддува подступает по воздуховоду в систему распределения воздуха наддува гермокабины, содержащей смеситель свежего и рециркуляционного воздуха из гермокабины и подпольного пространства, проходящего через систему рециркуляции воздуха, при этом воздух по воздуховоду из гермокабины поступает в систему автоматического регулирования давления (САРД), в которой используется удаляемый из гермокабины воздух для сброса тепла от парокомпрессионной холодильной установки через встроенные в клапанные узлы САРД воздушно-жидкостные теплообменники и удаляется в атмосферу, при этом часть воздуха отбирается от электронагнетателя, проходит по внутрифюзеляжному воздуховоду в регулятор расхода добавочного воздуха и подается во встроенные в клапанные узлы воздушно-жидкостные теплообменники и сбрасывается в атмосферу.

[15]

В предпочтительном варианте осуществления изобретения жидкий теплоноситель состоит из 60% раствора пропиленгликоля в воде.

[16]

В другом предпочтительном варианте бесконтактный привод электронагнетателя представляет собой бесконтактный маглевный привод, крутящий момент от которого передается за счет магнитного взаимодействия между приводящим и приводимым дисками с установленными в них редкоземельными магнитами.

[17]

Еще в одном предпочтительном варианте в состав ПКУ могут входить по меньшей мере одна реверсивная инверторная парокомпрессионная машина с внешним компрессором и по меньшей мере одна реверсивная инверторная парокомпрессионная машина со встроенным компрессором с собственным электроприводом.

[18]

В другом предпочтительном варианте система отбора тепла дополнительно используется в противообледенительной системе кромки воздухозаборника маршевой двигательной установки.

[19]

Изобретение включает ряд усовершенствований теплотехнической схемы СКВ, которые развивают принципы построения авиационных СКВ на основе электроприводных нагнетателей и ПКУ, а именно:

[20]

- переход от энергетически низкоэффективного смесительного принципа подготовки воздуха наддува за счет организации горячего и холодного воздушных контуров в турбодетандерной установке охлаждения воздуха (УОВ) к теплообменной системе на основе воздушно-жидкостных теплообменных аппаратов (ТА) с исключением УОВ классической конструкции из теплотехнической схемы СКВ. Кроме того из конструкции распределительной и рециркуляционной подсистем СКВ исключается сеть воздуховодов и узлов смешения разнотемпературных потоков, что снижает массу СКВ и всего самолета;

[21]

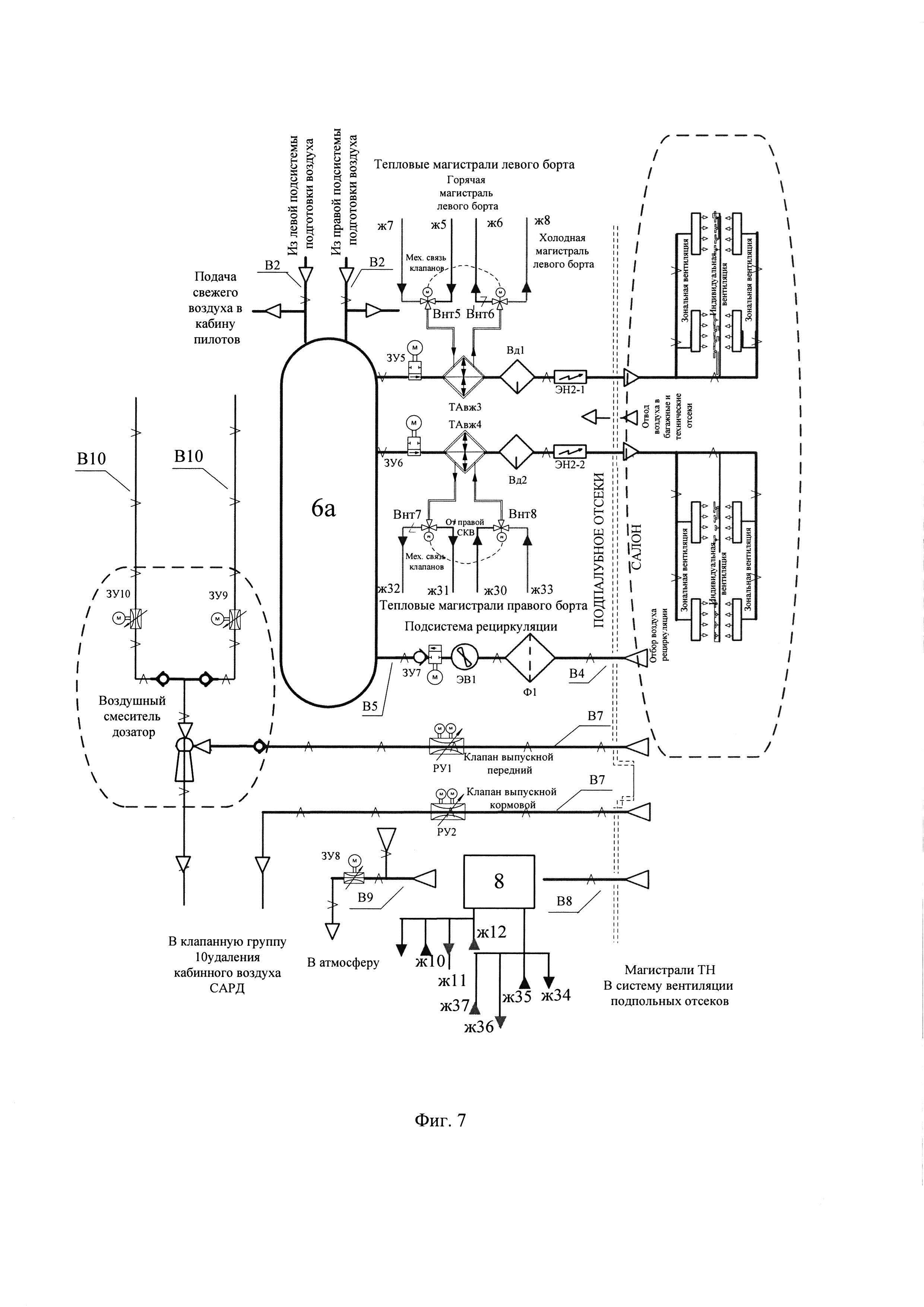
- снабжение ТА теплообменной системы жидким теплоносителем требуемой температуры от одновременного и совместного использования нескольких источников: ПКУ в режиме охлаждения и или нагрева; от жидкостной системы отбора тепла (СОТ) от конструкции компрессоров высокого давления (КВД) маршевой двигательной установки (МДУ); от жидкостных радиаторов системы непосредственного жидкостного охлаждения, установленных на воздуховодах воздухозаборников СКВ (канальные воздушно-жидкостные ТА). Распределение жидкого теплоносителя осуществляет система управления СКВ. Жидкостные магистрали и гидравлические распределительные устройства существенно компактней, легче и технологичней воздушных, что в свою очередь приводит к упрощению конструкции и увеличению весовой эффективности СКВ за счет более рациональной компоновки агрегатов, тем самым уменьшая потребление топлива, а также снижает эксплуатационные расходы. При этом уменьшается масса СКВ, в результате чего уменьшается масса всего самолета и, как следствие, уменьшается расход топлива;

[22]

- формирование ПКУ на основе комплекса, составленного из реверсивных инверторных ПКМ с промежуточным жидким теплоносителем, имеющих разные рабочие термодинамические диапазоны, что обеспечивает эффективную работу ПКУ при всех режимах эксплуатации магистрального самолета;

[23]

- использование СОТ от конструкции КВД МДУ с помощью установленных на них радиаторов с жидким теплоносителем и интеграции контуров теплоносителя СОТ с линиями горячего теплоносителя ПКУ. Дополнительно СОТ используется в противообледенительной системе входных устройств МДУ. Тепловой баланс СОТ обеспечивается с помощью отвода тепла в воздушно-жидкостных ТА, установленных в воздухозаборниках МДУ. Это позволяет снизить потребляемую мощность ПКУ в режиме нагрева, обеспечить работу СКВ в режиме нагрева при неработающих ПКУ и МДУ с помощью дополнительных проточных электронагревателей СОТ и повысить энергоэффективность теплообменной системы регулирования температуры кабинного воздуха, что в свою очередь снижает затраты энергии на функционирование СКВ;

[24]

- более чем двукратное снижение установленной мощности приводов ЭН за счет исключения из их функций задачи нагрева воздуха наддува посредством политропного сжатия для системы регулирования температуры посредством смешения разнотемпературных воздушных потоков. Для работы воздушной смесительной системы ЭН должен обеспечивать температуру сжатого воздуха не менее 100-150°С при всех эксплуатационных значениях наружной температуры, тем самым снижая затраты энергии на функционирование ЭН и СКВ в целом;

[25]

- параллельное использование приводов ЭН для работы внешних компрессоров ПКУ теплообменной системы подготовки воздуха наддува. Возможность такого использования привода обеспечивается разнонаправленной зависимостью потребной мощности ЭН и ПКУ от изменения режимов полета и предполетной подготовки. Передача крутящего момента привода ЭН на ротор герметичного фреонового компрессора реализуется с помощью бесконтактного привода, например, маглевного. Это обеспечивает снижение потребной мощности электрогенерирующей системы самолета, а также снижает вес и повышает надежность работы ПКУ за счет исключения приводов компрессоров из части ПКМ парокомпрессионного комплекса СКВ;

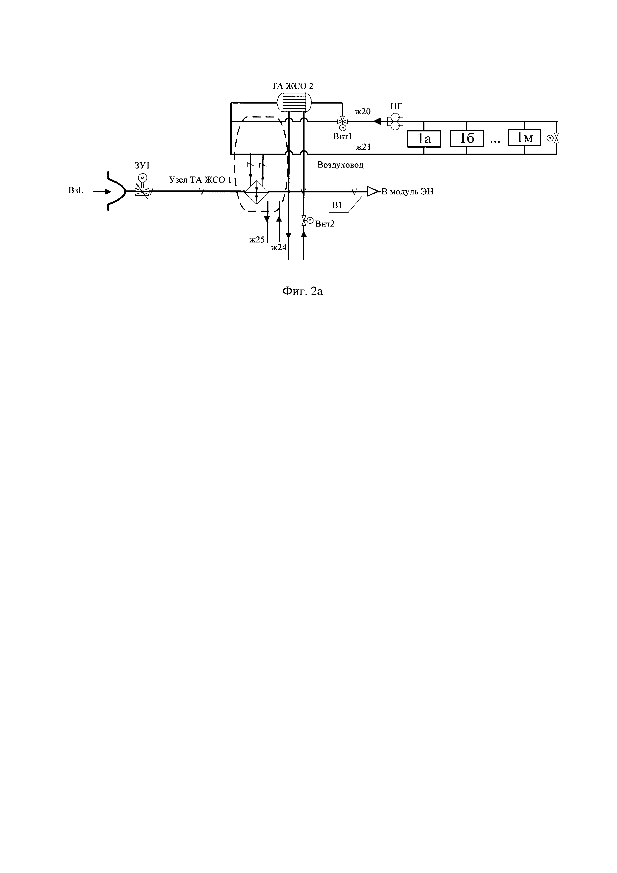
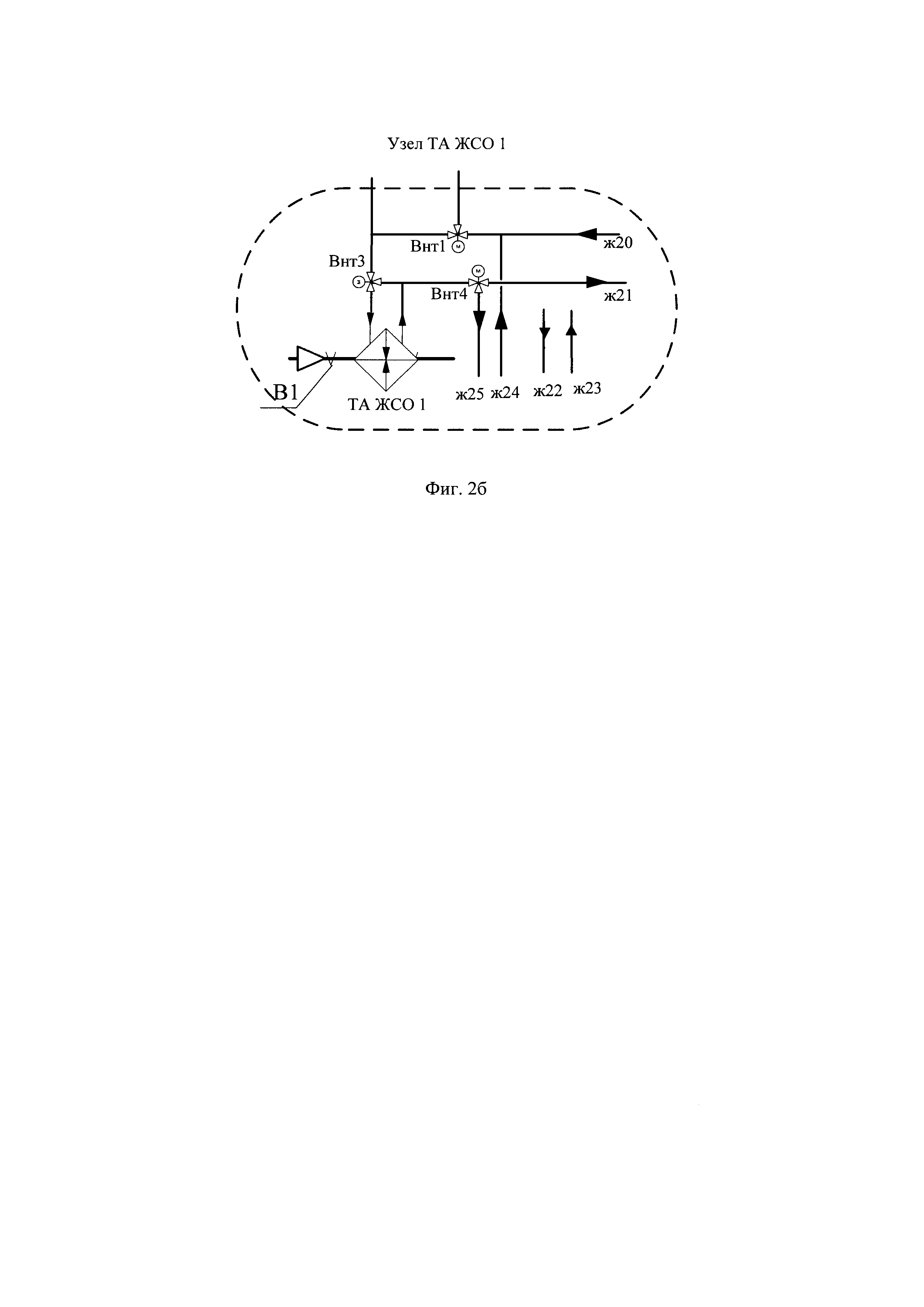
[26]

- использование линий холодного и горячего жидкого теплоносителя от ПКУ для организации теплообменного регулирования температурно-влажностных параметров пространственно-разнесенной системы распределения воздуха наддува. Распределение горячего и холодного теплоносителя от компрессоров и испарителей ПКУ, а также СОТ производится распределительным 4-х ходовым клапаном, перемещение которого синхронизировано с клапаном реверса ПКМ. Это упрощает конструкцию СКВ по сравнению с применяемой в традиционной системе сети воздуховодов и воздушных смесителей, облегчает техническое обслуживание СКВ и снижает ее вес, что сказывается на снижении потребления энергии и топлива СКВ;

[27]

- использование удаляемого из гермокабины воздуха для отвода тепла ПКУ через встроенные в клапанные узлы системы автоматического регулирования давления (САРД) воздушно-жидкостные теплообменники и организация тракта регулируемого подвода части нагнетаемого воздуха в один из клапанных узлов для обеспечения постоянного теплового баланса термодинамического цикла ПКУ. Это исключает необходимость в организации специального тракта продувочного воздуха СКВ с отдельными воздухозаборными устройствами и системой нагнетания, а также упрощает и облегчает конструкцию СКВ, повышает конструкционную целостность планера самолета и снижает его вес, тем самым влияя на снижение потребления топлива СКВ. В тракте подвода устроен узел включения режима изолированной рециркуляции воздуха салонов без подачи в него свежего воздуха. Действие этого узла состоит в направлении нагнетаемого воздуха за трактом подготовки непосредственно в передний теплообменный узел САРД. Это позволяет работать ПКУ только на рециркуляцию кабинного воздуха в процессе предполетной подготовки самолета, например, для быстрого прогрева или охлаждения салонов и в особых случаях, например, при аварийно закрытых клапанах САРД;

[28]

- устройство системы непосредственного жидкостного охлаждения (ЖСО) бортовых тепловыделяющих блоков на основе отвода тепла посредством канальных воздушно-жидкостных теплообменников в воздухозаборниках СКВ с дополнительным охлаждением от линий холодного теплоносителя ПКУ. Стенка воздуховода воздухозаборника СКВ при этом является теплообменной поверхностью канального теплообменника. С целью увеличения коэффициента теплопередачи эта стенка может быть выполнена оребренной, что не влияет на свойства воздухозаборника, как канала подачи воздуха на ЭН. Такое устройство ЖСО упрощает конструкцию теплообменной системы подготовки кабинного воздуха, повышает удобство эксплуатации ЖСО и не требует сопряжения с основной системой отвода тепла СКВ. При экстремально высокой наружной температуре на стоянке и малой высоте полета этот теплообменник изолируется, и работа ЖСО обеспечивается установленным в этом контуре жидкостно-жидкостным ТА холодной линии ПКУ. Предусмотрена возможность отвода части теплоносителя от ТА ЖСО для питания воздушно-жидкостного ТА системы подготовки воздуха наддува, которая может обеспечить работу этой системы на крейсерской высоте полета без участия ПКУ, что значительно снизит энергозатраты СКВ.

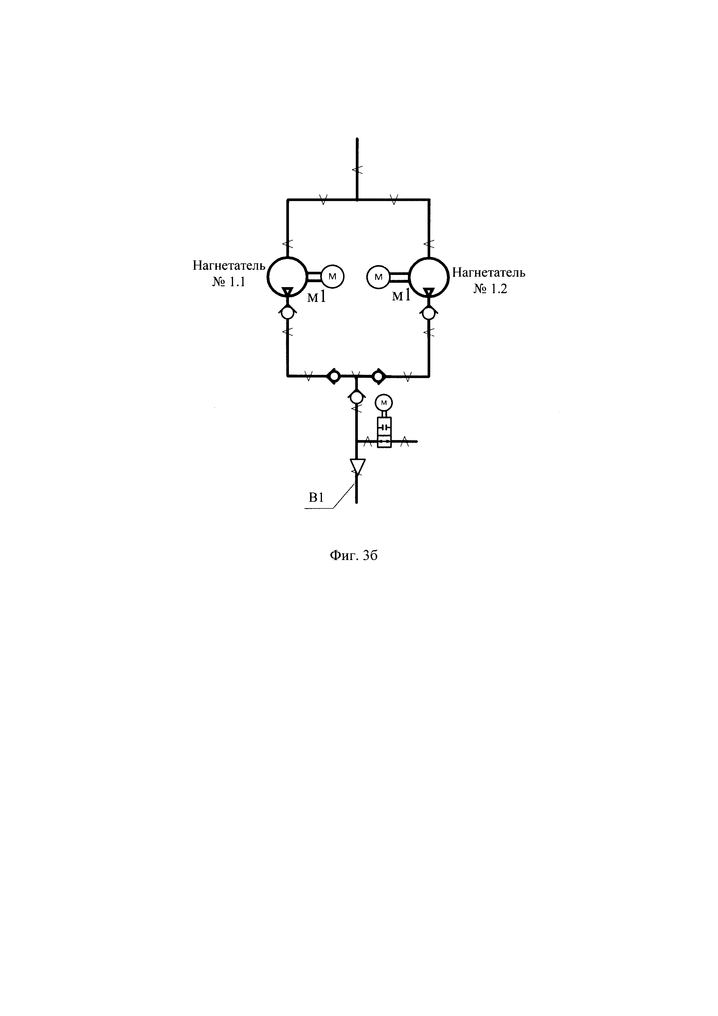
[29]

Изобретение включает структуру теплообменной СКВ, агрегатный состав СКВ и теплотехнические связи между агрегатами, которые обеспечивают решение задачи кондиционирования и вентиляции магистральных самолетов во всех режимах эксплуатации.

[30]

В изобретении не рассматриваются технические устройства управления СКВ, такие, как: клапаны, заслонки, приводные устройства, исполнительные механизмы, датчики и сенсоры термодинамических параметров воздуха и теплоносителей, а также детали устройства ПКМ. Течение теплоносителя по всем гидравлическим контурам обеспечивают насосные группы, показанные на теплотехнических схемах условно или не показаны вообще. Не рассматриваются вычислительные средства, ресурсы системы цифрового управления и детали алгоритмов управления СКВ. Предполагается, что информационно-вычислительные возможности перспективных магистральных самолетов и отработанные в настоящее время устройства контроля и управления СКВ гарантируют решение задачи регулирования в предлагаемом изобретении, поскольку такие задачи являются типичными для существующих систем.

[31]

СКВ, как правило, включает: идентичные левую и правую системы подготовки воздуха наддува, в общем случае идентичные системы теплоэнергетического обеспечения подготовки воздуха, общесамолетную систему подачи, распределения и рециркуляции воздуха наддува.

[32]

Далее изобретение будет описано со ссылками на позиции чертежей, где:

[33]

На фиг. 1 изображена структурная схема теплообменной СКВ.

[34]

На фиг. 2а изображена функциональная схема подсистемы воздухозаборника (ВзL) и ЖСО.

[35]

На фиг. 2б изображена функциональная схема узла ТА ЖСО 1.

[36]

На фиг. 3а изображена функциональная схема спаренного электронагнетателя.

[37]

На фиг. 3б изображена функциональная схема одинарного электронагнетателя.

[38]

На фиг. 4 изображена функциональная схема системы подготовки воздуха наддува гермокабины.

[39]

На фиг. 5 изображена функциональная схема парокомпрессионной установки.

[40]

На фиг. 6 изображена функциональная схема системы отбора тепла от конструкции МДУ на основе жидкого теплоносителя (СОТ) и формирование линий горячего и холодного теплоносителя для потребителей СКВ.

[41]

На фиг. 7 изображена функциональная схема систем подачи и распределения воздуха наддува.

[42]

На фиг. 1 подистемы левой и правой частей СКВ обозначены соответственно индексами L и R.

[43]

Магистрали обозначены:

[44]

Bi, (i - номер магистрали) воздушные каналы - воздуховоды;

[45]

жi, (i - номер магистрали) магистрали теплоносителя (предположительно 60% раствор пропиленгликоля в воде);

[46]

фi - (i - номер магистрали) магистрали хладона бесприводной ПКМ (левой и правой). В общем случае хладоны ф1/ф2 и ф3/ф4 могут быть разными;

[47]

м1, м2 - механические прямые (валы) или, в общем случае, редуцированные механические передачи.

[48]

Тепловое назначение магистралей теплоносителя обозначено: «X» - магистраль контура охлаждения; «Г» - магистраль контура нагрева; «Х/Г» - магистраль, меняющая свой тепловое назначение в зависимости от режима работы теплопоставляющего устройства, например реверсной ПКУ, которая может работать в режиме нагрева или охлаждения. Температура теплоносителя не указывается. Различие обозначений «Х/Г» и «Г/Х» указывает координированные противоположные изменения предназначенности соответствующих магистралей в процессе реверса ПКУ. Типичный диапазон температур прямой «холодной» магистрали ПКУ может составлять от 0°С до плюс 15°С; прямой «холодной» магистрали СЖО от минус 45°С до плюс 50°С; прямой «горячей» магистрали ПКУ от плюс 40°С до плюс 80°С; прямой «горячей» магистрали СОТ до плюс 130 °С. Температура на обратных участках магистралей отличается от температуры на прямых примерно на 10-15°С в соответствующую сторону.

[49]

Схема условно разбита на следующие конструктивно и термодинамически связанные блоки и модули (Фиг. 1):

[50]

ВзL, BзR - входные устройства воздухозаборников левого и правого;

[51]

1L, 1R - модули ЖСО на воздуховоде воздухозаборника;

[52]

1а, 1б, … 1 м - потребители теплоносителя ЖСО для левого модуля ЖСО;

[53]

1в,1 г, … 1н - потребители теплоносителя ЖСО для правого модуля ЖСО;

[54]

2L, 2R - электронагнетатели воздуха наддува;

[55]

2а - аналогичные бесконтактные приводы;

[56]

2б - аналогичные внешние бесприводные компрессоры ПКМ из состава левой (4L) и правой (4R) ПКУ (компрессорные головки);

[57]

3L, 3R - аналогичные левая и правая теплообменные системы подготовки воздуха наддува;

[58]

4L, 4R - аналогичные или, в общем случае, различающиеся левая и правая ПКУ. В состав аналогичных ПКУ, включающих в предпочтительном варианте две реверсивные инверторные ПКМ разного исполнения:

[59]

4а - ПКМ высокотемпературного исполнения (обеспечивающая охлаждение при высокой наружной температуре и обогрев при обычных для инверторных ПКМ наружных температурах) с внешним бесприводным компрессором;

[60]

4б - ПКМ низкотемпературного исполнения (обеспечивающая обогрев при низкой наружной температуре и охлаждение при обычных для инверторных ПКМ наружных температурах) со встроенным компрессором с собственным электроприводом;

[61]

4в - жидкостно-жидкостной ТА отвода холодного теплоносителя от основной прямой магистрали ж1 испарителей левой ПКУ (ж2 - обратная магистраль) - пояснено применительно к режиму ПКУ на охлаждение воздуха нагнетания (в режиме нагрева ж1 становится магистралью горячего теплоносителя от конденсаторов). Аналогично для правой ПКУ (4R), детали правой ПКУ не показаны;

[62]

4г - жидкостно-жидкостной ТА отвода горячего теплоносителя от основной прямой магистрали ж3 конденсаторов левой ПКУ (ж4 - обратная магистраль) - пояснено применительно к режиму ПКУ на охлаждение воздуха нагнетания (в режиме нагрева ж3 становится магистралью испарителей). Аналогично для правой ПКУ (4R), детали правой ПКУ не показаны;

[63]

4д - 4-х ходовой клапан распределения горячего и холодного теплоносителя по соответствующим магистралям от левой ПКУ (аналогично от правой), координированный с 4-х ходовыми клапанами теплового реверса ПКУ (перемена режимов работы охлаждение/нагрев);

[64]

4е - смесительное устройство горячего теплоносителя от ПКУ и СОТ;

[65]

5L, 5R (не показана) - левая и правая аналогичные МДУ с СОТ;

[66]

5а - жидкостной радиатор или система радиаторов, наложенных на обечайку КВД (воздушно-жидкостной канальный ТА, где теплообменная поверхность - обечайка КВД);

[67]

5б - жидкостной радиатор на внутренней стороне стенки обтекателя воздухозаборника МДУ - компонент ПОС.

[68]

5в - воздушно-жидкостной ТА для сброса избытков тепла СОТ данной МДУ.

[69]

6 - система распределения воздуха наддува гермокабины, включающая (Фиг. 7) смеситель (6а) подготовленного свежего воздуха от модулей (3L) и (3R), подаваемого по воздуховодам (В2), и рециркуляционного воздуха (В5), забираемого из тепловых зон салона и/или подпольного пространства. В подающих воздуховодах установлены ТА (ТАвж3. ТАвж4) и другие устройства регулирования температуры и влажности воздуха, поступающего в соответствующие тепловые зоны салонов. Для этого оборудования в систему (6) подводятся прямые и обратные магистрали холодного и горячего теплоносителя (ж5-8, от левой части СКВ, ж30-33 - от правой) и установлены вентили-смесители Внт5-Внт8 регулирования температуры подаваемого на ТА теплоносителя. В кабину пилотов отводится только свежий воздух B11 от (3L) и (3R);

[70]

7 - гермокабина, состоящая из тепловых зон пассажирских салонов;

[71]

8 - подпольное пространство с внутренней рециркуляцией или прямоточным вентилированием подпольных отсеков: багажного, грузового, БРЭО. Воздух (В8) поступает естественным путем под действием разности давления в салонном объеме и подпольном пространстве. На теплообменные аппараты регулирования температуры воздуха в отсеках этого пространства (не показаны, аналогичны аппаратам системы распределения воздуха наддува) подводятся прямые и обратные магистрали холодного и горячего теплоносителя (ж9-12, от левой части СКВ, ж34-37 - от правой) Отвод отработанного воздуха В9 производится через модифицированную клапанную группу 10.

[72]

9 - система рециркуляции воздуха салонов (Фиг. 7) осуществляет регулируемый забор воздуха (В4) из салонов и/или подпольного пространства, производит фильтрацию (Ф1) и подает (В5) в смеситель (6а) системы распределения воздуха наддува. В изобретении принят вариант фильтрации без тепловой подготовки, которая выполняется в контуре подачи воздуха В6 в салоны;

[73]

10 - модифицированная клапанная группа удаления кабинного воздуха САРД (Фиг. 1, 5, 7), в которую встроены ТА отвода избытков тепла конденсации/испарения в удаляемый кабинный воздух (В7, В8) для баланса термодинамического цикла ПКУ и сброса его в атмосферу (В11). В эту систему подается добавочный воздух (В4) от ЭН для термодинамической коррекции этого процесса. Подача теплоносителя, отводящего избыток тепла ПКУ, производится по магистралям ж3, ж4, ж28, ж29 конденсаторов/испарителей ПКУ. Максимальная расчетная теплопроизводительность ТА должна соответствовать максимальной теплопроизводительности ПКУ при расходе и энтальпии воздушной смеси удаляемого через САРД воздуха и добавочного воздуха, отбираемого от ЭН. Тепловая схема клапанной группы в рамках изобретения не прорабатывалась;

[74]

11L, 11/R - левые и правые аналогичные регуляторы расхода добавочного воздуха (В10). Воздух (В10) отбирается от ЭН и подается в модифицированную клапанную группу удаления кабинного воздуха САРД (10) для увеличения эффективности ТА отвода тепла конденсации/испарения ПКУ в процессе обеспечения баланса ее термодинамического цикла;

[75]

12L, 12R - левые и правые аналогичные узлы организации режима изолированной рециркуляции гермокабины (Фиг. 4) для ускорения предполетной тепловой подготовки самолета и в особых случаях, при которых воздух (В12) проходит теплообменные системы подготовки воздуха наддува (3L, 3R), обеспечивая работу левой и правой ПКУ (4L, 4R), и перенаправляется в модифицированную клапанную группу (10), минуя канал поступления воздуха в систему распределения воздуха наддува гермокабины (6). При этом регуляторы (11L, 11R) работают в штатном режиме обеспечения баланса ПКУ, т.е. расход воздуха В10 увеличивается на величину В12. Изолированная рециркуляции гермокабины (Фиг. 1) составляет воздушный контур (В4) → (В5) → (В6). Отвод воздуха (В9) минимизируется. Возможна организация изолированной рециркуляции с привлечением одной ПКУ.

[76]

Последовательность теплотехнических процессов предлагаемого изобретения СКВ описана ниже.

[77]

Далее пояснения приводятся для одного идентичного контура подготовки воздуха (левого, с компонентами, помеченными индексом L).

[78]

1. Контур забора наружного воздуха (Фиг. 1, 2а, 2б, Модуль 1L).

[79]

Наружный воздух (В1) на земле и в полете через регулируемый с помощью управляемой заслонки (ЗУ1) воздухозаборник (ВзL), входной воздуховод, являющийся внутренним каналом воздушно-жидкостного канального ТА (ТА ЖСО 1) подается на ЭН (2L) (Фиг. 1, 2а).

[80]

ЖСО может работать в трех режимах, которые организуются посредством изменения движения теплоносителя (ТН), побуждаемого насосной группой (НГ), в контурах этого модуля путем координированного переключения управляющих вентилей Внт1 - Внт4 (Фиг. 2а, 2б):

[81]

- только отвод тепла бортовых тепловыделяющих блоков (1а, 1б… 1м) за счет теплопередачи в ТА ЖСО 1 ((Внт1) - перекрывает ТА ЖСО 2, (Внт2) - перекрывает магистраль ж23, (Внт3) подает ТН в ТА ЖСО 1, (Внт4) перекрывает ж25);

[82]

- только отвод тепла бортовых тепловыделяющих блоков (1а, 1б… 1м) за счет теплопередачи в дополнительном теплообменнике ТА ЖСО 2, получающем холодный ТН от ПКУ ((Внт1) - перекрывает ТН на ТА ЖСО 2, (Внт2) - открывает магистраль ж23, (Внт3) перекрывает ТА ЖСО 1, (Внт4) перекрывает ж25);

[83]

- отвод тепла бортовых тепловыделяющих блоков и подача части охлажденного в ТА ЖСО 1 за счет низкой температуры набегающего потока ТН в режиме крейсерского полета в модуль подготовки воздуха наддува 3L по магистралям ж24, ж25 (Внт1) -перекрывает ТА ЖСО 2, (Внт2) - перекрывает магистраль ж23, (Внт3) подает ТН в ТА ЖСО 1, (Внт4) распределяет ТН по магистралям ж21/ж20 и ж24/ж25 в соответствии с тепловыми нагрузками в этих магистралях).

[84]

2. Контур электронагнетателя (Фиг. 1, 3а, 3б, Модуль 2L).

[85]

- Из воздуховода (1L (R)) наружный воздух проходит на ЭН (2L (R)) и далее в систему подготовки воздуха наддува (6). Модуль ЭН, состоящий из одного нагнетателя предложено сопрягать с выносным бесприводным компрессором-компрессорной головкой одной ПКМ, входящей в состав соответствующей ПКУ. В модуле ЭН с несколькими нагнетателями при их совместной работе наружный воздухов подается в систему подготовки воздуха наддува через смесительное устройство (Фиг. 3б). Крутящий момент на бесприводной герметичный компрессор передается через бесконтактный привод, например, маглевный (14) (Фиг. 3а). Магнитное взаимодействие происходит через стенку герметичной компрессорной головки, в которой находится газообразный фреон с давлением 10 - 20 бар. При этом регулирование производительности связанной ПКМ в условиях изменяющейся скорости вращения привода ЭН с блоком управления (13), регулирующем расход воздуха наддува, может производиться путем известного метода управляемого перепуска хладагента в компрессоре холодильной машины из полости высокого давления в полость низкого давления (байпасирования теплоносителя) или иным методом.

[86]

3. Теплообменные системы подготовки воздуха наддува (Фиг. 1, 4, Модуль 3L).

[87]

В тракт подготовки воздуха наддува (3L, 3R) воздух поступает от собственного ЭН (В1) или, в особых случаях, от ЭН второй СКВ или от обоих ЭН (В3). В каждом тракте последовательно установлены (Фиг. 1, 4): воздушно-жидкостной двухрежимный теплообменник (охлаждение/нагрев) ТАвж1, в который жидкий теплоноситель подается от ПКУ (ж1,ж2) и/или теплообменника ЖСО (ж24, ж25) - на крейсерской высоте; влагоотделитель (Bo1); воздушно-жидкостной теплообменник нагрева ТАвж2, в который жидкий теплоноситель подается от СОТ (ж13, ж14). При прохождении через последовательный ряд этих теплотехнических устройств происходит термодинамический процесс изменения температуры и влажности нагнетаемого воздуха. Режимы работы этих устройств определяются заданными температурно-влажностными параметрами воздуха на выходе системы (точка В на Фиг. 4): температурой ТВ и влажностью Qb, и реализуются системой управления СКВ.

[88]

В тракте подготовки воздуха наддува устроены воздушные отводы:

[89]

- на или от линии кольцевания подачи воздуха нагнетания В3 от правого и левого электронагнетателей (клапан ЗУ1);

[90]

- на организацию подачи воздуха (В12) к узлу режима изолированной рециркуляции кабинного воздуха с заслонками (ЗУ3) и (ЗУ4);

[91]

- на теплообменный модуль (В10) переднего (условно) клапанного узла САРД;

[92]

- на подачу свежего воздуха (B11) в кабину пилотов.

[93]

Мощность нагнетания обеспечивает расчетное давление в гермокабине и преодоление гидравлического сопротивления воздушных трактов СКВ. Расход воздуха соответствует пассажирозагрузке в сумме с дополнительным воздухом, отводимым в модифицированный клапанный узел САРД. Регулирование давления нагнетания и расхода воздуха производится входными устройствами и изменением скорости вращения ЭН. Состав и схема системы регулирования этих параметров в изобретении не рассматривается, поскольку она принципиально не отличается от систем, используемых для подобной задачи в классических СКВ и на аналогах. На этом же основании не рассматриваются системы управления в других контурах теплотехнической схемы изобретения. Предполагается, что для перспективных воздушных судов задача управления СКВ любой сложности может быть гарантированно решена. При отказе одного из модулей ЭН открывается заслонка кольцевания (ЗУ1) и воздух нагнетания от исправного ЭН подается в обе системы подготовки воздуха наддува СКВ. При этом исправный ЭН переходит в режим повышенной мощности. Такой режим обеспечивается проектировочным запасом мощности ЭН или дублированием нагнетателей в модуле ЭН.

[94]

Узел режима изолированной рециркуляции (12L), (12R) организует проход воздуха нагнетания путем закрытия заслонки (ЗУ4) и открытия (ЗУ3). При этом воздух наддува не поступает в гермокабину, но контуры испарителей и конденсаторов ПКУ работают. Это обеспечивает возможность охлаждения или обогрева воздуха в гермокабине в режиме рециркуляции при необходимости ускоренной тепловой предполетной подготовки самолета или при аварийном или штатном закрытии клапанов отвода воздуха САРД.

[95]

Подача части воздуха нагнетания в теплообменный модуль переднего клапанного узла САРД в штатном режиме термодинамической балансировки ПКУ производится по схеме (Фиг. 4): точки А → F → регулятор расхода ЗУ2 → D → теплообменный модуль переднего клапанного узла САРД. При этом заслонка ЗУ3 закрыта. Подача воздуха наддува в гермокабину происходит по схеме: точки А → В → С. → заслонка ЗУ4 (открыта) → Е → в систему распределения воздуха наддува и кабину пилотов. Из гермокабины воздух удаляется через модифицированную клапанную систему САРД.

[96]

4. Парокомпрессионные установки левой и правой частей СКВ (Фиг. 5) с отводом тепла ПКУ в удаляемый из гермокабины воздух в теплообменных модулях САРД (контур 4L).

[97]

Каждая установка включает комплекс парокомпрессионных реверсивных машин с инверторным управлением и промежуточным жидким хладоносителем в контурах испарителей и конденсаторов. Комплекс включает ПКМ разного исполнения с взаимодополняющими термодинамическим циклами, что обеспечит эффективную работу ПКУ во всем эксплуатационном диапазоне. На Фиг. 5 показаны установки, включающие две разные ПКМ, одна из которых может иметь высокотемпературное исполнение и обеспечивает эффективное охлаждение при экстремально высокой наружной температуре, другая - низкотемпературного исполнения, которая обеспечивает нагрев при экстремально низкой наружной температуре. В диапазоне нормальных эксплуатационных температурно-влажностных условий эти ПКМ работают с оптимальной эффективностью как в режиме охлаждения, так и режиме нагрева. В общем случае все ПКМ могут быть разными, а ПКУ могут состоять из большего количества ПКМ, формирующих оптимальную область эффективной работы СКВ. В другом предпочтительном варианте при двух и более холодильных установках в каждую может входить одна парокомпрессионная машина с выносным или встроенным компрессором, но отличающаяся от других своим рабочим температурным диапазоном. ПКМ каждой ПКУ работают на общие для этой установки магистрали промежуточного теплоносителя контуров конденсаторов и испарителей. В ПКУ установлены 4-х ходовые клапаны (4д) и блоки смесителей (4е), формирующие правые и левые магистрали холодного и горячего теплоносителя. В теплообменном модуле переднего клапанного устройства САРД (обычно с наибольшим расходом воздуха) установлен эжекторный смеситель-дозатор удаляемого воздуха и воздуха, подводимого от правого и левого ЭН (16). Смеситель регулирует расход воздуха, продуваемого через воздушно-жидкостные ТА этого модуля для обеспечения термодинамического баланса ПКУ и поддерживает требуемый расход удаляемого кабинного воздуха. При закрытых клапанах САРД с помощью этого смесителя обеспечивается режим изолированной рециркуляции кабинного воздуха.

[98]

5. Левая и правая СОТ от конструкции КВД МДУ (Фиг. 6)

[99]

В предложенном изобретении используется отбор тепла жидкостным теплоносителем с помощью жидкостного радиатора на обечайке КВД МДУ. Подача теплоносителя, регулирование производительности, обеспечение безопасности работы и контроль СОТ осуществляются насосной группой, системами регулирования расхода, температуры, давления теплоносителя, предохранительными устройствами и пр.

[100]

Основное назначение СОТ состоит в обеспечении горячим теплоносителем ТА в тракте подготовки воздуха наддува и участия в питании магистралей горячего теплоносителя теплообменных подсистем СКВ (рециркуляции, вентиляции технологических, багажно-грузовых отсеков). Для этого предусмотрены смесители, в которых дозированно смешиваются потоки горячего теплоносителя от ПКУ (от 4-х ходовых распределительных клапанов (КлL/R), Фиг. 6) и СОТ. СОТ может использоваться при неработающих МДУ за счет установки в их подающих магистралях проточных электронагревателей Энг СОТ. Дополнительной функцией СОТ может быть обогрев кромки воздухозаборника МДУ в составе ПОС. Отвод избытков тепла СОТ и регулирование ее теплопроизводительности производится с помощью воздушно-жидкостного ТА, встроенного в обтекатель воздухозаборника МДУ.

[101]

6. Системы подачи и распределения воздуха наддува

[102]

Система имеют традиционную структуру за исключением отсутствия смесителей горячего и холодного воздуха в трактах раздачи воздуха по тепловым зонам салонов, вспомогательных и технических отсеков. В изобретении предлагается на систему рециркуляции возложить основную задачу удаления внутренних тепло- и влаговыделений в салонах самолета, аналогично схеме, принятой на прототипе. Это уменьшит требуемую мощность системы нагнетания, которая обеспечивает санитарную норму по расходу воздуха, а комфортные климатические условия создаются системой рециркуляции. Температурно-влажностные и гигиенические параметры воздуха рециркуляции реализуются с помощью последовательного расположения двухрежимных воздушно-жидкостных теплообменников (охлаждения и нагрева), фильтров, механических и абсорбционных осушителей (не показаны) и увлажнителей (не показаны) в тракте раздачи воздуха, а также вспомогательных электронагревателей (Фиг. 7). Двухрежимные охлаждающие/нагревающие воздушно-жидкостные теплообменники ТАвж3, ТАвж4 обеспечиваются теплоносителем соответствующей температуры из дозирующих смесителей горячего и холодного теплоносителя Внт5 - Внт8, поступающего из одноименных магистралей ПКУ ж7-ж8 и ж30-ж33. Регулирование параметров воздуха в багажно-грузовых отсеках и отсеке БРЭО (8), (Фиг. 1) производится самостоятельными системами рециркуляции внутри отсеков с теплообменными аппаратами общей теплообменной системы, аналогичными указанным выше и дополнительными электронагревателями (не показаны).

[103]

7. Система автоматического регулирования давления

[104]

В предлагаемом изобретении эта система существенно изменена по сравнению с классическими конструкциями. Изменения связаны с использованием удаляемого через САРД кабинного воздуха для сброса тепла обратного участка парокомпрессионного цикла ПКУ (тепла конденсации хладагента в режиме охлаждения или испарения в режиме обогрева). В тепловой схеме изобретения принята двухклапанная САРД, включающая передний клапанный и кормовой клапанные узлы (Фиг. 5). Принято, что передний узел обеспечивает больший расход удаляемого воздуха, чем кормовой. В каждом клапанном узле САРД устаивается комбинированный теплообменник, объединяющий в себе воздушно-жидкостные ТА магистралей теплоносителя обратного участка цикла левой и правой ПКУ (Фиг. 8), ТАвж5, ТАвж6 - переднего клапанного узла, ТАвж7, ТАвж8 - кормового клапанного узла). Распределение теплоносителя каждой ПКУ по переднему и кормовому узлам регулируется вентилями (Внт9, Внт10, которые управляются системой управления СКВ. На входные воздушные фланцы переднего и кормового узлов устанавливаются клапаны САРД обычной конструкции (РУ1, РУ2), управляемые в соответствии с принятым расходом воздуха наддува и законом изменения давления в гермокабине. Выходные фланцы узлов выводится на поверхность фюзеляжа. Воздух на передний узел САРД (В12) подается от смесителя-дозатора добавочного воздуха от правого и левого ЭН (В10), следующего за ним эжекторного устройства смешения удаляемого из гермокабины воздуха (В7) и дополнительного воздуха подмеса (В10) от ЭН (Фиг. 8). Это требуется для обеспечения регулирования расхода продуваемого воздуха с целью поддержания постоянного теплового баланса термодинамического цикла ПКУ (баланса теплоты рабочего и обратного участков диаграммы «давление-энтальпия» цикла ПКУ). Поддержание термодинамического баланса с учетом неодинакового количества тепла, отбираемого в холодную и горячую магистрали хладоносителя ПКУ может дополнительно потребовать использования буферных жидкостных ТА между этими магистралями (на схемах не показаны).

Как компенсировать расходы
на инновационную разработку
Похожие патенты