патент
№ RU 2663170
МПК B01D45/16

УСТРОЙСТВО ДЛЯ ОЧИСТКИ ГАЗА ОТ ПЫЛИ (ВАРИАНТЫ)

Авторы:
Красный Максим Борисович
Номер заявки
2017137761
Дата подачи заявки
30.10.2017
Опубликовано
01.08.2018
Страна
RU
Как управлять
интеллектуальной собственностью
Чертежи 
4
Реферат

Изобретение относится к области решений по удалению дисперсных частиц из газов и может быть использовано для очистки газов от пыли в металлургической промышленности и энергетике. Устройство для удаления частиц из газа содержит газовый канал, ограниченный в горизонтальном направлении первой вертикальной стенкой и второй вертикальной стенкой. Газовый канал содержит поворотный участок, включающий большой окружной элемент первой вертикальной стенки, который на виде сверху включает большой дуговой участок в виде дуги окружности с заданным радиусом, ограниченной заданным углом. Центр кривизны большого дугового участка находится на стороне второй вертикальной стенки. Поворотный участок включает также первый малый окружной элемент и второй малый окружной элемент второй вертикальной стенки, которые на виде сверху включают соответственно первый малый дуговой участок и второй малый дуговой участок, имеющие вид дуги окружности с заданным радиусом, ограниченной углом, который меньше заданного угла. Центры кривизны первого малого дугового участка и второго малого дугового участка находятся на стороне первой вертикальной стенки. Второй малый окружной элемент по направлению потока расположен следом за указанным первым малым окружным элементом и сопрягается с ним на участке сопряжения, который находится в области центра кривизны большого дугового участка большого окружного элемента. На участке сопряжения первого малого окружного элемента и второго малого окружного элемента со стороны первого малого окружного элемента расположен вертикальный щелевой проем, через который газовый канал сообщается с емкостью для сбора частиц. В области конца большого дугового участка большого окружного элемента, который является нижним по направлению потока, расположен вертикальный щелевой проем, через который газовый канал сообщается с емкостью для сбора частиц. Устройство может содержать множество последовательно расположенных поворотных участков. Изобретение обеспечивает повышение эффективности удаления частиц из газа без существенного увеличения его веса и габаритов. 2 н. и 20 з.п. ф-лы, 5 ил.

Формула изобретения

1. Устройство для удаления частиц из газа, включающее газовый канал, ограниченный в горизонтальном направлении первой вертикальной стенкой и второй вертикальной стенкой, расположенной напротив первой вертикальной стенки, а в вертикальном направлении - верхней и нижней горизонтальными панелями, причем газовый канал содержит поворотный участок, включающий

большой окружной элемент первой вертикальной стенки, который на виде сверху включает большой дуговой участок в виде дуги окружности с заданным радиусом, ограниченной заданным углом, причем центр кривизны большого дугового участка находится на стороне второй вертикальной стенки,

первый малый окружной элемент второй вертикальной стенки, который на виде сверху включает первый малый дуговой участок в виде дуги окружности с заданным радиусом, ограниченной углом, который меньше заданного угла, причем центр кривизны первого малого дугового участка находится на стороне первой вертикальной стенки,

второй малый окружной элемент второй вертикальной стенки, который на виде сверху включает второй малый дуговой участок в виде дуги окружности с заданным радиусом, ограниченной углом, который меньше заданного угла, причем центр кривизны второго малого дугового участка находится на стороне первой вертикальной стенки, причем

второй малый окружной элемент по направлению потока расположен следом за указанным первым малым окружным элементом и сопрягается с ним на участке сопряжения, который находится в области центра кривизны большого дугового участка большого окружного элемента, при этом

на участке сопряжения первого малого окружного элемента и второго малого окружного элемента со стороны первого малого окружного элемента расположен вертикальный щелевой проем, через который газовый канал сообщается с емкостью для сбора частиц, кроме того,

в области конца большого дугового участка большого окружного элемента, который является нижним по направлению потока, расположен вертикальный щелевой проем, через который газовый канал сообщается с емкостью для сбора частиц.

2. Устройство по п. 1, в котором вертикальный щелевой проем на первой вертикальной стенке имеет меньшую ширину, чем вертикальный щелевой проем на второй вертикальной стенке.

3. Устройство по п. 1, в котором первая вертикальная стенка содержит изогнутый участок, который имеет меньший радиус изгиба, чем заданный радиус, а его центр кривизны находится на стороне первой вертикальной стенки вне газового канала, при этом изогнутый участок расположен ниже по потоку относительно большого окружного элемента и конец большого дугового участка большого окружного элемента входит в изогнутый участок с образованием вертикального щелевого проема между ними, через который газовый канал сообщается с емкостью для сбора частиц.

4. Устройство по п. 1, в котором второй малый окружной элемент на участке сопряжения с первым малым окружным элементом имеет примыкающий к концу второго малого дугового участка изогнутый участок, который имеет меньший радиус изгиба, чем заданный радиус, а его центр кривизны находится на стороне второй вертикальной стенки вне газового канала, при этом конец первого малого дугового участка первого малого окружного элемента входит в изогнутый участок второго малого окружного элемента с образованием вертикального щелевого проема между ними.

5. Устройство по п. 4, газовый канал которого содержит множество последовательно расположенных поворотных участков, причем

большой окружной элемент первой вертикальной стенки каждого следующего поворотного участка имеет примыкающий к концу большого дугового участка изогнутый участок, который имеет меньший радиус изгиба, чем заданный радиус, а его центр кривизны находится на стороне первой вертикальной стенки вне газового канала, при этом конец большого дугового участка большого окружного элемента предыдущего поворотного участка входит в изогнутый участок большого окружного элемента следующего поворотного участка с образованием вертикального щелевого проема между ними, и

второй малый окружной элемент второй вертикальной стенки каждого предыдущего поворотного участка и первый малый окружной элемент второй вертикальной стенки следующего поворотного участка выполнены за одно и вместе образуют большой окружной элемент второй вертикальной стенки, аналогичный второму большому окружному элементу первой вертикальной стенки.

6. Устройство по п. 5, в котором имеется случай, когда вертикальный щелевой проем, расположенный ниже по направлению потока, имеет меньшую ширину, чем находящийся перед ним вертикальный щелевой проем, расположенный выше по направлению потока.

7. Устройство по п. 5, в котором вне газового канала касательно к первой и второй вертикальным стенкам расположены продольные вертикальные пластины, а пространства между каждой из первой и второй вертикальных стенок и соответствующей ей продольной вертикальной пластиной сообщаются с емкостью для сбора частиц.

8. Устройство по любому из пп. 1-7, в котором упомянутый газовый канал является первым газовым каналом, при этом устройство содержит второй газовый канал, выполненный в симметрии с первым газовым каналом относительно вертикальной плоскости, проходящей вне первого газового канала со стороны второй вертикальной стенки параллельно плоскости, касательной к ней.

9. Устройство по п. 1, в котором между нижней горизонтальной панелью и, по меньшей мере, частью большого дугового участка, находящейся ниже по направлению потока, образована первая горизонтальная щель,

между нижней горизонтальной панелью и первым малым дуговым участком образована вторая горизонтальная щель, и

между нижней горизонтальной панелью и, по меньшей мере, частью второго малого дугового участка, находящейся ниже по направлению потока, образована третья горизонтальная щель, причем

через первую, вторую и третью горизонтальные щели газовый канал сообщается с емкостью для сбора частиц.

10. Устройство по п. 9, в котором вертикальный щелевой проем на первой вертикальной стенке имеет меньшую ширину, чем вертикальный щелевой проем на второй вертикальной стенке.

11. Устройство по п. 9, в котором первая вертикальная стенка содержит изогнутый участок, который имеет меньший радиус изгиба, чем заданный радиус, а его центр кривизны находится на стороне первой вертикальной стенки вне газового канала, при этом изогнутый участок расположен ниже по потоку относительно большого окружного элемента, и конец большого дугового участка большого окружного элемента входит в изогнутый участок с образованием вертикального щелевого проема между ними, через который газовый канал сообщается с емкостью для сбора частиц.

12. Устройство по п. 9, в котором второй малый окружной элемент на участке сопряжения с первым малым окружным элементом имеет примыкающий к концу второго малого дугового участка изогнутый участок, который имеет меньший радиус изгиба, чем заданный радиус, а его центр кривизны находится на стороне второй вертикальной стенки вне газового канала, при этом конец первого малого дугового участка первого малого окружного элемента входит в изогнутый участок второго малого окружного элемента с образованием вертикального щелевого проема между ними.

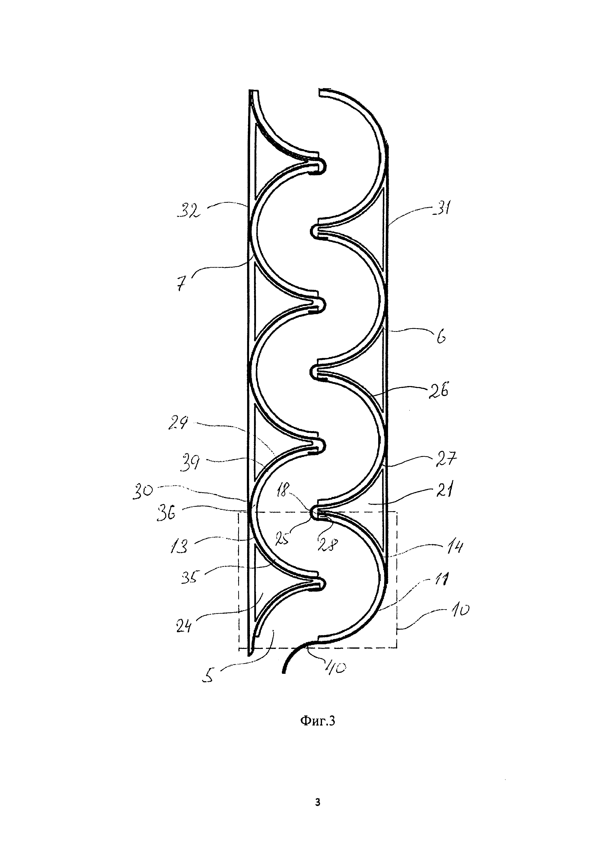
13. Устройство по п. 12, газовый канал которого содержит множество последовательно расположенных поворотных участков, причем

большой окружной элемент первой вертикальной стенки каждого следующего поворотного участка имеет примыкающий к концу большого дугового участка изогнутый участок, который имеет меньший радиус изгиба, чем заданный радиус, а его центр кривизны находится на стороне первой вертикальной стенки вне газового канала, при этом конец большого дугового участка большого окружного элемента предыдущего поворотного участка входит в изогнутый участок большого окружного элемента следующего поворотного участка с образованием вертикального щелевого проема между ними, и

второй малый окружной элемент второй вертикальной стенки каждого предыдущего поворотного участка и первый малый окружной элемент второй вертикальной стенки следующего поворотного участка выполнены за одно и вместе образуют большой окружной элемент второй вертикальной стенки, аналогичный второму большому окружному элементу первой вертикальной стенки, при этом

третья горизонтальная щель каждого предыдущего поворотного участка и вторая горизонтальная щель каждого следующего поворотного участка выполнены за одно с образованием первой горизонтальной щели, аналогичной первой горизонтальной щели, расположенной у первой вертикальной стенки.

14. Устройство по п. 13, в котором имеется случай, когда вертикальный щелевой проем, расположенный ниже по направлению потока, имеет меньшую ширину, чем находящийся перед ним вертикальный щелевой проем, расположенный выше по направлению потока.

15. Устройство по п. 13, в котором имеется случай, когда первая горизонтальная щель, расположенная ниже по направлению потока, имеет меньшую ширину, чем находящаяся перед ней первая горизонтальная щель, расположенная выше по направлению потока.

16. Устройство по п. 13, в котором вне газового канала касательно к первой и второй вертикальным стенкам расположены продольные вертикальные пластины, а пространства между каждой из первой и второй вертикальных стенок и соответствующей ей продольной вертикальной пластиной сообщаются с емкостью для сбора частиц.

17. Устройство по любому из пп. 9-16, в котором упомянутый газовый канал является первым газовым каналом, при этом устройство содержит второй газовый канал, выполненный в симметрии с первым газовым каналом относительно вертикальной плоскости, проходящей вне первого газового канала со стороны второй вертикальной стенки параллельно плоскости, касательной к ней.

18. Устройство для удаления частиц из газа, включающее газовый канал, ограниченный в горизонтальном направлении первой вертикальной стенкой и второй вертикальной стенкой, расположенной напротив первой вертикальной стенки, а в вертикальном направлении - верхней и нижней горизонтальными панелями, причем газовый канал содержит поворотный участок, включающий

большой окружной элемент первой вертикальной стенки, который на виде сверху включает большой дуговой участок в виде дуги окружности с заданным радиусом, ограниченной заданным углом, причем центр кривизны большого дугового участка находится на стороне второй вертикальной стенки,

первый малый окружной элемент второй вертикальной стенки, который на виде сверху включает первый малый дуговой участок в виде дуги окружности с заданным радиусом, ограниченной углом, который меньше заданного угла, причем центр кривизны первого малого дугового участка находится на стороне первой вертикальной стенки,

второй малый окружной элемент второй вертикальной стенки, который на виде сверху включает второй малый дуговой участок в виде дуги окружности с заданным радиусом, ограниченной углом, который меньше заданного угла, причем центр кривизны второго малого дугового участка находится на стороне первой вертикальной стенки, причем

второй малый окружной элемент по направлению потока расположен следом за указанным первым малым окружным элементом и сопрягается с ним на участке сопряжения, который находится в области центра кривизны большого дугового участка большого окружного элемента, при этом

между нижней горизонтальной панелью и, по меньшей мере, частью большого дугового участка, находящейся ниже по направлению потока, образована первая горизонтальная щель,

между нижней горизонтальной панелью и первым малым дуговым участком образована вторая горизонтальная щель, а

между нижней горизонтальной панелью и, по меньшей мере, частью второго малого дугового участка, находящейся ниже по направлению потока, образована третья горизонтальная щель, причем

через первую, вторую и третью горизонтальные щели газовый канал сообщается с емкостью для сбора частиц.

19. Устройство по п. 18, в котором участок сопряжения включает изогнутый участок, который соединяет второй малый окружной элемент с первым малым окружным элементом и который имеет меньший радиус изгиба, чем заданный радиус, а его центр кривизны находится на стороне второй вертикальной стенки вне газового канала.

20. Устройство по п. 19, газовый канал которого содержит множество последовательно расположенных поворотных участков, причем

большой окружной элемент первой вертикальной стенки каждого следующего поворотного участка сопрягается с большим окружным элементом каждого предыдущего поворотного участка на участке сопряжения, аналогичном участку сопряжения между вторым малым окружным элементом и первым малым окружным элементом второй вертикальной стенки, и

второй малый окружной элемент второй вертикальной стенки каждого предыдущего поворотного участка и первый малый окружной элемент второй вертикальной стенки следующего поворотного участка образуют большой окружной элемент второй вертикальной стенки, аналогичный большому окружному элементу первой вертикальной стенки, при этом

третья горизонтальная щель каждого предыдущего поворотного участка и вторая горизонтальная щель каждого следующего поворотного участка выполнены за одно с образованием первой горизонтальной щели у второй вертикальной стенки, аналогичной первой горизонтальной щели, расположенной у первой вертикальной стенки.

21. Устройство по п. 20, в котором имеется случай, когда первая горизонтальная щель расположенная ниже по направлению потока, имеет меньшую ширину, чем находящаяся перед ней первая горизонтальная щель, расположенная выше по направлению потока.

22. Устройство по любому из пп. 18-21, в котором упомянутый газовый канал является первым газовым каналом, при этом устройство содержит второй газовый канал, выполненный в симметрии с первым газовым каналом относительно вертикальной плоскости, проходящей вне первого газового канала со стороны второй вертикальной стенки параллельно плоскости, касательной к ней.

Описание

[1]

Область техники

[2]

[1] Изобретение относится к области решений по удалению дисперсных частиц из газов и может быть использовано, например, для очистки газов от пыли в металлургической промышленности, энергетике и в других отраслях.

[3]

Предпосылки к созданию изобретения

[4]

[2] Традиционным решением проблемы по удалению дисперсных частиц из газов, нашедшим широкое применение в различных технологических процессах, является циклон. Циклон представляет собой устройство, в котором запыленный газ подается в цилиндрическую верхнюю часть емкости, имеющей также коническую нижнюю часть, через тангенциально расположенный вход и закручивается вокруг оси цилиндра. Частицы пыли под действием центробежной силы прижимаются к стенкам емкости, теряют свою скорость и опускаются в установленный снизу пылевой бункер, а очищенный газ выводится наверх через выход, расположенный соосно с упомянутой осью.

[5]

[3] Однако нередко устройство, выполненное по описанной выше схеме, не обеспечивает достижение требуемой степени пылеочистки. В этом случае эффективность удаления частиц может быть повышена путем последовательной установки двух или более циклонов, причем выход очищенного газа первого циклона соединен с входом второго и т.д. Данный подход использован, например, в конфигурациях, раскрытых в патентных публикациях RU 2137528 C1, 20.09.1999 или US 2014245889 A1, 04.09.2014, и является прототипом изобретения.

[6]

[4] Следует отметить, что при использовании прототипа существенно возрастают габариты устройства для очистки газа от пыли, его материалоемкость и т.п. Кроме того, в связи с существенным падением давления в газовом канале, проходящем через несколько последовательно установленных циклонов, требуется использование промежуточных насосов, что значительно усложняет конфигурацию и вызывает необходимость включения в нее других вспомогательных устройств.

[7]

[5] Целью изобретения является создание устройства, способного повысить эффективность удаления частиц из газа без существенного увеличения его веса и габаритов, имеющего при этом простую конструкцию и не требующего использования дополнительных нагнетательных устройств.

[8]

Сущность изобретения

[9]

[6] Для достижения указанной цели предложены два объекта изобретения, являющихся его вариантами.

[10]

[7] Первый объект изобретения представляет собой устройство для удаления частиц из газа, включающее газовый канал, ограниченный в горизонтальном направлении первой вертикальной стенкой и второй вертикальной стенкой, расположенной напротив первой вертикальной стенки, а в вертикальном направлении - верхней и нижней горизонтальными панелями. Газовый канал содержит поворотный участок, включающий большой окружной элемент первой вертикальной стенки, который на виде сверху включает большой дуговой участок в виде дуги окружности с заданным радиусом, ограниченной заданным углом. Центр кривизны большого дугового участка находится на стороне второй вертикальной стенки.

[11]

Поворотный участок содержит также первый малый окружной элемент второй вертикальной стенки, который на виде сверху включает первый малый дуговой участок в виде дуги окружности с заданным радиусом, ограниченной углом, который меньше заданного угла, причем центр кривизны первого малого дугового участка находится на стороне первой вертикальной стенки.

[12]

Поворотный участок содержит также второй малый окружной элемент второй вертикальной стенки, который на виде сверху включает второй малый дуговой участок в виде дуги окружности с заданным радиусом, ограниченной углом, который меньше заданного угла, причем центр кривизны второго малого дугового участка находится на стороне первой вертикальной стенки.

[13]

Второй малый окружной элемент по направлению потока расположен следом за указанным первым малым окружным элементом и сопрягается с ним на участке сопряжения, который находится в области центра кривизны большого дугового участка большого окружного элемента. На участке сопряжения первого малого окружного элемента и второго малого окружного элемента со стороны первого малого окружного элемента расположен вертикальный щелевой проем, через который газовый канал сообщается с емкостью для сбора частиц.

[14]

Кроме того, в области конца большого дугового участка большого окружного элемента, который является нижним по направлению потока, расположен вертикальный щелевой проем, через который газовый канал сообщается с емкостью для сбора частиц.

[15]

[8] В частном случае первого объекта изобретения устройство для удаления частиц из газа отличается тем, что вертикальный щелевой проем на первой вертикальной стенке имеет меньшую ширину, чем вертикальный щелевой проем на второй вертикальной стенке.

[16]

[9] В другом частном случае первого объекта изобретения устройство для удаления частиц из газа отличается тем, что первая вертикальная стенка содержит изогнутый участок, который имеет меньший радиус изгиба, чем заданный радиус, а его центр кривизны находится на стороне первой вертикальной стенки вне газового канала. Изогнутый участок при этом расположен ниже по потоку относительно большого окружного элемента, и конец большого дугового участка большого окружного элемента входит в изогнутый участок с образованием вертикального щелевого проема между ними, через который газовый канал сообщается с емкостью для сбора частиц.

[17]

[10] В другом частном случае первого объекта изобретения устройство для удаления частиц из газа отличается тем, что второй малый окружной элемент на участке сопряжения с первым малым окружным элементом имеет примыкающий к концу второго малого дугового участка изогнутый участок. Данный изогнутый участок имеет меньший радиус изгиба, чем заданный радиус, а его центр кривизны находится на стороне второй вертикальной стенки вне газового канала. Конец первого малого дугового участка первого малого окружного элемента при этом входит в изогнутый участок второго малого окружного элемента с образованием вертикального щелевого проема между ними.

[18]

[11] В еще одном частном случае первого объекта изобретения устройство для удаления частиц из газа отличается тем, что между нижней горизонтальной панелью и, по меньшей мере, частью большого дугового участка, находящейся ниже по направлению потока, образована первая горизонтальная щель. Кроме того, между нижней горизонтальной панелью и первым малым дуговым участком образована вторая горизонтальная щель, а между нижней горизонтальной панелью и, по меньшей мере, частью второго малого дугового участка, находящейся ниже по направлению потока, образована третья горизонтальная щель. Через первую, вторую и третью горизонтальные щели газовый канал сообщается с емкостью для сбора частиц.

[19]

[12] Газовый канал устройства для удаления частиц из газа, выполненного согласно первому объекту изобретения и его частным случаям, может содержать множество последовательно расположенных поворотных участков. При этом большой окружной элемент первой вертикальной стенки каждого следующего поворотного участка имеет примыкающий к концу большого дугового участка изогнутый участок, который имеет меньший радиус изгиба, чем заданный радиус, а его центр кривизны находится на стороне первой вертикальной стенки вне газового канала. Конец большого дугового участка большого окружного элемента предыдущего поворотного участка входит в изогнутый участок большого окружного элемента следующего поворотного участка с образованием вертикального щелевого проема между ними. Второй малый окружной элемент второй вертикальной стенки каждого предыдущего поворотного участка и первый малый окружной элемент второй вертикальной стенки следующего поворотного участка выполнены заодно, и образуют большой окружной элемент второй вертикальной стенки, аналогичного большому окружному элементу первой вертикальной стенки.

[20]

[13] Здесь возможен случай, когда вертикальный щелевой проем, расположенный ниже по направлению потока, имеет меньшую ширину, чем находящийся перед ним вертикальный щелевой проем, расположенный выше по направлению потока. При этом возможен также случай, когда первая горизонтальная щель расположенная ниже по направлению потока, имеет меньшую ширину, чем находящаяся перед ней первая горизонтальная щель, расположенная выше по направлению потока.

[21]

[14] Кроме того, в этом случае вне газового канала касательно к первой и второй вертикальным стенкам могут быть расположены продольные вертикальные пластины. Пространства между первой и второй вертикальными стенками и соответствующими продольными вертикальными пластинами при этом сообщаются с емкостью для сбора частиц.

[22]

[15] В первом объекте изобретения и во всех его частных случаях газовый канал может являться первым газовым каналом. Устройство при этом может содержать второй газовый канал, выполненный в симметрии с первым газовым каналом относительно вертикальной плоскости, проходящей вне первого газового канала со стороны второй вертикальной стенки параллельно плоскости, касательной к ней.

[23]

[16] Второй объект изобретения представляет собой устройство для удаления частиц из газа, включающее газовый канал, ограниченный в горизонтальном направлении первой вертикальной стенкой и второй вертикальной стенкой, расположенной напротив первой вертикальной стенки, а в вертикальном направлении - верхней и нижней горизонтальными панелями. Газовый канал содержит поворотный участок, включающий большой окружной элемент первой вертикальной стенки, который на виде сверху включает большой дуговой участок в виде дуги окружности с заданным радиусом, ограниченной заданным углом. Центр кривизны большого дугового участка находится на стороне второй вертикальной стенки.

[24]

Поворотный участок содержит также первый малый окружной элемент второй вертикальной стенки, который на виде сверху включает первый малый дуговой участок в виде дуги окружности с заданным радиусом, ограниченной углом, который меньше заданного угла, причем центр кривизны первого малого дугового участка находится на стороне первой вертикальной стенки.

[25]

Поворотный участок содержит также второй малый окружной элемент второй вертикальной стенки, который на виде сверху включает второй малый дуговой участок в виде дуги окружности с заданным радиусом, ограниченной углом, который меньше заданного угла, причем центр кривизны второго малого дугового участка находится на стороне первой вертикальной стенки.

[26]

Второй малый окружной элемент по направлению потока расположен следом за указанным первым малым окружным элементом и сопрягается с ним на участке сопряжения, который находится в области центра кривизны большого дугового участка большого окружного элемента.

[27]

Между нижней горизонтальной панелью и, по меньшей мере, частью большого дугового участка, находящейся ниже по направлению потока, образована первая горизонтальная щель. Кроме того, между нижней горизонтальной панелью и первым малым дуговым участком образована вторая горизонтальная щель, а между нижней горизонтальной панелью и, по меньшей мере, частью второго малого дугового участка, находящейся ниже по направлению потока, образована третья горизонтальная щель. При этом через первую, вторую и третью горизонтальные щели газовый канал сообщается с емкостью для сбора частиц.

[28]

[17] В частном случае второго объекта изобретения участок сопряжения включает изогнутый участок, который соединяет второй малый окружной элемент с первым малым окружным элементом, и который имеет меньший радиус изгиба, чем заданный радиус, а его центр кривизны находится на стороне второй вертикальной стенки вне газового канала.

[29]

[18] Газовый канал устройства для удаления частиц из газа, выполненного согласно второму объекту изобретения и его частному случаю, может содержать множество последовательно расположенных поворотных участков. При этом большой окружной элемент первой вертикальной стенки каждого следующего поворотного участка сопрягается с большим окружным элементом каждого предыдущего поворотного участка на участке сопряжения, аналогичном участку сопряжения между вторым малым окружным элементом и первым малым окружным элементом второй вертикальной стенки. Второй малый окружной элемент второй вертикальной стенки каждого предыдущего поворотного участка и первый малый окружной элемент второй вертикальной стенки следующего поворотного участка образуют большой окружной элемент второй вертикальной стенки, аналогичный большому окружному элементу первой вертикальной стенки.

[30]

[19] Коме того, здесь третья горизонтальная щель каждого предыдущего поворотного участка и вторая горизонтальная щель каждого следующего поворотного участка выполнены заодно с образованием первой горизонтальной щели у второй вертикальной стенки, аналогичной первой горизонтальной щели у первой вертикальной стенки.

[31]

[20] Здесь возможен случай, когда первая горизонтальная щель расположенная ниже по направлению потока, имеет меньшую ширину, чем находящаяся перед ней первая горизонтальная щель, расположенная выше по направлению потока.

[32]

[21] Во втором объекте изобретения и во всех его частных случаях газовый канал может являться первым газовым каналом. Устройство при этом может содержать второй газовый канал, выполненный в симметрии с первым газовым каналом относительно вертикальной плоскости, проходящей вне первого газового канала со стороны второй вертикальной стенки параллельно плоскости, касательной к ней.

[33]

Краткое описание чертежей

[34]

[22] Осуществление изобретения будет пояснено ссылками на фигуры:

[35]

Фиг. 1 - общий вид устройства для удаления частиц из газа;

[36]

Фиг. 2 - общий вид проточной части, содержащей два газовых канала, со снятой верхней горизонтальной панелью для устройства по первому объекту изобретения;

[37]

Фиг. 3 - вид сверху проточной части, содержащей один газовый канал, со снятой верхней горизонтальной панелью для устройства по первому объекту изобретения;

[38]

Фиг. 4 - вид сверху проточной части, содержащей один газовый канал с одним поворотным участком, для устройства по первому объекту изобретения;

[39]

Фиг. 5 - вид сверху проточной части, содержащей два газовых канала с одним поворотным участком в каждом, для устройства по первому объекту изобретения.

[40]

Осуществление изобретения

[41]

[23] Осуществление изобретения будет показано на наилучшем известном авторам изобретения примере реализации изобретения, который не является ограничением в отношении объема охраняемых прав.

[42]

[24] Устройство для удаления частиц из газа, называемое также устройством очистки газа от пыли и показанное на фиг. 1, содержит проточную часть 1 и емкость 2 для сбора частиц. Проточная часть включает в себя входное отверстие 3, в которое подается запыленный газ, и выходное отверстие 4, из которого выходит газ, очищенный от пыли.

[43]

[25] Следует отметить, что в контексте данной заявки под пылью понимается совокупность частиц, дисперсионно распределенных в газе. Данные частицы могут быть как частицами материала, подлежащего удалению из газа с целью дальнейшей утилизации вследствие, например, недопустимости выброса этого материала в атмосферу, так и частицами материала, имеющего собственную ценность и предназначенного для использования в определенном технологическом процессе.

[44]

[26] Проточная часть 1 включает в себя, по меньшей мере, один газовый канал 5, показанный на фиг. 2 и 3. Газовый канал 5 ограничен в горизонтальном направлении первой вертикальной стенкой 6 и второй вертикальной стенкой 7, расположенной напротив первой вертикальной стенки 6, а в вертикальном направлении - верхней горизонтальной панелью 8 (фиг. 1) и нижней горизонтальной панелью 9.

[45]

[27] Газовый канал 5 содержит, по меньшей мере, один поворотный участок 10, в увеличенном виде показанный на фиг. 4, на которой границы поворотного участка 10 обозначены штриховыми линиями. Поворотный участок 10 включает в себя: большой окружной элемент 11 первой вертикальной стенки 6, первый малый окружной элемент 12 второй вертикальной стенки 7 и второй малый окружной элемент 13 второй вертикальной стенки 7.

[46]

[28] Большой окружной элемент 11 первой вертикальной стенки 6 на виде сверху включает большой дуговой участок 14 в виде дуги окружности с заданным радиусом R, ограниченной заданным углом (в данном случае 180°). Центр кривизны большого дугового участка 14, т.е. центр упомянутой окружности, находится на стороне второй вертикальной стенки 7.

[47]

[29] В данном описании сторона первой вертикальной стенки 6 определяется как ограниченная срединной линией 38 газового канала 5 часть нижней горизонтальной панели 9, в которой расположена первая вертикальная стенка 6. Сторона второй вертикальной стенки 7, в свою очередь, определяется как ограниченная срединной линией газового канала 5 часть нижней горизонтальной панели 9, в которой расположена вторая вертикальная стенка 7. Срединная линия 38 газового канала 5 является линией, равноудаленной от вертикальных стенок канала (без учета описанного далее направляющего участка 40).

[48]

[30] Первый малый окружной элемент 12 второй вертикальной стенки 7 на виде сверху включает первый малый дуговой участок 15 в виде дуги окружности с заданным радиусом R, ограниченной углом, который меньше заданного угла и в предпочтительном случае составляет половину от заданного угла (в данном случае 90°). Центр кривизны первого малого дугового участка 15 находится на стороне первой вертикальной стенки 6.

[49]

[31] Второй малый окружной элемент 13 второй вертикальной стенки 7, который на виде сверху включает второй малый дуговой участок 16 в виде дуги окружности с заданным радиусом R, ограниченной углом, который меньше заданного угла и в предпочтительном случае составляет половину от заданного угла (в данном случае 90°). Центр кривизны второго малого дугового участка 16 находится на стороне первой вертикальной стенки 6.

[50]

[32] Второй малый окружной элемент 13 по направлению потока расположен следом за первым малым окружным элементом 12 и сопрягается с ним на участке сопряжения 17, который находится в области центра кривизны большого дугового участка 14 большого окружного элемента 11.

[51]

[33] Участок сопряжения представляет собой область, где первый малый дуговой участок 15 первого малого окружного элемента 12 и второй малый дуговой участок 16 второго малого окружного элемента 13 расположены максимально близко друг к другу. Область центра кривизны большого дугового участка 14, в которой расположен участок сопряжения 17, представляет собой область, ограниченную окружностью, центр которой совпадает с центром кривизны большого дугового участка 14, а ее радиус составляет не более 50% от заданного радиуса R, в предпочтительном случае - не более 10%.

[52]

[34] В области конца 18 большого дугового участка 14 большого окружного элемента 11, который является нижним по направлению потока, расположен вертикальный щелевой проем 19, через который газовый канал 5 сообщается с емкостью 2 для сбора частиц.

[53]

[35] В данном случае вертикальный щелевой проем 19 выполнен следующим образом. Первая вертикальная стенка 6 содержит изогнутый участок 20, который имеет меньший радиус изгиба, чем заданный радиус R, а его центр кривизны находится на стороне первой вертикальной стенки 6 вне газового канала 5. Изогнутый участок 20 при этом расположен ниже по потоку относительно большого окружного элемента 11, и конец 18 большого дугового участка 14 большого окружного элемента 11 входит в изогнутый участок 20 с образованием вертикального щелевого проема 19 между ними. Газовый канал 5 сообщается с емкостью 2 для сбора частиц через описанный вертикальный щелевой проем 19 и горизонтальный проем 21.

[54]

[36] На участке сопряжения 17 первого малого окружного элемента 12 и второго малого окружного элемента 13 со стороны первого малого окружного элемента 12 расположен вертикальный щелевой проем 22, через который газовый канал 5 сообщается с емкостью 2 для сбора частиц.

[55]

[37] В данном случае вертикальный щелевой проем 22 выполнен следующим образом. Второй малый окружной элемент 13 на участке сопряжения 17 с первым малым окружным элементом 12 содержит примыкающий к концу второго малого дугового участка 16 изогнутый участок 23, который имеет меньший радиус изгиба, чем заданный радиус R. Центр кривизны изогнутого участка 23 находится на стороне второй вертикальной стенки 7 вне газового канала 5. Конец первого малого дугового участка 15 первого малого окружного элемента 12 входит в изогнутый участок 23 второго малого окружного элемента 13 с образованием вертикального щелевого проема 22 между ними. Газовый канал 5 сообщается с емкостью 2 для сбора частиц через описанный вертикальный щелевой проем 22 и горизонтальный проем 24.

[56]

[38] Следует отметить, что вертикальный щелевой проем 19 может быть выполнен иначе, например, в виде вертикальной щели вблизи конца большого дугового участка большого окружного элемента. В этом случае конец большого дугового участка большого окружного элемента соединен с изогнутым участком с образованием гладкого перехода. На нижнем по направлению потока вертикальном крае данной вертикальной щели под острым углом к ней может быть установлена пластина, обеспечивающая отведение проходящего вдоль первой вертикальной стенки элемента газового потока, содержащего повышенную концентрацию частиц, в направлении емкости для сбора частиц. Аналогичное решение может быть реализовано и для вертикального щелевого проема 22.

[57]

[39] Как показано на фиг. 4, между нижней горизонтальной панелью 9 и большим дуговым участком 14 большого окружного элемента 11 образована первая горизонтальная щель 33, что является частным случаем первого объекта изобретения. Далее, между нижней горизонтальной панелью 9 и первым малым дуговым участком 15 первого малого окружного элемента 12 образована вторая горизонтальная щель 34. Между нижней горизонтальной панелью 9 и вторым малым дуговым участком 16 второго малого окружного элемента 13 образована третья горизонтальная щель 35. При этом через первую, вторую и третью горизонтальные щели 33, 34, 35 газовый канал 5 сообщается с емкостью 2 для сбора частиц.

[58]

[40] Следует отметить, что в отношении большого дугового участка 14 и второго малого дугового участка 16, горизонтальные щели могут быть образованы лишь вдоль частей указанных дуговых участков, находящихся ниже по направлению потока.

[59]

[41] Газовый канал 5 может содержать множество последовательно расположенных поворотных участков, аналогичных поворотному участку 10 (фиг. 3).

[60]

[42] Большой окружной элемент 26 первой вертикальной стенки 6 каждого следующего поворотного участка (на фиг. 3 показаны позиции для второго поворотного участка) имеет изогнутый участок 25, который примыкает к верхнему по направлению потока концу большого дугового участка 27 и имеет меньший радиус изгиба, чем заданный радиус R. Центр кривизны изогнутого участка 25 находится на стороне первой вертикальной стенки 6 вне газового канала 5. Верхний по направлению потока конец 18 большого дугового участка 14 большого окружного элемента 11 каждого предыдущего (здесь - первого) поворотного участка входит в изогнутый участок 25 большого окружного элемента 26 каждого следующего (здесь - второго) поворотного участка с образованием щелевого проема 28 между ними. Таким образом, вертикальный щелевой проем 28 является аналогичным описанному выше вертикальному щелевому проему 19.

[61]

[43] Как показано выше, изогнутыми участками снабжены все большие окружные элементы, принадлежащие поворотным участкам, начиная со второго по направлению потока. Что касается большого окружного элемента в первом по направлению потока поворотного участка (фиг. 4), то вместо изогнутого участка он снабжен направляющим участком 40, который примыкает к нижнему по направлению потока концу данного большого окружного элемента.

[62]

[44] Второй малый окружной элемент 13 второй вертикальной стенки 7 каждого предыдущего (здесь - первого) поворотного участка и первый малый окружной элемент 29 второй вертикальной стенки 7 каждого следующего (здесь - второго) поворотного участка выполнены заодно. Вместе они образуют большой окружной элемент 30 второй вертикальной стенки 7, аналогичный второму большому окружному элементу 26 первой вертикальной стенки 6 (или любому из последующих).

[63]

[45] Таким образом, в устройстве для удаления частиц из газа, газовый канал которого содержит несколько поворотных участков, все первые малые окружные элементы (кроме такового в первом поворотном участке) и все вторые малые окружные элементы (кроме такового в последнем поворотном участке) существуют как условно выделяемые части соответствующих больших окружных элементов. Другими словами, вторая вертикальная стенка состоит из тех же элементов и в данном случае является по существу зеркальным отражением первой вертикальной стенки, сдвинутым в продольном направлении на величину заданного радиуса.

[64]

[46] В газовом канале 5, показанном на фиг. 3, третья горизонтальная щель 35 каждого предыдущего поворотного участка и вторая горизонтальная щель 39 каждого следующего поворотного участка выполнены заодно с образованием первой горизонтальной щели 36, аналогичной первой горизонтальной щели 33. Таким образом, в устройстве для удаления частиц из газа, газовый канал которого содержит несколько поворотных участков, все вторые горизонтальные щели (кроме таковой в первом поворотном участке) и все третьи горизонтальные щели (кроме таковой в последнем поворотном участке) существуют как условно выделяемые части соответствующих первых горизонтальных щелей.

[65]

[47] Вне газового канала 5 касательно первой и второй вертикальным стенкам 6 и 7 расположены продольные вертикальные пластины 31 и 32 соответственно. Пространства между каждой из первой и второй вертикальных стенок 6 и 7 и соответствующими им продольными вертикальными пластинами 31 и 32 являются, по существу, замкнутыми в горизонтальных направлениях и в направлении вверх. При этом указанные пространства сообщаются с одной стороны с газовым каналом 5 через вертикальные щелевые проемы, а с другой - с емкостью 2 для сбора частиц через горизонтальные проемы 21 и 24.

[66]

[48] Следует отметить, что в газовом канале, содержащем один поворотный участок (фиг. 4), изогнутый участок 20, расположенный на выходе из газового канала и образующий вместе с большим окружным элементом 11 вертикальный щелевой проем 19, может быть соединен с поперечной вертикальной пластиной 41. Поперечная вертикальная пластина 41 вместе с продольной вертикальной пластиной 31 образуют по существу замкнутое в горизонтальных направлениях и в направлении вверх пространство, сообщающееся с газовым каналом 5 через вертикальный щелевой проем 19 и емкостью 2 для сбора частиц через горизонтальный проем 21. Аналогичное решение может быть применено и в газовом канале, состоящем из множества поворотных участков, на его последнем по направлению потока поворотном участке.

[67]

[49] Проточная часть 1 устройства для удаления частиц из газа может содержать один газовый канал 5, содержащий один поворотный участок (фиг. 4) или множество поворотных участков (фиг. 3). Однако проточная часть 1 может также содержать два газовых канала, каждый из которых содержит один поворотный участок (фиг. 5) или множество поворотных участков (фиг. 2).

[68]

[50] В последнем случае газовый канал 5 является первым газовым каналом, при этом проточная часть 1 содержит второй газовый канал 37, выполненный в симметрии с первым газовым каналом 5 относительно вертикальной плоскости, проходящей вне первого газового канала 5 со стороны второй вертикальной стенки 7 параллельно плоскости, касательной к ней. В данном случае плоскостью, касательной ко второй вертикальной стенке 7, является плоскость, совпадающая с поверхностью продольной вертикальной пластины 32, обращенной ко второй вертикальной стенке 7, а вертикальной плоскостью симметрии - срединная плоскость продольной вертикальной пластины 32. В других случаях вертикальная плоскость симметрии может располагаться вне продольной вертикальной пластины 32.

[69]

[51] Следует отметить, что высота вертикальных стенок в предпочтительном случае составляет от 0,5 до 3-х значений заданного радиуса R. Ширина газового канала в предпочтительном случае составляет от 0,2 до 1,5 значений заданного радиуса R, при этом под шириной газового канала понимается расстояние между вертикальными стенками в самой узкой части, т.е. вблизи изогнутых участков (область вблизи направляющего участка 40 не учитывается).

[70]

[52] Далее, ширина горизонтальных щелей в предпочтительном случае составляет от 0,05 до 0,5 значений ширины газового канала. Кроме того, ширина первых горизонтальных щелей по направлению газового потока может изменяться от участка к участку в сторону уменьшения.

[71]

[53] В свою очередь, ширина вертикальных щелевых проемов составляет от 0,05 до 0,5 значений ширины газового канала, и по направлению газового потока она также может изменяться в сторону уменьшения как в пределах одного поворотного участка, так и от участка к участку.

[72]

[54] Выше было описана конструкция устройства для удаления частиц из газа по первому объекту изобретения, характеризующегося наличием вертикальных щелевых проемов на вертикальных стенках газового канала. Устройство по второму объекту изобретения (не показано на фигурах) в целом выполнено аналогично устройству по первому объекту изобретения, за исключением того, что вертикальные стенки его газового канала не содержит вертикальных щелевых проемов. При этом горизонтальные щели имеют такое же расположение, как было описано выше для частного случая устройства по первому объекту изобретения.

[73]

[55] Например, в состоящем из нескольких поворотных участков газовом канале устройства по второму объекту изобретения, первая вертикальная стенка выполнена так, что изогнутый участок каждого следующего большого окружного элемента соединен с большим дуговым участком каждого предыдущего большого окружного элемента с образованием гладкого перехода. В этом случае вторая вертикальная стенка выполнена аналогично первой вертикальной стенке за исключением того, что в первом поворотном участке изогнутый участок большого окружного элемента соединен с малым дуговым участком находящегося перед ним первого малого окружного элемента. Кроме того, в последнем поворотном участке изогнутый участок второго малого окружного элемента соединен с большим дуговым участком находящегося перед ним большого окружного элемента.

[74]

[56] Устройство для удаления частиц из газа по первому объекту изобретения работает следующим образом.

[75]

[57] Во входное отверстие 3 проточной части 1 под некоторым давлением подается запыленный газ, поток которого разделяется на два потока, поступающих в газовые каналы 5 и 37.

[76]

[58] Первый поток, направленный в первый газовый канал 5, сначала взаимодействует с малым дуговым участком 15 первого малого окружного элемента 12 второй вертикальной стенки 7, который закручивает первый поток газа в сторону большого окружного элемента 11 первой вертикальной стенки 6. Однако поскольку частицы, дисперсионно распределенные в газе (пыль), обладают некоторой сосредоточенной массой, они по инерции продолжают движение в направлении первого малого окружного элемента 12 второй вертикальной стенки 7. Часть наиболее массивных частиц, сталкиваясь с преградой в виде второй вертикальной стенки 7, теряет скорость и под действием силы тяжести опускается через вторую горизонтальную щель 34 в емкость 2 для сбора частиц.

[77]

[59] Другая часть наиболее массивных частиц, а также часть менее массивных частиц не достигают второй вертикальной стенки 7, но при этом эти частицы двигаются вместе с потоком газа в непосредственной близости от нее. Таким образом, данные частицы проходят через вертикальный щелевой проем 22 в пространство между второй вертикальной стенкой 7 и продольной вертикальной пластиной 32, где теряют скорость вследствие расширения проточного сечения, после чего под действием силы тяжести оседают в емкости 2 для сбора частиц, опускаясь в нее через горизонтальный проем 24.

[78]

[60] Частицы, которые не опустились во вторую горизонтальную щель 34 и не были увлечены потоком в вертикальный щелевой проем 22, продолжают движение к большому окружному элементу 11 первой вертикальной стенки 6. Здесь газовый поток поворачивает в другую сторону, при этом частицы могут быть удалены из него через первую горизонтальную щель 33 и вертикальный щелевой проем 19 вследствие действия тех же факторов, которые были описаны выше.

[79]

[61] Далее газовый поток может проходить еще через несколько поворотных участков, при этом с прохождением каждого следующего поворотного участка из газа удаляются все больше частиц, и, таким образом, на выходе из устройства достигается высокая степень очистки газа.

[80]

[62] Аналогичным образом происходит очистка газа во втором газовом канале 37. Использование двух газовых каналов увеличивает общее проходное сечение устройства, что в случае одного и того же расхода, а также заданных параметров давления на входе и выходе позволяет получить более высокую степень очистки газа по сравнению с одноканальным устройством.

[81]

[63] Как было указано выше, высота вертикальных стенок в предпочтительном случае составляет от 0,5 до 3-х значений заданного радиуса R. В противном случае, если высота стенок мала, то только небольшая часть частиц будет взаимодействовать со стенками, а если велика - то частицы, изначально находящиеся у верхнего края вертикальной стенки не успевают опуститься в горизонтальную щель.

[82]

[64] Далее, ширина газового канала в предпочтительном случае составляет от 0,2 до 1,5 значений заданного радиуса R. В противном случае, при малой ширине газового канала его гидравлическое сопротивление сравнительно велико, что требует повышенного давления на входе, создающего турбулентность, которая препятствует продвижению частиц к вертикальным стенкам, а при большой ширине газового канала - в срединной части потока не создается центробежной силы, воздействующей на частицы.

[83]

[65] Устройство для удаления частиц из газа по второму объекту изобретения работает аналогично описанному выше с той лишь разницей, что газовый канал имеет гладкие стенки, а значит, перепад давления будет уменьшен по сравнению с первым вариантом изобретения. Следовательно, в данном случае можно использовать меньший заданный радиус R и, таким образом, повысить степень удаления частиц.

[84]

[66] Устройство по обоим объектам изобретения имеет множество стенок, поворачивающих газовый поток и создающих центробежную силу для частиц, и горизонтальных щелей, связывающих газовый канал с емкостью для сбора частица, а в случае перового объекта изобретения - также и вертикальных щелевых проемов. В совокупности данные элементы создают такой же эффект по удалению дисперсионно распределенных частиц из газа, что и несколько последовательно установленных циклонов. Очевидно, что при заданной эффективности очистки газа изобретение позволяет существенно снизить габариты и вес устройства, а также избежать включения в контур дополнительных нагнетательных устройств.

[85]

[67] Даже в том случае, когда устройство содержит один газовый канал с одним поворотным участком, оно способно при небольшом перепаде давления удалить из газового потока значительную часть пыли, и в такой конфигурации может быть использовано в качестве первичного пылеуловителя в металлургическом или коксовом производстве.

Как компенсировать расходы
на инновационную разработку
Похожие патенты