патент
№ RU 2693877
МПК H01P5/18

Делитель мощности 3х3 для бортовой аппаратуры космических аппаратов

Авторы:
Алыбин Вячеслав Георгиевич
Номер заявки
2018141772
Дата подачи заявки
27.11.2018
Опубликовано
05.07.2019
Страна
RU
Как управлять
интеллектуальной собственностью
Чертежи 
1
Реферат

Изобретение относится к СВЧ радиотехнике, используемой, в частности, для применения в бортовой аппаратуре командно-измерительной системы (БА КИС) космических аппаратов. Задачей данного технического решения является увеличение коэффициента передачи, по крайней мере, на 1,25 дБ, разнесение входов и выходов по противоположным сторонам подложки, что, в свою очередь, обеспечит рациональное размещение приборов или элементов БА КИС. Указанный технический результат достигается при использовании делителя мощности, выполненного на диэлектрической подложке, на которой расположены три микрополосковых направленных ответвителя, выполненных на связанных линиях, однократно перекрещивающихся, и при этом два микрополосковых направленных ответвителя имеют переходное ослабление 3 дБ, а третий микрополосковый направленный ответвитель имеет переходное ослабление 4,76 дБ, причем каждый из двух концов его связанных линий, расположенных с одной его стороны, соединен, соответственно, с первым и вторым одинаковыми отрезками микрополосковой линии (МПЛ) с одним из концов отрезков связанных линий микрополосковых направленных ответвителей с переходным ослаблением 3 дБ, обращённым к третьему микрополосковому направленному ответвителю, концы других отрезков связанных линий, расположенных с другой стороны микрополосковых направленных ответвителей с переходным ослаблением 3 дБ, соединены между собой третьим отрезком МПЛ, длина которого больше суммарной длины первого и второго отрезков микрополосковых линий на величину от 0,19 до 0,21 длины волны на средней частоте рабочего диапазона. 1 ил.

Формула изобретения

Делитель мощности 3×3 для бортовой аппаратуры космических аппаратов, выполненный на диэлектрической подложке, на которой расположены три микрополосковых направленных ответвителя, выполненных на связанных линиях однократно перекрещивающихся, и при этом два микрополосковых направленных ответвителя имеют переходное ослабление 3 дБ, отличающийся тем, что

третий микрополосковый направленный ответвитель выполнен с переходным ослаблением 4,76 дБ,

при этом каждый из двух концов его связанных линий, расположенных с одной из сторон третьего микрополоскового направленного ответвителя, соединен, соответственно, первым и вторым одинаковыми отрезками микрополосковой линии с одним из концов отрезков связанных линий ответвителей с переходным ослаблением 3 дБ, обращенным к третьему микрополосковому направленному ответвителю,

концы других отрезков связанных линий, расположенных с другой стороны микрополосковых направленных ответвителей с переходным ослаблением 3 дБ, соединены между собой третьим отрезком микрополосковой линии, длина которого больше суммарной длины первого и второго отрезков микрополосковых линий на величину от 0,19 до 0,21 длины волны на средней частоте рабочего диапазона,

причем отрезки связанных линий микрополосковых направленных ответвителей с переходным ослаблением 3 дБ соединены с отрезками микрополосковых линий так, что их свободные концы обращены к краям диэлектрической подложки,

при этом три конца отрезков связанных линий микрополосковых направленных ответвителей, обращенных к одному краю диэлектрической подложки, являются входами (выходами), а другие три конца отрезков связанных линий микрополосковых направленных ответвителей, обращенных к противоположному краю диэлектрической подложки, являются выходами (входами) делителя мощности 3×3.

Описание

[1]

Изобретение относится к СВЧ радиотехнике, в частности, для применения в бортовой аппаратуре командно-измерительной системы
(БА КИС) космических аппаратов.

[2]

Известны делители мощности с использованием базовых элементов, включающих в себя микрополосковые направленные ответвители, фазовращатели, аттенюаторы и т.д. (Д.М. Сазонов «Устройства СВЧ» Москва, «Высшая школа», 1981 г., стр. 147, рис. 4.5).

[3]

Однако данные технические решения имеют ряд недостатков: избыточное количество базовых элементов, ограничение ширины рабочей полосы, сложность согласования при неоптимальных массогабаритных характеристиках, конструктивное расположение входов и выходов, малый коэффициент передачи.

[4]

В качестве ближайшего аналога заявленного изобретения выбран делитель мощности для бортовой аппаратуры космического аппарата (Патент РФ на изобретение № 2608978), который содержит четыре микрополосковых направленных ответвителя на связанных линиях с переходным ослаблением
3 дБ, однократно перекрещивающихся. Смежные микрополосковые направленные ответвители расположены перпендикулярно один по отношению к другому, так что проводники их связанных линий образуют стороны двух квадратов, первый из которых расположен внутри второго. Проводники связанных линий каждого микрополоскового направленного ответвителя скрещены так, что их концы расположены на сторонах первого и второго квадратов. Концы проводников, расположенных на смежных сторонах внутреннего квадрата, соединены между собой. Концы проводников, расположенных на противолежащих сторонах второго квадрата, являются входами и выходами соответственно.

[5]

При проектировании БА КИС были выявлены следующие недостатки известного делителя мощности:

[6]

- малый коэффициент передачи с одного из входов на каждый выход, обусловленный включением микрополосковых направленных ответвителей на связанных линиях с общим переходным ослаблением не менее 6 дБ;

[7]

- известный делитель мощности не обеспечивает размещение входов (выходов) на одном краю подложки (т.е. на одной стороне корпуса), т.к. входы (выходы) расположены на противоположных сторонах квадрата, что отрицательно влияет на рациональное размещение элементов схемы БА КИС.

[8]

Таким образом, существует техническая проблема выбора такой конструкции делителя мощности, которая была бы более приемлема для БА КИС.

[9]

Для устранения выявленных недостатков предложено использовать делитель мощности 3х3, особенности конструкции которого позволят увеличить коэффициент передачи, по крайней мере, на 1,25 дБ, разнести входы и выходы по противоположным сторонам подложки, что в свою очередь, обеспечит рациональное размещение приборов или элементов БА КИС.

[10]

Указанный технический результат достигается при использовании делителя мощности, выполненного на диэлектрической подложке, на которой расположены три микрополосковых направленных ответвителя выполненных на связанных линиях, однократно перекрещивающихся, и при этом два микрополосковых направленных ответвителя имеют переходное ослабление 3 дБ, а третий микрополосковый направленный ответвитель имеет переходное ослабление 4,76 дБ, причем каждый из двух концов его связанных линий, расположенных с одной его стороны, соединен, соответственно, с первым и вторым одинаковыми отрезками микрополосковой линии (МПЛ) с одним из концов отрезков связанных линий микрополосковых направленных ответвителей с переходным ослаблением 3 дБ, обращённом к третьему микрополосковому направленному ответвителю, концы других отрезков связанных линий, расположенных с другой стороны микрополосковых направленных ответвителей с переходным ослаблением 3 дБ, соединены между собой третьим отрезком МПЛ, длина которого больше суммарной длины первого и второго отрезков микрополосковых линий на величину от 0,19 до 0,21 длины волны на средней частоте рабочего диапазона, причем отрезки связанных линий микрополосковых направленных ответвителей с переходным ослаблением 3 дБ соединены с отрезками МПЛ так, что их свободные концы обращены к краям диэлектрической подложки, при этом три конца отрезков связанных линий микрополосковых направленных ответвителей, обращенных к одному краю диэлектрической подложки, являются входами (выходами), а другие три конца отрезков связанных линий микрополосковых направленных ответвителей – выходами (входами) делителя мощности 3х3.

[11]

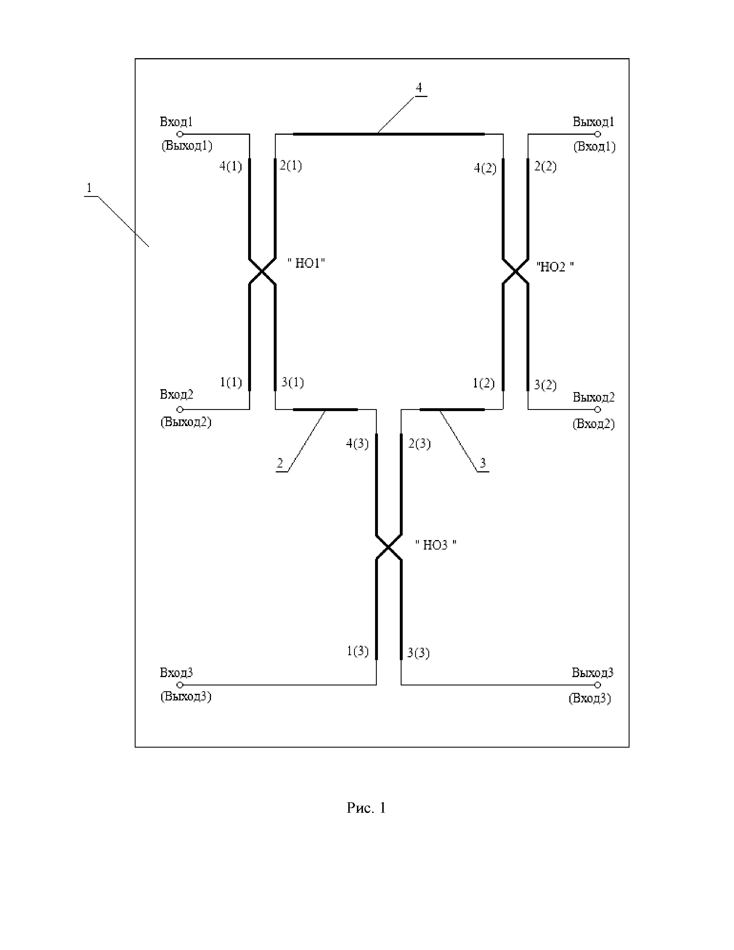
На рисунке 1 представлен делитель мощности 3х3, выполненный на диэлектрической подложке 1, на которой расположены микрополосковые направленные ответвители НО1, НО2, НО3, выполненные на связанных линиях, каждая из которых обозначена «1(n)– 2(n)», «3(n)– 4(n)», где n – номер направленного ответвителя (n = 1, 2, 3).

[12]

Связанные линии каждого микрополоскового направленного ответвителя имеют оптимальную длину, близкую к четверти длины волны, и однократно перекрещиваются. Микрополосковые направленные ответвители НО1 и НО2 выполнены с переходным ослаблением 3 дБ (типа моста Ланге), а направленный ответвитель НО3 выполнен с переходным ослаблением 4,76 дБ, т.е. с коэффициентом передачи с конца 1(3) на конец 3(3) и с конца 4(3) на конец 2(3) – минус 4,76 дБ и с коэффициентом передачи с конца 1(3) на конец 2(3) и с конца 4(3) на конец 3(3) – минус 1,76 дБ на средней частоте рабочего диапазона, без учета потерь в связанных линиях.

[13]

Конец 3(1) соединен с концом 4(3) первым отрезком МПЛ 2, а конец 1(2) соединен с концом 2(3) вторым таким же отрезком МПЛ 3. Конец 2(1) соединен с концом 4(2) третьим отрезком МПЛ 4, длина которого больше суммарной длины отрезков МПЛ 2 и 3 на величину от 0,19 до 0,21 длины волны на средней частоте рабочего диапазона. Выход за пределы указанного диапазона допустимых значений длины отрезка МПЛ 4 приводит к уменьшению коэффициента передачи на его нижнем или верхнем краю, соответственно.

[14]

Свободные концы отрезков связанных линий 4(1), 1(1), 1(3) НО1 и НО3 обращены к одному краю диэлектрической подложки и являются входами (выходами) делителя мощности 3х3, а другие свободные концы связанных линий 2(2), 3(2), 3(3) НО2 и НО3 – к противоположному её краю и являются его выходами (входами), соответственно.

[15]

Входной сигнал подается на один из входов Вход 1, Вход 2 или Вход 3 делителя мощности 3х3. При этом со Входа 1, например, входной сигнал распространяется на Выход 1 и Выход 2 двумя путями:

[16]

первый путь: Вход 1 - конец 4(1) - конец 3(1) – отрезок МПЛ 2 – конец 4(3) – конец 2(3) – отрезок МПЛ 3 - конец 1(2) – конец 2(2) -
Выход 1 или конец 3(2) - Выход 2.

[17]

второй путь: Вход 1 - конец 4(1) – конец 2(1) - отрезок МПЛ 4- конец 4(2) – конец 2(2) – Выход 1 или конец 3(2) - Выход 2.

[18]

С учетом величины модуля и фазы коэффициентов передачи первого и второго пути распространения сигнала для обеспечения коэффициента передачи со Входа 1 на Выход 1 и Выход 2, равного коэффициенту передачи со Входа 3 на Выход 3, длина отрезка МПЛ 4 должна быть больше суммарной длины отрезков МПЛ 2 и 3 на величину от 0,19 до 0,21 длины волны на средней частоте рабочего диапазона.

[19]

На Выход 3 сигнал со Входа 1 или Входа 2 попадает через один путь:

[20]

Вход 1 или Вход 2 – конец 4(1) или конец 1(1) – конец 3(1) – отрезок МПЛ 2 – конец 4(3) – конец 3(3) - Выход 3.

[21]

Коэффициент передачи со Входа 2 на Выход 1 и Выход 2 определяется аналогично.

[22]

Коэффициенты передачи на средней частоте диапазона с любого из входов Вход 1 или Вход 2 на Выход 3 равны сумме коэффициента передачи со Входа 1 или Входа 2 на конец 3(1) и коэффициента передачи с конца 4(3) на Выход 3 и равен минус 4,76 дБ.

[23]

Отрезки МПЛ 2 и 3 вводятся для того, чтобы обеспечить развязку между входами делителя мощности. Их длина может быть выбрана в пределах от 0,125 до 0,25 длины волны на средней частоте рабочего диапазона частот.

[24]

Таким образом, делитель мощности 3х3 для бортовой аппаратуры космических аппаратов позволяет увеличить коэффициент передачи делителя мощности на 1,25 дБ по сравнению с ближайшим аналогом, и при этом обеспечивается расположение входов делителя мощности 3х3 на оной из сторон диэлектрической подложки, а выходов – на противоположной стороне.

Как компенсировать расходы
на инновационную разработку
Похожие патенты