патент
№ RU 2637164
МПК F23R3/28

Способ управления работой модуля малотоксичной камеры сгорания газотурбинного двигателя

Авторы:
Васильев Василий Дмитриевич Булысова Людмила Александровна Гутник Михаил Михайлович
Все (4)
Номер заявки
2017110091
Дата подачи заявки
28.03.2017
Опубликовано
30.11.2017
Страна
RU
Как управлять
интеллектуальной собственностью
Чертежи 
3
Реферат

Изобретение относится к области энергетического машиностроения и может быть использовано в газотурбинных двигателях типа стационарной и транспортной энергетики. Предлагается способ управления работой модуля малотоксичной камеры сгорания газотурбинного двигателя, при котором в режиме перехода подачи топлива с пилотной на основную горелку соотношение расходов топлива между главной и корректирующей независимыми регулируемыми топливораспределительными системами основной горелки устанавливают экспериментально в период наладки режима, исходя из условия устойчивого безвибрационного характера горения. Причем в период от включения основной горелки до ее выхода на максимальный режим расход топлива через главную топливораспределительную систему увеличивают от 0 до 95…99%, а через корректирующую - уменьшают от 100 до 5…1% от общего расхода топлива, определяя соотношение расходов топлива по функции температуры на выходе из жаровой трубы. Изобретение позволяет обеспечить устойчивый, безвибрационный характер горения на всех режимах работы модуля. 3 ил.

Формула изобретения

Способ управления работой модуля малотоксичной камеры сгорания газотурбинного двигателя, причем указанный модуль содержит:

фронтовое устройство с концентрически расположенными внутренней диффузионной пилотной горелкой с регулируемым топливоподводом и внешней основной кольцевой горелкой предварительного смешения с лопаточным радиальным завихрителем воздуха и с двумя - главной и корректирующей независимыми регулируемыми топливораспределительными системами, выпускные каналы которых размещены в межлопаточных пространствах указанного завихрителя, а также примыкающую к фронтовому устройству жаровую трубу,

заключающийся в том, что в режиме перехода подачи топлива с пилотной на основную горелку соотношение расходов топлива между указанными двумя топливораспределительными системами устанавливают экспериментально в период наладки режима, исходя из условия устойчивого безвибрационного характера горения,

отличающийся тем, что:

в период от включения основной горелки до ее выхода на максимальный режим расход топлива через главную топливораспределительную систему увеличивают от 0 до 95…99%, а через корректирующую - уменьшают от 100 до 5…1% от общего расхода топлива,

а указанное экспериментальное соотношение расходов топлива определяют для каждой конкретной конструкции модуля функцией температуры на выходе из жаровой трубы и поддерживают в дальнейшем эту зависимость на всех режимах работы основной горелки.

Описание

[1]

Область использования

[2]

Изобретение относится к области энергетического машиностроения и может быть использовано в газотурбинных двигателях (ГТД) типа ГТД-110М стационарной и транспортной энергетики.

[3]

Уровень техники

[4]

Одной из главных проблем на пути развития энергетического газотурбостроения является снижение эмиссии токсичных выбросов оксидов азота (NOx) и продуктов неполного горения (СО, СxНy), образующихся в камере сгорания (КС) ГТД. Для обеспечения этих условий во всем реакционном пространстве камеры сгорания требуется строгое поддержание заданного соотношения топливо-воздух (коэффициент избытка воздуха), что возможно только при использовании в качестве основного горелочного устройства горелки предварительного смешения, обычно выполняемой в виде кольцевого лопаточного завихрителя с расположенными в его межлопаточных пространствах топливовыпускными каналами. Для поджигания выходящей из такой горелки топливовоздушной смеси, в пусковом режиме требуется высокотемпературный мощный пламенный источник, обеспечиваемый обычно пилотной горелкой диффузионного типа, устанавливаемой на выходе основной горелки по ее оси. Так как однородность топливовоздушной смеси в значительной степени находится в обратной зависимости от пространственного объема перемешивания, определяемого геометрическими размерами горелки предварительного смешения, камеру сгорания стационарного ГТД составляют из ряда расположенных равномерно по окружности в общем силовом корпусе модулей, каждый из которых представляет собой автономную камеру сгорания сравнительно небольшого размера (RU 97479, F23R 3/28, 2010 [1] - аналог).

[5]

При экспериментальном исследовании модуля КС типа [1] было выявлено, однако, что при переходе от пускового режима диффузионной пилотной горелки к стационарному режиму основной горелки предварительного смешения возникает неустойчивость горения (виброгорение), сопровождающаяся большими амплитудами пульсаций давления в КС.

[6]

Известен способ управления работой модуля малотоксичной камеры сгорания газотурбинного двигателя, причем указанный модуль содержит:

[7]

фронтовое устройство с концентрически расположенными внутренней диффузионной пилотной горелкой с регулируемым топливоподводом и внешней основной кольцевой горелкой предварительного смешения с лопаточным радиальным завихрителем воздуха и с двумя - главной и корректирующей независимыми регулируемыми топливораспределительными системами, выпускные каналы которых размещены в межлопаточных пространствах указанного завихрителя, а также примыкающую к фронтовому устройству жаровую трубу,

[8]

заключающийся в том, что в режиме перехода подачи топлива с пилотной на основную горелку соотношение расходов топлива между указанными двумя топливораспределительными системами устанавливают экспериментально в период наладки режима, исходя из условия устойчивого безвибрационного характера горения (RU 155055, F23R 3/44, 2014 [2] - прототип).

[9]

Как показали эксперименты, способ управления работой модуля КС согласно [1] не обеспечивает достаточной надежности устранения пульсаций давления в зоне горения, которые иногда продолжают возникать как в переходном, так и в стационарном режимах работы основной горелки.

[10]

Раскрытие изобретения

[11]

Техническим результатом изобретения является обеспечение устойчивого, безвибрационного характера горения на всех режимах работы модуля. Указанный технический результат достигается при осуществлении способа управления работой модуля малотоксичной КС ГТД, причем указанный модуль содержит:

[12]

фронтовое устройство с концентрически расположенными внутренней диффузионной пилотной горелкой с регулируемым топливоподводом и внешней основной кольцевой горелкой предварительного смешения с лопаточным радиальным завихрителем воздуха и с двумя - главной и корректирующей независимыми регулируемыми топливораспределительными системами, выпускные каналы которых размещены в межлопаточных пространствах указанного завихрителя, а также примыкающую к фронтовому устройству жаровую трубу,

[13]

заключается в том, что в режиме перехода подачи топлива с пилотной на основную горелку соотношение расходов топлива между указанными двумя топливораспределительными системами устанавливают экспериментально в период наладки режима, исходя из условия устойчивого безвибрационного характера горения,

[14]

согласно патентуемому изобретению:

[15]

в период от включения основной горелки до ее выхода на максимальный режим расход топлива через главную топливораспределительную систему увеличивают от 0 до 95…99%, а через корректирующую - уменьшают от 100 до 5…1% от общего расхода топлива,

[16]

а указанное экспериментальное соотношение расходов топлива определяют для каждой конкретной конструкции модуля функцией температуры на выходе из жаровой трубы и поддерживают в дальнейшем эту зависимость на всех режимах работы основной горелки.

[17]

Причинно-следственная связь между совокупностью признаков изобретения и указанным техническим результатом заключается в следующем. Увеличение расхода топлива через главную топливораспределительную систему с одновременным уменьшением расхода топлива через корректирующую топливораспределительную систему до указанных выше величин позволяет, с одной стороны, избежать резкого изменения соотношения топливо-воздух в переходный период от пускового к стационарному режиму, а с другой, - обеспечить возможность корректировки эпюры распределения концентрации топлива в радиальном направлении на выходе фронтового устройства как в переходном, так и в стационарном режиме работы модуля.

[18]

Изменение же первоначального распределения расходов топлива между главной и корректирующей топливораспределительными системами в зависимости от температуры рабочего тела на выходе из жаровой трубы позволяет в совокупности с указанным выше отличительным признаком изобретения поддерживать устойчивое безвибрационное горение на всех режимах работы модуля, так как обеспечивающее устойчивое безвибрационное горение соотношение расходов топлива топливораспределительными системами, как показали эксперименты, не является величиной постоянной.

[19]

Краткое описание чертежей

[20]

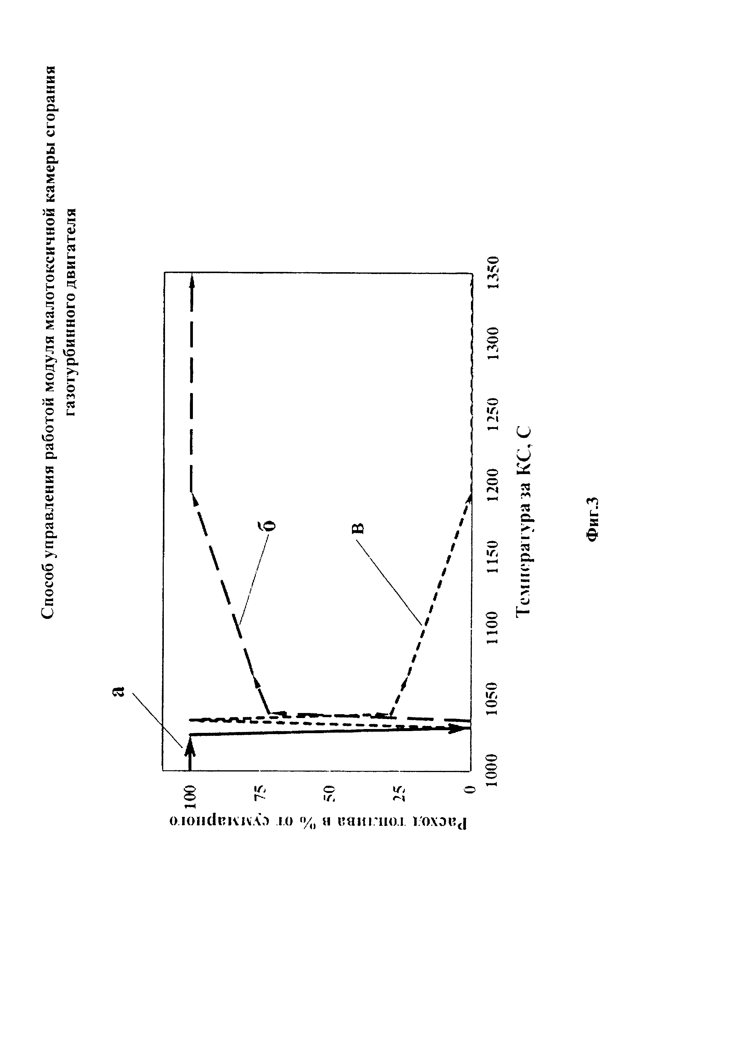
На фиг. 1 схематично изображен в продольном разрезе модуль малотоксичной камеры сгорания газотурбинного двигателя, работа которого может управляться согласно патентуемому изобретению; на фиг. 2 - узел А фиг. 1 с изображением в более крупном масштабе распределительной системы топливоподвода основной горелки; на фиг. 3 - графики регулирования расходов топлива через пилотную горелку и два топливоподвода основной горелки в переходном режиме работы фронтового устройства.

[21]

Перечень условных обозначений

[22]

ГТД - газотурбинный двигатель;

[23]

ГТРС - главная топливораспределительная система основной горелки;

[24]

ЖТ - жаровая труба;

[25]

КС - камера сгорания;

[26]

КТРС - корректирующая топливораспределительная система основной горелки;

[27]

ФУ - фронтовое устройство.

[28]

Перечень позиций чертежа

[29]

10 - ФУ модульного элемента; 11 - диффузионная пилотная горелка: 111 - топливопровод пилотной горелки; 12 - основная горелка предварительного смешения; ГТРС 122 и КТРС 123 соответственно главная и корректирующая независимые регулируемые топливораспределительные системы основной горелки; 121 - лопатка завихрителя основной горелки; 1221 и 1231 - соответственно два концентрических кольцевых коллектора основной горелки; ГТРК 1222 и КТРК 1232 - соответственно главные и корректирующие распределительные каналы основной горелки; 1211 и 1212 - соответственно главные и корректирующие выпускные каналы основной горелки; 13 - ЖТ; 131 и 132 - пламенный и газоотводной участки ЖТ; 133 - сквозные отверстия в ЖТ для подачи части воздуха на охлаждение продуктов сгорания; а - расход топлива через пилотную горелку; б - расход топлива через главный канал основной горелки; в - расход топлива через корректирующий канал основной горелки.

[30]

Осуществление изобретения

[31]

Малотоксичная КС ГТД (не показана) собрана из отдельных модулей, расположенных в едином силовом корпусе. Каждый модуль (фиг. 1) содержит фронтовое устройство (ФУ) 10. В состав ФУ 10 входят концентрически расположенные внутренняя диффузионная пилотная горелка 11 с регулируемым топливоподводом 111 и внешняя основная горелка 12 предварительного смешения. Основная горелка 12 снабжена (фиг. 2) радиальным лопаточным завихрителем воздуха с лопатками 121 и с двумя - главной и корректирующей независимыми регулируемыми топливораспределительными системами, соответственно ГТРС 122 и КТРС 123, содержащими соответственно два концентрических кольцевых коллектора 1221 и 1231. К указанным коллекторам подключены распределительные каналы главной и корректирующей топливораспределителных систем, соответственно ГТРК 1222 и КТРК 1232, разнесенные относительно друг друга по ширине каждой лопатки основной горелки и с различным для каждой топливораспределительной системы количеством и расположением выпускных каналов 1211 и 1212 по длине лопатки. В рассматриваемом примере применительно к КС ГТД-11 ОМ ГТРК 1222 были равномерно расположены по всей длине лопатки. По сравнению с ГТРК, количество КТРК 1232 было предусмотрено вдвое меньшим и расположены они были со стороны выходного торца горелки со сдвигом по ширине лопатки 121 так, чтобы топливо из этих каналов попадало в периферийный слой кольцевого пламенного завихренного потока на выходе ФУ. К коллекторам 1221 и 1231 основной горелки подключены топливоподводы соответственно 1223 и 1233 (фиг. 1), на каждом из которых установлен регулирующий клапан (не показаны). К выходу основной горелки 12 примыкает жаровая труба ЖТ 13 (фиг. 1) с пламенным участком 131 и газоотводным участком 132. В выходной части стенки пламенного участка 131 ЖТ 13 предусмотрены сквозные отверстия 132 (фиг. 1) для подачи части воздуха из межмодульного пространства КС на охлаждение продуктов сгорания. Применительно к взятой в качестве примера конструкции модуля двигателя ГТД-110М проходная площадь отверстий для подачи части воздуха на разбавление продуктов сгорания выбрана так, чтобы во ФУ 10 поступало 65-70% воздуха для поддержания температуры в зоне горения за ФУ 10 в диапазоне 1250-1550°С, а на выходе из жаровой трубы - 1000…1055°С. Теплонапряженные участки ЖТ 13 и ФУ 10 модуля оборудованы известными из [2] средствами защиты их стенок от термического воздействия (не показаны), включающими термозащитное покрытие внутренней поверхности и струйное конвективное воздушное наружное охлаждение пламенного участка 131 ЖТ 13.

[32]

Модуль малотоксичной КС ГТД согласно патентуемому изобретению работает следующим образом. Для запуска ГТД ротор с компрессором и турбиной (не показаны) приводят во вращение от внешнего пускового привода (не показан) с тем, чтобы в КС начал поступать воздух, после чего открывают подачу топлива по регулируемому топливоподводу 111 на пилотную горелку 11 (кривая а на фиг. 3) и включают электрические поджигатели (не показаны). После зажигания топливовоздушной смеси на выходе из пилотной горелки 11 и достижения ГТД номинальных оборотов его синхронизируют с частотой электросети и нагружают до достижения на выходе из ЖТ 13 tвых ЖТ=1000-1055°С. Затем скачкообразно закрывают подачу топлива в пилотную горелку 11 с одновременным скачкообразным полным открытием подачи топлива в КТРС 123 основной горелки 12 (кривая в на фиг. 3). При этом создается повышенная концентрация топлива в топливовоздушной смеси, обогащающая ее в области периферийного слоя кольцевого пламенного завихренного потока на выходе ФУ. Дальнейшее нагружение ГТД осуществляют с подачей топлива в ГТРС 122 основной горелки 12 от 0 до 95…99% (кривая 6 на фиг. 3) с постепенным уменьшением расхода через КТРС 123 от 100 до 5…1% от общего расхода топлива.

[33]

Соотношение расходов топлива через ГТРС 122 и КТРС 123 устанавливают экспериментально в период наладки режима, исходя из условия устойчивого безвибрационного характера горения, при этом указанное соотношение расходов топлива определяют для каждой конкретной конструкции модуля функцией температуры на выходе из жаровой трубы в виде Dгл/Dкор=f(tвых ЖТ) и поддерживают в дальнейшем эту зависимость на всех режимах работы основной горелки. Применительно к описанной выше конструкции модуля двигателя ГТД-110М экспериментально найденное указанное соотношение имело вид Dгл/Dкор=-0,1713⋅tвых ЖТ+204,88

[34]

Промышленная применимость

[35]

Способ управления работой модуля малотоксичной камеры сгорания газотурбинного двигателя согласно патентуемому изобретению отвечает условию «промышленная применимость». Сущность технического решения раскрыта в формуле, описании и чертежах достаточно ясно для понимания и промышленной реализации соответствующими специалистами на основании современного уровня техники в области энергомашиностроения.

Как компенсировать расходы
на инновационную разработку
Похожие патенты