патент
№ RU 2669646
МПК E21B33/122

СПОСОБ ГЕРМЕТИЗАЦИИ ЭКСПЛУАТАЦИОННОЙ КОЛОННЫ

Авторы:
Зиятдинов Радик Зяузятович
Номер заявки
2017145786
Дата подачи заявки
25.12.2017
Опубликовано
12.10.2018
Страна
RU
Как управлять
интеллектуальной собственностью
Чертежи 
1
Реферат

Изобретение относится к cпособу герметизации эксплуатационной колонны. Техническим результатом является обеспечение герметичной посадки пакера за одну спускоподъемную операцию. Способ герметизации эксплуатационной колонны включает спуск в эксплуатационную колонну скважины пакера на посадочном инструменте, посадку пакера в эксплуатационной колонне ниже интервала негерметичности с последующим извлечением посадочного инструмента. На устье скважины собирают компоновку снизу вверх: заглушка, перфорированный патрубок, пакер, разъединительное устройство, механический скребок, шаблон, посадочный инструмент. Производят спуск компоновки на посадочном инструменте в эксплуатационную колонну с шаблонированием эксплуатационной колонны до глубины на 50 м ниже интервала посадки пакера. Механическим скребком производят зачистку внутренних стенок эксплуатационной колонны на 15 м выше и на 15 м ниже интервала посадки пакера. Размещают пакер так, чтобы он располагался в интервале посадки ниже интервала нарушения эксплуатационной колонны, но выше продуктивного пласта. Производят посадку пакера и определяют герметичность посадки пакера свабированием жидкости по посадочному инструменту со снижением уровня жидкости до 1000 м с последующим снятием кривой восстановления уровня жидкости в затрубном пространстве. Отстыковывают разъединительное устройство и извлекают из эксплуатационной колонны ниппель разъединительного устройства, скребок, шаблон и посадочный инструмент. На устье скважины собирают и спускают компоновку снизу вверх: ниппель разъединительного устройства, опрессовочное седло, хвостовик из насосно-компрессорных труб (НКТ), сбрасывают шарик в хвостовик и опрессовывают хвостовик на 9,0 МПа. Обратной промывкой жидкости в затрубное пространство вымывают шарик из хвостовика. Собирают и спускают компоновку снизу вверх: электроцентробежный насос с погружным электродвигателем в кожухе, лифтовую колонну НКТ до глубины, не доходя 1,5 м до корпуса разъединительного устройства. Затем спускают лифтовую колонну труб со скоростью 0,1 м/с. Производят стыковку ниппеля с корпусом разъединительного устройства и запускают электроцентробежный насос в работу. 4 ил.

Формула изобретения

Способ герметизации эксплуатационной колонны, включающий спуск в эксплуатационную колонну скважины пакера на посадочном инструменте, посадку пакера в эксплуатационной колонне ниже интервала негерметичности с последующим извлечением посадочного инструмента, отличающийся тем, что на устье скважины собирают компоновку снизу вверх: заглушка, перфорированный патрубок, пакер, разъединительное устройство, механический скребок, шаблон, посадочный инструмент, производят спуск компоновки на посадочном инструменте в эксплуатационную колонну с шаблонированием эксплуатационной колонны до глубины на 50 м ниже интервала посадки пакера, после чего механическим скребком производят зачистку внутренних стенок эксплуатационной колонны на 15 м выше и на 15 м ниже интервала посадки пакера, затем размещают пакер так, чтобы он располагался в интервале посадки ниже интервала нарушения эксплуатационной колонны, но выше продуктивного пласта, производят посадку пакера и определяют герметичность посадки пакера свабированием жидкости по посадочному инструменту со снижением уровня жидкости до 1000 м с последующим снятием кривой восстановления уровня жидкости в затрубном пространстве, после чего отстыковывают разъединительное устройство и извлекают из эксплуатационной колонны ниппель разъединительного устройства, скребок, шаблон и посадочный инструмент, затем на устье скважины собирают и спускают компоновку снизу вверх: ниппель разъединительного устройства, опрессовочное седло, хвостовик из насосно-компрессорных труб (НКТ), сбрасывают шарик в хвостовик и опрессовывают хвостовик на 9,0 МПа, затем обратной промывкой жидкости в затрубное пространство вымывают шарик из хвостовика, далее дособирают и спускают компоновку снизу вверх: электроцентробежный насос с погружным электродвигателем в кожухе, лифтовая колонна НКТ до глубины, не доходя 1,5 м до корпуса разъединительного устройства, затем доспускают лифтовую колонну труб со скоростью 0,1 м/с, производят стыковку ниппеля с корпусом разъединительного устройства и запускают электроцентробежный насос в работу.

Описание

[1]

Изобретение относится к нефтедобывающей промышленности, в частности к способам герметизации эксплуатационной колонны.

[2]

Известен способ восстановления герметичности эксплуатационных колонн (патент RU №2116432, МПК Е21В 33/13, опубл. в бюл. №21 от 27.07.1998), включающий приготовление и закачку в скважину тампонирующих смесей, в том числе цементного раствора, их продавку за колонну в интервал негерметичности эксплуатационной колонны.

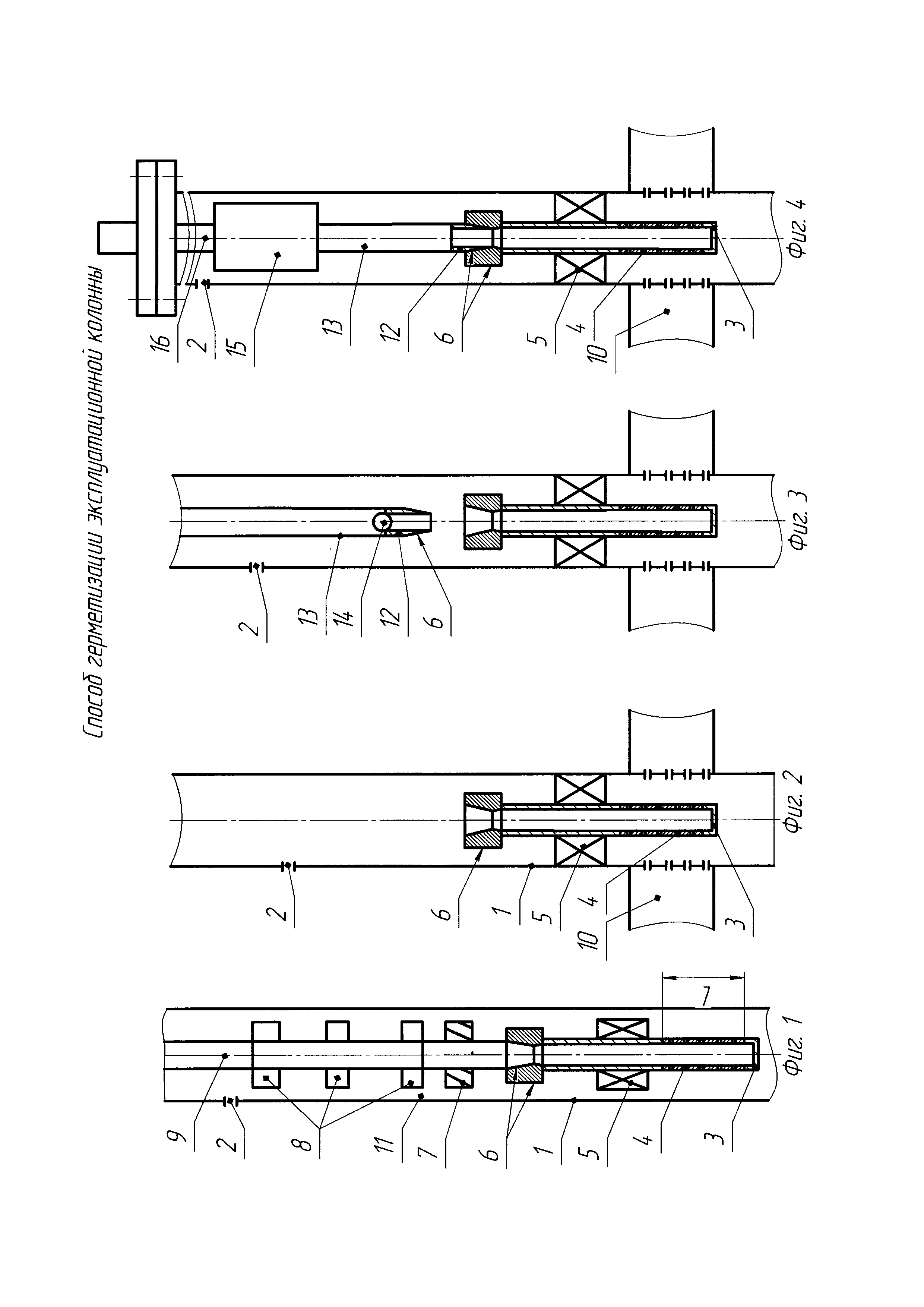
[3]

Недостатки способа:

[4]

- закачка цементного раствора обеспечивает недостаточное восстановление герметичности эксплуатационной колонны, поэтому при повышенной приемистости интервала негерметичности успешность изоляционных работ не превышает 20%;

[5]

- длительность реализации способа, связанная с приготовлением цементного раствора, его закачкой в скважину и продавкой в интервал негерметичности эксплуатационной колонны;

[6]

- высокие затраты на цемент.

[7]

Также известен способ герметизации эксплуатационной колонны (патент RU №2507376, МПК Е21В 33/124, опубл. 20.02.2014 в бюл. №5), включающий спуск в эксплуатационную колонну скважины двух пакеров, соединенных между собой трубой, на посадочном инструменте, их посадку в эксплуатационной колонне выше и ниже нарушения с последующим извлечением посадочного инструмента. Перед герметизацией эксплуатационной колонны временно блокируют пласт самораспадающимся после проверки герметичности нижнего пакера гелем. Затем на устье скважины снизу вверх собирают следующую компоновку: нижний пакер, труба, длина которой больше протяженности интервалов нарушения, верхний пакер, левый переводник, разделительный клапан. Производят спуск компоновки на посадочном инструменте в интервал герметизации эксплуатационной колонны. Далее производят одновременную посадку пакеров, после чего поочередно проверяют герметичность посадки нижнего и верхнего пакеров снижением уровня жидкости в эксплуатационной колонне свабированием по посадочному инструменту. Причем сначала проверяют герметичность посадки нижнего пакера, а затем верхнего пакера. При герметичной посадке обоих пакеров вращают по часовой стрелке посадочный инструмент с устья скважины, отворачивая посадочный инструмент с разделительным клапаном от левого переводника. Извлекают посадочный инструмент с разделительным клапаном из эксплуатационной колонны на поверхность.

[8]

При негерметичной посадке хотя бы одного из пакеров срывают пакеры и извлекают всю компоновку на ревизию, после чего повторяют операции по временной блокировке пласта, спуску, посадке и проверке пакеров на герметичность. Недостатки способа:

[9]

- низкая вероятность герметичной поочередной посадки пакеров за одну спуско-подъемную операцию (СПО), в связи с чем для достижения герметичной посадки пакеров необходимо проводить несколько СПО;

[10]

- невозможность отбора продукции из скважины сразу после герметизации эксплуатационной колонны, так как для этого необходимо спустить лифтовую колонну труб с насосом;

[11]

- сокращение межремонтного периода эксплуатации скважины, связанное с высокой вероятностью разгерметизации эксплуатационной колонны в процессе эксплуатации скважины, так как герметизацию обеспечивают два пакера;

[12]

- затраты на подготовительные работы перед герметизацией эксплуатационной колонны, связанные с шаблонированием эксплуатационной колонны и зачисткой в эксплуатационной колонне места посадки пакеров;

[13]

- необходимость блокировки продуктивного пласта самораспадающимся гелем, снижающим коллекторские свойства продуктивного пласта после самораспада;

[14]

- длительность процесса герметизации эксплуатационной колонны, связанная с закачкой в пласт самораспадающего геля, одновременной посадкой двух пакеров с поочередной проверкой их на герметичность.

[15]

Наиболее близким по технической сущности и достигаемому результату является способ герметизации эксплуатационной колонны (патент RU №2509873, МПК Е21В 33/122, опубл. 20.03.2014 в бюл. №8), включающий спуск в эксплуатационную колонну скважины двух пакеров, соединенных между собой трубой, на посадочном инструменте, их посадку в эксплуатационной колонне выше и ниже интервала негерметичности с последующим извлечением посадочного инструмента. До возникновения негерметичности эксплуатационной колонны отбором проб производят анализ химического состава пластовой жидкости. Затем на устье скважины собирают следующую компоновку снизу вверх: нижний пакер, труба, верхний пакер, левый переводник, разделительный клапан. Производят спуск компоновки на посадочном инструменте в интервал негерметичности эксплуатационной колонны. Далее производят посадку пакеров. Затем приводят в действие разделительный клапан, который гидравлически разделяет компоновку от посадочного инструмента и сообщает внутренние пространства посадочного инструмента с межколонным пространством скважины выше верхнего пакера. Затем свабированием по посадочному инструменту снижают уровень жидкости в скважине над верхним пакером и определяют герметичность посадки верхнего пакера. При негерметичной посадке верхнего пакера срывают пакеры и извлекают всю компоновку на ревизию. После чего повторяют вышеописанные операции до герметичной посадки верхнего пакера, при герметичной посадке верхнего пакера вращают по часовой стрелке посадочный инструмент с устья скважины и отворачивают посадочный инструмент с разделительным клапаном и левым переводником. Извлекают посадочный инструмент с разделительным клапаном и левым переводником из эксплуатационной колонны на поверхность. Запускают скважину в эксплуатацию и отбором проб производят повторный анализ химического состава пластовой жидкости. Сопоставлением результатов анализов химического состава пластовой жидкости в начальной и повторной пробах определяют герметичность посадки нижнего пакера. При негерметичной посадке нижнего пакера выполняют повторную герметизацию эксплуатационной колонны, как описано выше, от спуска компоновки в интервал негерметичности эксплуатационной колонны до определения герметичности посадки нижнего пакера.

[16]

Недостатки способа:

[17]

- низкая вероятность герметичной поочередной посадки пакеров за одну СПО, в связи с чем для достижения герметичной посадки пакеров необходимо проводить несколько СПО;

[18]

- невозможность эксплуатации скважины, т.е. невозможна добыча продукции из скважины сразу после герметизации эксплуатационной колонны, так как для этого необходимо спустить лифтовую колонну труб с насосом;

[19]

- сокращение межремонтного периода эксплуатации скважины, связанное с высокой вероятностью разгерметизации эксплуатационной колонны в процессе эксплуатации скважины, так как, герметизацию обеспечивают два пакера. Кроме того, при разгерметизации пакера(ов) необходимо извлекать насосное оборудование;

[20]

- затраты на подготовительные работы перед герметизацией эксплуатационной колонны, связанные с шаблонированием эксплуатационной колонны и зачисткой в эксплуатационной колонне места посадки пакеров;

[21]

- длительность процесса герметизации эксплуатационной колонны, связанная с одновременной посадкой двух пакеров, поочередной проверкой их на герметичность, а также работами, по определению герметичности нижнего пакера (отбор проб пластовой жидкости перед проведением герметизации эксплуатационной колонны и после нее и анализ химического состава пластовой жидкости).

[22]

Техническими задачами изобретения являются обеспечение герметичной посадки пакера за одну СПО, а также герметизации эксплуатационной колонны с одновременным спуском насосного оборудования за одну СПО, увеличение межремонтного периода эксплуатации скважины с возможностью извлечения насосного оборудования без распакеровки пакера при ревизии лифтовой колонны труб и насосного оборудования, а также сокращение затрат на подготовительные работы перед герметизацией эксплуатационной колонны и продолжительности ремонта скважины в целом.

[23]

Поставленные технические задачи решаются способом герметизации эксплуатационной колонны, включающим спуск в эксплуатационную колонну скважины пакера на посадочном инструменте, посадку пакера в эксплуатационной колонне ниже интервала негерметичности с последующим извлечением посадочного инструмента.

[24]

Новым является то, что на устье скважины собирают компоновку снизу вверх: заглушка, перфорированный патрубок, пакер, разъединительное устройство, механический скребок, шаблон, посадочный инструмент, производят спуск компоновки на посадочном инструменте в эксплуатационную колонну с шаблонированием эксплуатационной колонны до глубины на 50 м ниже интервала посадки пакера, после чего механическим скребком производят зачистку внутренних стенок эксплуатационной колонны на 15 м выше и на 15 м ниже интервала посадки пакера, после чего размещают пакер так, чтобы он располагался в интервале посадки ниже интервала нарушения эксплуатационной колонны, но выше продуктивного пласта, производят посадку пакера и определяют герметичность посадки пакера свабированием жидкости по посадочному инструменту со снижением уровня жидкости до 1000 м с последующим снятием кривой восстановления уровня жидкости в затрубном пространстве, после чего отстыковывают разъединительное устройство и извлекают из эксплуатационной колонны ниппель разъединительного устройства, скребок, шаблон и посадочный инструмент, затем на устье скважины собирают и спускают компоновку снизу-вверх: ниппель разъединительного устройства, опрессовочное седло, хвостовик из насосно-компрессорных труб (НКТ), сбрасывают шарик в хвостовик и опрессовывают хвостовик на 9,0 МПа, затем обратной промывкой жидкости в затрубное пространство вымывают шарик из хвостовика, далее дособирают и спускают компоновку снизу вверх: электроцентробежный насос с погружным электродвигателем в кожухе, лифтовую колонну НКТ до глубины, не доходя 1,5 м до корпуса разъединительного устройства, затем доспускают лифтовую колонну труб со скоростью 0,1 м/с, производят стыковку ниппеля с корпусом разъединительного устройства и запускают электроцентробежный насос в работу.

[25]

На фиг. 1-4 схематично и последовательно изображен предлагаемый способ герметизации эксплуатационной колонны.

[26]

Предлагаемый способ герметизации эксплуатационной колонны реализуют в добывающей скважине следующим образом.

[27]

Производят герметизацию эксплуатационной колонны 1 (см. фиг. 1), например, диаметром 146 мм с толщиной стенки 7 мм, имеющей нарушение 2, например, в интервале 982 м.

[28]

На устье скважины (на фиг. 1-4 не показано) собирают следующую компоновку снизу вверх (фиг. 1): заглушка 3, перфорированный патрубок 4, например, длиной L=2 м, пакер 5, разъединительное устройство 6, механический скребок 7, шаблон 8, посадочный инструмент 9.

[29]

В качестве пакера 5 для эксплуатационной колонны диаметром 146 мм применяют, например, пакер марки ПРО-ЯТО2-122, выпускаемый НПФ «Пакер» (г. Октябрьский, Республика Башкортостан, Российская Федерация).

[30]

Разъединительное устройство 6 представляет собой стыкуемые жестко друг с другом с возможностью механического отсоединения корпус с ниппелем любого известного производителя. Например, применяют разъединительное устройство РКУ-118, выпускаемое НПФ «Пакер» (г. Октябрьский, Республика Башкортостан, Российская Федерация).

[31]

В качестве механического скребка 7 применяют любой известный механический скребок, предназначенный для механического удаления асфальтенопарафиновых отложений на внутренних поверхностях эксплуатационной колонны 1, например СК-146, выпускаемый ООО «НиГМаш-Сервис» (г. Нефтекамск, Республика Башкортостан, Российская Федерация).

[32]

Шаблон 8 должен иметь не менее трех центрирующих элементов (два по концам и один в середине), при этом предпочтительнее конструкция шаблона с подвижными центрирующими элементами, а проходной канал шаблона должен обеспечивать необходимый переток жидкости, чтобы не создавать сопротивление при спуске компоновки и проработке эксплуатационной колонны 1.

[33]

Применяют шаблон 8 любого известного производителя длиной 18 м и диаметром на 8 мм меньше внутреннего диаметра эксплуатационной колонны 1, т.е. (146 мм - 7 мм × 2) - 8 мм=132 мм - 8 мм=124 мм.

[34]

В качестве посадочного инструмента 9 применяют транспортную колонну НКТ, например, диаметром 73 мм.

[35]

Спускают компоновку на посадочном инструменте 9 в эксплуатационную колонну с шаблонированием эксплуатационной колонны 1 до глубины на 50 м ниже интервала посадки пакера 5. Например, интервал посадки пакера 1350 м, значит шаблонируют эксплуатационную колонну до глубины 1350 м+50 м=1400 м. Механическим скребком 7 производят зачистку внутренних стенок эксплуатационной колонны 1 от коррозии, заусенцев, солевых отложений, цементной корки и т.д. на 15 м выше и на 15 м ниже глубины посадки пакера, т.е. 1350 м - 15 м=1335 м и 1350 м+15 м=1365 м.

[36]

После чего размещают пакер 5 так, чтобы он располагался на глубине посадки 1350 м, ниже интервала (982 м) нарушения 2 эксплуатационной колонны 1, но выше продуктивного пласта 10, а перфорированный патрубок 4 находился напротив продуктивного пласта 10 (фиг. 2). По индикатору веса (на фиг. 1-4 не показан), установленному на устье скважины, фиксируют вес всей компоновки на глубине 1350 м, например 110 кН, при этом вес компоновки должен обеспечивать герметичную посадку пакера. Далее осевыми перемещениями посадочного инструмента 9 (фиг. 1) производят посадку пакера 5, т.е. фиксируют его на внутренних стенках эксплуатационной колонны 1, а затем разгружают компоновку весом до 110 кН на пакер 5.

[37]

В предлагаемом способе герметизацию эксплуатационной колонны производят с помощью одного пакера, что повышает вероятность герметичной посадки пакера за одну СПО, а это позволяет сократить время на посадку пакера и снизить финансовые затраты.

[38]

Определяют герметичность посадки пакера свабированием с отбором жидкости по посадочному инструменту 9 со снижением уровня до 1000 м с последующим снятием кривой восстановления уровня (КВУ) жидкости в затрубном пространстве 11.

[39]

В случае негерметичности пакера 5 его срывают и повторяют посадку с определением его герметичности до получения герметичной посадки пакера 5.

[40]

Если уровень жидкости в затрубном пространстве 11 по результатам КВУ не восстанавливается (не поднимается), то это означает герметичную посадку пакера 5.

[41]

После того отстыковывают разъединительное устройство 6 механическим путем, например поворотом разъединительного устройства с помощью посадочного инструмента 9 с устья скважины на 90°, отсоединяют ниппель от корпуса разъединительного устройства 6. Далее извлекают из эксплуатационной колонны 1 ниппель разъединительного устройства 6, механический скребок 7, шаблон 8 и посадочный инструмент 9. В эксплуатационной колонне 1 остаются заглушка 3, перфорированный патрубок 4, посаженный пакер 5, корпус разъединительного устройства 6 (фиг. 2).

[42]

Снижаются затраты на подготовительные работы перед герметизацией эксплуатационной колонны 1, связанные с шаблонированием эксплуатационной колонны 1 и зачисткой места посадки пакера механическим скребком 7, так как эти технологические операции совмещены с посадкой и проверкой пакера на герметичность.

[43]

Затем на устье скважины собирают и спускают в эксплуатационную колонну 1 компоновку снизу вверх (фиг. 3): ниппель разъединительного устройства 6, опрессовочное седло 12, хвостовик 13 из НКТ, например, диаметром 73 мм. Сбрасывают шарик 14 в хвостовик 13 и опрессовывают хвостовик 13 на 9,0 МПа с помощью, например, насосного агрегата ЦА-320, затем обратной промывкой жидкостью, например технической водой, подачей ее в затрубное пространство 11 вымывают шарик 14 из хвостовика 13.

[44]

Далее дособирают и спускают компоновку снизу вверх (фиг. 4): электроцентробежный насос 15 с погружным электродвигателем в кожухе, лифтовую колонну НКТ 16, например, диаметром 73 мм до глубины, не доходя 1,5 м до корпуса разъединительного устройства 6, т.е. до глубины 1350 м - 1,5 м=1348,5 м.

[45]

Доспускают лифтовую колонну НКТ 16 со скоростью 0,1 м/с и стыкуют ниппель в корпусе разъединительного устройства 6.

[46]

Запускают электроцентробежный насос 15 в работу и производят добычу нефти из продуктивного пласта 10.

[47]

Добыча продукции из скважины начинается сразу после герметизации эксплуатационной колонны 1. Таким образом, исключаются дополнительные затраты, связанные со спуском насосного оборудования (лифтовой колонны труб с насосом), так как лифтовая колонна труб позволяет, с одной стороны, совместно с пакером герметизировать нарушение 2, с другой стороны, обеспечивать подъем продукции, подаваемой по ней электроцентробежным насосом 15.

[48]

Причем если в процессе эксплуатации скважины возникает необходимость ревизии или замены хвостовика 13 и/или электроцентробежного насоса 15 и/или лифтовой колонны НКТ 16, то производят отстыковку разъединительного устройства 6, т.е. механическим путем, например поворотом разъединительного устройства с помощью лифтовой колонны НКТ 16 с устья скважины на 90°, отсоединяют ниппель от корпуса разъединительного устройства 6 и извлекают лифтовую колонну НКТ 16, электроцентробежный насос 15 с погружным электродвигателем в кожухе, хвостовик 13 и ниппель разъединительного устройства 6 из эксплуатационной колонны 1.

[49]

При этом корпус разъединительного устройства 6, пакер 5, перфорированный патрубок 4 и заглушка 3 остаются автономно в эксплуатационной колонне 1.

[50]

Для последующей эксплуатации скважины на ее устье повторно собирают компоновку снизу вверх, начиная с ниппеля разъединительного устройства 6 и заканчивая лифтовой колонной НКТ 16. После чего вновь производят стыковку ниппеля в корпусе разъединительного устройства 6 и запускают электроцентробежный насос 15 в работу.

[51]

Наличие одного пакера увеличивает межремонтный период эксплуатации скважины, так как в два раза снижается вероятность разгерметизации эксплуатационной колонны в процессе эксплуатации скважины, и позволяет производить замену насосного оборудования (лифтовой колонны НКТ, электроцентробежного насоса, хвостовика) без извлечения пакера.

[52]

Сокращается продолжительность процесса герметизации эксплуатационной колонны, так как она обеспечивается одним пакером и заключается в его посадке и проверке пакера на герметичность свабированием и снятием КВУ жидкости в затрубном пространстве без отбора проб жидкости до и после герметизации и анализа химического состава проб, а это позволяет сэкономить материальные и финансовые средства в целом на реализацию способа.

[53]

Предлагаемый способ герметизации эксплуатационной колонны позволяет:

[54]

- повысить вероятность герметичной посадки пакера;

[55]

- запустить скважину в эксплуатацию сразу после герметизации эксплуатационной колонны без дополнительного спуска насосного оборудования;

[56]

- увеличить межремонтный период эксплуатации скважины;

[57]

- снизить затраты на подготовительные работы перед герметизацией эксплуатационной колонны;

[58]

- сократить продолжительность процесса герметизации эксплуатационной колонны.

Как компенсировать расходы
на инновационную разработку
Похожие патенты