патент
№ RU 2663442
МПК F16K5/04

Клапан для регулирования расхода горячего газа

Авторы:
Завьялов Станислав Александрович Тумановская Валентина Павловна Домнин Кирилл Геннадьевич
Все (5)
Номер заявки
2017132485
Дата подачи заявки
18.09.2017
Опубликовано
06.08.2018
Страна
RU
Как управлять
интеллектуальной собственностью
Чертежи 
4
Реферат

Изобретение относится к клапанам для регулирования расхода горячего газа, работающим при высоких температурах и давлениях и используемым для управления летательным аппаратом по каналам крена, тангажа и рыскания. Новизна изобретения заключается в том, что заслонка между цапфами выполнена в форме двух цилиндрических сегментов, при этом в заслонке между цилиндрическими сегментами выполнено сквозное отверстие, ось которого лежит в плоскости симметрии оснований цилиндрических сегментов, при этом сквозное отверстие не пересекает ось вращения заслонки. Технический результат заключается в повышении надежности работы клапана без увеличения его веса. 3 з.п. ф-лы, 7 ил.

Формула изобретения

1. Клапан для регулирования горячего газа, состоящий из корпуса с входным и выходным патрубками, заслонки, карданной муфты и вала, в выходной патрубок установлено седло с расходным отверстием, в котором с обеих сторон от входного отверстия выполнены выступы с соосными сквозными цилиндрическими отверстиями, ось которых совпадает с осью цилиндрической поверхности седла, цилиндрическая заслонки соосна седлу и валу, установлена по отношению к цилиндрической поверхности седла с зазором, на заслонке с обеих сторон от цилиндрической поверхности заслонки выполнены цапфы, диаметр которых меньше диаметра цилиндрической поверхности заслонки и меньше максимального диаметра узла соединения заслонки и карданной муфты и оси которых сосны между собой и цилиндрической поверхности заслонки в зоне расходного отверстия седла, цапфы заслонки установлены по посадке в выступы седла, в которых выполнены одинаковые симметричные прорези, при этом на цапфах заслонки выполнены срезы, симметричные относительно плоскости, проходящей через ось выступов седла, а ширина срезов цапф равна ширине прорезей выступов седла, отличающийся тем, что заслонка между цапфами выполнена в форме двух цилиндрических сегментов, радиус сегмента «r», ближайшего к цапфам, меньше радиуса «R» сегмента, ближайшего к расходному отверстию седла, сегменты соединены между собой плоскими поверхностями, касательными к сегменту меньшего радиуса, при этом высота «Н» образующей цилиндрического сегмента превышает размер «h» расходного отверстия седла в плоскости, параллельной оси вала, а в плоскости, перпендикулярной оси вала, расстояние «L» между боковыми ребрами цилиндрического сегмента, ближайшего к расходному отверстию седла, превышает длину «1» расходного отверстия седла в той же плоскости, при этом в заслонке между цилиндрическими сегментами выполнено сквозное отверстие, ось которого лежит в плоскости симметрии оснований цилиндрических сегментов, при этом сквозное отверстие не пересекает ось вращения заслонки.

2. Клапан для регулирования горячего газа по п. 1, отличающийся тем, что в заслонке между цилиндрическими сегментами выполнены по крайней мере два сквозных отверстия, равномерно расположенных между цилиндрическими сегментами.

3. Клапан для регулирования горячего газа по п. 1, отличающийся тем, что расходное отверстие седла выполнено прямоугольной формы, при этом одна пара сторон выполнена параллельной оси вала.

4. Клапан для регулирования горячего газа по п. 1, отличающийся тем, что кромки срезов цапф заслонки, ближайшие к расходному отверстию седла, расположены в зоне сектора с минимальным углом раскрытия β=2⋅α, при этом биссектриса угла β расположена на линии, соединяющей ось вращения заслонки и точку на кромке заслонки, которая определяет расходное отверстие клапана в исходном положении, где:

α - угол, образованный кромками расходного отверстия седла и осью вращения заслонки;

β - угол, образованный кромками срезов цапф заслонки и осью вращения заслонки,

Описание

[1]

Изобретение относится к области машиностроения и направлено на совершенствование конструкций клапанов для регулирования расхода горячего газа, работающих при высоких температурах и давлениях и используемых для управления летательным аппаратом по каналам тангажа, рыскания и крена.

[2]

Известна конструкция клапана для регулирования расхода горячего газа, состоящая из корпуса с входным и выходным патрубками, в выходной патрубок установлено седло с расходным отверстием, в котором с обеих сторон от входного отверстия выполнены выступы с соосными сквозными цилиндрическими отверстиями, ось которых совпадает с осью цилиндрической поверхности седла, и сосной седлу цилиндрической заслонки, в заслонке выполнено сквозное отверстие, образующее совместно с расходным отверстием седла регулируемое расходное сечение клапана, и вала, кинематически через карданную муфту соединенного с заслонкой, установленной по отношению к седлу с кольцевым зазором, на которой с обеих сторон от цилиндрической поверхности заслонки в зоне расходного отверстия выполнены цапфы, диаметр которых меньше диаметра цилиндрической поверхности заслонки в зоне расходного отверстия и меньше максимального диаметра узла соединения заслонки и карданной муфты и оси которых сосны между собой и цилиндрической поверхности заслонки в зоне расходного отверстия, цапфы заслонки установлены по посадке в выступы седла, в которых выполнены одинаковые симметричные прорези, ширина которых равна 0,9…0,95 величины диаметра сквозных отверстий выступов седла, при этом на цапфах заслонки выполнены срезы, симметричные относительно плоскости, проходящей через ось выступов седла, а ширина срезов цапф равна ширине прорезей выступов седла (Патент РФ №2422709, 2010 г., кл. FK16 5/04, F16K 5/10).

[3]

Недостаток этой конструкции заключается в том, что наличие сквозного отверстия в заслонке снижает ее прочность в направлении изгиба, что уменьшает надежность конструкции. Повышение прочности конструкции за счет увеличения размеров приведет к увеличению веса конструкции, что нежелательно для летательных аппаратов. Еще один недостаток конструкции заключается в том, что при таком взаимном положении срезов цапф заслонки увеличивается осевой люфт между седлом и заслонкой в зоне расходного отверстия седла, который требует увеличения кольцевого зазора, что приводит за счет утечек к увеличению расхода рабочего тела при закрытом расходном отверстии седла.

[4]

Целью изобретения является повышение надежности работы без увеличения веса конструкции.

[5]

Указанная цель достигается тем, что в клапане для регулирования горячего газа, состоящем из корпуса с входным и выходным патрубками, заслонки, карданной муфты и вала, в выходной патрубок установлено седло с расходным отверстием, в котором с обеих сторон от входного отверстия выполнены выступы с соосными сквозными цилиндрическими отверстиями, ось которых совпадает с осью цилиндрической поверхности седла, цилиндрическая заслонка соосна седлу и валу, установлена по отношению к цилиндрической поверхности седла с зазором, на заслонке с обеих сторон от цилиндрической поверхности заслонки выполнены цапфы, диаметр которых меньше диаметра цилиндрической поверхности заслонки и меньше максимального диаметра узла соединения заслонки и карданной муфты и оси которых соосны между собой и цилиндрической поверхности заслонки в зоне расходного отверстия седла, цапфы заслонки установлены по посадке в выступы седла, в которых выполнены одинаковые симметричные прорези, при этом на цапфах заслонки выполнены срезы, симметричные относительно плоскости, проходящей через ось выступов седла, а ширина срезов цапф равна ширине прорезей выступов седла, заслонка между цапфами выполнена в форме двух цилиндрических сегментов, радиус сегмента «r», ближайшего к цапфам, меньше радиуса «R» сегмента, ближайшего к расходному отверстию седла, сегменты соединены между собой плоскими поверхностями, касательными к сегменту меньшего радиуса, при этом высота «H» образующей цилиндрического сегмента превышает размер «h» расходного отверстия седла в плоскости, параллельной оси вала, а в плоскости, перпендикулярной оси вала, расстояние «L» между боковыми ребрами цилиндрического сегмента, ближайшего к расходному отверстию седла, превышает длину «l» расходного отверстия седла в той же плоскости, при этом в заслонке между цилиндрическими сегментами выполнено сквозное отверстие, ось которого лежит в плоскости симметрии оснований цилиндрических сегментов, при этом сквозное отверстие не пересекает ось вращения заслонки, кромки срезов цапф заслонки, ближайшие к расходному отверстию седла, расположены в зоне сектора с минимальным углом раскрытия β=2⋅α, при этом биссектриса угла β расположена на линии, соединяющей ось вращения заслонки и точку на кромке заслонки, которая определяет расходное отверстие клапана в исходном положении, где:

[6]

α - угол, образованный кромками расходного отверстия седла и осью вращения заслонки;

[7]

β - угол, образованный кромками срезов цапф заслонки и осью вращения заслонки.

[8]

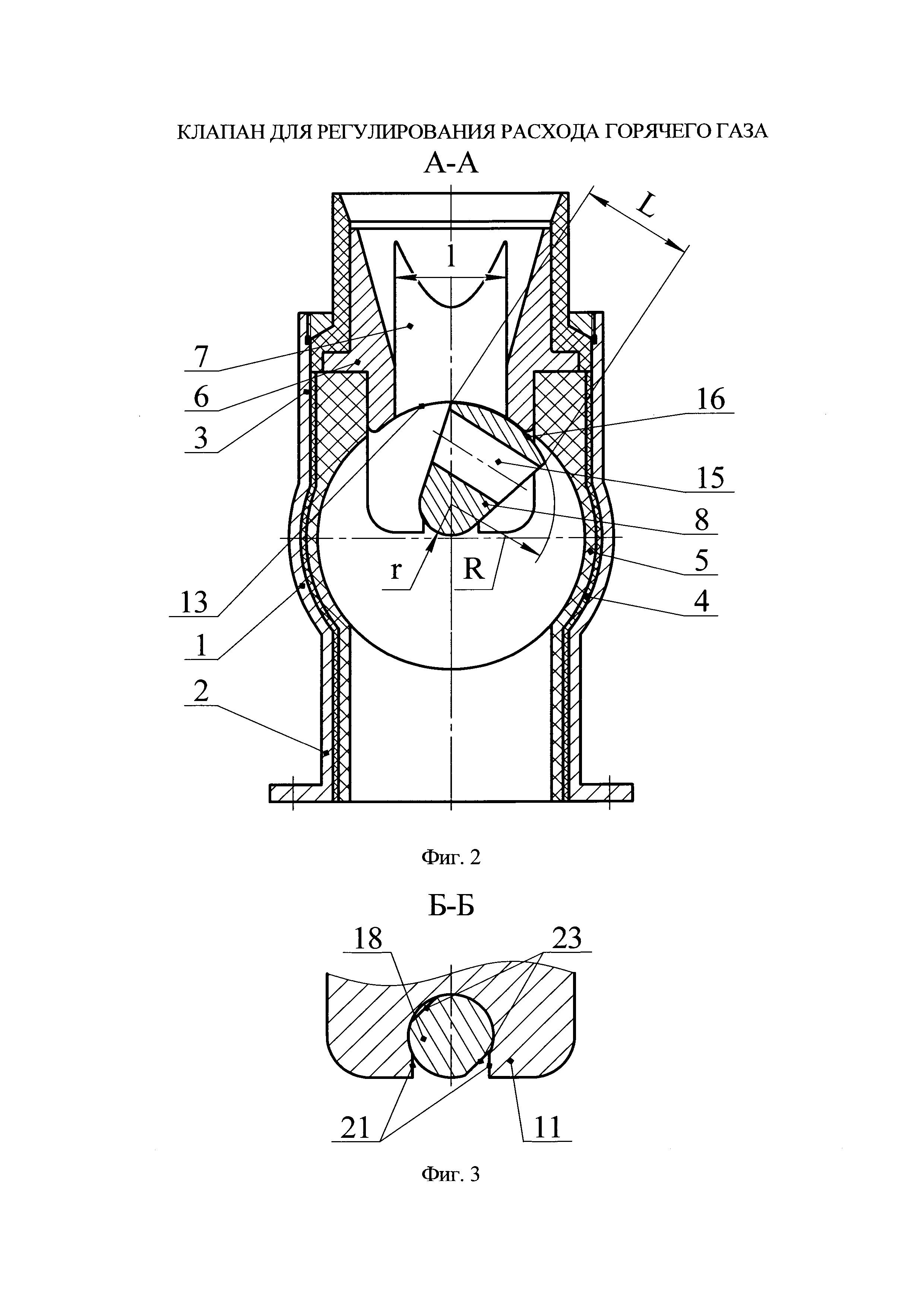
На фиг. 1 приведен общий вид клапана для регулирования расхода горячего газа.

[9]

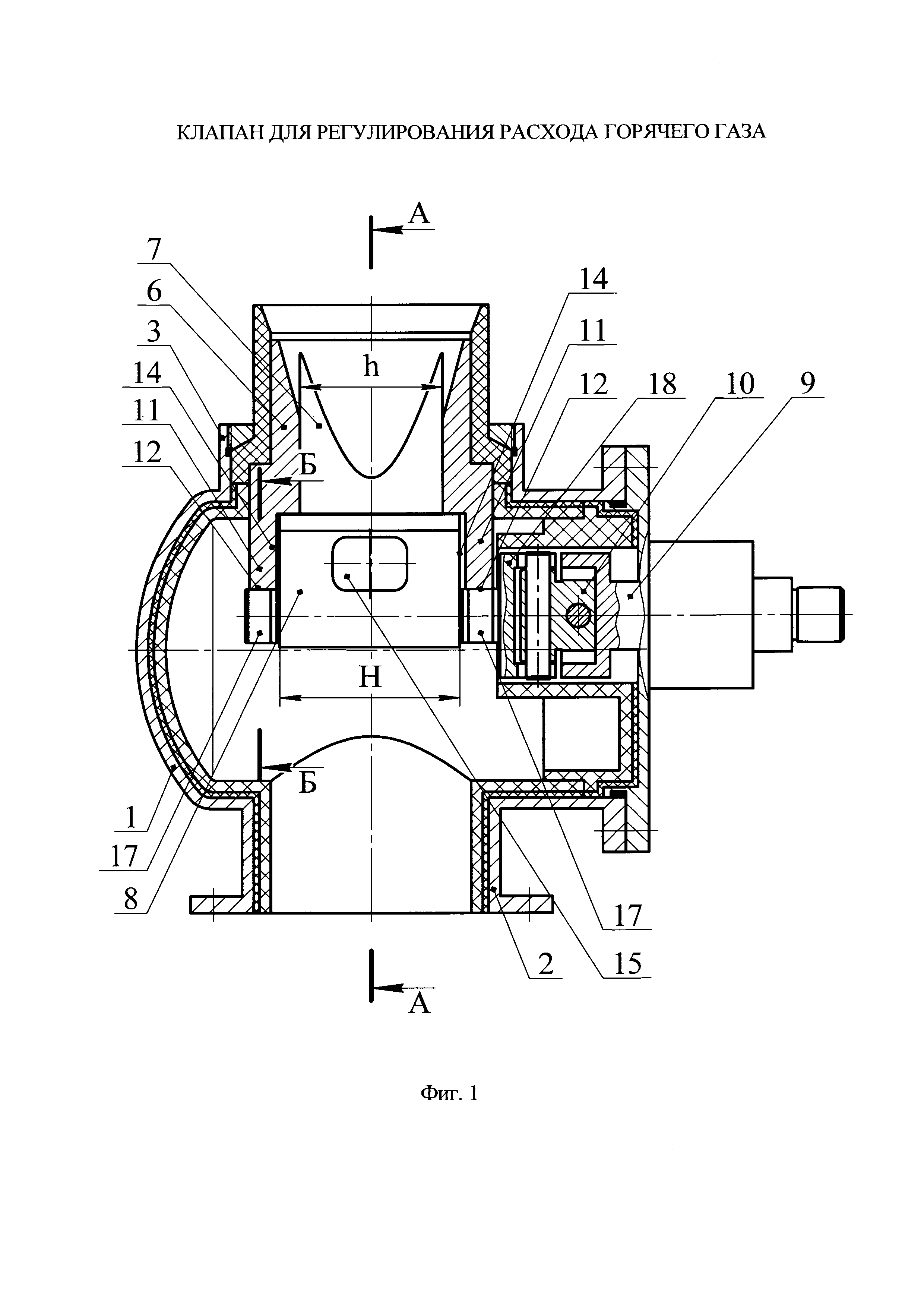
На фиг. 2 приведено сечение клапана для регулирования расхода горячего газа.

[10]

На фиг. 3 показана установка цапф заслонки в выступы седла.

[11]

На фиг. 4 показано соединение заслонки с седлом.

[12]

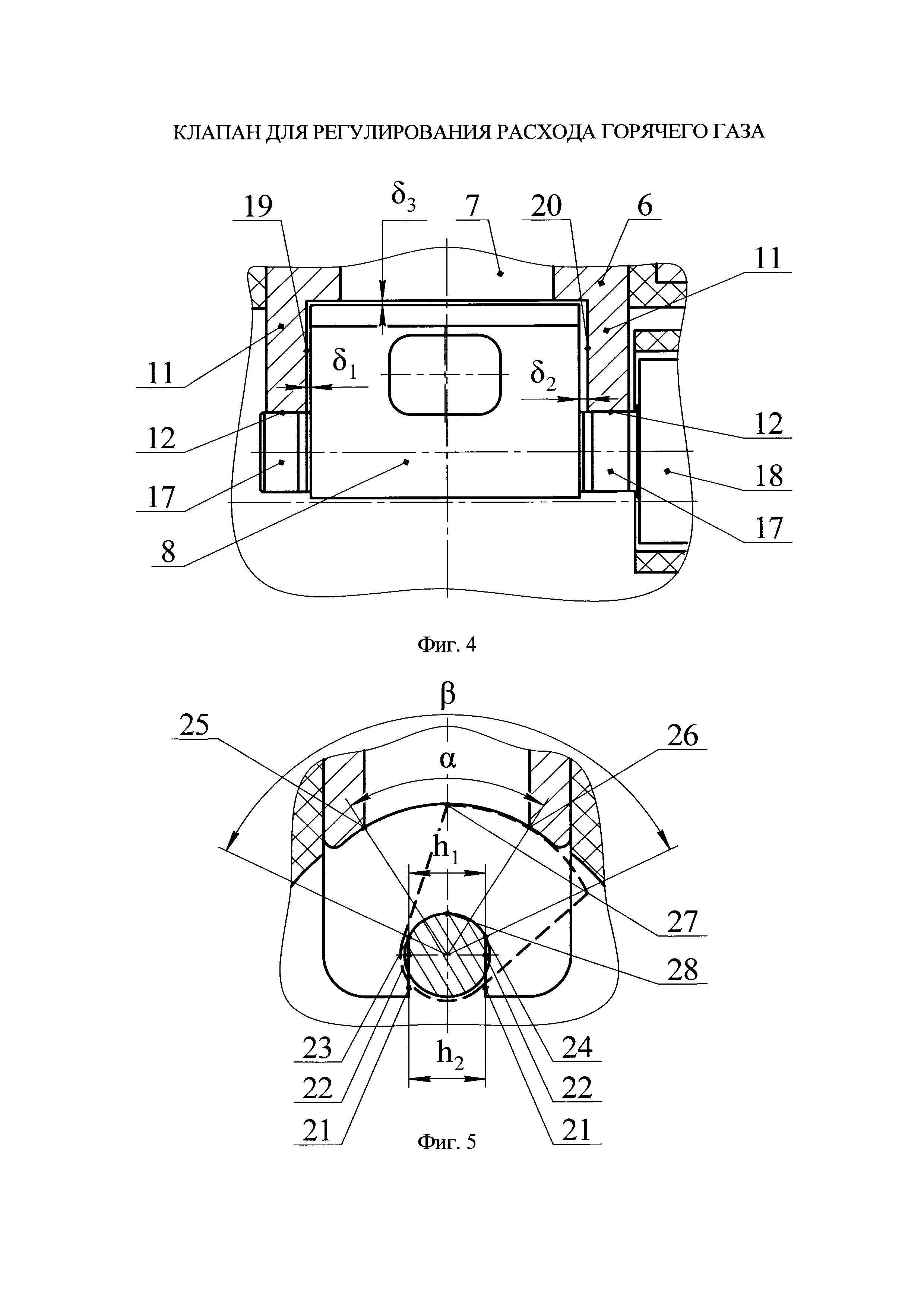
На фиг. 5 показано соединение заслонки с седлом в поперечном сечении.

[13]

На фиг. 6 показано положение срезов на цапфах заслонки при полностью открытом расходном отверстии седла.

[14]

На фиг. 7 показано положение срезов на цапфах заслонки при полностью закрытом расходном отверстии седла.

[15]

Клапан для регулирования расхода горячего газа (фиг. 1, 2) состоит из корпуса 1 с входным 2 и выходным 3 патрубками. Корпус 1 защищен изнутри последовательно теплозащитным покрытием 4 и деталями 5 из эрозионно-стойкого материала. Во входной патрубок установлено седло 6 с расходным отверстием 7. Заслонка 8 кинематически связана с валом 9 через карданную муфту 10.

[16]

С обеих сторон от расходного отверстия 7 седла 6 выполнены выступы 11 со сквозными цилиндрическими отверстиями 12, соосными друг другу и цилиндрической поверхности 13 седла 6.

[17]

Заслонка 8 между цапфами выполнена в форме двух цилиндрических сегментов (фиг. 2), радиус «r» сегмента, ближайшего к цапфам, меньше радиуса «R» сегмента, ближайшего к расходному отверстию 7 седла 6, сегменты соединены между собой плоскими поверхностями, касательными к сегменту меньшего радиуса «r».

[18]

Расстояние «L» между боковыми ребрами цилиндрического сегмента, ближайшего к расходному отверстию 7 седла 6, в плоскости, перпендикулярной оси вала 9, превышает ширину «l» расходного отверстия 7 седла 6, а в плоскости, параллельной оси вала 9, высота «H» образующей цилиндрического сегмента (расстояние между основаниями цилиндрических сегментов 14) заслонки 8 превышает длину «h» расходного отверстия 7 седла 6.

[19]

В заслонке 8 выполнено одно сквозное отверстие 15, ось которого лежит в плоскости симметрии оснований цилиндрических сегментов 14, или несколько сквозных отверстий, равномерно расположенных между основаниями цилиндрических сегментов 14.

[20]

Цилиндрическая поверхность 16 заслонки 8 соосна цилиндрической поверхности 13 седла 6.

[21]

На заслонке 8 выполнены цапфы 17, диаметр которых меньше диаметра цилиндрической поверхности 16 заслонки 8 и меньше максимального диаметра элемента соединения 18 заслонки 8 с карданной муфтой 10.

[22]

Заслонка установлена с зазорами δ1 и δ2 по отношению к торцевым поверхностям 19 и 20 выступов 11 седла 6 и кольцевым зазором δ3 между цилиндрической поверхностью 16 заслонки 8 и цилиндрической поверхностью 13 седла 6.

[23]

Цапфы 17 заслонки 8 (фиг. 3) установлены по посадке с зазором в цилиндрические отверстия 12 выступов 11 седла 6, в которых выполнены симметричные прорези 21, при этом на цапфах 17 заслонки 8 выполнены срезы 22, симметричные относительно плоскости, проходящей через ось выступов 11 седла 6, а ширина «h1» срезов 22 цапф 17 равна ширине прорезей «h2» 21 выступов 11 седла 6.

[24]

Кромки срезов 23 и 24 (фиг. 5) цапф 17 заслонки 8, ближайшие к расходному отверстию 7 седла 6, расположены в зоне сектора с минимальным углом раскрытия:

[25]

β=2⋅α,

[26]

где:

[27]

α - угол, образованный кромками 25 и 26 расходного отверстия 7 седла 6 и осью вращения заслонки 8;

[28]

β - угол, образованный кромками срезов 23 и 24 цапф 17 заслонки 8 и осью вращения заслонки 8.

[29]

При этом биссектриса угла β расположена на линии, соединяющей ось вращения заслонки 8 и точку на кромке 27 заслонки 8, которая определяет расходное отверстие клапана в исходном (до начала работы клапана) положении.

[30]

Расходное отверстие 7 седла 6 может быть выполнено прямоугольной формы, при этом одна пара сторон параллельна оси вращения.

[31]

Кромка 27 заслонки 10 определяют величину расходного отверстия клапана.

[32]

При работе горячие газы поступают внутрь клапана через входной патрубок 2 и истекают наружу. При повороте вала 9 через карданную муфту 10 вращение передается на заслонку 8, и она изменяет площадь расходного отверстия 7 седла 6, создавая определенный расход горячего газа, этим обеспечивается управление летательным аппаратом.

[33]

Т.к. заслонка выполнена сплошной, между цапфами 17 уменьшаются изгибные напряжения, что приводит к увеличению надежности работы клапана.

[34]

Наличие отверстия 15 в заслонке 8 обеспечивает свободный подвод газа к расходному отверстию 7 седла 6. Выполнение нескольких отверстий в приливе 14 обеспечивает равномерный нагрев в области прилива 14 заслонки 8, что снижает величину термических напряжений.

[35]

Выполнение расходного отверстия 7 седла 6 прямоугольной формы обеспечивает линейность расходной характеристики.

[36]

В ракетной технике обычно применяются стандартные рулевые приводы, в которых углы поворота обычно ограничены значениями ±(30…33) (И.М. Гладков и др. Массовые характеристики исполнительных устройств систем управления баллистических твердотопливных ракет и космических аппаратов. М., 1977 г.).

[37]

Сборка осуществляется следующим образом. Заслонка через прорези 21 устанавливается в выступы 11. Цапфы 17 заслонки 9 за счет срезов 22 заходят в отверстия 12 выступов 11 седла 6, заслонка поворачивается так, чтобы кромка 25 расходного отверстия 7 седла 6 совпала с кромкой 27 заслонки. Это исходное положение заслонки, когда расходное отверстие клапана полностью перекрыто.

[38]

При исходном положении и в работе, когда заслонка открывает полностью или закрывает расходное отверстие седла (фиг. 6 и 7), цапфы заслонки контактируют с поверхностью отверстий 12 по точке контакта 28, чем обеспечивается постоянство зазора δ3. Когда заслонка 8 установлена в исходное положение, она не может выпасть из седла 6, а при работе заслонка 8 все время поджата давлением рабочего тела к седлу 6.

[39]

Таким образом, как видно из вышеизложенного, конструкция обеспечивает повышение прочности заслонки 8, постоянство зазора δ3 между заслонкой 8 и седлом 6, а следовательно, повышается надежность работы. Дополнительно достигается еще одна цель - линейность расходной характеристики.

Как компенсировать расходы
на инновационную разработку
Похожие патенты