патент
№ RU 2684050
МПК F16L58/18

Способ защиты внутренней зоны соединений ремонтного патрубка с концами аварийного участка трубопровода с внутренним покрытием

Авторы:
Князев Сергей Юрьевич
Номер заявки
2018120046
Дата подачи заявки
30.05.2018
Опубликовано
03.04.2019
Страна
RU
Как управлять
интеллектуальной собственностью
Чертежи 
2
Реферат

Изобретение относится к области трубопроводного транспорта и может быть использовано при строительстве и ремонте трубопроводов различного назначения, транспортирующих агрессивные среды. Способ включает установку на вырезанном аварийном участке трубопровода ремонтного патрубка, в концы которого установлены втулки, имеющие на концах уплотнительные элементы, частичный ввод втулок осевым смещением в концы аварийного участка трубопровода при помощи боковых выступов, перемещающихся в продольных прорезях, выполненных на концах патрубка, герметизацию соответствующих стыков и сквозных прорезей, соединение стыков и герметизацию боковых прорезей с фиксацией втулок от осевого смещения. Втулки оснащают на концах расширениями, между которыми и уплотнительными элементами устанавливают два толкателя, причем боковые выступы соединяют с одним из толкателей защитной втулки, после частичного ввода втулок в концы аварийного участка трубопровода толкатели без выступов фиксируют относительно патрубка или трубопровода, выступы с другим толкателем перемещают от зафиксированного толкателя до сдвига уплотнительных элементов на расширения с герметизацией пространств между концом трубопровода и защитной втулкой и между патрубком и защитной втулкой. Предлагаемый способ обеспечивает надежной антикоррозионной защитой соединения ремонтного патрубка с ремонтируемым трубопроводом, имеющим внутреннее покрытие без осевого смещения соединяемых концов. 4 ил.

Формула изобретения

Способ защиты внутренней зоны соединений ремонтного патрубка с концами аварийного участка трубопровода с внутренним покрытием, включающий установку на вырезанном аварийном участке трубопровода ремонтного патрубка с длиной, равной длине вырезанного аварийного участка, в концевые полости которого установлены на всю длину защитные втулки в антикоррозионном исполнении, имеющие на концах уплотнительные элементы, частичный ввод защитных втулок осевым смещением в концы аварийного участка трубопровода при помощи боковых выступов, перемещающихся в продольных сквозных прорезях, выполненных на концах ремонтного патрубка, герметизацию изнутри соответствующих стыков и сквозных прорезей, соединение стыков и герметизацию боковых прорезей с фиксацией внутренних защитных втулок от осевого смещения, отличающийся тем, что защитные втулки оснащают снаружи на концах конусными расширениями, между которыми и подвижными уплотнительными элементами на каждой втулке устанавливают с возможностью продольного перемещения два толкателя, причем боковые выступы жестко соединяют с одним из толкателей соответствующей защитной втулки, после частичного ввода соответствующей защитной втулки в конец аварийного участка трубопровода толкатель без выступов фиксируют относительно ремонтного патрубка или конца трубопровода, выступы с другим толкателем перемещают от зафиксированного толкателя до сдвига уплотнительных элементов на конусные расширения с герметизацией пространств между концом трубопровода и защитной втулкой и между ремонтным патрубком и защитной втулкой.

Описание

[1]

Изобретение относится к области трубопроводного транспорта и может быть использовано при строительстве и ремонте трубопроводов различного назначения, транспортирующих агрессивные среды.

[2]

Известен способ защиты от коррозии зоны сварного соединения металлических труб с внутренним противокоррозионным покрытием (патент RU №2342588, МПК F16L 13/02, опубл. в бюл. №36 от 27.12.2008), включающий установку внутри конца трубы втулки, имеющей на наружной поверхности герметизирующее кольцо, закрепление втулки и подготовку концов втулки и трубы под сварку встык. Втулку изготавливают в виде двух телескопически соединенных между собой патрубков, внутренний из которых выполнен из коррозионностойкого металла и с кольцевым выступом. Герметизирующее кольцо размещают в промежутке между кольцевым выступом и внутренним торцом внешнего патрубка. Внешний патрубок вводят в трубу и прикрепляют к трубе. Путем силового перемещения внутреннего патрубка в осевом направлении прижимают герметизирующее кольцо к кольцевому выступу и торцу внешнего патрубка. Затем прикрепляют внутренний патрубок к внешнему патрубку.

[3]

Недостатком данного способа является высокая стоимость втулки, так как ее внутренний патрубок изготавливается из дорогостоящей коррозионностойкой стали. Другим недостатком способа является большой объем сварки при соединении подготовленных концов труб, так как сварке подлежат три слоя металла: труба, наружный и внутренний патрубки. Большой объем сварки вызывает повышенное температурное влияние на внутреннее покрытие и герметизирующее кольцо. Как следствие, возникает необходимость увеличения расстояния от сварного шва до кольца, что, в свою очередь, увеличивает общую длину и, соответственно, стоимость втулки. Кроме того, корень шва должен выполняться специальным дорогостоящим электродом для сварки коррозионностойкой стали, что ведет к удорожанию сварочных работ и требует высокой квалификации сварщика.

[4]

Известен способ соединения труб с внутренним покрытием (патент RU №2226637, МПК F16L 13/02, опубл. 10.04.2004), включающий калибровку и расширение внутреннего диаметра концов труб до нанесения покрытия. При соединении труб в полость их концов размещают внутреннюю защитную втулку, после чего трубы сваривают. Втулка имеет противокоррозионное покрытие, а на концах наружные уплотнительные элементы, которые размещаются в зонах изменения внутреннего диаметра концов труб.

[5]

Недостатком данного способа является то, что для размещения внутренней защитной втулки в полость концов соединяемых труб необходимо осуществлять их осевое смещение для стыковки. Данное смещение возможно при строительстве трубопровода, когда его можно осуществлять трубой, привариваемой к уже смонтированному участку трубопровода. Необходимость осевого смещения вызывает сложности в процессе установки патрубка в существующий трубопровод для ремонта аварийного участка. В данном случае осевое смещение соединяемых концов трубопровода или патрубка невозможно.

[6]

Наиболее близким по технической сущности является способ защиты внутренней зоны соединений труб с внутренним покрытием (патент RU №2637786, МПК F16L 13/00, опубл. 07.12.2017), включающий установку на вырезанном аварийном участке трубопровода ремонтного патрубка с длиной, равной длине вырезанного аварийного участка, в концевые полости которого установлены на всю длину защитные втулки в антикоррозионном исполнении, имеющие на концах уплотнительные элементы, частичный ввод защитных втулок осевым смещением в концы аварийного участка трубопровода при помощи боковых выступов, перемещающихся в продольных сквозных прорезях, выполненных на концах ремонтного патрубка, герметизацию изнутри соответствующих стыков и сквозных прорезей, соединение стыков и герметизацию боковых прорезей с фиксацией внутренних защитных втулок от осевого смещения.

[7]

Недостатком способа является ненадежная антикоррозионная защита соединений ремонтного патрубка. Это связано с необходимостью осевого смещения соединяемых концов трубопровода для герметизации уплотнительных элементов защитных втулок (согласно описаниям патентов RU №2557827, №2080510, №2226637, на которые в способе дана ссылка). При ремонте аварийного участка трубопровода вставкой ремонтного патрубка осуществить осевое смещение концов трубопровода невозможно.

[8]

Технической задачей изобретения является обеспечение надежной антикоррозионной защитой соединений ремонтного патрубка с ремонтируемым трубопроводом, имеющим внутреннее покрытие без осевого смещения соединяемых концов.

[9]

Поставленная задача решается способом, включающим установку на вырезанном аварийном участке трубопровода ремонтного патрубка с длиной, равной длине вырезанного аварийного участка, в концевые полости которого установлены на всю длину защитные втулки в антикоррозионном исполнении, имеющие на концах уплотнительные элементы, частичный ввод защитных втулок осевым смещением в концы аварийного участка трубопровода при помощи боковых выступов, перемещающихся в продольных сквозных прорезях, выполненных на концах ремонтного патрубка, герметизацию изнутри соответствующих стыков и сквозных прорезей, соединение стыков и герметизацию боковых прорезей с фиксацией внутренних защитных втулок от осевого смещения.

[10]

Новым является то, что защитные втулки оснащают снаружи на концах конусными расширениями, между которыми и подвижными уплотнительными элементами на каждой втулке устанавливают с возможностью продольного перемещения два толкателя, причем боковые выступы жестко соединяют с одним из толкателей соответствующей защитной втулки, после частичного ввода соответствующей защитной втулки в конец аварийного участка трубопровода толкатель без выступов фиксируют относительно ремонтного патрубка или конца трубопровода, выступы с другим толкателем перемещают от зафиксированного толкателя до сдвига уплотнительных элементов на конусные расширения с герметизацией пространств между концом трубопровода и защитной втулкой и между ремонтным патрубком и защитной втулкой.

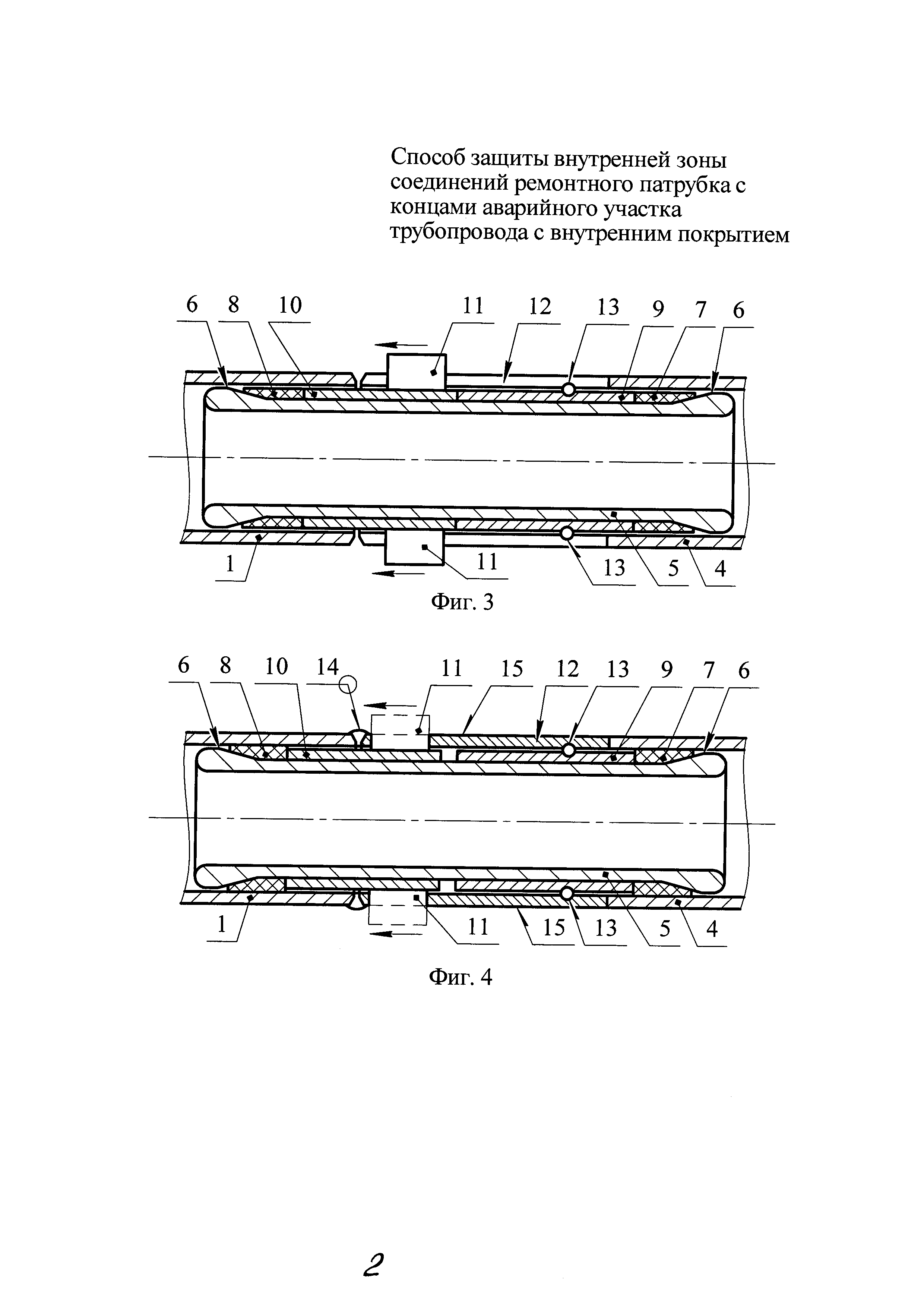
[11]

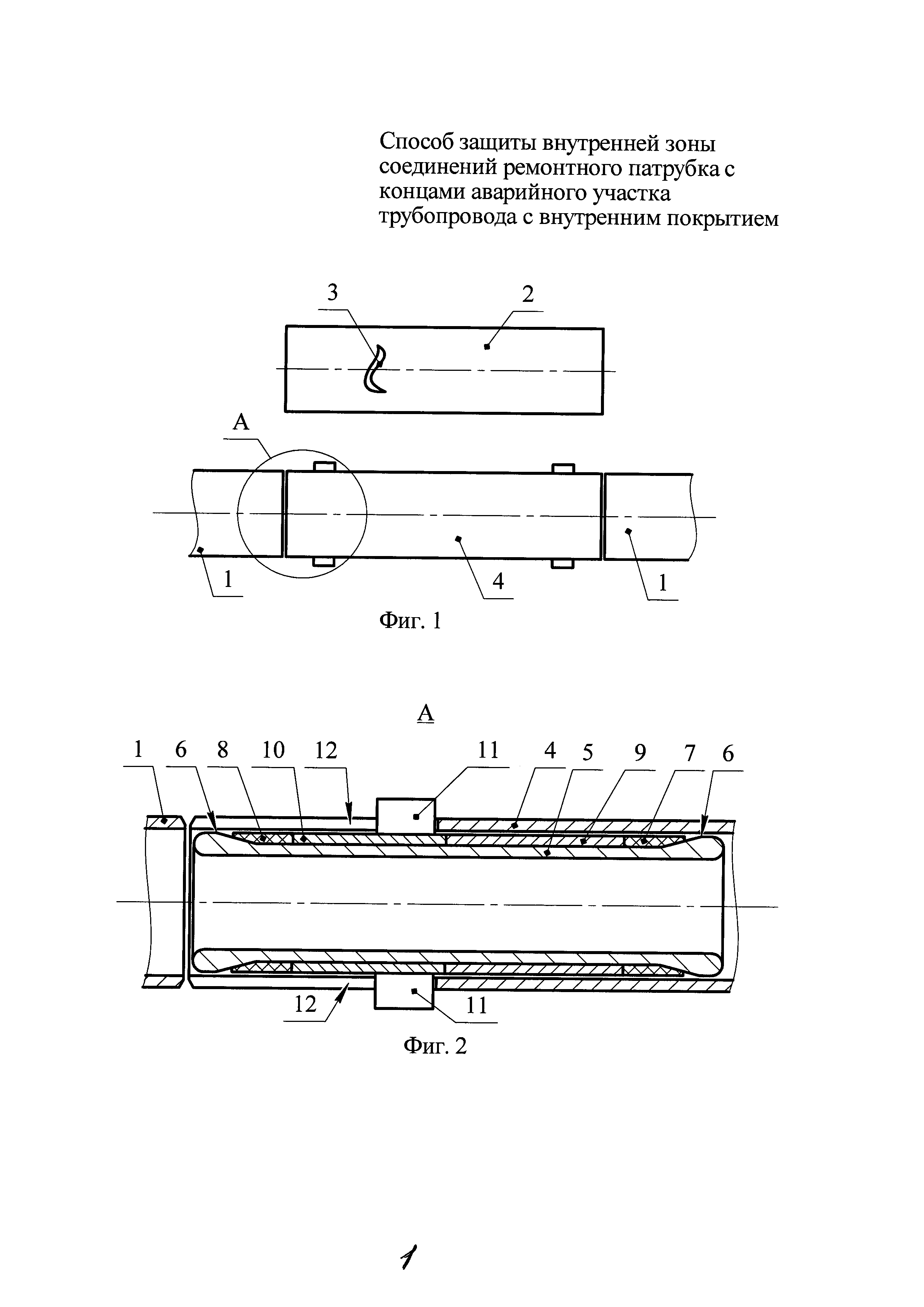
На фиг. 1 изображены демонтаж аварийного участка на трубопроводе с внутренним покрытием и установка на его место ремонтного патрубка.

[12]

На фиг. 2 изображен один конец ремонтного патрубка, соединяемый с концом ремонтируемого трубопровода.

[13]

На фиг. 3 изображен процесс установки одной внутренней защитной втулки ремонтного патрубка в полость конца ремонтируемого трубопровода.

[14]

На фиг. 4 изображен один конец ремонтного патрубка, полностью соединенный с концом ремонтируемого трубопровода, с установкой внутренней защитной втулки.

[15]

Способ защиты внутренней зоны соединений ремонтного патрубка с концами аварийного участка трубопровода с внутренним покрытием может осуществляться следующим образом.

[16]

На трубопроводе с внутренним покрытием 1 (фиг. 1) вырезают аварийный участок 2 с дефектом 3. Для соединения концов трубопровода 1 устанавливается ремонтный патрубок 4 с внутренним покрытием. На фиг. 2 изображен разрез левого конца ремонтного патрубка 4, соединяемого с концом ремонтируемого трубопровода 1. В концевые полости ремонтного патрубка 4 предварительно установлены внутренние защитные втулки 5, выполненные в антикоррозионном исполнении, например, из коррозионностойких материалов или стали с антикоррозионными покрытиями. Защитные втулки 5 оснащают на концах наружными конусными расширениями 6 и наружными уплотнительными элементами 7 и 8 из упруго-эластичного материала (например, из резины, полиуретана, каучука и т.д.). Уплотнительные элементы 7 и 8 выполняют подвижными, с возможностью осевого перемещения на защитных втулках 5. На каждую защитную втулку 5 между уплотнительными элементами 7 и 8, сдвинутыми к радиальным расширениям 6, устанавливают два толкателя 9 и 10, которые могут свободно смещаться в осевом направлении. К наружной поверхности толкателей 10 жестко крепятся (сваркой, пайкой, склеиванием и т.д.) боковые выступы 11, выполненные в виде пластин. На боковой поверхности концов ремонтного патрубка 4 изготавливают продольные прорези 12. Защитные втулки 5 устанавливают в концевые полости ремонтного патрубка 4 на всю их длину таким образом, чтобы они не мешали установке ремонтного патрубка 4 между соединяемыми концами трубопровода 1. При этом боковые выступы 11 защитных втулок 5 располагают в продольных прорезях 12 ремонтного патрубка 4. После установки ремонтного патрубка 4 в сборе с двумя защитными втулками 5 между соединяемыми концами трубопровода 1 осуществляют его фиксацию сварочными прихватками. После этого внутренние защитные втулки 5 (фиг. 3) частично вводятся во внутренние полости соединяемых концов трубопровода 1 за счет продольного смещения при помощи боковых выступов 11 (направление указано стрелками) вручную или при помощи механизма, работающего по принципу винтового или гидравлического домкрата, устанавливаемого между противоположно расположенными боковыми выступами 11 (на фиг. 3 не изображен). При продольном смещении боковые выступы 11 двигают толкатели 10 (за счет жесткого крепления), толкатели 10, в свою очередь, двигают защитные втулки 5 через уплотнительные элементы 8, упирающиеся в радиальные расширения 6. После частичного ввода внутренних защитных втулок 5 во внутренние полости соединяемых концов трубопровода 1 производится фиксация толкателей 9 от осевого смещения при помощи сварочных прихваток 13 к телу ремонтного патрубка 4 через продольные прорези 12. Затем продолжают продольное силовое смещение боковых выступов 11 (фиг. 4) в том же направлении (направление указано стрелками). При этом боковые выступы 11 двигают толкатели 10, которые, в свою очередь, двигают защитные втулки 5 через уплотнительные элементы 8. Защитные втулки 5, в свою очередь, сдвигаясь в том же направлении, прижимают конусными расширениями 6 уплотнительные элементы 7 к неподвижным толкателям 9. Одновременно сжатию подвергаются и уплотнительные элементы 8 между толкателями 10 и радиальными расширениями 6 защитной втулки 5. Так как уплотнительные элементы 7 и 8 идентичны, осевая сжимающая нагрузка от осевого смещения перечисленных выше элементов будет распределяться равномерно. Для снижения нагрузки сжатия уплотнительных элементов 7 и 8 на них предварительно наносят смазку (литол, солидол, масло и т.д.), которая снижает силу трения между уплотняемыми поверхностями. При полном сжатии уплотнительных элементов 7 и 8 происходит герметизация полости между защитными втулками 5, трубопроводом 1 и ремонтным патрубком 4 от внутренней полости трубопровода 1. После сжатия уплотнительных элементов 7 и 8 боковые выступы 11 фиксируются от обратного осевого смещения сварочными прихватками к телу ремонтного патрубка 4. Затем выполняют кольцевые сварные швы 14 ремонтного патрубка 4, соединяющие его с трубопроводом 1. Затем герметизируются продольные прорези 12 ремонтного патрубка 4, например, сваркой 15, пайкой, клеем и т.п. При этом боковые выступы 11 защитных втулок 5 крепятся в герметизирующем слое продольных прорезей 12 (свариваются, паяются, склеиваются и т.п.), а излишняя длина боковых выступов 11 обрезается по наружной поверхности ремонтного патрубка 4 (на фиг. 4 отрезаемая часть боковых выступов 11 изображена штриховой линией). При осуществлении способа описанным методом необходим силовой механизм (винтовой или гидравлический домкрат, который на фиг. 3 и 4 не показан), раздвигающий боковые выступы 11 друг от друга. При наличии силового механизма, способного сдвигать боковые выступы друг к другу, предлагаемый способ может быть реализован другим методом. Для этого боковые выступы 11 (фиг. 2) жестко крепятся (сваркой, пайкой, склеиванием и т.д.) к наружной поверхности толкателей 9 (на фиг. 2 не показано). После частичного ввода внутренних защитных втулок 5 (фиг. 3) во внутренние полости соединяемых концов трубопровода 1 производится фиксация толкателей 10 от осевого смещения при помощи сварочных прихваток к телу ремонтного патрубка 4 (на фиг. 3 не показано) через продольные прорези 12 описанным выше методом. В отличие от вышеописанного метода в данном случае продольное силовое смещение боковых выступов 11 (фиг. 4) для сжатия уплотнительных элементов 7 и 8 осуществляется в направлении, противоположном направлению, указанному стрелками. При этом боковые выступы 11 двигают толкатели 9, которые, в свою очередь, двигают защитные втулки 5 через уплотнительные элементы 7. Защитные втулки 5, в свою очередь, сдвигаясь в том же направлении, прижимают радиальными расширениями 6 уплотнительные элементы 8 к неподвижным толкателям 10. Одновременно сжатию подвергаются и уплотнительные элементы 7 между толкателями 9 и радиальными расширениями 6 защитной втулки 5. Так как уплотнительные элементы 7 и 8 идентичны, осевая сжимающая нагрузка от осевого смещения перечисленных выше элементов будет распределяться равномерно. Далее способ осуществляется описанным выше методом. Принцип герметизации уплотнительных элементов 7 и 8 одинаков в обоих методах. Отличие заключается в креплении выступов 11 (к толкателям 9 или 10) и направлении силового сдвига выступов 11 после фиксации одного из толкателей 9 или 10.

[17]

Предлагаемый способ позволяет осуществлять герметизацию уплотнительных элементов 7 и 8 защитных втулок 5 за счет сдвига защитных втулок 5 и ее конструктивных элементов без осевого сдвига ремонтного патрубка 4 и концов ремонтируемого трубопровода 1.

[18]

Предлагаемый способ обеспечивает надежной антикоррозионной защитой соединения ремонтного патрубка с ремонтируемым трубопроводом, имеющим внутреннее покрытие без осевого смещения соединяемых концов.

Как компенсировать расходы
на инновационную разработку
Похожие патенты