патент
№ RU 2664892
МПК F03H1/00

АБЛЯЦИОННЫЙ ИМПУЛЬСНЫЙ ПЛАЗМЕННЫЙ ДВИГАТЕЛЬ

Авторы:
Семенихин Сергей Анатольевич Лебедев Владимир Леонидович Нечаев Иван Леонидович
Все (5)
Номер заявки
2017142943
Дата подачи заявки
08.12.2017
Опубликовано
23.08.2018
Страна
RU
Как управлять
интеллектуальной собственностью
Чертежи 
3
Реферат

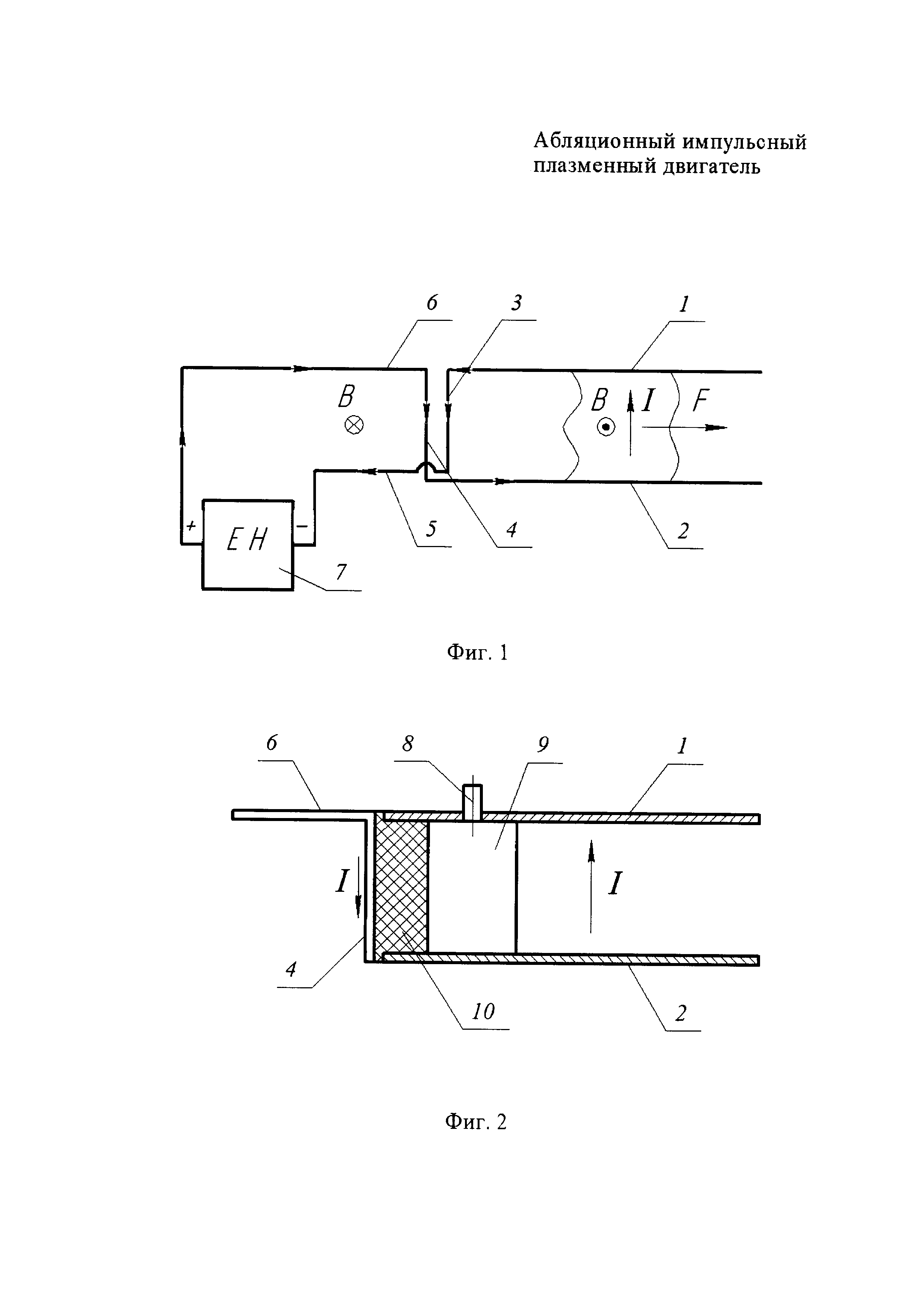
Изобретение относится к двигателям космических аппаратов. Абляционный импульсный плазменный двигатель (АИПД) содержит параллельно расположенные плоские катод и анод, образующие разрядный канал. Две диэлектрические шашки, выполненные из аблирующего материала, установлены между катодом и анодом с противоположных боковых сторон разрядного канала симметрично относительно его продольной срединной плоскости, ориентированной перпендикулярно по отношению к плоским рабочим поверхностям катода и анода и разделяющей разрядный канал на две равные по объему части. Устройство перемещения диэлектрических шашек обеспечивает их подачу в направлении к продольной срединной плоскости. Между катодом и анодом установлен торцевой изолятор, образующий закрытую торцевую часть разрядного канала. В отверстии катода расположены электроды устройства инициирования электрического разряда. Токоподводы, соединяющие разрядные электроды с емкостным накопителем энергии, включают два силовых участка, имеющих плоскую форму и расположенных между катодом и анодом перпендикулярно относительно их плоских рабочих поверхностей. Силовые участки электрически изолированы относительно друг друга и расположены за пределами разрядного канала в плоскости, параллельной закрытой торцевой части разрядного канала, симметрично относительно продольной срединной плоскости между плоскостями, проходящими через боковые поверхности разрядных электродов. Первый силовой участок соединен с одной стороны с катодом, а с противоположной стороны, расположенной напротив торцевой части анода, - с контактом отрицательной полярности емкостного накопителя. Второй силовой участок соединен с одной стороны с анодом, а с противоположной стороны, расположенной напротив торцевой части катода, - с контактом положительной полярности емкостного накопителя. Изобретение позволяет увеличить среднемассовую скорость истечения плазмы из разрядного канала и удельный импульс АИПД, упростить конструкцию АИПД и повысить его надежность. 3 з.п. ф-лы, 5 ил.

Формула изобретения

1. Абляционный импульсный плазменный двигатель, содержащий параллельно расположенные плоские катод и анод, образующие разрядный канал, две диэлектрические шашки, выполненные из аблирующего материала, установленные между катодом и анодом с противоположных боковых сторон разрядного канала симметрично относительно его продольной срединной плоскости, ориентированной перпендикулярно по отношению к плоским рабочим поверхностям катода и анода и разделяющей разрядный канал на две равные по объему части, устройство перемещения диэлектрических шашек в направлении к продольной срединной плоскости, торцевой изолятор, установленный между катодом и анодом и образующий закрытую торцевую часть разрядного канала, устройство инициирования электрического разряда, систему электропитания, включающую по меньшей мере один емкостной накопитель энергии, токоподводы, соединяющие разрядные электроды с емкостным накопителем энергии и включающие силовой участок, имеющий плоскую форму и расположенный между катодом и анодом перпендикулярно относительно их плоских рабочих поверхностей, отличающийся тем, что токоподводы включают второй силовой участок, имеющий плоскую форму и расположенный между катодом и анодом перпендикулярно относительно их плоских рабочих поверхностей, при этом силовые участки токоподводов электрически изолированы относительно друг друга и расположены за пределами разрядного канала в плоскости, параллельной закрытой торцевой части разрядного канала, симметрично относительно продольной срединной плоскости между плоскостями, проходящими через боковые поверхности разрядных электродов, причем первый силовой участок токоподводов соединен с одной стороны с катодом, а с противоположной стороны, расположенной напротив торцевой части анода, - с контактом отрицательной полярности емкостного накопителя энергии, второй силовой участок токоподводов соединен с одной стороны с анодом, а с противоположной стороны, расположенной напротив торцевой части катода, - с контактом положительной полярности емкостного накопителя энергии.

2. Двигатель по п. 1, отличающийся тем, что ширина каждого силового участка токоподводов выбрана равной не менее , где - ширина разрядного канала.

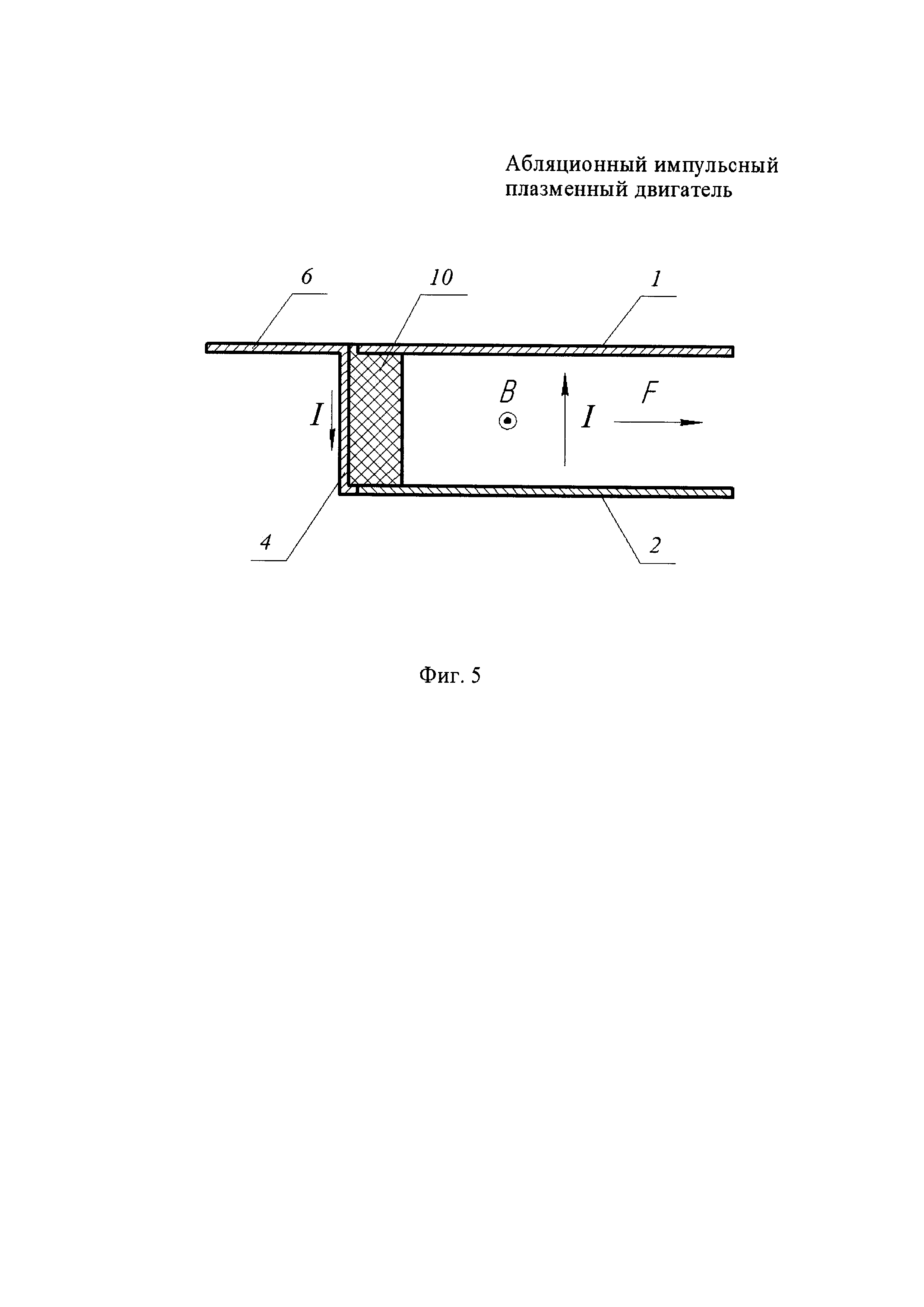
3. Двигатель по п. 1, отличающийся тем, что силовые участки токоподводов выполнены в виде пластин прямоугольной формы.

4. Двигатель по п. 1, отличающийся тем, что силовые участки токоподводов соединены с контактами емкостного накопителя энергии через плоские соединительные участки токоподводов, расположенные параллельно катоду и аноду.

Описание

[1]

Изобретение относится к двигателям космических аппаратов (КА), в частности к электрическим ракетным двигателям, применяемым в составе двигательных установок (ДУ) КА для создания реактивной тяги и управления движением КА, и может использоваться для проведения экспериментальных исследований и модельных испытаний.

[2]

В абляционных импульсных плазменных двигателях (АИПД) рельсотронного типа используется твердое рабочее вещество в виде твердых диэлектрических шашек, выполненных из аблирующего материала, как правило из фторопласта. Ускорение плазмы осуществляется в разрядном (ускорительном) канале, образованном параллельно расположенными плоскими разрядными электродами. При включении АИПД первоначально производится электрический пробой межэлектродного промежутка, затем зажигается основной электрический разряд между разрядными электродами (катодом и анодом). За счет выделяющейся в дуговом разряде энергии происходит абляция (эрозия) и испарение рабочего вещества с рабочих поверхностей диэлектрических шашек, ионизация рабочего вещества и ускорение ионизованного газа. Электрический разряд в АИПД носит кратковременный характер: длительность разряда составляет от 10-6 с до 10-4 с. Созданные в настоящее время модели АИПД обладают относительно низкими удельными тягово-энергетическими характеристиками, что связано большей частью с недостаточной синхронизацией процессов испарения, ионизации и ускорения рабочего вещества при действии различных физических процессов ускорения плазменных сгустков.

[3]

Существует достаточно большой разброс по скоростям образующихся в разрядном канале заряженных частиц. Только 20-40% испарившегося со стенок диэлектрика вещества покидают разрядный канал со скоростями порядка 20-30 км/с. Это та часть рабочего вещества, которая эффективно ускоряется объемной электромагнитной силой, возникающей в результате взаимодействия разрядного тока с собственным магнитным полем, возбуждаемым разрядным током, протекающим через протяженные параллельно расположенные разрядные электроды. Электромагнитное ускорение плазменного сгустка (плазменной перемычки), образованного в межэлектродном промежутке между разрядными электродами, осуществляется аналогично ускорению подвижного проводника с током под действием силы Ампера. Магнитное поле в разрядном канале создается за счет протекания разрядного тока через параллельно расположенные разрядные электроды.

[4]

Остальная часть испарившегося рабочего вещества покидает разрядный канал с субтепловыми и тепловыми скоростями порядка 0,5-5,0 км/с. Такое распределение частиц рабочего вещества по скоростям связано с тем, что испарившееся и ионизованное рабочее вещество не успевает взаимодействовать с объемной электромагнитной силой (силой Ампера) в течение длительности импульса разрядного тока. Поэтому значения среднемассовой скорости ионной компоненты плазмы на выходе из разрядного канала АИПД обычно составляют 10-14 км/с.

[5]

Ряд известных технических решений направлен на устранение временной несогласованности процессов испарения рабочего вещества и процессов ионизации и ускорения плазменных сгустков. В патенте RU 2253953 C1 (опубликован 10.06.2005) описан АИПД, конструкция которого позволяет увеличить долю рабочего вещества, эффективно ускоряемого электромагнитной силой. АИПД содержит два разрядных электрода, установленные между электродами диэлектрические шашки, выполненные из аблирующего материала, разрядный канал с открытой торцевой частью, стенки которого образованы поверхностями электродов, и емкостной накопитель энергии. Токоподводы, соединяющие электроды с накопителем энергии, совместно с электродами и накопителем образуют внешнюю электрическую цепь. Между электродами со стороны закрытой торцевой части разрядного канала установлен разделяющий изолятор и устройство инициирования разряда.

[6]

Повышение эффективности использования рабочего тела и тяговой эффективности АИПД обеспечивается за счет синхронизации процессов абляции диэлектрических шашек и генерации объемной электромагнитной силы, ускоряющей ионизованное рабочее вещество. Синхронизация указанных процессов в известном АИПД реализована за счет максимально возможного сближения значений импедансов внешней и внутренней электрических цепей. Согласование электрических цепей обеспечивается путем выбора соотношения между характеристиками внешней электрической цепи: электрической емкостью и индуктивностью цепи. За счет оптимизации внешней цепи уровень ее импеданса приближается к импедансу внутренней цепи. В результате согласования электрических цепей создается импульс разрядного тока с двумя полупериодами колебаний, причем энергия второго разряда накопителя не превышает 20% от энергии первого разряда. Увеличение длительности импульса тока приводит к увеличению массы рабочего вещества, эффективно ускоряемого электромагнитной силой.

[7]

Синхронизация процессов испарения, ионизации и ускорения рабочего вещества может быть обеспечена с использованием других технических средств. Так, например, в международной заявке WO 2008/035061 A1 (опубликована 27.03.2008) описана конструкция АИПД с двухступенчатым разрядным каналом, образованным двумя парами параллельных разрядных электродов. В известном АИПД используется двухступенчатая схема подключения разрядных электродов, при которой катоды находятся под потенциалом земли, а аноды независимо подключаются к емкостным накопителям. Открытая торцевая часть разрядного канала образована кромками электродов второй ступени. Выходная часть ускорительного канала может быть выполнена в форме расширяющегося сопла. С противоположной стороны разрядного канала между электродами первой ступени установлен торцевой изолятор. Аноды первой и второй ступени и разделяющий их изолятор образуют первую стенку ускорительного канала, а катоды первой и второй ступени и разделяющий их изолятор - вторую стенку канала. Перемещаемые диэлектрические шашки выполнены из аблирующего материала, в качестве которого используется политетрафторэтилен (фторопласт). Шашки из аблирующего материала установлены между электродами первой ступени и, выполнены с возможностью перемещения вдоль разрядного канала. В отверстии катода первой ступени установлены электроды блока инициации разряда.

[8]

С помощью блока управления обеспечивается подключение электродов блока инициации разряда, электродов первой и второй ступеней в определенной последовательности. После инициации разряда анод первой ступени подключается с помощью быстродействующего коммутатора к емкостному накопителю первой ступени. В результате воздействия конвективных и лучистых тепловых потоков из области дугового разряда между электродами первой ступени происходит интенсивная абляция и испарение рабочего тела с рабочей поверхности диэлектрической шашки. Поток газообразного рабочего вещества под действием газодинамического давления перемещается с относительно малой скоростью из первой ступени ускорителя во вторую ступень.

[9]

Ионизация и эффективное ускорение ионизованного рабочего вещества под действием объемной электромагнитной силы осуществляется после заполнения газообразным рабочим веществом второй ступени ускорителя и подключения анода второй ступени ко второму емкостному накопителю с помощью второго быстродействующего коммутатора. Следует отметить, что АИПД-аналог обладает сложной конструкцией и сложной системой управления и электропитания, что в целом негативно влияет на надежность устройства, его ресурс и массогабаритные характеристики. Данные недостатки связаны с необходимостью управления коммутацией сразу трех внешних электрических цепей, с помощью которых разрядные электроды двух ступеней ускорительного канала и электроды блока инициации разряда подключаются к индивидуальным емкостным накопителям энергии. Для управления системой электропитания используются быстродействующие сильноточные коммутаторы и линии временных задержек, обеспечивающие синхронизацию процессов испарения, ионизации и ускорения рабочего вещества.

[10]

Наиболее близким аналогом изобретения является АИПД, конструкция которого описана в патенте RU 2542354 C1 (опубликован 20.02.2015). Известный АИПД включает в свой состав катод и два электрически изолированных анода, которые вместе образуют разрядный (ускорительный) канал. Между первым анодом и катодом установлена диэлектрическая шашка, выполненная из аблирующего материала. Между первым анодом и катодом установлен торцевой изолятор. Первый анод расположен в разрядном канале со стороны торцевого изолятора, второй анод расположен со стороны выходной части разрядного канала. Устройство инициирования электрического разряда расположено в отверстии, выполненном в катоде, напротив поверхности первого анода. Система электропитания содержит два емкостных накопителя энергии, токоподводы, соединяющие накопители энергии с разрядными электродами, и блок электропитания устройства инициирования электрического разряда. Первый накопитель энергии подключен между вторым анодом и катодом. Второй накопитель энергии подключен к анодам. Второй накопитель энергии подключен к первому аноду через электрически изолированный силовой (управляющий) участок токоподвода. Данный участок имеет плоскую форму и расположен между первым анодом и катодом перпендикулярно по отношению к рабочим поверхности первого анода и катода.

[11]

Синхронизация процесса испарения твердого рабочего вещества и последующего ускорения ионизованного вещества под действием объемной электромагнитной силы происходит за счет управляемого воздействия электрическим разрядом в первой ступени разрядного канала на рабочую поверхность диэлектрической шашки. Управляемое воздействие потоком излучаемой тепловой энергии производится посредством возбуждения магнитного поля при протекании электрического тока через силовой (обратный) участок токоподвода, выполненный в виде пластины с центральным отверстием, образующим проходное сечение разрядного канала. Силовой участок токоподвода ориентирован между электродами таким образом, что при взаимодействии разрядного тока с возбуждаемым магнитным полем возникает электромагнитная сила (сила Ампера), направленная к торцевому изолятору. В результате электромагнитного воздействия на канал дугового разряда происходит интенсивная абляция и испарение рабочего вещества. Вследствие этого на вход второй ступени поступает однородный поток рабочего вещества. В момент входа плотного газообразного потока рабочего вещества в разрядный промежуток второй ступени второй анод и катод находятся под «ждущим» разрядным напряжением. За счет подбора электрических характеристик емкостных накопителей энергии обеспечивается синхронизация испарения рабочего вещества по отношению к началу процесса ускорения во второй ступени разрядного канала, что способствует повышению эффективности ускорения плазменной перемычки объемной электромагнитной силой. Данное техническое решение позволяет обеспечить стабильность тяговых характеристик АИПД за счет синхронизации процессов испарения и электромагнитного ускорения рабочего вещества.

[12]

Рассмотренные выше устройства-аналоги направлены на решение задач, связанных с синхронизацией процессов испарения рабочего вещества с процессами ионизации и ускорения плазменных сгустков, вследствие чего повышается эффективность электромагнитного ускорения плазмы и, соответственно, тяговая эффективность АИПД. Решение указанных задач в конечном итоге влияет на повышение эффективности использования электрической энергии емкостного накопителя, однако такие технические решения не позволяют существенно увеличить среднемассовую скорость ионной компоненты на выходе из разрядного канала и увеличить тягу АИПД без повышения энергии емкостного накопителя. Кроме того, известные аналоги имеют сложную систему электропитания и вследствие этого невысокую надежность. С помощью известных конструкций АИПД не обеспечивается максимально возможное преобразование запасенной в емкостном накопителе электрической энергии в кинетическую энергию заряженных частиц направленного потока плазмы. Среднемассовая скорость ускоренного сгустка плазмы остается на относительно низком уровне из-за неполного использования для ускорения плазмы электромагнитных сил, действующих на заряженные частицы. Вследствие этого остается малым вклад электромагнитной составляющей тяги в суммарное значение реактивной тяги АИПД.

[13]

Изобретение направлено на увеличение электромагнитной составляющей тяги АИПД за счет использования электрического тока, протекающего через токоподводы, соединяющие разрядные электроды с емкостным накопителем, для увеличения индукции магнитного поля в разрядном канале, влияющего на процесс электромагнитного ускорения плазменной перемычки. При решении данной задачи достигается технический результат, заключающийся в увеличении среднемассовой скорости истечения плазмы из разрядного канала и удельного импульса (тяговой эффективности) АИПД. Кроме того, изобретение направлено на упрощение системы электропитания и повышение за счет этого надежности АИПД.

[14]

Достижение указанных технических результатов осуществляется с помощью АИПД, содержащего параллельно расположенные плоские катод и анод, образующие разрядный канал. Две диэлектрические шашки, выполненные из аблирующего материала, установлены между катодом и анодом с противоположных боковых сторон разрядного канала симметрично относительно продольной срединной плоскости разрядного канала. Срединная плоскость ориентирована перпендикулярно относительно плоских рабочих поверхностей катода и анода и разделяет разрядный канал на две равные по объему части. АИПД включает в свой состав устройство перемещения диэлектрических шашек в направлении к срединной плоскости разрядного канала. Торцевой изолятор установлен между катодом и анодом и образует закрытую торцевую часть разрядного канала. Устройство инициирования электрического разряда обычно устанавливается в отверстии, выполненном в катоде. Система электропитания включает в свой состав по меньшей мере один емкостной накопитель энергии и токоподводы, соединяющие разрядные электроды с емкостным накопителем энергии. Токоподводы содержат два силовых (обратных) участка, имеющих плоскую форму и расположенных между катодом и анодом перпендикулярно относительно их плоских рабочих поверхностей.

[15]

Силовые участки токоподводов электрически изолированы относительно друг друга и расположены за пределами разрядного канала в плоскости, параллельной закрытой торцевой части разрядного канала, симметрично относительно срединной плоскости между плоскостями, проходящими через боковые поверхности разрядных электродов. Первый силовой участок токоподводов соединяется с одной стороны с катодом, а с противоположной стороны, расположенной напротив торцевой части анода, - с контактом отрицательной полярности емкостного накопителя энергии. Второй силовой участок токоподводов соединяется с одной стороны с анодом, а с противоположной стороны, расположенной напротив торцевой части катода, - с контактом положительной полярности емкостного накопителя энергии.

[16]

При указанном выполнении и взаимном расположении силовых участков токоподводов создается пространственная система проводников, по которым, в области закрытой торцевой части разрядного канала, протекают равные по величине токи в одном направлении. За счет выбранной конфигурации проводников в полости разрядного канала возбуждается дополнительное магнитное поле, усиливающее индукцию основного магнитного поля, создаваемого разрядным током, протекающим через параллельно расположенные разрядные электроды, ограничивающие объем разрядного канала. Таким образом, в результате одновременного протекания разрядного тока через два силовых участка, которые расположены за пределами разрядного канала со стороны его закрытой торцевой части, происходит существенное увеличение (до 200%) индукции магнитного поля в области образования и ускорения плазменной перемычки. Увеличение объемной электромагнитной силы, действующей на подвижную плазменную перемычку, через которую протекает разрядный ток, приводит к увеличению электромагнитной составляющей тяги АИПД и, соответственно, среднемассовой скорости истечения плазмы из разрядного канала. В результате повышается удельный импульс и тяговая эффективность АИПД.

[17]

Для повышения однородности магнитного поля, создаваемого в области интенсивного электромагнитного ускорения плазменной перемычки в разрядном канале, целесообразно использовать плоские силовые участки токоподводов, расположенные в плоскости, параллельной закрытой торцевой части разрядного канала, ширина которых выбирается равной не менее , где - ширина разрядного канала. Силовые участки токоподводов могут быть выполнены в виде пластин прямоугольной формы.

[18]

Минимальная начальная индуктивность и, соответственно, импеданс внешней электрической цепи обеспечивается при использовании параллельно расположенных соединительных участков токоподводов. В предпочтительном варианте выполнения конструкции АИПД силовые участки токоподводов соединены с контактами емкостного накопителя энергии через плоские соединительные участки токоподводов, расположенные параллельно катоду и аноду.

[19]

Далее изобретение поясняется описанием конкретных примеров реализации изобретения. На прилагаемых чертежах изображено следующее:

[20]

на фиг. 1 - электрическая схема подключения разрядных электродов к емкостному накопителю энергии;

[21]

на фиг. 2 - схематичный продольный разрез разрядного канала вдоль срединной плоскости;

[22]

на фиг. 3 - вид на токопдводы со стороны закрытой торцевой части разрядного канала;

[23]

на фиг. 4 - схематичное продольное сечение разрядного канала в области соединения силового участка токоподвода с катодом;

[24]

на фиг. 5 - схематичное продольное сечение разрядного канала в области соединения силового участка токоподвода с анодом.

[25]

АИПД содержит параллельно расположенные разрядные электроды: катод 1 и анод 2, имеющие плоскую форму и образующие разрядный канал. За пределами разрядного канала со стороны его закрытой торцевой части между разрядными электродами 1 и 2 расположены силовые участки 3 и 4 токоподводов, имеющие плоскую форму. Силовые участки 3 и 4 электрически изолированы относительно друг друга и выполнены в виде металлических пластин прямоугольной формы, расположенных в плоскости, параллельной закрытой торцевой части разрядного канала. Параллельно катоду 1 и аноду 2 расположены плоские соединительные участки 5 и 6 токоподводов, также выполненные в виде металлических пластин прямоугольной формы. Система электропитания АИПД включает в свой состав емкостной накопитель энергии (ЕН) 7. Первый силовой участок 3 соединен с одной стороны с катодом 1, а с противоположной стороны, расположенной напротив торцевой части анода 2, - через соединительный участок 5 с контактом отрицательной полярности ЕН 7. Второй силовой участок 4 соединен с одной стороны с анодом 2, а с противоположной стороны, расположенной напротив торцевой части катода 1, - через соединительный участок 6 с контактом положительной полярности ЕН 7. Последовательно соединенные разрядные электроды 1 и 2, силовые участки 3 и 4 и соединительные участки 5 и 6 токоподводов образуют вместе с ЕН 7 внешнюю электрическую цепь (см. фиг. 1). Внутреннюю электрическую цепь образует подвижный (перемещаемый) участок, которым является ускоряемый плазменный сгусток, формируемый в межэлектродном пространстве разрядного канала. Соединенные между собой внешняя и внутренняя электрические цепи образуют разрядную цепь АИПД. В процессе электрического разряда происходит ускорение подвижного участка цепи, вследствие этого изменяется (увеличивается) индуктивность всей разрядной цепи. За счет использования выбранной пространственной конфигурации участков разрядной цепи ее начальная индуктивность составляет ~60 нГн, что существенно выше значений начальной индуктивности разрядной цепи для стандартной схемы АИПД (~35 нГн).

[26]

В технологическом отверстии, выполненном в катоде 1, напротив поверхности анода 2 установлено устройство 8 инициирования электрического разряда (см. фиг. 2), включающее в свой состав электроды, подключенные к блоку электропитания (на чертеже не показаны). В качестве источника рабочего вещества используются две диэлектрические шашки 9, выполненные из аблирующего материала, в частности из фторопласта. Диэлектрические шашки 9 установлены между катодом 1 и анодом 2 с противоположных боковых сторон разрядного канала. АИПД содержит устройство перемещения диэлектрических шашек 9 в полость разрядного канала (на чертеже не показано). Данное устройство выполняется в виде пружинных толкателей, обеспечивающих перемещение диэлектрических шашек 9 в полость разрядного канала по мере выработки (испарения) аблирующего материала с рабочей поверхности. Такое устройство обычно используется в известных аналогах АИПД (см., например, RU 2253953 C1).

[27]

Между катодом 1 и анодом 2 установлен торцевой изолятор 10, выполненный из высокотемпературной керамики, в частности из нитрида бора (см. фиг. 2). Торцевой изолятор 10 образует закрытую торцевую часть разрядного канала, параллельно которой (за пределами разрядного канала) в одной плоскости расположены плоские силовые участки 3 и 4 токоподводов.

[28]

Ширина каждой прямоугольной пластины, образующей силовые участки 3 и 4, в рассматриваемом примере выбрана равной , где - ширина разрядного канала (см. фиг. 3). Данное соотношение размеров соответствует условию оптимизации, при котором обеспечивается достаточно высокая однородность магнитного поля в области интенсивного электромагнитного ускорения плазменной перемычки в разрядном канале (ширина каждого силового участка выбирается равной не менее ).

[29]

Силовые участки 3 и 4 расположены со стороны закрытой торцевой части разрядного канала между плоскостями, проходящими через боковые поверхности разрядных электродов, симметрично относительно продольной срединной плоскости 11 разрядного канала (см. фиг. 3). При этом силовые участки 3 и 4 установлены между катодом 1 и анодом 2 перпендикулярно относительно их плоских рабочих поверхностей. Срединная плоскость 11 ориентирована перпендикулярно по отношению к плоским рабочим поверхностям катода 1 и анода 2 и разделяет разрядный канал на две равные по объему части. Симметрично срединной плоскости 11 установлены также и диэлектрические шашки 9, расположенные между катодом 1 и анодом 2. Диэлектрические шашки 9 перемещаются в направлении к срединной плоскости 11 с противоположных боковых сторон разрядного канала.

[30]

При выбранном пространственном взаимном расположении и соединении участков токоподводов и разрядных электродов образуются два симметрично расположенных участка внешней электрической цепи, подключенных к контактам накопителя ЕН 7 противоположной полярности. Первый участок электрической цепи включает катод 1, силовой участок 3 и соединительный участок 5 (см. фиг. 4). Второй участок электрической цепи включает анод 2, силовой участок 4 и соединительный участок 6 (см. фиг. 5). При этом через оба участка цепи протекает ток I, равный по величине разрядному току, протекающему через внутреннюю разрядную цепь между разрядными электродами. Направление токов, протекающих через указанные участки внешней электрической цепи, совпадает по направлению в области расположения силовых участков 3 и 4 токоподводов в плоскости, параллельной закрытой торцевой части разрядного канала. Равные по величине токи I, протекающие через силовые участки 3 и 4, противоположны по направлению разрядному току во внутренней электрической цепи. За счет выбранной пространственной ориентации относительно рабочих поверхностей разрядных электродов силовые участки 3 и 4, представляющие собой неподвижные проводники с током, расположенные вблизи разрядного канала, являются дополнительными источниками магнитного поля, возбуждаемого в области образования и ускорения плазменной перемычки.

[31]

Работа АИПД, изображенного на фиг. 1-5, осуществляется следующим образом.

[32]

При включении АИПД производится инициация дугового разряда, зажигаемого между разрядными электродами. В блоке электропитания устройства 8 инициирования электрического разряда формируется короткий (τ~1 мкс) высоковольтный импульс, подаваемый на изолированные электроды, установленные в технологическом отверстии катода 1. В результате высоковольтного электрического пробоя по поверхности диэлектрика, разделяющего электроды устройства 8, образуется проводящий плазменный сгусток, закорачивающий разрядные электроды. После этого происходит электрический пробой межэлектродного промежутка между катодом 1 и анодом 2, на которые от накопителя ЕН 7 предварительно подается разрядное напряжение 1200 В. Между разрядными электродами зажигается импульсный дуговой разряд с двумя полупериодами тока при абсолютном значении амплитуды тока от 20 до 40 кА, в зависимости от емкости накопителя энергии.

[33]

Под действием излучения и конвекции из области электрического разряда происходит абляция и испарение твердого рабочего вещества с рабочих поверхностей диэлектрических шашек 9. Образовавшееся газообразное углеродосодержащее вещество ионизуется в электрическом разряде и ускоряется в виде межэлектродной плазменной перемычки под действием электромагнитной силы и газодинамического давления, создавая на выходе из разрядного канала реактивную тягу.

[34]

По мере расходования диэлектрических шашек 9 в процессе абляции рабочих поверхностей происходит их автоматическая подача в полость разрядного канала в направлении к серединной плоскости 11 с помощью устройства перемещения диэлектрических шашек, выполненного в виде пружинных толкателей (направление подачи диэлектрических шашек показано стрелками на фиг. 3). Положение торцевых частей диэлектрических шашек в разрядном канале фиксируется с помощью ограничителей перемещения, выполненных в виде выступов на поверхности разрядных электродов (на чертеже не показаны). Ограничители перемещения обеспечивают заданное расчетное расстояние между рабочими поверхностями диэлектрических шашек 9.

[35]

При замыкании межэлектродного промежутка плазменной перемычкой во внешней электрической цепи, включающей силовые участки 3 и 4 и соединительные участки 5 и 6 токоподводов и накопитель ЕН 7, протекает электрический ток I, равный по величине разрядному току во внутренней электрической цепи. Такой же ток I протекает в одном направлении через каждый из двух силовых участков 3 и 4 токоподводов (см. фиг. 1, 4 и 5). При этом направление тока в силовых участках противоположно по направлению разрядному току, протекающему через плазменную перемычку в разрядном канале. За счет выбранной пространственной конфигурации участков проводников, по которым протекают токи, на подвижную плазменную перемычку со стороны неподвижных силовых участков 3 и 4 будет действовать дополнительная сила Ампера в направлении истечения плазменного потока из разрядного канала. Применение соединительных участков 5 и 6 токоподводов, расположенных параллельно разрядным электродам, позволяет снизить индуктивность и импеданс внешней электрической цепи.

[36]

Рассмотрим более подробно процесс электромагнитного ускорения плазменного сгустка в разрядном канале. Величина силы Ампера F, действующей на плазменную перемычку в разрядном канале, определяется как произведение величин индукции внешнего магнитного поля В и разрядного тока I, протекающего через перемещаемую плазменную перемычку тока, векторы которых расположены в ортогональных плоскостях. Внешнее магнитное поле в разрядном канале возбуждается электрическим током I, протекающим через каждый разрядный электрод, и равными по величине токами, протекающими через силовые участки 3 и 4 токоподводов. За счет выбранного пространственного расположения силовых участков 3 и 4 и их соединения с разрядными электродами 1 и 2, при котором создается заданное направление токов, в разрядном канале возбуждается магнитное поле, индукция В которого складывается из двух составляющих: В=В12. Первая составляющая В1 создается с помощью разрядных электродов, как и в известных аналогах, а вторая составляющая В2 - с помощью силовых участков 3 и 4, расположенных за пределами разрядного канала со стороны его закрытой торцевой части.

[37]

За счет увеличения индукции магнитного поля в разрядном канале существенно возрастает величина электромагнитной силы F, действующей на плазменную перемычку, и, следовательно, увеличивается доля электромагнитной составляющей в величине суммарной тяги АИПД, которая зависит также и от газодинамического давления в разрядном канале. В результате увеличивается среднемассовая скорость истечения плазменного потока из разрядного канала и удельный импульс АИПД.

[38]

После разряда накопителя ЕН 7 прекращается подача напряжения на разрядные электроды и завершается процесс импульсного ускорения плазменного сгустка. Затем производится заряд накопителя ЕН 7 до рабочего уровня энергии, подача разрядного напряжения на разрядные электроды и последующее зажигание разряда с помощью устройства 8 инициации электрического разряда. Процесс заряда-разряда накопителя ЕН7 и зажигания электрического разряда периодически повторяется в процессе импульсного режима работы АИПД, реализуемого с помощью систем электропитания управления.

[39]

При проведении экспериментальных исследований модели АИПД получены результаты, подтверждающие достижение технического результата. При равных значениях начальной индуктивности разрядной цепи (60 нГн) среднемассовая скорость истечения плазменного потока увеличилась на 15% при энергии единичного разряда 80 Дж. Абсолютное значение среднемассовой скорости ионной компоненты ускоренного плазменного потока на выходе из разрядного канала составляет 16 км/с, в то время как для стандартной модели-аналога АИПД величина среднемассовой скорости не превышает 14 км/с при равных значениях энергии разряда и начальной индуктивности разрядной цепи. Полученные в результате проведенных испытаний характеристики подтверждают возможность увеличения удельного импульса и повышение тяговой эффективности АИПД. Кроме того, при использовании изобретения было зафиксировано увеличение общего времени разряда, что положительно влияет на согласование процессов ввода испаренного рабочего вещества в разрядный канал и протекания разрядного тока через плазменную перемычку. Следует отметить, что при использовании изобретения не требуется сложная система электропитания с несколькими высоковольтными коммутаторами и многоступенчатая система организации и управления разрядными процессами. Вследствие этого упрощается конструкция АИПД и ДУ КА и повышается надежность АИПД.

[40]

Вышеописанный пример осуществления изобретения основывается на конкретном варианте конструкции АИПД, однако это не исключает возможности достижения технического результата и в других частных случаях осуществления изобретения в том виде, как оно охарактеризовано в независимом пункте формулы. В зависимости от заданных рабочих характеристик АИПД и его режимов работы выбираются размеры, в том числе ширина силовых участков токоподводов, и материалы элементов конструкции. В состав АИПД могут быть включены дополнительные (вспомогательные) узлы и блоки. В качестве силовых участков токоподводов могут использоваться пластины не только прямоугольной формы, но и в форме трапеции. Торцевой изолятор, установленный между разрядными электродами, может быть выполнен из оксида алюминия. Для повышения эффективности ускорения плазменного потока разрядный канал может включать выходной расширяющийся участок, образованный плоскими дополнительными частями разрядных электродов, расположенными под углом относительно плоских поверхностей основных частей электродов (см., например, RU 2542354 C1). Силовые участки токоподводов могут быть соединены с контактами емкостного накопителя энергии без использования плоских соединительных участков токоподводов, расположенных параллельно разрядным электродам.

[41]

АИПД, выполненный согласно изобретению, может применяться в составе ДУ КА в качестве исполнительного органа системы управления, а также в импульсных инжекторах низкотемпературной плазмы, используемых при проведении экспериментальных исследований и модельных испытаний.

Как компенсировать расходы
на инновационную разработку
Похожие патенты