патент
№ RU 2620034
МПК F16H41/02

СПОСОБ РАБОТЫ ТРАНСМИССИИ АВТОМОБИЛЯ

Авторы:
Ерусланкин Сергей Александрович Сизанов Александр Владимирович Котровский Александр Александрович
Все (8)
Номер заявки
2016125567
Дата подачи заявки
27.06.2016
Опубликовано
22.05.2017
Страна
RU
Как управлять
интеллектуальной собственностью
Чертежи 
1
Реферат

[17]

Изобретение относится к машиностроению. В способе работы трансмиссии автомобиля при работе двигателя крутящий момент от ведущего вала посредством гидротрансформатора передают на ведомый вал и коробку переключения передач, осуществляя при этом регулирование угловых скоростей до момента их последующего выравнивания на ведущем и ведомом валах. Трансмиссию дополнительно снабжают устанавливаемой на ведомом валу магнитной муфтой с внешним и внутренним магнитными роторами, а также электродвигателем. Контролируют угловые скорости ведущего и ведомого валов, в соответствии с которыми управляют вращающимся электромагнитным полем, возникающим между внешним магнитным ротором, жестко связанным с валом электродвигателя посредством гибкой связи, и жестко скрепленным с ведомым валом внутренним магнитным ротором магнитной муфты. При выравнивании угловых скоростей ведущего и ведомого валов электродвигатель отключают. Снижаются механические потери. 1 ил.

Формула изобретения

Способ работы трансмиссии автомобиля, заключающийся в том, что при работе двигателя крутящий момент от ведущего вала посредством гидротрансформатора, корпус которого заполнен рабочей жидкостью, передают на ведомый вал и коробку переключения передач, осуществляя при этом регулирование угловых скоростей до момента их последующего выравнивания на ведущем и ведомом валах, отличающийся тем, что трансмиссию дополнительно снабжают устанавливаемой на ведомом валу магнитной муфтой с внешним и внутренним магнитными роторами, а также электродвигателем, в процессе работы автоматически контролируют угловые скорости ведущего и ведомого валов, в соответствии с которыми управляют вращающимся электромагнитным полем, возникающим между внешним магнитным ротором, жестко связанным с валом электродвигателя посредством гибкой связи, и жестко скрепленным с ведомым валом внутренним магнитным ротором магнитной муфты, при выравнивании угловых скоростей ведущего и ведомого валов электродвигатель отключают.

Описание

[1]

Изобретение относится к области машиностроения, преимущественно к способам работы трансмиссий транспортных средств.

[2]

Известен способ работы трансмиссии транспортного средства на примере гидродинамической передачи, включающей гидротрансформатор, содержащий насосное и турбинное колеса и реактор. В устройстве реализуется способ работы трансмиссии автомобиля, заключающийся в том, что при вращении ведущего вала крутящий момент от привода передают посредством гидротрансформатора, заполненного рабочей жидкостью, на ведомый вал, причем в гидротрансформаторе, состоящем из насосного и турбинного колес и реактора (статора), предусматривают установку сменных лопаток, а каждое из рабочих колес выполняют составным, средние части которых сопрягают со сменными лопатками. При этом, изменяя поворот сменных лопаток или заменяя их другими, изменяют мощность, передаваемую от двигателя и воспринимаемую гидротрансформатором, что позволяет исследовать влияние большого числа геометрических параметров лопастной системы (см. А.С. СССР №241187, МПК F16H 41/00, опубл. 1969 г.).

[3]

Недостаток способа состоит в том, что гидротрансформатор является экспериментальным и применим в узкой области, а именно для исследования влияния геометрических параметров на передаточные свойства гидротрансформатора.

[4]

Кроме того, известна гидродинамическая передача, включающая регулируемый гидротрансформатор, содержащий насосное и турбинное колеса, а также реактор. Устройство реализует способ работы трансмиссии автомобиля, выбранный в качестве прототипа и заключающийся в том, что при вращении ведущего вала крутящий момент от привода плавно передают с помощью гидротрансформатора на ведомый вал и к коробке переключения передач. Причем в гидротрансформаторе, состоящем из насосного и турбинного колес и реактора, последний выполняют с неподвижными лопаточными венцами. При этом регулирование параметров рабочей жидкости осуществляют, изменяя положение подвижного венца реактора (см. А.С. СССР №369317, МПК F16H 41/08, опубл. 1973 г.).

[5]

Известный способ позволяет повысить энергоемкость - момент на ведущем валу, однако имеет следующие недостатки: малый диапазон регулирования, значительные механические потери в гидродинамической передаче трансмиссии при регулировании параметров работы в связи с наличием в конструкции трущихся поверхностей, что в итоге приводит к снижению ресурса работы.

[6]

Технической задачей настоящего изобретения является снижение механических потерь в гидродинамической передаче и повышение за счет этого мощности трансмиссии в целом.

[7]

Решение поставленной технической задачи достигается тем, что в способе работы трансмиссии автомобиля, заключающемся в том, что при работе двигателя крутящий момент от ведущего вала посредством гидротрансформатора, корпус которого заполнен рабочей жидкостью, передают на ведомый вал и коробку переключения передач, осуществляя при этом регулирование угловых скоростей до момента их последующего плавного выравнивания на ведущем и ведомом валах, согласно изобретению трансмиссию дополнительно снабжают устанавливаемой на ведомом валу магнитной муфтой с внешним и внутренним магнитными роторами, а также электродвигателем, в процессе работы автоматически контролируют угловые скорости ведущего и ведомого валов, в соответствии с которыми управляют вращающимся электромагнитным полем, возникающим между внешним магнитным ротором, жестко связанным с валом электродвигателя посредством гибкой связи, и жестко скрепленным с ведомым валом внутренним магнитным ротором магнитной муфты, при выравнивании угловых скоростей ведущего и ведомого валов электродвигатель отключают.

[8]

Решение поставленной технической задачи достигается за счет использования при работе гидротрансформатора устанавливаемой на ведомом валу магнитной муфты. При этом разность угловых скоростей на ведомом и ведущем валах, возникающих при механических потерях в корпусе гидротрансформатора, регулируют за счет воздействия вращающегося электромагнитного поля от внешнего магнитного ротора. Причем внешний магнитный ротор при работе электродвигателя приводится в движение через гибкую связь, и далее воздействие как дополнительная энергия передается на внутренний магнитный ротор магнитной муфты, используя управляющую систему. В результате становится возможным снизить механические потери в трансмиссии, поскольку при регулировании процесса используется вращающееся электромагнитное поле, эффективно, а именно безынерционно управляющее потоком энергии, а следовательно, позволяющее получить выигрыш мощности трансмиссии в целом.

[9]

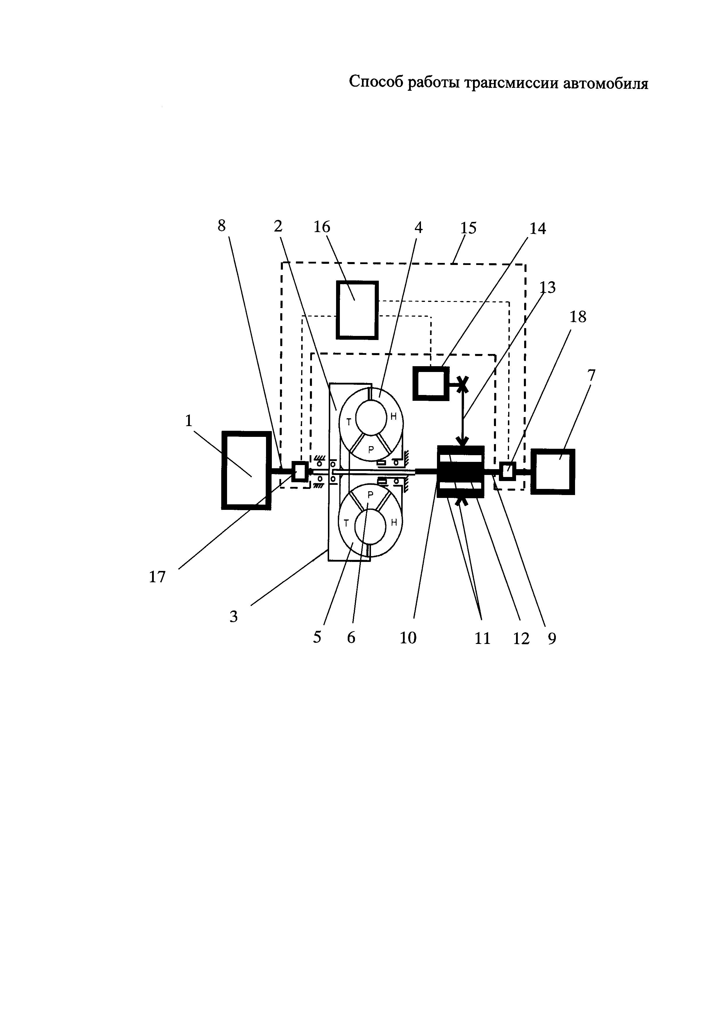
Изобретение поясняется чертежом, на котором изображена схема трансмиссии автомобиля, реализующей способ работы устройства. На чертеже приведены следующие буквенные обозначения: Н - насосное колесо; Т - турбинное колесо; Р - реактор, пунктирной линией показана электросвязь между элементами управления гидротрансформатора.

[10]

Способ работы трансмиссии автомобиля, заключающийся в том, что при работе двигателя крутящий момент от ведущего вала посредством гидротрансформатора, корпус которого заполнен рабочей жидкостью, передают на ведомый вал и коробку переключения передач, осуществляя при этом регулирование угловых скоростей до момента их последующего плавного выравнивания на ведущем и ведомом валах. При этом трансмиссию дополнительно снабжают устанавливаемой на ведомом валу магнитной муфтой с внешним и внутренним магнитными роторами, а также электродвигателем. В процессе работы автоматически контролируют угловые скорости ведущего и ведомого валов, в соответствии с которыми управляют вращающимися электромагнитным полем, возникающим между внешним магнитным ротором, жестко связанным с валом электродвигателя посредством гибкой связи, и жестко скрепленным с ведомым валом внутренним магнитным ротором магнитной муфты. При выравнивании угловых скоростей ведущего и ведомого валов электродвигатель отключают.

[11]

Трансмиссия автомобиля, в которой может быть реализован способ, содержит в качестве привода двигатель 1 внутреннего сгорания, гидротрансформатор 2, в корпусе 3 которого размещены насосное и турбинное колеса 4 и 5, а также реактор 6, коробку 7 переключения передач. Для плавного выравнивания угловых скоростей на ведущем и ведомом валах 8 и 9, соответственно, ведомый вал 9 снабжают магнитной муфтой 10, имеющей в своем составе внешний и внутренний магнитные роторы 11 и 12, соответственно. Причем вращение внешнего магнитного ротора 11 осуществляется через гибкую связь в виде ременной передачи 13 при работе электродвигателя 14. При этом насосное колесо 4 гидротрансформатора 2 жестко связано с двигателем 1 внутреннего сгорания посредством ведущего вала 8, а турбинное колесо 5 соединено с коробкой 7 переключения передач с помощью ведомого вала 9. В устройстве предусмотрена управляющая система 15, состоящая из блока 16 управления и подключенных к нему датчиков угловой скорости в виде тахометров 17 и 18 ведущего и ведомого валов 8 и 9, соответственно.

[12]

Заявляемый способ работы трансмиссии транспортного средства реализуется следующим образом.

[13]

При работе двигателя 1 крутящий момент ведущего вала 8 передается на жестко с ним связанное насосное колесо 4, расположенное в корпусе 3 гидротрансформатора 2. Вращение насосного колеса 4 приводит в движение рабочую жидкость в корпусе 3 гидротрансформатора 2, которая через реактор 6 вращает турбинное колесо 5 и жестко с ним связанный ведомый вал 9, механически связанный с автоматической коробкой 7 переключения передач трансмиссии. Гидротрансформатор 2 предназначен для бесступенчатой передачи крутящего момента от ведущего вала 8 двигателя 1 внутреннего сгорания на автоматическую коробку 7 переключения передач. Внешний магнитный ротор 11 посредством ременной передачи 13 приводится в движение при работе электродвигателя 14. При изменении нагрузки на ведомом валу 9 возникает разность угловых скоростей на ведущем и ведомом валах 8 и 9, которую определяет блок 16 управления управляющей системы 15. В этот период времени происходят механические потери в корпусе 3 гидротрансформатора 2 между насосным и турбинным колесами 4 и 5, соответственно. При этом по электросвязи от блока 16 управления управляющей системы 15 передается сигнал на электродвигатель 14. Крутящий момент от электродвигателя 14 через ременную передачу 13 передается затем на внешний магнитный ротор 11, при вращении которого между ним и внутренним магнитным ротором 12 формируется вращающееся электромагнитное поле, обеспечивающее дополнительное вращение внутреннего магнитного ротора 12 с ведомым валом 9. При этом механические потери в корпусе 3 гидротрансформатора снижаются, а угловые скорости на ведущем и ведомом валах 8 и 9 выравниваются. Сигнал перестает поступать от блока 16 управления управляющей системы 15 на электродвигатель 14 и внешний магнитный ротор 11 магнитной муфты 10 - электродвигатель выключается.

[14]

Вентильно-индукторные двигатели обладают следующими достоинствами: простота конструкции - ротор и статор выполнены в виде пакетов листового магнитомягкого материала; отсутствие обмоток на роторе - обмотки располагаются только на статоре; катушки изготавливаются отдельно, и устанавливаются на полюса статора; высокая ремонтопригодность; отсутствие механического коммутатора (коллектора, щеток); отсутствие в конструкции постоянных магнитов в роторе и статоре; высокие массогабаритные характеристики, надежность, диапазон частот вращения - от единиц до сотен тысяч об/мин; бесконтактный, плавный, двухзонновый способ регулирования частоты вращения в широком диапазоне более 100000 об/мин; точность управления моментом; высокий КПД в широком диапазоне частот вращения более 92% (для крупных машин 97-98%); активный регулятор мощности; отсутствие перегрузочных пусковых моментов; пуск электропривода без превышения пусковых токов над номинальными; реверсирование; самоторможение для исключения вращения нагруженного электропривода.

[15]

Предлагаемый способ позволяет решить поставленную техническую задачу за счет использования в составе гидродинамической передачи трансмиссии электродвигателя 14, связанного ременной передачей 13 с магнитной муфтой 10, при этом угловую скорость входящего в ее состав внутреннего магнитного ротора 12, скрепленного жестко с ведомым валом 9, можно регулировать вращением внешнего магнитного ротора 10 при помощи сформированного между ними электромагнитного поля, используя управляющую систему 15.

[16]

Таким образом, изобретение позволяет снизить механические потери при работе гидродинамической передачи, повысив мощность трансмиссии в целом.

Как компенсировать расходы
на инновационную разработку
Похожие патенты