патент
№ RU 2623822
МПК G01N3/02

Устройство для фиксации образца при испытании на разрыв

Авторы:
Жиркеев Александр Сергеевич
Номер заявки
2016125022
Дата подачи заявки
22.06.2016
Опубликовано
29.06.2017
Страна
RU
Как управлять
интеллектуальной собственностью
Чертежи 
4
Реферат

Изобретение относится к области испытаний материалов, в частности к устройствам для фиксации образца к испытательной машине для разрыва образца, в том числе определения адгезии и прочности на разрыв образцов отвердевших минеральных или полимерных тампонажных растворов. Устройство содержит взаимодействующие с нагружателем пассивные и активные корпуса с полыми тягами с установленными в них узлами крепления образцов. Образец изготовлен в виде фигуры вращения с цилиндрическими выступами на концах. Корпуса изготовлены одинаковой конструкции в виде стакана с открытыми с одной стороны окнами длиной, превышающей длину образца, образующими тяги, равномерно размещенные по периметру корпуса. Тяги одного корпуса вставлены в окна другого корпуса с возможностью продольного перемещения, при этом тяги на концах снабжены внутренней, кольцевой радиальной относительно оси корпуса проточкой под упоры, перемещаемые внутрь полыми толкателями с наружной резьбой, которые вставлены в соответствующие радиальные резьбовые отверстия тяг. Внутри толкателей установлены подвижные шпильки, соединенные с упорами, которые выполнены с возможностью взаимодействия с соответствующими внутренними торцами выступа образца. Нагружатель выполнен в виде пресса, взаимодействующего с соответствующими торцами корпусов. Технический результат: позволяет исключить осевой перекос и пластический пережим благодаря ровному и отцентрированному захвату образца при разрыве, упростить конструкцию за счет отсутствия захватов со специальной разрывной машиной и использовать пресс для разрыва образцов. 4 ил.

Формула изобретения

Устройство для фиксации образца при испытании на разрыв, включающее взаимодействующие с нагружателем пассивные и активные корпуса с полыми тягами с установленными в них узлами крепления образцов, отличающееся тем, что образец изготовлен в виде фигуры вращения с цилиндрическими выступами на концах, корпуса изготовлены одинаковой конструкции в виде стакана с открытыми с одной стороны окнами длиной, превышающей длину образца, образующими тяги, равномерно размещенные по периметру корпуса, причем тяги одного корпуса вставлены в окна другого корпуса с возможностью продольного перемещения, при этом тяги на концах снабжены внутренней кольцевой радиальной относительно оси корпуса проточкой под упоры, перемещаемые внутрь полыми толкателями с наружной резьбой, которые вставлены в соответствующие радиальные резьбовые отверстия тяг, при этом внутри толкателей установлены подвижные шпильки, соединенные с упорами, которые выполнены с возможностью взаимодействия с соответствующими внутренними торцами выступа образца, причем нагружатель выполнен в виде пресса, взаимодействующего с соответствующими торцами корпусов.

Описание

[1]

Изобретение относится к области испытаний материалов, в частности к устройствам для фиксации образца к испытательной машине для разрыва образца, в том числе определения адгезии и прочности на разрыв образцов отвердевших минеральных или полимерных тампонажных растворов.

[2]

Известно устройство к испытательной машине для испытаний на растяжение шайб (Авторское свидетельство СССР №662844, М. Кл2. G01N 3/08, опубликовано 15.05.1979, Бюл. №18), содержащее связываемые с захватами испытательной машины пассивную и активную полые тяги и установленные на них узлы крепления образцов, выполненных в виде профилированных шайб.

[3]

Недостатками устройства являются громоздкость конструкции, не позволяющая использование в местах с ограниченным доступом, увеличение материальных затрат, связанное с приобретением специальной разрывной машины.

[4]

Наиболее близким техническим решением к предлагаемому устройству является устройство для смены образцов к установкам для испытаний на растяжение (Авторское свидетельство СССР №896485, М. Кл3. G01N 3/02, G01N 03/08, опубликовано 07.01.1982, Бюл. №1), содержащее активную и пассивную полые тяги с выфрезерованными окнами. Узлы крепления образцов выполнены в виде упоров, установленных в окнах перпендикулярно оси тяг и имеющих канавки на участках, выступающих за пределы тяг. Устройство снабжено втулками, концентрично надетыми на тяги, имеющими каждая эксцентричный тягам участок с выполненными напротив окон в тягах прорезями, поверхности которых взаимодействуют с канавками упоров.

[5]

Недостатками данного устройства является то, что конструкция эксцентричного участка втулки при защемлении образца упорами создает осевой перекос образца при разрыве, а также увеличение материальных затрат, связанное с приобретением специальной разрывной машины.

[6]

Техническими задачами являются разработка устройства для фиксации образца при испытании на разрыв, исключающего осевой перекос образца при разрыве, упрощение конструкции за счет отсутствия захватов со специальной разрывной машиной, возможность использования пресса для разрыва образцов.

[7]

Технические задачи решаются устройством для фиксации образца при испытании на разрыв, включающим взаимодействующие с нагружателем пассивные и активные корпуса с полыми тягами с установленными в них узлами крепления, выполненными с возможностью перемещения внутрь корпуса с фиксацией образца.

[8]

Новым является то, что разрываемый образец изготовлен в виде фигуры вращения с цилиндрическими выступами на концах под упоры, корпуса устройства изготовлены одинаковой конструкции в виде стакана с открытыми с одной стороны окнами длиной, превышающей длину образца, образующими тяги, равномерно распределенные по периметру корпуса, причем тяги одного корпуса вставлены в окна другого корпуса с возможностью продольного перемещения, при этом тяги на концах снабжены внутренней кольцевой, радиальной относительно оси корпуса проточкой под упоры, перемещаемые внутрь полыми толкателями с наружной резьбой, которые вставлены в соответствующие радиальные резьбовые отверстия тяг, при этом внутри толкателей установлены подвижные шпильки, соединенные с упорами, которые выполнены с возможностью взаимодействия с соответствующими внутренними торцами под выступами образца, причем нагружатель выполнен в виде пресса, взаимодействующего с соответствующими торцами корпусов.

[9]

На фиг. 1 изображено устройство в сборе в аксонометрии.

[10]

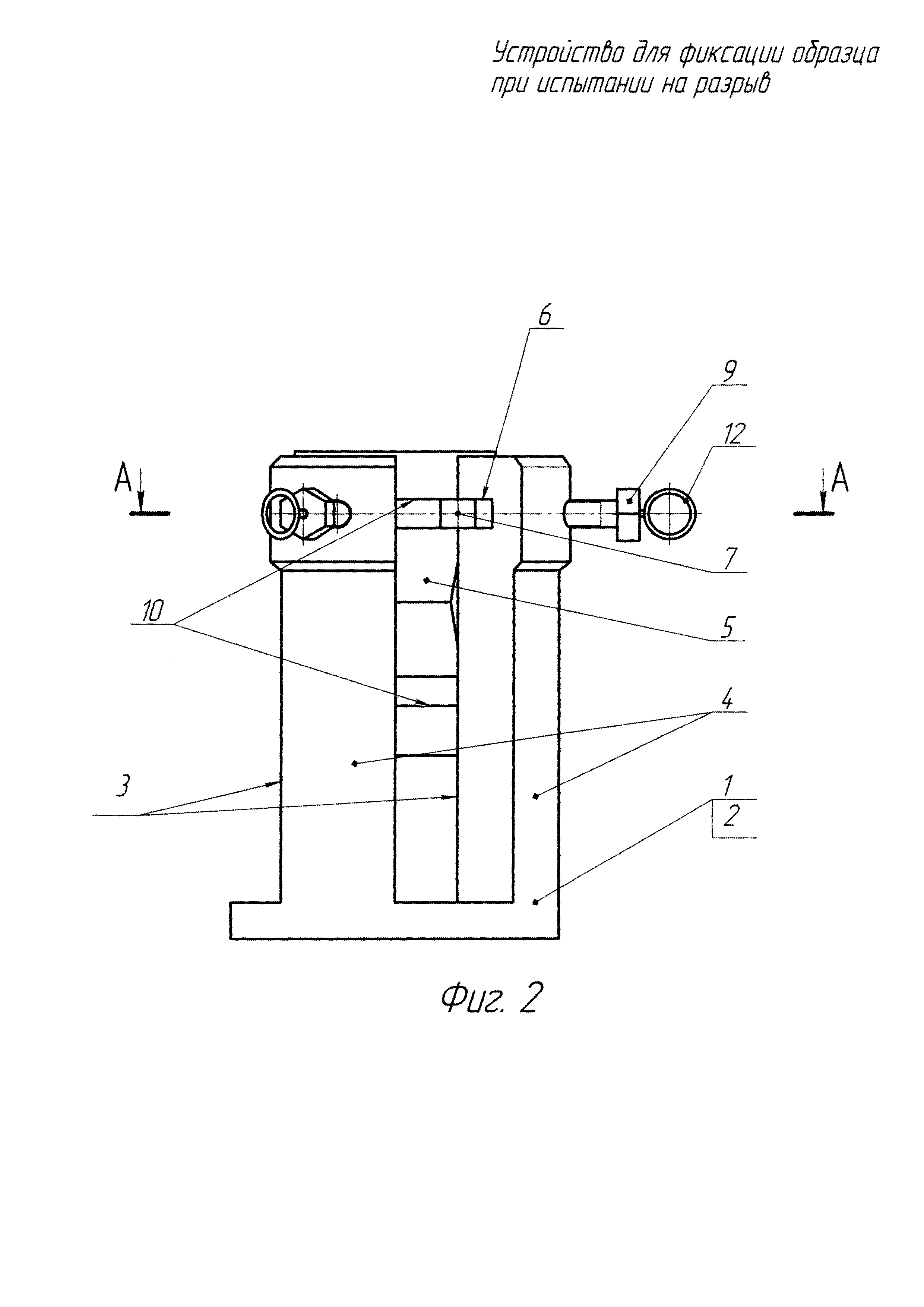
На фиг. 2 изображен нижний корпус устройства с закрепленным внутри образцом.

[11]

На фиг. 3 изображен разрез А-А фиг. 2.

[12]

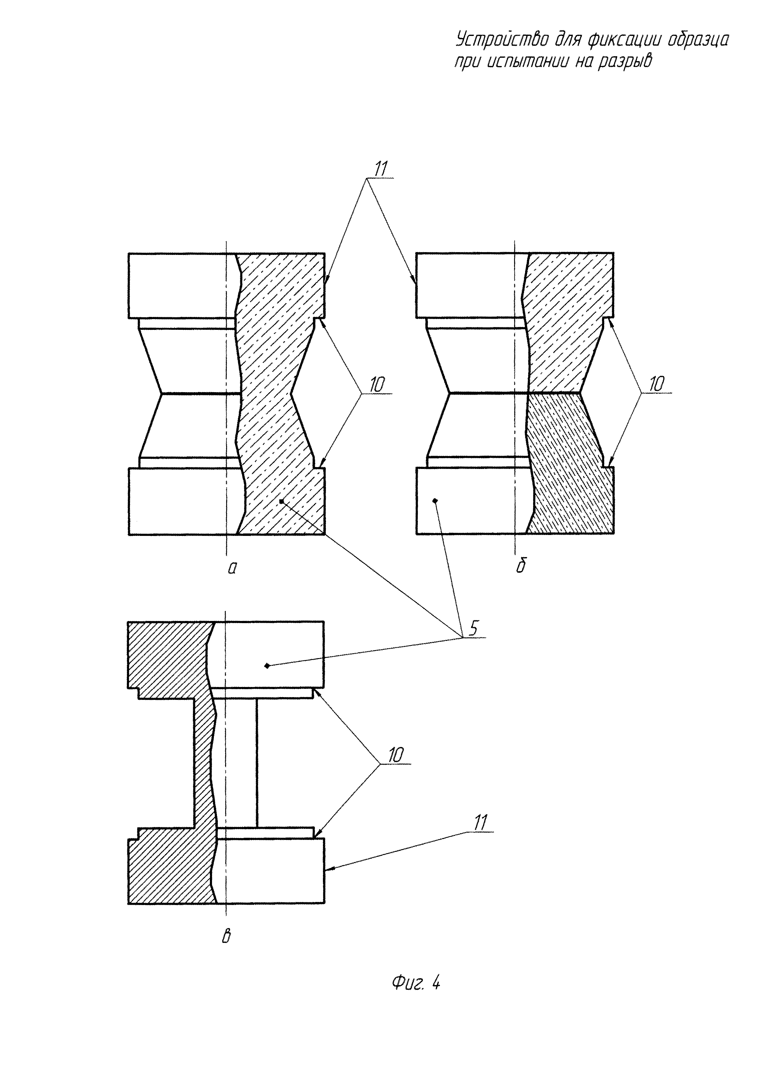
На фиг. 4 изображены примеры испытываемых образцов.

[13]

Устройство состоит из двух корпусов одинаковой конструкции 1 (фиг. 1) и 2 в виде стакана с открытыми с одной стороны окнами 3 (фиг. 1 и 2), которые образуют тяги 4. Корпус 1 (фиг. 1) или 2 своими тягами 4 вставляется в окна 3 другого корпуса 2 или 1 с возможностью продольного перемещения, причем длина окон 3 превышает длину образца 5 (фиг. 2). Концы тяг 4 (фиг. 2 и 3) снабжены внутренней кольцевой проточкой 6, в которую вставлены узлы крепления 7 в виде упоров 7. На концах тяг 4 выполнены радиальные резьбовые отверстия 8 (фиг. 3), в которые закручиваются полые толкатели 9 для перемещения внутрь упоров 7 (фиг. 2 и 3) и закрепления за внутренние торцы 10 (фиг. 4) цилиндрических выступов 11 образца 5. Шпильки 12 (фиг. 2 и 3) вставлены внутрь толкателей 9 и соединены (при помощи резьбы, сварки, клея и т.п.) с упорами 7. Шпильки 12 служат для втягивания упоров 7 в кольцевые проточки 6 тяг 4 после вывинчивания толкателей 7 по резьбе 8.

[14]

Разрываемые образцы 5 (фиг. 4) могут быть изготовлены в виде однородного цементного образца, подвергаемого разрыву (фиг. 4, а), двухкомпонентного цементного (полимерного) образца, разрываемого по границе сред (фиг. 4, б), образца, изготовленного из металла (фиг. 4, в) и т.д. Форма образца 5 может быть любая с возможностью захвата упорами 7 (фиг. 2 и 3) за внутренние торцы 10 (фиг. 4) выступов 11 образца 5. Типовое оснащение лабораторий по испытанию цементных растворов или керна всегда включает пресс (на фиг. не показан), предлагаемое устройство позволит сэкономить на покупке специальной разрывной машины.

[15]

Устройство работает следующим образом. Образец 5 (фиг. 4) вставляют в нижний корпус 1 (фиг. 2 и 3), при совпадении по уровню верхнего внутреннего торца 10 (фиг. 4) цилиндрического выступа 11 образца 5 с кольцевой проточкой 6 (фиг. 2) тяги 3 закручивают толкатели 9 (фиг. 3) в резьбовые отверстия 8, выдвигая упоры 7 (фиг. 2 и 3), закрепляют образец 5 (фиг. 2 и 3). В корпус 1 (фиг. 1) сверху вставляют корпус 2, причем тяги 3 корпуса 2 входят в окна 4 нижнего корпуса 1. При достижении уровня нижнего внутреннего торца 10 (фиг. 4) над цилиндрическим выступом 11 образца 5 с кольцевой проточкой 6 (фиг. 3) тяги 3 (фиг. 1) корпуса 2 закручивают резьбовые толкатели 9 (фиг. 1), выдвигая упоры 7, закрепляют образец 5 (фиг. 2 и 3) в устройстве. Собранное устройство плоской поверхностью корпуса 1 (фиг. 1) помещают на нижнюю подвижную опору пресса. Защемленное между опорами пресса устройство сжимается, преобразуя усилие сжатия пресса в усилие растяжения образца 5 (фиг. 4). Взаимное перемещение корпусов 1 (фиг. 1) и 2 вдоль направляющих тяг 3 (фиг. 1) и отсутствие захватов с прессом на плоских поверхностях корпусов 1 (фиг. 1) и 2 при сжатии исключают осевой перекос и пластический пережим образца 5 (фиг. 4). Усилие разрыва фиксируется измерительным оборудованием (на фиг. не показано), установленным на прессе. После разрушения образца 5 поочередно выкручивают полые резьбовые толкатели 9 (фиг. 1) и с помощью шпилек 12 (фиг. 1) втягивают упоры 7 (фиг. 2 и 3) в кольцевые проточки 6 тяг 4 корпусов 1 (фиг. 1) и 2. Устройство разъединяют, обеспечивая доступ к разрушенному образцу 5 (фиг. 4).

[16]

Разработанное устройство для фиксации образца при испытании на разрыв исключает осевой перекос и пластический пережим благодаря ровному и отцентрированному захвату образца при разрыве, позволяет упростить конструкцию за счет отсутствия захватов со специальной разрывной машиной и использовать пресс для разрыва образцов.

Как компенсировать расходы
на инновационную разработку
Похожие патенты