патент
№ RU 2421842
МПК H01H35/14
Номер заявки
2010111459/07
Дата подачи заявки
25.03.2010
Опубликовано
20.06.2011
Страна
RU
Как управлять
интеллектуальной собственностью
Чертежи 
7
Реферат

Изобретение относится к исполнительным коммутирующим устройствам пороговых датчиков физических параметров для систем автоматики взрывоопасных технических объектов, которые могут подвергаться аварийным воздействиям. Исполнительное коммутирующее устройство содержит основную и дополнительную контактную систему, электромагнитный привод, переключающий контакты контактных систем через храповой механизм поворотом оси с закрепленным на ней перемыкателем с токопроводящими секторами, и кулачок. Устройство снабжено дополнительно осями, на одной из которых совместно с храповым колесом размещен кулачок, на другой - толкатель и зубчатое колесо, взаимодействующее с зубчатым колесом, установленным на оси перемыкателя. Толкатель взаимодействует с кулачком, имеющим на внешнем диаметре профиль с постоянным и плавно возрастающим радиусом с обеспечением релейного поворота толкателя при срабатывании от момента закрепленной на оси перемыкателя пружины. Контакты и токопроводящие секторы на перемыкателе основной контактной системы расположены на двух уровнях, а контакты и токопроводящие секторы разных уровней развернуты по окружности расположения на половину углового шага. Техническим результатом является расширение областей применения (увеличением количества контактов и обеспечением их релейного переключения при срабатывании) с сохранением безопасности в аварийных ситуациях. 2 з.п. ф-лы, 8 ил.

Формула изобретения

1. Исполнительное коммутирующее устройство, содержащее корпус, основную и дополнительную контактные системы, электромагнитный привод, переключающий контакты контактных систем через храповой механизм поворотом оси с закрепленным на ней перемыкателем с токопроводящими секторами, и кулачок, отличающееся тем, что оно снабжено дополнительно осями, на одной из которых совместно с храповым колесом размещен кулачок, на другой - толкатель и зубчатое колесо, взаимодействующее с зубчатым колесом, установленным на оси перемыкателя, при этом толкатель взаимодействует с кулачком, имеющим на внешнем диаметре профиль с постоянным и плавно возрастающим радиусом с обеспечением релейного поворота толкателя при срабатывании от момента закрепленной на оси перемыкателя пружины, а контакты основной контактной системы и токопроводящие секторы на перемыкателе расположены на двух уровнях, причем контакты и токопроводящие секторы разных уровней развернуты по окружности расположения на половину углового шага.

2. Исполнительное коммутирующее устройство по п.1, отличающееся тем, что контакты основной контактной системы выполнены составными, внутренние части - из материала с высокой электрической проводимостью, внешние части - из материала, сохраняющего упругость при высоких температурах.

3. Исполнительное коммутирующее устройство по пп.1 или 2, отличающееся тем, что токовыводы контактов основной контактной системы закреплены во втулках, размещенных в изоляторах.

Описание

[1]

Изобретение относится к исполнительным коммутирующим устройствам пороговых датчиков физического параметра систем автоматики взрывоопасных технических объектов, которые могут подвергаться аварийным воздействиям.

[2]

В настоящее время известны различные конструкции исполнительных коммутирующих устройств систем автоматики взрывоопасных технических объектов, однако они, обладая определенными недостатками, зачастую не могут обеспечить гарантированную взрывобезопасность указанных объектов в аварийных ситуациях.

[3]

Известно исполнительное коммутирующее устройство - пороговое реле разности давлений, содержащее размещенный в корпусе пороговый чувствительный элемент разности давлений, взаимодействующий через герметичную стенку посредством магнитной системы с контактной системой, блокируемой в исходном и сработанном состояниях электромагнитным реле, на корпусе исполнительного коммутирующего устройства размещены токовыводы [патент РФ №2254561 C1, G01L 19/12, опубликовано 20.06.2005].

[4]

Известное исполнительное коммутирующее устройство имеет значительное количество контактов, однако в нем защита от переключения при ударных воздействиях большой интенсивности обеспечивается тонкой балансировкой деталей и сборочных единиц, что весьма трудоемко и не всегда эффективно. При этом для обеспечения высокой ударостойкости требуется тонкая балансировка всех без исключения подвижных деталей и сборочных единиц.

[5]

Известно исполнительное коммутирующее устройство, содержащее основную и дополнительную контактные системы, электромагнитный привод, переключающий контакты контактных систем через храповой механизм поворотом оси с закрепленным на ней перемыкателем с токопроводящими секторами, и кулачок. Перемыкатель с токопроводящими секторами взаимодействует с контактами основной контактной системы, расположенными по окружности, дополнительная контактная система содержит контакты, переключаемые кулачком, при этом электромагнитный привод выполнен в виде поляризованного реле с возвратно-поворотным движением якоря и кинематически связанного с ним храпового механизма с возможностью пошагового однонаправленного поворота оси, на которой жестко закреплены перемыкатель и кулачок [патент РФ №2367050 С1, Н01Н 35/14, опубликовано 10.09.2009].

[6]

Исполнительное коммутирующее устройство сохраняет состояния основной контактной системы в аварийных ситуациях, однако наличие малого количества контактов (всего одной коммутируемой электрической цепи) значительно сужает области применения известного исполнительного коммутирующего устройства. Для устранения имеющегося недостатка известного исполнительного коммутирующего устройства требуется применение электромагнитных повторителей (переключателей), однако это требует дополнительных затрат, дополнительных конструктивных объемов, а самое главное - не эффективно из-за низкой стойкости этих устройств к аварийным воздействующим факторам. Кроме того, основная контактная система устройства при срабатывании переключается за вполне определенное время (не релейно), то есть контактная система при переключении занимает неопределенное промежуточное состояние, что зачастую не приемлемо для систем автоматики объектов применения. Это исполнительное коммутирующее устройство рассматривается в качестве прототипа.

[7]

Анализ конструкций известных исполнительных коммутирующих устройств позволяет сделать вывод, что известный уровень техники не обеспечивает создания безопасного исполнительного коммутирующего устройства, имеющего большое количество контактов (коммутирующего большое количество электрических цепей) с обеспечением релейного переключения контактов при срабатывании.

[8]

Технический результат, получаемый при использовании изобретения - расширение областей применения путем увеличения количества контактов основной контактной системы с обеспечением их релейного переключения при срабатывании, с сохранением безопасности в аварийных ситуациях.

[9]

Указанный технический результат достигается тем, что исполнительное коммутирующее устройство, содержащее корпус, основную и дополнительную контактные системы, электромагнитный привод, переключающий контакты контактных систем через храповой механизм поворотом оси с закрепленным на ней перемыкателем с токопроводящими секторами, и кулачок, согласно изобретению снабжено дополнительно осями, на одной из которых совместно с храповым колесом размещен кулачок, на другой - толкатель и зубчатое колесо, взаимодействующее с зубчатым колесом, установленным на оси перемыкателя, при этом толкатель взаимодействует с кулачком, имеющим на внешнем диаметре профиль с постоянным и плавно возрастающим радиусом с обеспечением релейного поворота толкателя при срабатывании от момента закрепленной на оси перемыкателя пружины, а контакты и токопроводящие секторы на перемыкателе основной контактной системы расположены на двух уровнях, причем контакты и токопроводящие секторы разных уровней развернуты по окружности расположения на половину углового шага.

[10]

Также согласно изобретению контакты основной контактной системы выполнены составными, внутренние части выполнены из материала с высокой электрической проводимостью, внешние части - из материала, сохраняющего упругость при высоких температурах.

[11]

Также согласно изобретению токовыводы контактов основной контактной системы закреплены во втулках, размещенных в изоляторах.

[12]

Введение в конструкцию исполнительного коммутирующего устройства дополнительных осей, на одной из которых совместно с храповым колесом размещен кулачок, на другой - толкатель и зубчатое колесо, взаимодействующее с зубчатым колесом, установленным на оси перемыкателя, обеспечение взаимодействия толкателя с кулачком, имеющим на внешнем диаметре профиль с постоянным и плавно возрастающем радиусом с обеспечением релейного поворота толкателя при срабатывании от момента закрепленной на оси перемыкателя пружины, а также расположение контактов и токопроводящих секторов на перемыкателе основной контактной системы на двух уровнях, с разворотом контактов и токопроводящих секторов разных уровней по окружности расположения на половину углового шага позволяет обеспечить большое количество размыкающих и замыкающих контактов при плотной компоновке в очень малом объеме с сохранением стойкости в аварийных ситуациях. Также обеспечивается релейное переключение контактов при срабатывании.

[13]

Выполнение упругих контактов основной контактной системы составными: внутренних частей - из материала с высокой электрической проводимостью, внешних - из материала, сохраняющего упругость при высоких температурах, позволяет обеспечить работу контактной системы в широком диапазоне температур, в том числе и при пожаре.

[14]

Закрепление токовыводов контактов во втулках, размещенных в изоляторах, позволяет значительно упростить сборку и регулировку контактов.

[15]

Наличие в заявляемом изобретении признаков, отличающих его от прототипа, позволяет считать его соответствующим условию «новизна».

[16]

Новые признаки, которые содержит отличительная часть формулы изобретения, не выявлены в технических решениях аналогичного назначения. На этом основании можно сделать вывод о соответствии заявляемого изобретения условию «изобретательский уровень».

[17]

Изобретение иллюстрируется чертежами.

[18]

На фиг.1 представлен осевой разрез устройства.

[19]

На фиг.2 - разрез А-А на фиг.1, конструкция контактов основной контактной системы верхнего уровня, контакты в исходном состоянии.

[20]

На фиг.3 - разрез Б-Б на фиг.1, конструкция контактов основной контактной системы нижнего уровня, контакты в исходном состоянии.

[21]

На фиг.4 - разрез В-В на фиг.1, конструкция кулачка, поворотного толкателя и контактов дополнительной контактной системы, детали в исходном состоянии устройства.

[22]

На фиг.5 - разрез Г-Г на фиг.1, конструкция храпового механизма и взаимодействие электромагнитного привода с храповым механизмом.

[23]

На фиг.6 - разрез Д-Д на фиг.1, конструкция электромагнитного привода.

[24]

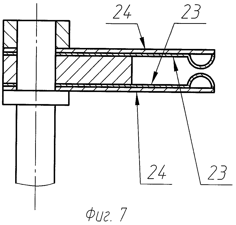
На фиг.7 - конструкция контакта основной контактной системы на токовыводе.

[25]

На фиг.8 - электрические связи и взаимодействие составных элементов устройства.

[26]

Исполнительное коммутирующее устройство содержит герметичный корпус 1, в котором размещены платы 2, 3 с токовыводами 4, 5 соответственно. На токовыводах 4 и 5 размещены по окружности контакты 6, взаимодействующие с перемычками 7. Перемычки 7 тоже расположены по окружности и закреплены на перемыкателе 8 на двух уровнях. В плате 2 также размещены токовыводы 9. Ось 10 перемыкателя 8, поджатая поворотной пружиной 11. На оси 10 установлено зубчатое колесо 12. На оси зубчатого колеса 13 размещен толкатель 14. Ось 10 взаимодействует через зубчатые колеса 12, 13 поворотным толкателем 14 с кулачком 15. Кулачок 15 закреплен на оси 16 храпового колеса 17, которое поворачивается собачками 18, установленными на коромысле 19. Коромысло 19 совершает возвратно-вращательные движение на угол, превышающий шаг зубьев храпового колеса 17 от взаимодействия с выступами якоря 20 электромагнитного привода 21 (фиг.1).

[27]

Токовыводы 4, 5 с контактами 6 и перемыкателем 8 образуют основную контактную систему 22 (фиг.2, 3).

[28]

Контакты 6 выполнены составными: внутренние части 23 - из материала с высокой электрической проводимостью, например ленты из бериллиевой бронзы по ГОСТ 1789-70, внешние части 24 - из материала, сохраняющего упругость при высоких температурах, например ленты из прецизионных сплавов по ГОСТ 14117-85 (фиг.7). Токовыводы 4 и 5 закреплены во втулках 25, размещенных в изоляторах 26.

[29]

Шаговый электромагнитный привод 21 выполнен в виде поляризованного реле с возвратно-вращательным движением якоря 20 (фиг.6). Храповой механизм 27, состоящий из храпового колеса 17 и взаимодействующих с ним подвижных 18 и неподвижных 28 пружинных собачек, преобразует возвратно-вращательное движение якоря 20 в однонаправленное вращение оси 16, на которой жестко закреплен кулачок 15. Храповое колесо 17 выполнено за одно целое с осью 16 (или запрессовано на него), а коромысло 19 установлено на оси 16 свободно с возможностью поворота.

[30]

Якорь 20 поворачивает коромысло 19 выступами, входящими в отверстия 29 коромысла 19 (фиг.5), которое размещенными на нем собачками 18 поворачивает храповое колесо 17. Неподвижные собачки 28 обеспечивают однонаправленный поворот храпового колеса 17.

[31]

В корпусе 1 также расположен пороговый датчик требуемого физического параметра 30, например линейного ускорения, функционирование которого обеспечивается инерционным телом 31 в виде постоянного магнита, закрепленного на мембране 32 (фиг.1).

[32]

Электромагнитный привод 21 содержит последовательно соединенные обмотки 33 - выводы «в-г» и последовательно соединенные обмотки 34 - выводы «б-г», необходимые для его срабатывания (фиг.6).

[33]

Контакты 35 с толкателем 36 и токовыводами 37, 38 образуют дополнительную контактную систему 39.

[34]

Исполнительное коммутирующее устройство работает следующим образом. Для срабатывания (переключения контактов основной контактной системы 22) исполнительного коммутирующего устройства необходима поочередная подача на последовательно соединенные обмотки 33 (выводы «в-г») и на последовательно соединенные обмотки 34 (выводы «б-г») шагового электромагнитного привода 21 некоторого количества импульсов напряжения через замкнутый контакт порогового датчика физического параметра 30 при его срабатывании от превышения ускорением уставочного (порогового) значения (фиг.1, 8). При подаче импульса напряжения на обмотки 33 якорь 20 поворачивается на угол f из одного крайнего положения в другое, поворачивая через коромысло 19 и собачки 18 храповое колесо 17 на угол, равный шагу его зубьев, и затем при подаче импульса напряжения на обмотки 34 якорь 20 возвращается без поворота храпового колеса 17 для повторения цикла. При возврате якоря 20 храповое колесо 17 удерживается от поворота обратно собачками 28.

[35]

Схема, поясняющая электрические связи и взаимодействие составных элементов (порогового датчика физического параметра 30, основной контактной системы 22, дополнительной контактной системы 39, шагового электромагнитного привода 21, храпового механизма 27) исполнительного коммутирующего устройства приведена на фиг.8. Коммутация электрических цепей приведена для исходного состояния устройства.

[36]

По одному из выводов обмоток 33 и 34 соединено в общий вывод «г», с которым, в свою очередь, соединена электрическая цепь датчика физического параметра 30. Данное соединение обеспечивает разрыв двух цепей подачи импульсов напряжения (на обмотки 33 и на обмотки 34) одним контактом датчика физического параметра 30.

[37]

Переключение контактов основной контактной системы 22 исполнительного коммутирующего устройства возможно при наличии двух факторов: ускорения а, равного или превышающего уставку и импульсов напряжения, подаваемых поочередно на выводы «в-г» и «б-г». В электрическую цепь подачи импульсов напряжения также включен контакт 35, который разрывает цепи питания обмоток 33 и 34 шагового электромагнитного привода 21 в крайних угловых положениях перемыкателя 8, соответствующих исходному и сработанному состояниям контактной системы. Контакт отключения 35 отжимается Г-образным толкателем 36, закрепленным на зубчатом колесе 12, при этом размыкается электрическая цепь между токовыводом 37, на котором закреплен контакт 35, и токовыводом 38 (фиг.4).

[38]

При повороте храпового колеса 17, а следовательно и кулачка 15 на 90° поворотный толкатель 14 перестанет взаимодействовать с профилем постоянного радиуса 40 кулачка 15 и повернется, вызывая поворот оси 10 с перемыкателем 8 через зубчатые колеса 13, 12 на угол, необходимый для переключения контактов 6 основной контактной системы 22 (на 30°). Переключение контактов 6 обеспечивается токопроводящими секторами 7, закрепленными на перемыкателе 8. При 60 зубьях на храповом колесе 17 оно повернется на 90° после поочередной подачи суммарно 30 импульсов напряжения на выводы «в-г» и «б-г».

[39]

Для приведения исполнительного коммутирующего устройства в исходное состояние необходима поочередная подача суммарно 90 импульсов напряжения на последовательно соединенные обмотки 33 (выводы «в-г») и на последовательно соединенные обмотки 34 (выводы «б-г») шагового электромагнитного привода 21. При повороте храпового колеса 17, а следовательно и кулачка 15, на 270° другой контакт 35, включенный в цепь подачи импульсов напряжения, разрывает цепи питания обмоток 33 и 34 шагового электромагнитного привода 21. То есть приведение исполнительного коммутирующего устройства в исходное состояние может осуществляться дистанционно без ручных операций и необходимости непосредственного доступа к нему.

[40]

Взаимодействие поворотного толкателя 14 с кулачком 15 показано на фиг.4. При нахождении поворотного толкателя 14 на участке кулачка 15 с постоянным радиусом 40 - основная контактная система в исходном состоянии, на участке 41 - в сработанном. Участок с плавно возрастающим радиусом 42 обеспечивает плавный поворот оси 10 с перемыкателем 8 в исходное угловое положение. То есть переключение основной контактной системы 22 из исходного состояния в сработанное происходит релейно из-за ступенчатого изменения радиуса кулачка, а взведение постепенно за время, определяемое частотой подаваемых импульсов напряжения. Продолжительный участок 42 (270°) позволяет облегчить взведение устройства даже при пружине 11 с большим моментом кручения.

[41]

Таким образом, смена состояний основной контактной системы 22, а следовательно и смена состояний исполнительного коммутирующего устройства обеспечиваются при однонаправленном повороте храпового колеса 17 (оси 16) на каждые 90° и 270°.

[42]

Подача импульсов напряжения на обмотки 33, 34 шагового электромагнитного привода 21 через контакты 35 не требует подачи строго определенного количества импульсов для срабатывания и взведения исполнительного коммутирующего устройства соответственно, то есть обеспечивает его надежную работу при возможных сбоях в работе шагового электромагнитного привода 21 и «дребезге» контакта порогового датчика ускорения 30.

[43]

Дополнительные токовыводы 9, установленные на плате 2, предназначены для вывода электрических цепей с контактов, расположенных на токовыводах 5 платы 3. Организация необходимых электрических цепей контактов датчика ускорения 30, обмоток 33, 34 шагового электромагнитного привода 21 и контактов отключения 35 обеспечивается соединением токовыводов 4, 5, 9, 37, 38. Монтажные провода на иллюстрациях не показаны.

[44]

Соединения токовыводов 9 с токовыводами 5 обеспечиваются перемычками 43, длина которых минимальна.

[45]

Закрепление токовыводов 4 и 5 во втулках 25, размещенных в изоляторах 26, обеспечивает предварительную сборку и регулировку контактов 6 (фиг.7) на токовыводах 4, 5 до установки их в устройство, что значительно упрощает сборку всего устройства.

[46]

Для уменьшения момента поворота оси 10, 16 и ось зубчатого колеса 13 установлены на шарикоподшипниках 44.

[47]

При эксплуатации при случайном появлении напряжения в электрических цепях и в аварийных ситуациях (ударные воздействия при падении или столкновении, тепловые воздействия при пожаре, затопление, комбинации этих воздействий) основная контактная система 22 не переключится, обеспечив безопасность всей системы автоматики взрывоопасного технического объекта. При этом не требуется высокая стойкость к аварийным воздействиям всех составных частей исполнительного коммутирующего устройства. Основная контактная система 22, выполненная в ударостойком и термостойком исполнении и расположенная в герметичном корпусе, определяет и обеспечивает необходимую стойкость устройства к аварийным воздействиям. Конструкция шагового электромагнитного привода 21 даже при повороте якоря 20, например от ударного воздействия, не приводит к смене состояния основной контактной системы 22, так как возможный поворот якоря 20 приведет к повороту храпового колеса 17 и оси 16 всего на один шаг, тогда как для ее переключения требуется значительно большее количество шагов. Кроме того, пространственное разнесение контактов 6 (расположенными по окружности - фиг.2, 3) исключает их случайную коммутацию даже разрушенными элементами конструкции при ударных воздействиях большой интенсивности. Расположение контактов 6 на двух уровнях позволяет обеспечить большое количество контактов в малом объеме. Переключение основной контактной системы 22 поворотным перемыкателем 8 повышает ее стойкость к ударным аварийным воздействиям.

[48]

Таким образом, заявляемое техническое решение позволит создать компактное исполнительное коммутирующее устройство с большим количеством контактов, релейно переключающихся при срабатывании, сохраняющее состояние контактов (безопасное) в аварийных ситуациях и работоспособное (надежное) в широких областях применения с пороговыми датчиками различных физических параметров (абсолютного и избыточного давления, линейного и углового ускорений, угловой скорости, температуры).

[49]

При этом пороговые датчики физических параметров могут быть с предельно упрощенной конструкцией.

[50]

Заявляемое исполнительное коммутирующее устройство с пороговым датчиком ускорения может быть реализовано массой в 80 г и объемом не более 40 см3.

[51]

Следовательно, заявляемое изобретение соответствует условию «промышленная применимость».

Как компенсировать расходы
на инновационную разработку
Похожие патенты