патент
№ RU 2674812
МПК F01D5/32

Устройство фиксации лопаток ротора компрессора газотурбинного двигателя

Авторы:
Лизунов Евгений Михайлович
Номер заявки
2017135490
Дата подачи заявки
05.10.2017
Опубликовано
13.12.2018
Страна
RU
Как управлять
интеллектуальной собственностью
Чертежи 
2
Реферат

[14]

Изобретение относится к области авиадвигателестроения и ГТУ наземного применения, в частности к роторам компрессоров газотурбинных двигателей. Устройство фиксации лопаток ротора компрессора газотурбинного двигателя на диске ротора, содержащее вкладыш, выполненный с возможностью зацепления в удерживающем окне диска в рабочем положении устройства фиксации лопаток, фиксатор, выполненный с возможностью упираться в донышко канавки диска в рабочем положении устройства фиксации лопаток, пружину, обеспечивающую неподвижность элементов устройства фиксации лопаток на диске в рабочем положении устройства фиксации лопаток, и упор, установленный на вкладыше и выполненный с возможностью удержания фиксатора в сжатом монтажном положении устройства фиксации лопаток. Перевод устройства фиксации из рабочего в монтажное положение обеспечивается путем приложения радиального усилия к вкладышу для сжатия пружины и последующего поворота фиксатора, причем упор выполнен в форме пластины, а фиксатор имеет шляпку с лысками, обеспечивающую возможность зацепления фиксатора за установленный на вкладыше упор при повороте фиксатора, обеспечивающем перевод устройства фиксации лопаток в монтажное положение. Изобретение позволяет повысить надежность устройства фиксации, упростить процесс монтажа и демонтажа лопаток в диск ротора компрессора и уменьшить габариты устройства за счет применения пружины. 3 ил.

Формула изобретения

Устройство фиксации лопаток ротора компрессора газотурбинного двигателя на диске ротора, содержащее вкладыш, выполненный с возможностью зацепления в удерживающем окне диска в рабочем положении устройства фиксации лопаток, фиксатор, выполненный с возможностью упираться в донышко канавки диска в рабочем положении устройства фиксации лопаток, пружину, обеспечивающую неподвижность элементов устройства фиксации лопаток на диске в рабочем положении устройства фиксации лопаток, и упор, установленный на вкладыше и выполненный с возможностью удержания фиксатора в сжатом монтажном положении устройства фиксации лопаток, отличающееся тем, что перевод устройства фиксации из рабочего в монтажное положение обеспечивается путем приложения радиального усилия к вкладышу для сжатия пружины и последующего поворота фиксатора, причем упор выполнен в форме пластины, а фиксатор имеет шляпку с лысками, обеспечивающую возможность зацепления фиксатора за установленный на вкладыше упор при повороте фиксатора, обеспечивающем перевод устройства фиксации лопаток в монтажное положение.

Описание

[1]

Изобретение относится к области авиадвигателестроения и газотурбинным установкам (ГТУ) наземного применения, в частности к роторам компрессоров газотурбинных двигателей.

[2]

Известна конструкция рабочих колес ротора компрессора, в которых реализована фиксация рабочих лопаток с помощью упругодеформируемых запирающих элементов в виде пластин различной формы.

[3]

Недостатками известной конструкции являются большие габариты запирающих элементов, которые влекут за собой расширение кольцевого паза диска и, соответственно, увеличение веса конструкции рабочего колеса. Вместе с этим существует проблема получения стабильности упругих свойств запирающих элементов и высокая трудоемкость монтажа и демонтажа лопаток.

[4]

Наиболее близким к заявляемому изобретению является устройство фиксации лопаток ротора компрессора газотурбинного двигателя, принятый за прототип, содержащее вкладыш, выполненный с возможностью зацепления в удерживающем окне диска в рабочем положении устройства фиксации лопаток, фиксатор, выполненный с возможностью упираться в донышко канавки диска в рабочем положении устройства фиксации лопаток, пружину, обеспечивающую неподвижность элементов устройства фиксации лопаток на диске в рабочем положении устройства фиксации лопаток, и упор, установленный на вкладыше и выполненный с возможностью удержания фиксатора в сжатом монтажном положении устройства фиксации лопаток (Патент FR 2965008, МПК F01D 5/30, F04D 29/34, опубл. 23.03.2012).

[5]

Недостатками известной конструкции, принятой за прототип, является сложность демонтажа. Так, в различных вариантах исполнения прототипа, для перевода устройства в монтажное положение необходимо приложить значительное радиальное усилие к вкладышу, либо выполнить деформацию пластины через дополнительные отверстия во вкладыше с последующим приложением радиального усилия к вкладышу. В варианте исполнения фиксатора в виде втулки с лепестками для демонтажа требуется сложное приспособление с последовательной деформацией лепестков через дополнительные отверстия во вкладыше, а затем приложению к вкладышу радиального усилия для перевода устройства в монтажное положение.

[6]

Технической задачей заявляемого изобретения является уменьшение габаритов запирающего элемента, повышение надежности устройства фиксации, упрощение процесса монтажа и демонтажа лопаток в диск компрессора в совокупности с невысокой стоимостью изготовления устройства фиксации.

[7]

Техническая задача решается тем, что в устройстве фиксации лопаток ротора компрессора газотурбинного двигателя на диске ротора содержащем вкладыш, выполненный с возможностью зацепления в удерживающем окне диска в рабочем положении устройства фиксации лопаток, фиксатор, выполненный с возможностью упираться в донышко канавки диска в рабочем положении устройства фиксации лопаток, пружину, обеспечивающую неподвижность элементов устройства фиксации лопаток на диске в рабочем положении устройства фиксации лопаток, и упор, установленный на вкладыше и выполненный с возможностью удержания фиксатора в сжатом монтажном положении устройства фиксации лопаток, согласно изобретению, перевод устройства фиксации из рабочего в монтажное положение обеспечивается путем приложения радиального усилия к вкладышу для сжатия пружины и последующего поворота фиксатора, причем упор выполнен в форме пластины, а фиксатор имеет шляпку с лысками, обеспечивающую возможность зацепления фиксатора за установленный на вкладыше упор при повороте фиксатора обеспечивающем перевод устройства фиксации лопаток в монтажное положение.

[8]

В предлагаемом изобретении, в отличие от прототипа, перевод устройства фиксации из рабочего в монтажное положение обеспечивается путем приложения радиального усилия к вкладышу для сжатия пружины и последующего поворота фиксатора. Вкладыш представляет собой элемент, повторяющий форму канавки и имеющий специальные выступы для удерживающих окон. На вкладыше установлен упор в форме пластины для удержания фиксатора в монтажном положении, а фиксатор имеет шляпку с лысками, обеспечивающую возможность зацепления фиксатора за установленный на вкладыше упор при повороте фиксатора обеспечивающем перевод устройства фиксации лопаток в монтажное положение, что позволяют упростить процесс монтажа и демонтажа лопаток в диск ротора компрессора и уменьшить габариты устройства, повысить надежность устройства фиксации.

[9]

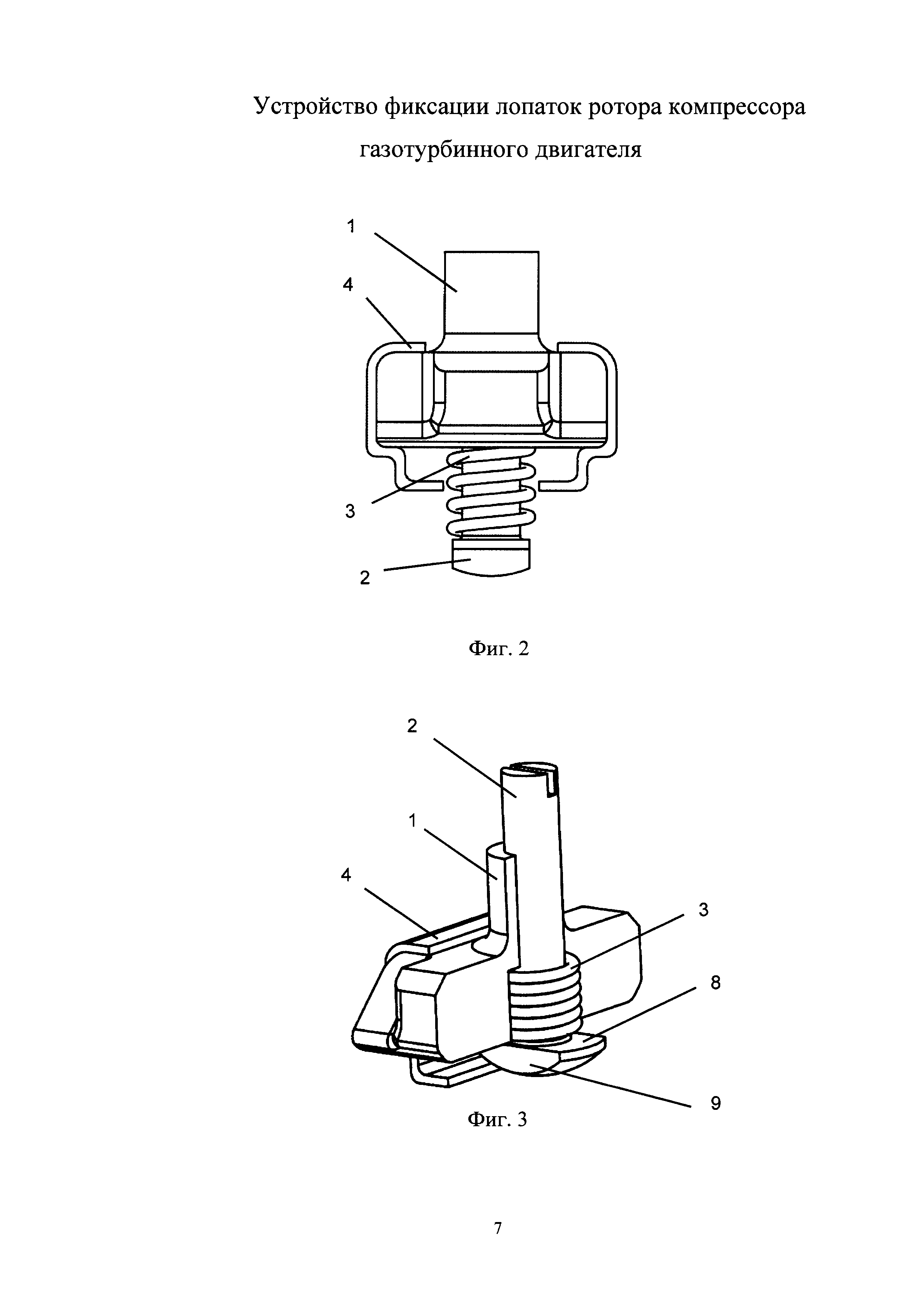
На фиг. 1 и 3 представлено устройство фиксации лопаток ротора в монтажном положении.

[10]

На фиг. 2 представлено устройство фиксации лопаток ротора в рабочем положении.

[11]

Устройство фиксации лопаток ротора (без позиции) компрессора газотурбинного двигателя на диске ротора содержит вкладыш 1, выполненный с возможностью зацепления в удерживающем окне диска в рабочем положении устройства фиксации лопаток, фиксатор 2, выполненный с возможностью упираться в донышко канавки диска в рабочем положении устройства фиксации лопаток, пружину 3, обеспечивающую неподвижность элементов устройства фиксации лопаток на диске в рабочем положении устройства фиксации лопаток, и упор 4, установленный на вкладыше и выполненный с возможностью удержания фиксатора в сжатом монтажном положении устройства фиксации лопаток.

[12]

Работает устройство следующим образом, в процессе работы пружина 3 обеспечивает зацепление вкладыша 1 в удерживающем окне 5 диска 6 за счет того, что фиксатор 2 упирается в донышко канавки 7. Подобранная жесткость пружины 3 обеспечивает неподвижность элементов устройства в процессе работы. Для монтажа и демонтажа лопаток в диск 6 устройство переводится в монтажное положение. Для этого необходимо приложить радиальное усилие на вкладыш 1 для сжатия пружины 3 и повернуть фиксатор 2 с помощью шлица в стержне для его зацепления за упор 4. Для этого на шляпке 8 фиксатора 2 выполнены лыски 9. В процессе перемещения лопаток по канавке 7 диска 6 не требуется прилагать дополнительных усилий для сжатия пружины 3.

[13]

Таким образом, выполнение предлагаемого изобретения с вышеуказанными отличительными признаками, в совокупности с известными признаками, заявляемого изобретения, позволяет повысить надежность устройства фиксации, упростить процесс монтажа и демонтажа лопаток в диск ротора компрессора и уменьшить габариты устройства за счет применения пружины.

Как компенсировать расходы
на инновационную разработку
Похожие патенты