патент
№ RU 2687834
МПК E21B17/14

Колонный башмак

Авторы:
Зарипов Ильдар Мухаматуллович
Номер заявки
2018129032
Дата подачи заявки
06.08.2018
Опубликовано
16.05.2019
Страна
RU
Как управлять
интеллектуальной собственностью
Чертежи 
1
Реферат

Изобретение относится к области строительства нефтяных и газовых скважин, в частности к оборудованию для оснастки нижней части обсадной колонны. Технический результат – повышение качества цементирования обсадных колонн за счет хорошей промывки ствола скважины через центральный промывочный канал во время спуска колонны, надежное перекрытие отверстий в горизонтальном стволе башмака по окончании продавки. Колонный башмак включает корпус с центральным каналом, один конец которого предназначен для соединения с колонной труб, втулку, вставленную в другой конец корпуса, центральный канал, снизу снабженный сужением, выше которого выполнены боковые отверстия. Втулка вставлена внутрь корпуса с фиксацией срезными элементами для герметизации боковых отверстий с возможностью перемещения вниз до сужения центрального канала корпуса под действием бросового шара и открытия боковых отверстий. На наружной поверхности корпуса выполнены одинаковые винтовые выборки, сообщенные в нижней части с соответствующими боковыми отверстиями. 4 ил.

Формула изобретения

Колонный башмак, включающий корпус с центральным каналом, один конец которого предназначен для соединения с колонной труб, втулку, вставленную в другой конец корпуса, центральный канал снизу снабжен сужением, выше которого выполнены боковые отверстия, отличающийся тем, что втулка вставлена внутрь корпуса с фиксацией срезными элементами для герметизации боковых отверстий с возможностью перемещения вниз до сужения центрального канала корпуса под действием бросового шара и открытия боковых отверстий, при этом на наружной поверхности корпуса выполнены одинаковые винтовые выборки, сообщенные в нижней части с соответствующими боковыми отверстиями.

Описание

[1]

Изобретение относится к области строительства нефтяных и газовых скважин, в частности к оборудованию для оснастки нижней части обсадной колонны.

[2]

Известен башмак обсадной колонны (SU №1673725, МПК Е21 В 17/14, опубл. в бюл. №32 от 30.08.1991), содержащий металлический цилиндрический корпус с осевым каналом и жестко связанную с нижней частью корпуса бетонную направляющую насадку со сферической наружной поверхностью и осевым каналом, при этом с целью повышения надежности работы за счет улучшения проходимости и предотвращения забивания канала при спуске башмака он снабжен установленным перед бетонной направляющей насадкой и связанным с ним упругими штырями обтекателем, образующим с наружной поверхностью бетонной направляющей насадки кольцевую щель.

[3]

Недостатки данной конструкции:

[4]

- недостаточная промывка ствола скважины от шлама, находящегося непосредственно перед башмаком в процессе спуска обсадной колонны;

[5]

- вибрации, которые возникают при промывке, могут дополнительно уплотнить находящийся перед башмаком шлам, что увеличит вероятность непрохождения колонны;

[6]

- обтекатель не позволяет создать турбулентный поток цементного раствора.

[7]

Наиболее близким по технической сущности является колонный башмак (RU №2574237, МПК Е21В 17/14, опубл. в бюл. №4 от 10.02.2016), включающий корпус, один конец которого предназначен для соединения с колонной труб, втулку, связанную с другим концом корпуса, направляющую насадку с центральным каналом, выполненную из легко разбуриваемого материала и помещенную в нижней части полости втулки, свободный нижний торец которой с направляющей насадкой выполнены скошенными, при этом втулка перед направляющей насадкой имеет боковые отверстия, выполненные по касательной относительно ее наружной поверхности, и имеет возможность проворота относительно корпуса, при осевом взаимодействии устройства с препятствием в стволе скважины, или вращения относительно корпуса при промывке скважины.

[8]

Недостатки данной конструкции:

[9]

- отверстия, выполненные по касательной к наружной поверхности корпуса, предназначены для лучшей промывки в процессе спуска колонны, но не позволяют продавливать цементный раствор в турбулентном режиме;

[10]

в горизонтальном стволе одно из отверстий может оказаться закрытым стенкой скважины, что плохо отразится на качестве цементирования;

[11]

- так как центральный канал имеет диаметр больше диаметра боковых отверстий, то в процессе продавки цементного раствора основной поток будет проходить через центральное отверстие, что тоже не позволит создать дополнительного перемешивания раствора.

[12]

Технической задачей предлагаемого изобретения является повышение качества цементирования обсадных колонн за счет хорошей промывки ствола скважины во время спуска колонны, лучшего замещения бурового раствора цементным за счет создания турбулентного потока цементного раствора и исключения перекрытия отверстий в горизонтальном стволе, а также надежного перекрытия отверстий башмака по окончании продавки.

[13]

Техническая задача решается колонным башмаком, включающим корпус с центральным каналом, один конец которого предназначен для соединения с колонной труб, втулку, вставленную в другой конец корпуса, центральный канал снизу снабжен сужением, выше которого выполнены боковые отверстия.

[14]

Новым является то, что втулка вставлена внутрь корпуса с фиксацией срезными элементами для герметизации боковых отверстий с возможностью перемещения вниз до сужения центрального канала корпуса под действием бросового шара и открытия боковых отверстий, при этом на наружной поверхности корпуса выполнены одинаковые винтовые выборки, сообщенные в нижней части с соответствующими боковыми отверстиями.

[15]

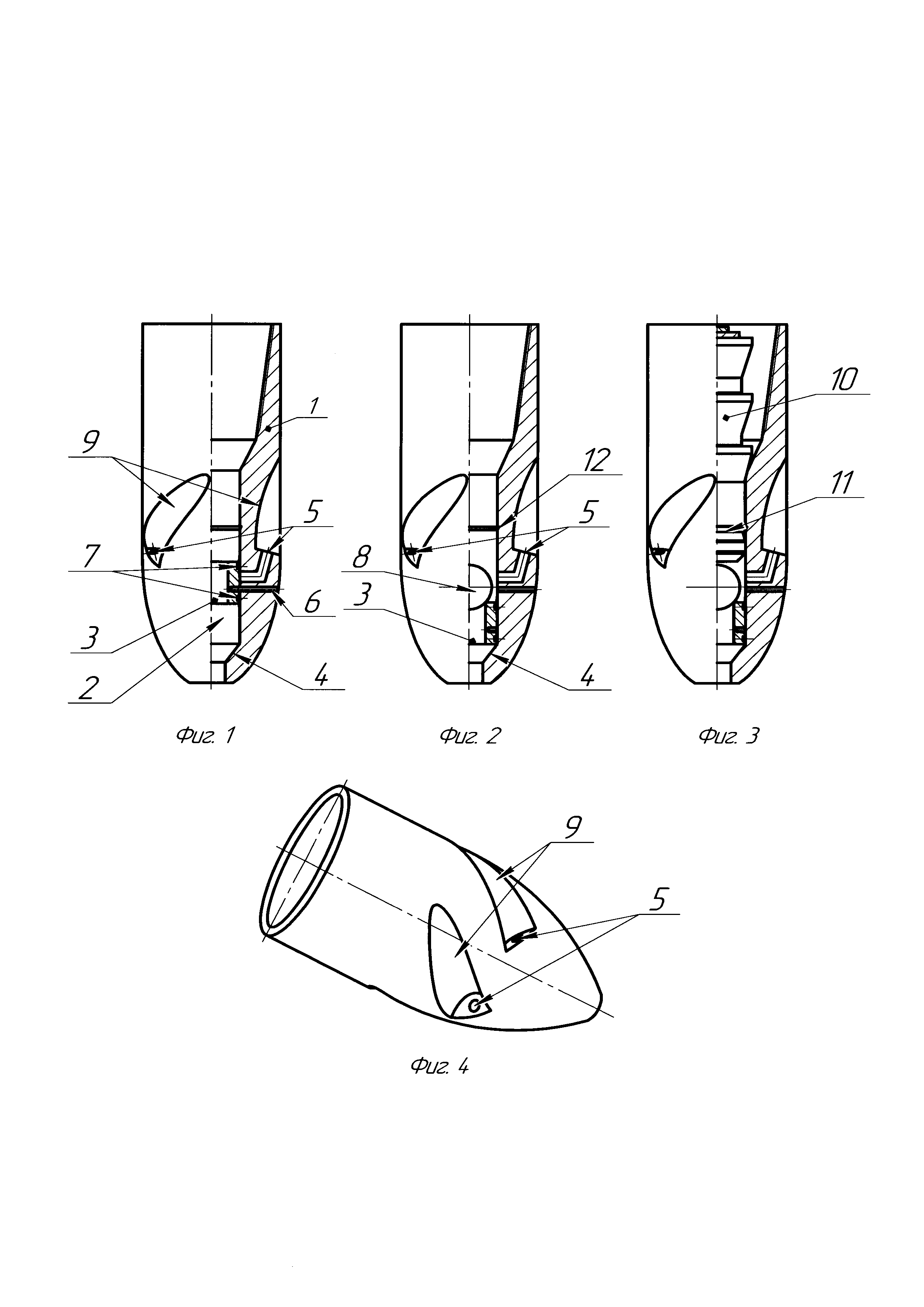
На фиг. 1 изображен колонный башмак во время спуска колонны в скважину с частичным разрезом.

[16]

На фиг. 2 изображен колонный башмак после достижения колонной заданного интервала установки и после сброса шара с частичным разрезом.

[17]

На фиг. 3 изображен колонный башмак после продавки цементного раствора и посадки продавочной пробки в посадочное место с частичным разрезом.

[18]

На фиг. 4 изображен общий вид колонного башмака и винтовые выборки, выполненные на нем.

[19]

Колонный башмак состоит из корпуса 1 (фиг. 1) с центральным каналом 2. Верхний конец корпуса 1 предназначен для соединения (например, резьбой) с колонной обсадных труб (на фиг. не показаны). В нижний конец корпуса 1 вставлена втулка 3, центральный канал 2 снизу снабжен сужением 4, выше которого выполнены боковые отверстия 5. Втулка 3 вставлена внутрь корпуса 1 с фиксацией срезными элементами 6 для герметизации боковых отверстий 5 с помощью уплотнительных элементов 7 и возможностью перемещения вниз до сужения центрального канала 4 (фиг. 2) корпуса 1 под действием бросового шара 8 и открытия боковых отверстий 5. Кроме того, на наружной поверхности корпуса 1 выполнены одинаковые винтовые выборки 9 (фиг. 1 и 4), сообщенные в нижней части с соответствующими боковыми отверстиями 5. Продавка цементного раствора в затрубное пространство осуществляется продавочной пробкой 10 (фиг. 3), которая в нижней части имеет стопорное кольцо 11, а в центральном канале 2 (фиг. 1) корпуса 1 имеется соответствующая проточка 12 (фиг. 2) под стопорное кольцо 11 (фиг. 3). Колонный башмак работает следующим образом.

[20]

Колонный башмак устанавливается на первой трубе обсадной колонны (на фиг. не показана) и колонна спускается в скважину. В процессе спуска колонны производятся промежуточные промывки скважины для выноса накопившегося перед башмаком шлама. При этом промывка осуществляется через центральный канал 2 (фиг. 1) и сужение 4 корпуса 1. Втулка 3, установленная в нижней части центрального канала 2 корпуса 1, зафиксирована срезными элементами бис помощью уплотнительных элементов 7 надежно перекрывает боковые отверстия 5. По достижении обсадной колонной забоя производят окончательную промывку и в это же время в колонну обсадных труб сбрасывают шар 8 (фиг. 2). Шар 8 доходит до втулки 3, перекрывает центральное отверстие, при этом повышается давление, срезаются элементы 6 (фиг. 1), и втулка с шаром сдвигается вниз до сужения 4 (фиг. 2). При этом центральный канал 2 (фиг. 1) перекрывается, а боковые отверстия 5 (фиг. 2) открываются. Далее закачивают цементный раствор. После закачки расчетного объема цементного раствора вставляют продавочную пробку и буферной жидкостью проталкивают пробку вниз башмака. В процессе продавки в затрубное пространство, цементный раствор проходит через боковые отверстия 5 (фиг. 4) и винтовые выборки 9. При этом поток цементного раствора получает турбулентное движение, что приводит к лучшему перемешиванию цемента и замещению бурового раствора. Кроме того, если одно из отверстий оказалось закрытым нижней частью стенки скважины за счет винтовой выборки 9, он все равно будет продолжать выходить без затруднений.

[21]

При достижении пробкой 10 (фиг. 3) колонного башмака стопорное кольцо 11 защелкивается в соответствующей проточке 12 (фиг. 2) и происходит фиксация пробки 10 (фиг. 3). При этом поднимается давление на манометре насоса, что означает конец продавки. Далее отключают насос, и скважина переводится на операцию затвердевания цемента. Зафиксированная продавочная пробка 10 работает при этом как обратный клапан, т.е. не дает цементу из затрубного пространства попадать обратно в обсадную трубу.

[22]

Предлагаемая конструкция колонного башмака позволяет повысить качество цементирования обсадных колонн за счет хорошей промывки ствола скважины через центральный промывочный канал во время спуска колонны, улучшить замещение бурового раствора цементным за счет создания турбулентного потока цементного раствора и исключить перекрытие отверстий в горизонтальном стволе, а также надежно перекрыть отверстия башмака по окончании продавки.

Как компенсировать расходы
на инновационную разработку
Похожие патенты