патент
№ RU 2504498
МПК B63B35/44

ПЛАВУЧАЯ ПЛАТФОРМА

Авторы:
Шабанов Владимир Иванович
Номер заявки
2012152129/11
Дата подачи заявки
05.12.2012
Опубликовано
20.01.2014
Страна
RU
Как управлять
интеллектуальной собственностью
Чертежи 
3
Реферат

Изобретение относится к плавучим средствам, предназначенным для специальных целей, а именно к понтонам, плавучим докам, плотам и другим плавучим сооружениям. Плавучая платформа содержит соединенные по крайней мере одним элементом крепления по крайней мере два плавучих элемента, состоящих каждый из по крайней мере двух боковых граней с по крайней мере одним вертикальным выступом на каждой, из по крайней мере двух боковых граней с по крайней мере одной вертикальной впадиной на каждой, соответствующей вертикальному выступу, из верхней грани и днища, образующих вместе пустотелый корпус с по крайней мере одной проушиной для размещения элемента крепления. Каждый вертикальный выступ и соответствующая вертикальная впадина образованы по крайней мере тремя гранями, две из которых параллельны друг другу и перпендикулярны третьей. Технический результат заключается в повышении надежности конструкции в целом и расширении ее эксплуатационных возможностей. 4 ил.

Формула изобретения

Плавучая платформа, содержащая соединенные по крайней мере одним элементом крепления по крайней мере два плавучих элемента, состоящих из по крайней мере двух боковых граней с по крайней мере одним вертикальным выступом на одной из них и с по крайней мере одним вертикальным выступом на другой, из по крайней мере двух боковых граней с по крайней мере одной вертикальной впадиной на одной из них и с по крайней мере одной вертикальной впадиной на другой, соответствующей вертикальному выступу, из верхней грани и днища, образующих вместе пустотелый корпус соответствующего плавучего элемента с по крайней мере одной проушиной для размещения элемента крепления, отличающаяся тем, что каждый вертикальный выступ и соответствующая вертикальная впадина образованы по крайней мере тремя гранями, две из которых параллельны друг другу и перпендикулярны третьей.

Описание

[1]

Изобретение относится к плавучим средствам, предназначенным для специальных целей, а именно к понтонам, плавучим докам, плотам и другим плавучим сооружениям.

[2]

Наиболее близкой по технической сущности к предлагаемому изобретению является выбранная в качестве прототипа плавучая платформа, содержащая соединенные по крайней мере одним элементом крепления по крайней мере два плавучих элемента, состоящих из по крайней мере двух боковых граней с по крайней мере одним вертикальным выступом на одной из них и с по крайней мере одним вертикальным выступом на другой, из по крайней мере двух боковых граней с по крайней мере одной вертикальной впадиной на одной из них и с по крайней мере одной вертикальной впадиной на другой, соответствующей вертикальному выступу, из верхней грани и днища, образующих вместе пустотелый корпус соответствующего плавучего элемента с по крайней мере одной проушиной для размещения элемента крепления (патент РФ №2322549 от 30.09.2005 г.).

[3]

Недостатками прототипа являются ненадежность конструкции из-за повышенных нагрузок на проушины при перекосах плавучих элементов платформы вследствие их ненадежной фиксации из-за возникающих сил, приводящих к взаимному перемещению волнообразных или угловых выступов относительно волнообразных или угловых впадин при их взаимодействии, и из-за недостаточной жесткости боковых граней пустотелых корпусов.

[4]

Технический результат, достигаемый предлагаемым изобретением, заключается в снижении нагрузки на проушины путем улучшения фиксации плавучих элементов в составе плавучей платформы за счет отсутствия сил, приводящих к взаимному перемещению прямоугольных выступов относительно прямоугольных впадин при их взаимодействии во время фиксации, и в увеличении жесткости боковых граней пустотелых корпусов плавучих элементов, что приводит к повышению надежности конструкции в целом и расширению эксплуатационных возможностей за счет увеличения внешней нагрузки на плавучую платформу при сохранении материалоемкости или уменьшению материалоемкости (толщины стенок пустотелых корпусов и проушин) при сохранении внешней нагрузки.

[5]

Поставленный технический результат достигается тем, что в плавучей платформе, содержащей соединенные по крайней мере одним элементом крепления по крайней мере два плавучих элемента, состоящих из по крайней мере двух боковых граней с по крайней мере одним вертикальным выступом на одной из них и с по крайней мере одним вертикальным выступом на другой, из по крайней мере двух боковых граней с по крайней мере одной вертикальной впадиной на одной из них и с по крайней мере одной вертикальной впадиной на другой, соответствующей вертикальному выступу, из верхней грани и днища, образующих вместе пустотелый корпус соответствующего плавучего элемента с по крайней мере одной проушиной для размещения элемента крепления, каждый вертикальный выступ и соответствующая вертикальная впадина образованы по крайней мере тремя гранями, две из которых параллельны друг другу и перпендикулярны третьей.

[6]

На фиг.1 изображена плавучая платформа, состоящая из четырех плавучих элементов, общий вид в изометрии,

[7]

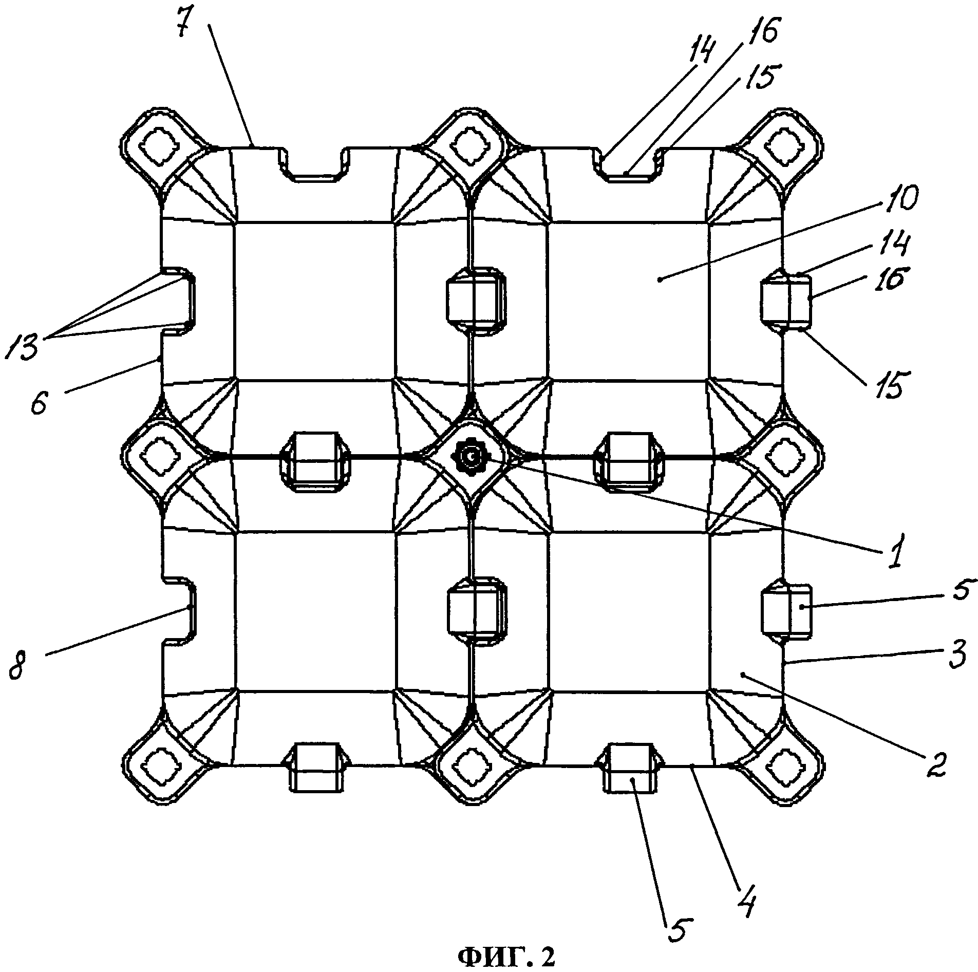
на фиг.2 - та же плавучая платформа, вид снизу,

[8]

на фиг.3 - плавучая платформа, состоящая из двух плавучих элементов, вид сверху,

[9]

на фиг.4 - соединение трех плавучих элементов элементом крепления, в изометрии.

[10]

Плавучая платформа содержит соединенные по крайней мере одним элементом 1 крепления по крайней мере два плавучих элемента 2, состоящих из по крайней мере двух боковых граней 3 и 4 с по крайней мере одним вертикальным выступом 5 на одной из них и с по крайней мере одним вертикальным выступом 5 на другой, из по крайней мере двух боковых граней 6 и 7 с по крайней мере одной вертикальной впадиной 8 на одной из них и с по крайней мере одной вертикальной впадиной 8 на другой, соответствующей вертикальному выступу 5, из верхней грани 9 и днища 10, образующих вместе пустотелый корпус 11 соответствующего плавучего элемента 2 с по крайней мере одной проушиной 12 (на фиг.1, 2 и 4 показаны плавучие элементы 2 с четырьмя проушинами 12 каждый, на фиг.3 показаны плавучие элементы 2 с шестью проушинами 12 каждый) для размещения элемента 1 крепления. Каждый вертикальный выступ 5 и соответствующая вертикальная впадина 8 образованы по крайней мере тремя гранями (на фигурах дополнительно показаны технологические округления 13), две (14 и 15) из которых параллельны друг другу и перпендикулярны третьей (16). При выполнении каждого плавучего элемента 2 методом экструзионно-выдувного формования в пустотелом корпусе 11 предусмотрено закрытое пробкой 17 технологическое отверстие.

[11]

Плавучая платформа работает следующим образом.

[12]

Плавучая платформа собирается в единую конструкцию из плавучих элементов 2 с помощью соединения проушин 12 корпусов 11 крепежными элементами 1.

[13]

Данное техническое решение за счет выполнения каждого вертикального выступа 5 и соответствующей вертикальной впадины 8 каждого плавучего элемента 2 в виде по крайней мере трех граней, две (14 и 15) из которых параллельны друг другу и перпендикулярны третьей (16), напоминающих швеллеры, снижает нагрузки на проушины 12 путем улучшения фиксации плавучих элементов 2 в составе плавучей платформы за счет отсутствия сил, приводящих к взаимному перемещению прямоугольных выступов 5 относительно прямоугольных впадин 8 при их взаимодействии во время фиксации, и увеличивает осевые моменты инерции поперечного сечения боковых граней, что, в свою очередь, увеличивает жесткость боковых граней 3, 4, 6 и 7 пустотелых корпусов 11 плавучих элементов 2 и одновременно сохраняет технологичность изготовления каждого плавучего элемента 2, это приводит к повышению надежности конструкции в целом и расширению эксплуатационных возможностей за счет увеличения внешней нагрузки на плавучую платформу при сохранении материалоемкости или уменьшению материалоемкости (толщины стенок пустотелых корпусов 11 и проушин 12) при сохранении внешней нагрузки.

Как компенсировать расходы
на инновационную разработку
Похожие патенты