патент
№ RU 2684307
МПК H02J3/18

Конденсаторная группа, коммутируемая тиристорами

Авторы:
Красноперов Роман Николаевич Панфилов Дмитрий Иванович Духнич Елена Михайловна
Все (5)
Номер заявки
2018112476
Дата подачи заявки
06.04.2018
Опубликовано
08.04.2019
Страна
RU
Как управлять
интеллектуальной собственностью
Чертежи 
3
Реферат

Изобретение относится к области электротехники и силовой электроники и может быть использовано для управления источниками реактивной мощности, построенными на основе тиристорных преобразователей. Техническим результатом, на получение которого направлено предлагаемое техническое решение, является увеличение дискретности регулирования емкости конденсаторной группы, уменьшение суммарной установленной мощности реактивных элементов схемы, снижение массогабаритных показателей и повышение надежности устройства в целом по сравнению с прототипами при одинаковом количестве конденсаторов, входящих в ее состав. Технический результат достигается тем, что конденсаторная группа, коммутируемая тиристорами, содержащая токоограничивающий реактор и две ветви, каждая из которых состоит из последовательно соединенных двунаправленного тиристорного ключа и конденсатора, реализована так, что каждая ветвь содержит последовательно включенный дополнительный двунаправленный тиристорный ключ, при этом ветви подключаются параллельно таким образом, что одни из выводов дополнительных двунаправленных тиристорных ключей подключены к разноименным выводам параллельных ветвей, а между другими выводами дополнительных двунаправленных тиристорных ключей ветвей включен вспомогательный двунаправленный тиристорный ключ, при этом параллельные ветви подключены к выводам конденсаторной группы последовательно с токоограничивающим реактором, при этом дополнительно к ветвям, содержащим последовательное соединение двунаправленного тиристорного ключа и конденсатора, параллельно подключено любое количество дополнительных ветвей, содержащих последовательное соединение двунаправленного тиристорного ключа и конденсатора. 1 з.п. ф-лы, 3 ил.

Формула изобретения

1. Конденсаторная группа, коммутируемая тиристорами, содержащая токоограничивающий реактор и две ветви, каждая из которых состоит из последовательно соединенных двунаправленного тиристорного ключа и конденсатора, отличающаяся тем, что каждая ветвь содержит последовательно включенный дополнительный двунаправленный тиристорный ключ, при этом ветви подключаются параллельно таким образом, что одни из выводов дополнительных двунаправленных тиристорных ключей подключены к разноименным выводам параллельных ветвей, а между другими выводами дополнительных двунаправленных тиристорных ключей ветвей включен вспомогательный двунаправленный тиристорный ключ, при этом параллельные ветви подключены к выводам конденсаторной группы последовательно с токоограничивающим реактором.

2. Конденсаторная группа, коммутируемая тиристорами по п. 1, отличающаяся тем, что к ветвям, содержащим последовательное соединение двунаправленного тиристорного ключа и конденсатора, параллельно подключено любое количество дополнительных ветвей, содержащих последовательное соединение двунаправленного тиристорного ключа и конденсатора.

Описание

[1]

Изобретение относится к области электротехники и силовой электроники и может быть использовано для управления источниками реактивной мощности, построенными на основе тиристорных преобразователей. Подобные устройства широко применяются в электроэнергетике, электроприводе, электротермии, электролизе, преобразовательной технике, для плавного регулирования реактивной мощности в электрической сети, как в режиме ее потребления, так и генерации в составе управляемых блоков конденсаторных батарей и комбинированных статических тиристорных компенсаторов реактивной мощности.

[2]

Известна конденсаторная группа, коммутируемая тиристорами, включающая параллельно соединенные ветви, каждая из которых содержит конденсатор с последовательно подключенным к нему двунаправленным тиристорным ключом. Изменение емкости конденсаторной группы осуществляется за счет управления двунаправленными тиристорными ключами каждой из ветвей и подключением различного количества конденсаторов параллельно. При этом за счет выбора различных реактивных сопротивлений каждой ветви конденсаторной группы, например 1:2:3:5 и включением каждой секции или комбинации нескольких из них с помощью двунаправленных тиристорных ключей достигается требуемая дискретность уровней регулирования емкости конденсаторной группы. Система управления устройством синхронизирует моменты отпирания встречно-параллельно соединенных тиристоров в каждой из параллельных ветвей относительно приложенного к ним напряжения и обеспечивает требуемое значение результирующей емкости конденсаторной группы. («Дальние электропередачи сверхвысокого напряжения» Ю.П. Рыжов, М., Издательский дом МЭИ, 2007 г., 486 с, стр. 313, рис. 9.11 а).

[3]

Недостатком данной схемы построения конденсаторной группы является небольшая дискретность изменения емкости конденсаторной группы, вытекающая из ограниченного числа комбинаций параллельно включаемых ветвей с разными величинами емкостей конденсаторов каждой из них. Этот недостаток сказывается на плавности регулирования реактивной мощности, обеспечиваемой такой схемой построения конденсаторной группы. Кроме этого, схема отличается пониженной надежностью работы, связанной с отсутствием элементов, ограничивающих токи при переключении тиристорных ключей при различающихся начальных напряжениях на конденсаторах в момент их переключения.

[4]

Известна конденсаторная группа, коммутируемая тиристорами, содержащая параллельно соединенные ветви, при этом каждая из ветвей, помимо конденсатора с последовательно подключенным к нему двунаправленным тиристорным ключом, дополнительно содержит последовательно включенный токоограничивающий реактор. Изменение емкости конденсаторной группы также достигается изменением количества конденсаторов, подключаемых параллельно с помощью соответствующих двунаправленных тиристорных ключей. Система управления устройством аналогично предыдущему прототипу синхронизирует моменты отпирания встречно-параллельно соединенных тиристоров в каждой из параллельных ветвей относительно приложенного к ним напряжения. («Энергосбережение в системах промышленного электроснабжения» Справочно-методическое издание под общей редакцией Вакулко А.Г. Из-во «Теплоэнергетик», М. 2014 г., 298 стр. с ил. стр. 137, рис. 5.10).

[5]

Наличие токоограничивающих реакторов в данной схеме позволяет повысить надежность работы устройства за счет ограничения токов при переключении конденсаторов. К недостаткам схемы относится небольшая дискретность регулирования эквивалентной емкости конденсаторной группы и увеличенная установленная мощность реактивных элементов из за большого количества токоограничивающих реакторов.

[6]

Техническим результатом, на получение которого направлено предлагаемое техническое решение, является увеличение дискретности регулирования емкости конденсаторной группы, уменьшение суммарной установленной мощности реактивных элементов схемы, снижение массогабаритных показателей и повышение надежности устройства в целом по сравнению с прототипами при одинаковом количестве конденсаторов, входящих в его состав.

[7]

Технический результат достигается тем, что конденсаторная группа, коммутируемая тиристорами, содержащая токоограничивающий реактор и две ветви, каждая из которых состоит из последовательно соединенных двунаправленного тиристорного ключа и конденсатора, реализована так, что каждая ветвь содержит последовательно включенный дополнительный двунаправленный тиристорный ключ, при этом ветви подключаются параллельно таким образом, что одни из выводов дополнительных двунаправленных тиристорных ключей подключены к разноименным выводам параллельных ветвей, а между другими выводами дополнительных двунаправленных тиристорных ключей ветвей включен вспомогательный двунаправленный тиристорный ключ, при этом параллельные ветви подключены к выводам конденсаторной группы последовательно с токоограничивающим реактором, при этом дополнительно к ветвям, содержащим последовательное соединение двунаправленного тиристорного ключа и конденсатора, параллельно подключено любое количество дополнительных ветвей, содержащих последовательное соединение двунаправленного тиристорного ключа и конденсатора.

[8]

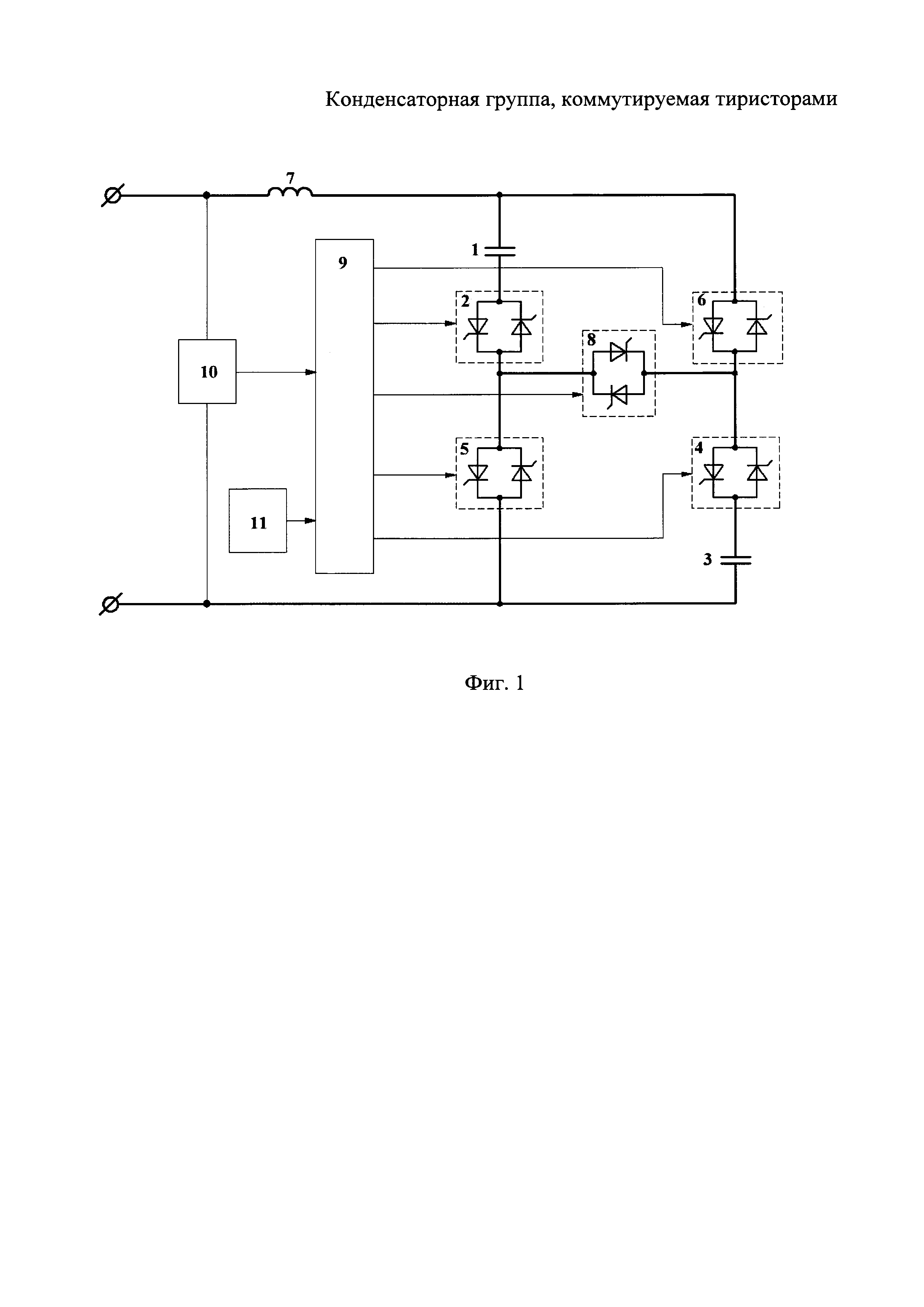
Сущность предлагаемого устройства поясняется чертежом, где на фиг. 1 приведена схема построения конденсаторной группы, коммутируемой тиристорами, состоящая из двух ветвей с конденсаторами и токоограничивающего реактора.

[9]

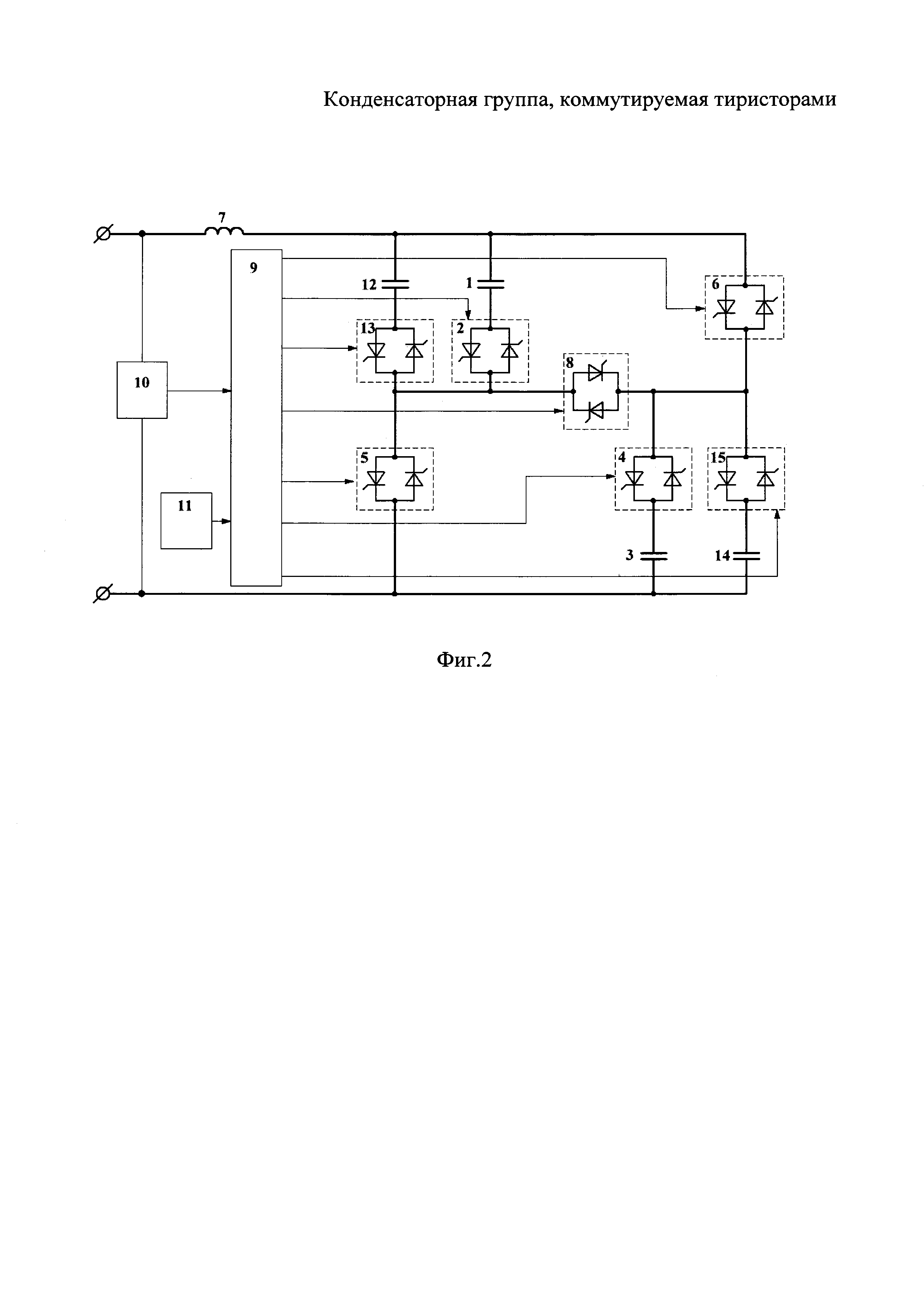
На фиг. 2 приведена схема построения конденсаторной группы, коммутируемой тиристорами, состоящая из четырех ветвей с конденсаторами и токоограничивающего реактора.

[10]

На фиг. 3 приведена таблица результирующих величин емкостей конденсаторной группы, получаемых при различных комбинациях включенных двунаправленных тиристорных ключей в схеме фиг. 2.

[11]

Конденсаторная группа, коммутируемая тиристорами, включает две ветви, образованные последовательным соединением конденсатора и двунаправленного тиристорного ключа (фиг. 1). Первая ветвь содержит последовательное соединение конденсатора 1 и двунаправленного тиристорного ключа 2. Вторая ветвь содержит последовательное соединение конденсатора 3 и двунаправленного тиристорного ключа 4. К выводу двунаправленного тиристорного ключа 2, не соединенному с конденсатором 1, подключен первый вывод дополнительного двунаправленного тиристорного ключа 5. К выводу двунаправленного тиристорного ключа 4, не соединенному с конденсатором 3, подключен первый вывод дополнительного двунаправленного тиристорного ключа 6. Второй вывод дополнительного двунаправленного тиристорного ключа 6 и вывод конденсатора 1, не соединенный с двунаправленным тиристорным ключом 2, подключены к первому выводу токоограничивающего реактора 7. Второй вывод токоограничивающего реактора 7 подключен к одному из выходов конденсаторной группы. Второй вывод дополнительного двунаправленного тиристорного ключа 5 и вывод конденсатора 3, не соединенный с двунаправленным тиристорным ключом 4, подключены к другому выходу конденсаторной группы. К общей точке соединения двунаправленного тиристорного ключа 2 и дополнительного двунаправленного тиристорного ключа 5 подключен первый вывод вспомогательного тиристорного ключа 8, второй вывод которого подключен к общей точке соединения двунаправленного тиристорного ключа 4 и дополнительного двунаправленного тиристорного ключа 6. Управление состоянием тиристорных ключей 2, 4, 5, 6, 8 осуществляет система управления 9, используя информацию о входном напряжении, поступающую на один из ее входов от датчика напряжения 10. На второй вход системы управления 9 поступает информация с блока 11 - задания требуемой емкости конденсаторной группы, используемая системой управления 9 для определения необходимой комбинации включенных в данный момент тиристорных ключей 2, 4, 5, 6, 8.

[12]

На фиг. 2 изображена схема фиг. 1, дополненная в целях увеличения количества ступеней регулирования реактивной мощности двумя дополнительными ветвями, состоящими из последовательного соединения конденсатора и двунаправленного тиристорного ключа. Первая дополнительная ветвь содержит конденсатор 12, первый вывод которого подключен к общей точке соединения конденсатора 1, дополнительного двунаправленного тиристорного ключа 6, и токоограничивающего реактора 7, а второй вывод - к первому выводу двунаправленного тиристорного ключа 13. Второй вывод двунаправленного тиристорного ключа 13 подключен к первому выводу вспомогательного тиристорного ключа 8. Вторая дополнительная ветвь содержит конденсатор 14, первый вывод которого подключен к общей точке соединения конденсатора 3 и дополнительного двунаправленного тиристорного ключа 5, а второй вывод -к первому выводу двунаправленного тиристорного ключа 15. Второй вывод двунаправленного тиристорного ключа 15 подключен к второму выводу вспомогательного тиристорного ключа 8.

[13]

Конденсаторная группа, коммутируемая тиристорами, изображенная на фиг. 1, работает следующим образом. Управление двунаправленными тиристорными ключами 2, 4, 5, 6, 8 осуществляется системой управления 9 в определенные моменты времени относительно синусоидального напряжения, приложенного к выходам конденсаторной группы. В целях синхронизации моментов переключения указанных ключей, посредством датчика напряжения 10, в систему управления 9 подается информация о приложенном к выходам конденсаторной группы напряжении. При этом в зависимости от набора одновременно включенных двунаправленных тиристорных ключей, определяемого блоком 11 - задания требуемой емкости конденсаторной группы, обеспечивается подключение к выходам конденсаторной группы различной комбинации конденсаторов. При включенных двунаправленных тиристорных ключах 2 и 5 и выключенных двунаправленных тиристорных ключах 4, 6, 8 к выходам конденсаторной группы через токоограничивающий реактор 7 подключен конденсатор 1. При включенных двунаправленных тиристорных ключах 4 и 6 и выключенных двунаправленных тиристорных ключах 2, 5, 8 к выходам конденсаторной группы через токоограничивающий реактор 7 подключается конденсатор 3. При включенных двунаправленных тиристорных ключах 2, 4, 8 и выключенных двунаправленных тиристорных ключах 5 и 6 к выходам конденсаторной группы через токоограничивающий реактор 7 подключаются два конденсатора 3 и 1, соединенные последовательно. При включенных двунаправленных тиристорных ключах 2, 4, 5, 6 и выключенном двунаправленном тиристорном ключе 8 к выходам конденсаторной группы через токоограничивающий реактор 7 подключаются два конденсатора, соединенные параллельно. Таким образом, схема, изображенная на фиг.1, при наличии двух конденсаторов 1 и 3, в зависимости от управления двунаправленными тиристорными ключами 2, 4, 5, 6, 8 позволяет обеспечить четыре различных значения емкости на выходах конденсаторной группы. Перед началом очередного изменения комбинации подключенных к выходам конденсаторной группы конденсаторов 1 и 3 система управления обеспечивает рекуперацию энергии, оставшуюся в конденсаторах на момент завершения предыдущего состояния схемы, в источник питания и фиксацию напряжения на всех конденсаторах на нулевом уровне к моменту начала очередного изменения состояния конденсаторной группы.

[14]

Таким образом, наличие одного токоограничивающего реактора позволяет, с одной стороны, ограничивать токи, протекающие от источника питания при изменении комбинации подключенных к выходам конденсаторной группы конденсаторов 1 и 3 посредством переключения двунаправленных тиристорных ключей 2, 4, 5, 6, 8, а с другой стороны, обеспечивать формирование нулевого уровня напряжения на всех конденсаторах схемы к моменту очередного изменения состояния конденсаторной группы.

[15]

Увеличить дискретность значений емкостей конденсаторов, получаемых на выходах конденсаторной группы, можно за счет подключения дополнительных ветвей, состоящих из последовательного соединения конденсатора и двунаправленного тиристорного ключа, параллельно первой или второй ветвям конденсаторной группы, изображенной на фиг.1. При этом, подключение дополнительных ветвей можно осуществлять как независимо к первой или второй ветвям, так и одновременно к двум ветвям.

[16]

На фиг. 2 представлена схема с подключением двух дополнительных ветвей к каждой из исходных ветвей конденсаторной группы. За счет управления двунаправленными тиристорными ключами и подбора величин емкостей четырех конденсаторов в такой схеме можно получить 25 различных величин емкостей на выходах конденсаторной группы. На фиг. 3 приведена таблица значений емкостей конденсаторной группы при различных состояниях тиристорных ключей 2, 4, 5, 6, 8, 13, 15 и выбранных значениях емкостей конденсаторов 1, 3, 9, 11 соответственно: С1=0,3 См; С3=0,1 См; С8=0,2 См; С10=0,4 См, где См - максимальная величина емкости на выходах конденсаторной группы, получаемая при параллельном включении всех четырех конденсаторов 1, 3, 12, 14 в схеме фиг. 2. В таблице, приведенной на фиг. 3, включенному состоянию двунаправленных тиристорных ключей соответствует значение - «1», а выключенному состоянию значение - «0».

[17]

Таким образом, повышение дискретности регулирования величин емкостей конденсаторной группы при ограниченном количестве конденсаторов в схеме достигается за счет увеличения количества комбинаций различных подключений конденсаторов с помощью двунаправленных тиристорных ключей, а уменьшение массогабаритных показателей схемы достигается использованием одного токоограничивающего реактора.

Как компенсировать расходы
на инновационную разработку
Похожие патенты