Изобретение относится к области испытаний материалов, в частности к устройствам и способам определения адгезии цементного камня к металлу. Сущность: осуществляют фиксацию вертикальной направляющей, установку коаксиально формы, заполнение зазора между ними цементным раствором, отверждение цементного раствора в водной среде при заданной температуре, проведение испытания с выдавливанием направляющей прессом из отвержденного цементного раствора. Направляющую изготавливают в виде конуса, а внутреннюю поверхность формы - в виде конуса, параллельного конусу направляющей, для получения по всей высоте формы одинакового кольцевого зазора между ними, заполняемого цементным раствором, причем при отверждении цементного раствора форму сверху закрывают крышкой для исключения взаимодействия раствора с водной средой и нарушения водоцементного соотношения раствора, причем водную среду подбирают исходя из скважинных условий, в которых предполагается использование цементного раствора. Устройство содержит зафиксированную вертикально на основании направляющую с установленной коаксиально формой, пространство между направляющей и формой заполнено отвержденным цементным раствором, причем направляющая выполнена с возможностью взаимодействия с прессом для выдавливания из отвердевшего цементного раствора. Направляющая выполнена в виде конуса, а внутренняя поверхность формы - в виде конуса, параллельного конусу направляющей, для получения по всей высоте формы одинакового кольцевого зазора между ними, заполняемого цементным раствором. Технический результат: снижение материальных затрат и повышение точности исследований. 2 н.п. ф-лы. 2 ил.
1. Способ определения адгезии отвержденного цементного раствора, включающий фиксацию вертикальной направляющей, установку коаксиально формы, заполнение зазора между ними цементным раствором, отверждение цементного раствора в водной среде при заданной температуре, проведение испытания с выдавливанием направляющей прессом из отвержденного цементного раствора, отличающийся тем, что направляющую изготавливают в виде конуса, а внутреннюю поверхность формы - в виде конуса, параллельного конусу направляющей, для получения по всей высоте формы одинакового кольцевого зазора между ними, заполняемого цементным раствором, причем при отверждении цементного раствора форму сверху закрывают крышкой для исключения взаимодействия раствора с водной средой и нарушения водоцементного соотношения раствора, причем водную среду подбирают исходя из скважинных условий, в которых предполагается использование цементного раствора. 2. Устройство для определения адгезии отвержденного цементного раствора, включающее зафиксированную вертикально на основании направляющую с установленной коаксиально формой, пространство между направляющей и формой заполнено отвержденным цементным раствором, причем направляющая выполнена с возможностью взаимодействия с прессом для выдавливания из отвердевшего цементного раствора, отличающееся тем, что направляющая выполнена в виде конуса, а внутренняя поверхность формы - в виде конуса, параллельного конусу направляющей, для получения по всей высоте формы одинакового кольцевого зазора между ними, заполняемого цементным раствором.
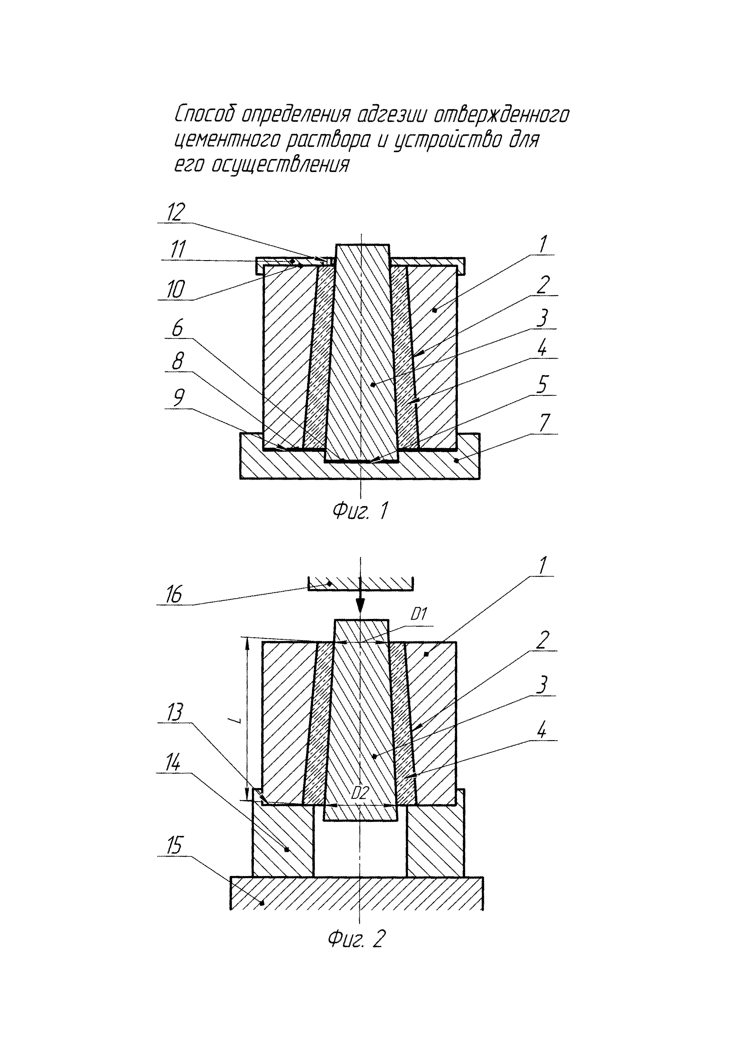
Изобретение относится к области испытаний материалов, в частности к устройствам и способам определения адгезии цементного камня к металлу. Известны способ определения адгезии отвержденного цементного раствора и устройство для его осуществления (Расширяющийся тампонажный цемент / Новохатский Д.Ф. и др. // Нефтяное хозяйство. - 2007. - №6 - с. 42-43), содержащее коническую металлическую форму, в которую заливается цементный раствор. После отверждения цементного раствора в форме он выпрессовывается цилиндрическим металлическим пуансоном (направляющей) в обойму. Предлагаемый способ определения адгезии предполагает применение расширяющихся тампонажных смесей на основе тампонажных цементов и специальных минеральных добавок, способствующих расширению цементного камня. Цементный раствор заливается во внутреннюю конусную поверхность металлической формы и помещается в водную среду прибора для определения линейного расширения цементного раствора до его отверждения. Затем форму с застывшим цементным раствором помещают в цилиндрическую металлическую обойму. Металлическим пуансоном цилиндрической формы усилием пресса сверху из формы выдавливается цементный камень. Недостатки данного способа: он не предусматривает перед заливкой цементного раствора подготовку и обеспечение одинаковой чистоты обработки поверхности формы, контактирующей с цементным раствором, кроме того, открытая поверхность застывающего цементного раствора контактирует с окружающей водой, что влияет на состав цементного раствора. Предлагаемое устройство для определения адгезии включает металлическую форму с продольным конусным отверстием, заполняемым отверждаемым цементным раствором, выполненным с возможностью взаимодействия с цилиндрическим пуансоном для выдавливания прессом цементного камня из формы. Недостатки данного устройства: из-за конусной поверхности формы расширяющие свойства застывающего цементного раствора различны по высоте заливаемой формы, происходит неравномерное застывание цемента, передаваемая пуансоном нагрузка неравномерно распределяется на поверхность контакта цементного камня с формой, что искажает результат измерений. Наиболее близким техническим решением к предлагаемому способу и устройству являются способ определения адгезии отвержденного цементного раствора и устройство для его осуществления (Использование латекса для повышения качества крепления скважин в условиях Крайнего Севера / Хлебникова В.Н. и др. // Башкирский химический журнал. - 2010. - №3. - Т. 17). Способ определения адгезии отвержденного цементного раствора включает установку и фиксацию в отверстии пластины вертикального цилиндра, на которой коаксиально устанавливают форму в виде полипропиленового кольца. Кольцевой зазор между цилиндром и формой заполняют цементным раствором, залитую форму помещают в герметичный контейнер со стаканчиком с водой. Через сутки после отверждения цементного раствора форму заливают пресной водой при температуре 20-24°C, из которой форму с отвердевшим цементным раствором извлекают уже в момент испытаний, которые осуществляют механическим воздействием пресса на цилиндр для его выдавливания из отвердевшего цементного раствора с определением максимального усилия сдвига. Недостатки способа: обработка поверхности металлических цилиндров мелкими фракциями песка в мельнице MiniMill II производится до приобретения «матового» вида, что не подтверждает одинаковую чистоту обработки, а необходимость приобретения мельницы ведет к удорожанию способа, кроме того, отверждение цементного раствора происходит в пресной воде при комнатной температуре, что не соответствует скважинным условиям. Устройство для осуществления способа включает установку и фиксацию в отверстии пластины вертикального цилиндра, на которой коаксиально устанавливают форму в виде полипропиленового кольца, кольцевой зазор между цилиндром и формой заполняют цементным раствором, причем цилиндр выполнен с возможностью взаимодействия с прессом для выдавливания из цементного раствора. Недостатки данного устройства: при использовании металлического цилиндра из-за отсутствия у него конусности при определении адгезии большую погрешность в результаты измерений вносит наличие сил трения на границе контакта цилиндра с цементным камнем. Техническими задачами предлагаемого способа и устройства являются снижение материальных затрат за счет исключения дополнительного оборудования и повышение точности исследований за счет подготовки поверхности направляющей в зоне контакта с цементным раствором, использования конусной поверхности направляющей и внутренней поверхности формы. Технические задачи решаются способом определения адгезии отвержденного цементного раствора, включающим фиксацию вертикальной направляющей, установку коаксиально формы, заполнение зазора между ними цементным раствором, отверждение цементного раствора в водной среде при заданной температуре, проведение испытания с выдавливанием направляющей прессом из отвердевшего цементного раствора. Новым является то, что направляющую изготавливают в виде конуса, а внутреннюю поверхность формы - в виде конуса, параллельного конусу направляющей, для получения по всей высоте формы одинакового кольцевого зазора между ними, заполняемого цементным раствором, при этом при отверждении цементного раствора форму сверху закрывают крышкой для исключения взаимодействия раствора с водной средой и нарушения водоцементного соотношения раствора, причем водную среду подбирают исходя из скважинных условий, в которых предполагается использование цементного раствора. Технические задачи решаются устройством для определения адгезии отвержденного цементного раствора, включающим зафиксированную вертикально на основании направляющую с установленной коаксиально формой, пространство между направляющей и формой заполнено отвержденным цементным раствором, причем направляющая выполнена с возможностью взаимодействия с прессом для выдавливания из отвержденного цементного раствора. Новым является то, что направляющая выполнена в виде конуса, а внутренняя поверхность формы - в виде конуса, параллельного конусу направляющей, для получения по всей высоте формы одинакового кольцевого зазора между ними, заполняемого цементным раствором. На фиг. 1 изображены сборка и заливка устройства цементным раствором. На фиг. 2 изображено устройство перед испытанием. Устройство состоит из металлической цилиндрической формы 1 (фиг. 1 и 2) с внутренней конической поверхностью 2 и вставленной внутрь металлической направляющей конической формы 3 с одинаковым кольцевым зазором 4 по всей высоте формы 1, направляющая широким торцом 5 (фиг. 1) фиксируется, например, в центральном углублении 6 основания 7 (или на оси, резьбе и т.д. - на фиг. 1 не показано), а широкий торец формы 8 фиксируется в краевом углублении 9 основания. На верхнем торце формы 10 зафиксирована крышка 11, имеющая отверстие 12. При испытании форму 1 (фиг. 2) с отвержденным цементным раствором в кольцевом зазоре 4 и направляющей 3 вставляют в торцевую проточку 13 обоймы 14 и устанавливают между прессом 15 и пуансоном 16. Способ реализуется следующим образом. Предварительно коническая поверхность направляющей 3 (фиг. 1 и 2) промывается безводным растворителем и осушается. Направляющая широким торцом 5 (фиг. 1) фиксируется в центральном углублении 6 основания 7, а широкий торец формы 8 фиксируется в краевом углублении 9 основания 7. Углубление 6 и краевое углубление 9 основания 7 центрируют направляющую 3 и форму 1, обеспечивая одинаковый кольцевой зазор между ними. В кольцевой зазор 4 заливают цементный раствор до верхней торцевой поверхности 10 формы 1 и накрывают крышкой 11, имеющей отверстие 12 для выхода цементного состава при расширении, помещают устройство в термостат с температурой воды, соответствующей пластовым условиям. Может быть использован водный термостат, соответствующий требованиям ГОСТ 26798.1-1996. Через сутки форму 1 с отвержденным цементным раствором в кольцевом зазоре 4 и направляющей 3 (фиг. 2) вставляют в торцевую проточку 13 обоймы 14. Собранное устройство устанавливают между прессом 15 под пуансоном 16. Создаваемое усилие пресса (не показан) выталкивает направляющую 3 из кольцевого зазора 4 в обойму 14. Пресс фиксирует усилие сдвига направляющей, рассчитывают среднее значение усилия сдвига направляющей (F), затем рассчитывают адгезию (Рад) по формуле где F - среднее значение усилия сдвига направляющей, кН; L - образующая конусной поверхности, м; D1 - радиус нижнего основания, м; D2 - радиус верхнего основания, м. В ходе испытания нескольких образцов разброс измеряемых параметров составил не более 7%, а в наиболее близком аналоге - не менее 12%. После испытаний коническая поверхность направляющей подвергается механической (токарной) обработке с обеспечением одинаковой чистоты обработки и одинаковых геометрических размеров поверхности пуансонов, планируемых к использованию в одной серии испытаний, и до проведения последующих испытаний они хранятся в антикоррозионной жидкости.